BOSCH GKS 600 Professional Handheld Circular Saw

Safety Notes
General Power Tool Safety Warnings
WARNING
Read all safety warnings and all instructions. Failure to follow the warnings and instructions may result in electric shock, fire and/or serious injury. Save all warnings and instructions for future reference. The term “power tool” in the warnings refers to your mains-operated (corded) power tool or battery-operated (cordless) power tool.
Work area safety
- Keep work area clean and well lit. Cluttered or dark areas invite accidents.
- Do not operate power tools in explosive atmospheres, such as in the presence of flammable liquids, gases or dust. Power tools create sparks which may ignite the dust or fumes.
- Keep children and bystanders away while operating a power tool. Distractions can cause you to lose control.
Electrical safety
- Power tool plugs must match the outlet. Never modify the plug in any way. Do not use any adapter plugs with earthed (grounded) power tools. Unmodified plugs and matching outlets will reduce risk of electric shock.
- Avoid body contact with earthed or grounded surfaces, such as pipes, radiators, ranges and refrigerators. There is an increased risk of electric shock if your body is earthed or grounded.
- Do not expose power tools to rain or wet conditions. Water entering a power tool will increase the risk of electric shock.
- Do not abuse the cord. Never use the cord for carrying, pulling or unplugging the power tool. Keep cord away from heat, oil, sharp edges and moving parts. Damaged or entangled cords increase the risk of electric shock.
- When operating a power tool outdoors, use an extension cord suitable for outdoor use. Use of a cord suitable for outdoor use reduces the risk of electric shock.
If operating a power tool in a damp location is unavoidable, use a residual current device (RCD) protected supply. Use of an RCD reduces the risk of electric shock.
Personal safety
- Stay alert, watch what you are doing and use common sense when operating a power tool. Do not use a power tool while you are tired or under the influence of drugs, alcohol or medication. A moment of inattention while operating power tools may result in serious personal injury.
- Use personal protective equipment. Always wear eye protection. Protective equipment such as dust mask, non-skid safety shoes, hard hat, or hearing protection used for appropriate conditions will reduce personal injuries.
- Prevent unintentional starting. Ensure the switch is in the off-position before connecting to power source and/or battery pack, picking up or carrying the tool. Carrying power tools with your finger on the switch or ergising power tools that have the switch on invites accidents.
- Remove any adjusting key or wrench before turning the power tool on. A wrench or a key left attached to a rotating part of the power tool may result in personal injury.
- Do not overreach. Keep proper footing and balance at all times. This enables better control of the power tool in unexpected situations.
- Dress properly. Do not wear loose clothing or jewellery. Keep your hair, clothing and gloves away from moving parts. Loose clothes, jewellery or long hair can be caught in moving parts.
- If devices are provided for the connection of dust ex-traction and collection facilities, ensure these are connected and properly used. Use of dust collection can re-duce dust-related hazards.
Power tool use and care
- Do not force the power tool. Use the correct power tool for your application. The correct power tool will do the job better and safer at the rate for which it was designed.
- Do not use the power tool if the switch does not turn it on and off. Any power tool that cannot be controlled with the switch is dangerous and must be repaired.
- Disconnect the plug from the power source and/or the battery pack from the power tool before making any adjustments, changing accessories, or storing power tools. Such preventive safety measures reduce the risk of starting the power tool accidentally.
- Store idle power tools out of the reach of children and do not allow persons unfamiliar with the power tool or these instructions to operate the power tool. Power tools are dangerous in the hands of untrained users.
- Maintain power tools. Check for misalignment or binding of moving parts, breakage of parts and any other condition that may affect the power tool’s operation. If damaged, have the power tool repaired before use. Many accidents are caused by poorly maintained power tools.
- Keep cutting tools sharp and clean. Properly maintained cutting tools with sharp cutting edges are less likely to bind and are easier to control.
- Use the power tool, accessories and tool bits etc. in accordance with these instructions, taking into account the working conditions and the work to be performed. Use of the power tool for operations different from those intended could result in a hazardous situation.
Service
Have your power tool serviced by a qualified repair per-son using only identical replacement parts. This will en-sure that the safety of the power tool is maintained.
Safety Warnings for Circular Saws
- DANGER: Keep hands away from cutting area and the blade. Keep your second hand on auxiliary handle, or motor housing. If both hands are holding the saw, they cannot be cut by the blade.
- Do not reach underneath the workpiece. The guard can-not protect you from the blade below the workpiece.
- Adjust the cutting depth to the thickness of the work-piece. Less than a full tooth of the blade teeth should be visible below the workpiece.
- Never hold piece being cut in your hands or across your leg. Secure the workpiece to a stable platform. It is important to support the work properly to minimize body exposure, blade binding, or loss of control.
- Hold the power tool by insulated gripping surfaces only, when performing an operation where the cutting tool may contact hidden wiring or its own cord. Contact with a “live” wire will also make exposed metal parts of the power tool “live” and could give the operator an electric shock.
- When ripping, always use a rip fence or straight edge guide. This improves the accuracy of cut and reduces the chance of blade binding.
- Always use blades with correct size and shape (diamond versus round) of arbour holes. Blades that do not match the mounting hardware of the saw will run eccentrically, causing loss of control.
- Never use damaged or incorrect blade washers or bolt. The blade washers and bolt were specially designed for your saw, for optimum performance and safety of operation.
- Kickback causes and related warnings
- Kickback is a sudden reaction to a pinched, bound or misaligned saw blade, causing an uncontrolled saw to lift up and out of the workpiece toward the operator;
- When the blade is pinched or bound tightly by the kerf closing down, the blade stalls and the motor reaction drives the unit rapidly back toward the operator;
- If the blade becomes twisted or misaligned in the cut, the teeth at the back edge of the blade can dig into the top surface of the wood causing the blade to climb out of the kerf and jump back toward the operator. Kickback is the result of saw misuse and/or incorrect opeating procedures or conditions and can be avoided by taking proper precautions as given below.
- Maintain a firm grip with both hands on the saw and position your arms to resist kickback forces. Position your body to either side of the blade, but not in line with the blade. Kickback could cause the saw to jump back-wards, but kickback forces can be controlled by the opera-tor, if proper precautions are taken.
- When blade is binding, or when interrupting a cut for any reason, release the trigger and hold the saw motionless in the material until the blade comes to a complete stop. Never attempt to remove the saw from the work or pull the saw backward while the blade is in motion or kickback may occur. Investigate and take corrective actions to eliminate the cause of blade binding.
- When restarting a saw in the workpiece, centre the saw blade in the kerf and check that saw teeth are not en-gaged into the material. If saw blade is binding, it may walk up or kickback from the workpiece as the saw is re-started.
- Support large panels to minimize the risk of blade pinching and kickback. Large panels tend to sag under their own weight. Supports must be placed under the pan-el on both sides, near the line of cut and near the edge of the panel.
- Do not use dull or damaged blades. Unsharpened or im-properly set blades produce narrow kerf causing excessive friction, blade binding and kickback.
- Blade depth and bevel adjusting locking levers must be tight and secure before making cut. If blade adjustment shifts while cutting, it may cause binding and kickback.
- Use extra caution when sawing into existing walls or other blind areas. The protruding blade may cut objects that can cause kickback.
Lower guard function - Check lower guard for proper closing before each use. Do not operate the saw if lower guard does not move freely and close instantly. Never clamp or tie the lower guard into the open position. If saw is accidentally dropped, lower guard may be bent. Raise the lower guard with the retracting handle and make sure it moves freely and does not touch the blade or any other part, in all angles and depths of cut.
- Check the operation of the lower guard spring. If the guard and the spring are not operating properly, they must be serviced before use. Lower guard may operate sluggishly due to damaged parts, gummy deposits, or a build-up of debris.
- Lower guard may be retracted manually only for special cuts such as “plunge cuts” and “compound cuts”. Raise lower guard by retracting handle and as soon as blade enters the material, the lower guard must be re-leased. For all other sawing, the lower guard should operate automatically.
Always observe that the lower guard is covering the blade before placing saw down on bench or floor. An un-protected, coasting blade will cause the saw to walk back-wards, cutting whatever is in its path. Be aware of the time it takes for the blade to stop after switch is released.
Additional safety warnings
- Do not reach into the chip ejector with your hands. They could be injured by rotating parts.
- Do not work overhead with the saw. In this manner you do not have sufficient control over the power tool.
- Use suitable detectors to determine if utility lines are hidden in the work area or call the local utility company for assistance. Contact with electric lines can lead to fire and electric shock. Damaging a gas line can lead to explosion. Penetrating a water line causes property damage or may cause an electric shock.
- Do not operate the power tool stationary. It is not de-signed for operation with a saw table.
- Do not use high speed steel (HSS) saw blades. Such saw blades can easily break.
- Do not saw ferrous metals. Red hot chips can ignite the dust extraction.
- When working with the machine, always hold it firmly with both hands and provide for a secure stance. The power tool is guided more secure with both hands.
- Secure the workpiece. A workpiece clamped with clamping devices or in a vice is held more secure than by hand.
- Always wait until the machine has come to a complete stop before placing it down. The tool insert can jam and lead to loss of control over the power tool.
- Products sold in GB only: Your product is fitted with a BS 1363/A approved electric plug with internal fuse (ASTA approved to BS 1362). If the plug is not suitable for your socket outlets, it should be cut off and an appropriate plug fitted in its place by an authorised customer service agent. The replacement plug should have the same fuse rating as the original plug. The severed plug must be disposed of to avoid a possible shock hazard and should never be inserted into a mains socket elsewhere. Products sold in AUS and NZ only: Use a residual current device (RCD) with a rated residual current of 30 mA or less.
Product Description and Specifications
Read all safety warnings and all instructions. Failure to follow the warnings and instructions may result in electric shock, fire and/or serious injury. While reading the operating instructions, unfold the graphics page for the machine and leave it open.
Intended Use
The machine is intended for lengthways and crossways cut-ting of wood with straight cutting lines as well as mitre cuts in wood while resting firmly on the workpiece. With suitable saw blades, thin-walled non-ferrous metals, e. g., profiles, can al-so be sawed.
Working ferrous metals is not permitted.Product Features
The numbering of the product features refers to the illustration of the machine on the graphics page.
- On/Off switch
- Lock-off button for On/Off switch (3 601 FA9 00.) Lock-on button for On/Off switch (3 601 FA9 0K./3 601 FA9 0L.)
- Spindle lock button
- Scale for mitre angle
- Wing bolt for bevel-angle preselection
- Wing bolt for parallel guide
- Cutting mark, 45°
- Cutting mark, 0°
- Parallel guide
- Retracting blade guard
- Base plate
- Lever for retracting blade guard
- Chip ejector
- Blade guard
- Handle (insulated gripping surface)
- Motor housing (insulated gripping surface)
- Hex key
- Clamping bolt with washer
- Clamping flange
- Saw blade*
- Mounting flange
- Saw spindle
- Auxiliary handle (insulated gripping surface)*
- Auxiliary-handle holder*
- Locking screw for auxiliary-handle holder*
- Extraction adapter*
- Fastening screw for extraction adapter*
- Clamping lever for cutting-depth preselection
- Cutting-depth scale
- Set of screw clamps**
- Accessories shown or described are not part of the standard de-livery scope of the product. A complete overview of accessories can be found in our accessories program.
- Commercially available (not included in the delivery scope)
| Technical Data | ||
| Circular Saw | GKS 600 | |
| Article number | 3 601 FA9 0.. | |
| Rated power input | W | 1200 |
| No-load speed | min-1 | 5200 |
| max. cutting depth with saw blade diameter 165 mm – for 0° bevel angle | mm | 55 |
| – for 45° bevel angle | mm | 37 |
| Spindle lock | l | |
| Base plate dimensions | mm | 235 x 138 |
| Saw blade diameter, max. | mm | 165 |
| Saw blade diameter, min. | mm | 160 |
| Blade thickness, max. | mm | 2.2 |
| Mounting bore | mm | 20 |
| Weight according to EPTA- Procedure 01:2014 | kg | 3.6 |
| Protection class | / II | |
Noise/Vibration Information
Sound emission values determined according to EN 60745-2-5. Typically the A-weighted noise levels of the product are: Sound pressure level 87 dB(A); Sound power level 98 dB(A). Uncertainty K =3 dB.
Wear hearing protection!
Vibration total values ah (triax vector sum) and uncertainty K determined according to EN 60745-2-5: Cutting wood: ah < 2.5 m/s2, K=1.5 m/s2 The vibration level given in this information sheet has been measured in accordance with a standardized test given in EN 60745 and may be used to compare one tool with another. It may be used for a preliminary assessment of exposure. The declared vibration emission level represents the main ap-plications of the tool. However if the tool is used for different applications, with different accessories or insertion tools or is poorly maintained, the vibration emission may differ. This may significantly increase the exposure level over the total working period. An estimation of the level of exposure to vibration should also take into account the times when the tool is switched off or when it is running but not actually doing the job. This may significantly reduce the exposure level over the total working period. Identify additional safety measures to protect the operator from the effects of vibration such as: maintain the tool and the accessories, keep the hands warm, organization of work pat-terns.
Assembly
Mounting/Replacing the Saw Blade
- Before any work on the machine itself, pull the mains plug.
- When mounting the saw blade, wear protective gloves. Danger of injury when touching the saw blade.
- Only use saw blades that correspond with the characteristic data given in the operating instructions.
- Do not under any circumstances use grinding discs as the cutting tool.
Selecting a Saw Blade
An overview of recommended saw blades can be found at the end of this manual.
Removal of the Saw Blade 
For changing the cutting tool, it is best to place the machine on the face side of the motor housing.
- Press the spindle lock button 3 and keep it pressed.
- The spindle lock button 3 may be actuated only when the saw spindle is at a standstill. Otherwise, the power tool can be damaged.
- With the hex key 17, unscrew the clamping bolt 18 turning in rotation direction.
- Tilt back the retracting blade guard 10 and hold firmly.
- Remove the clamping flange 19 and the saw blade 20 from the saw spindle 22.
Mounting the Saw Blade
For changing the cutting tool, it is best to place the machine on the face side of the motor housing. - Clean the saw blade 20 and all clamping parts to be assem-bled.
- Tilt back the retracting blade guard 10 and hold firmly.
- Place the saw blade 20 on to the mounting flange 21. The cutting direction of the teeth (direction or arrow on saw blade) and the direction-of-rotation arrow on the blade guard 14 must correspond.
- Mount the clamping flange 19 and screw in the clamping bolt 18 turning in rotation direction . Observe correct mounting position of mounting flange 21 and clamping flange 19.
- Press the spindle lock button 3 and keep it pressed.
- With the hex key 17, tighten the clamping bolt 18 turning in rotation direction . The tightening torque is between 6–9 Nm, which corresponds to hand tight plus ¼ turn.
Mounting the Auxiliary Handle
Fasten the auxiliary-handle holder 24 with the locking screw 25 to the blade guard 14. Screw the auxiliary handle 23 on the auxiliary-handle holder 24.
Dust/Chip Extraction
- Before any work on the machine itself, pull the mains plug.
- Dust from materials such as lead-containing coatings, some wood types, minerals and metal can be harmful to one’s health. Touching or breathing-in the dust can cause allergic reactions and/or lead to respiratory infections of the user or bystanders. Certain dust, such as oak or beech dust, is considered carcinogenic, especially in connection with wood-treatment additives (chromate, wood preservative). Materials containing asbestos may only be worked by specialists.
- As far as possible, use a dust extraction system suitable for the material.
- Provide for good ventilation of the working place.
- It is recommended to wear a P2 filter-class respirator. Observe the relevant regulations in your country for the materials to be worked. Prevent dust accumulation at the workplace. Dust can easily ignite.
- Mounting the Extraction Adapter

Attach the extraction adapter 26 onto the chip ejector 13 un-til it latches. Secure the extraction adapter 26 additionally with the screw 27. A vacuum hose with a diameter of 35 mm can be connected to the extraction adapter 26. - The extraction adapter may not be mounted when no external dust extraction is connected. Otherwise the ex-traction channel can become clogged.
- Do not connect a dust bag to the extraction adapter. Otherwise the extraction system can become clogged.
To ensure optimum extraction, the extraction adapter 26 must be cleaned regularly.
External Dust Extraction
Connect the vacuum hose to a vacuum cleaner (accessory). An overview for connecting to various vacuum cleaners can be found at the end of this manual. The machine can be plugged directly into the receptacle of a Bosch all-purpose vacuum cleaner with remote starting con-trol. The vacuum cleaner starts automatically when the ma-chine is switched on. The vacuum cleaner must be suitable for the material being worked. When vacuuming dry dust that is especially detrimental to health or carcinogenic, use a special vacuum cleaner.
Operation
Operating Modes
- Before any work on the machine itself, pull the mains plug.
Adjusting the Cutting Depth
- Adjust the cutting depth to the thickness of the work-piece. Less than a full tooth of the blade teeth should be visible below the workpiece. Loosen the clamping lever 28. For a smaller cutting depth, pull the saw away from the base plate 11; for a larger cutting depth, push the saw toward the base plate 11. Adjust the de-sired cutting depth at the cutting-depth scale. Tighten the clamping lever 28 again. If the cutting depth cannot be fully adjusted after loosening clamping lever 28, pull clamping lever 28 away from the saw and swivel it downward. Release the clamping lever 28 again. Repeat this procedure until the requested cutting depth can be adjusted. If the cutting depth cannot be sufficiently locked after tighten-ing clamping lever 28, pull clamping lever 28 away from the saw and swivel it upward. Release the clamping lever 28 again. Repeat this procedure until the cutting depth is locked.
Adjusting the Cutting Angle
Loosen wing bolt 5. Tilt the saw side wards. Adjust the desired setting at the scale 4. Tighten wing bolt 5 again.
Note: For bevel cuts, the cutting depth is smaller than the set-ting indicated on the cutting-depth scale 29.
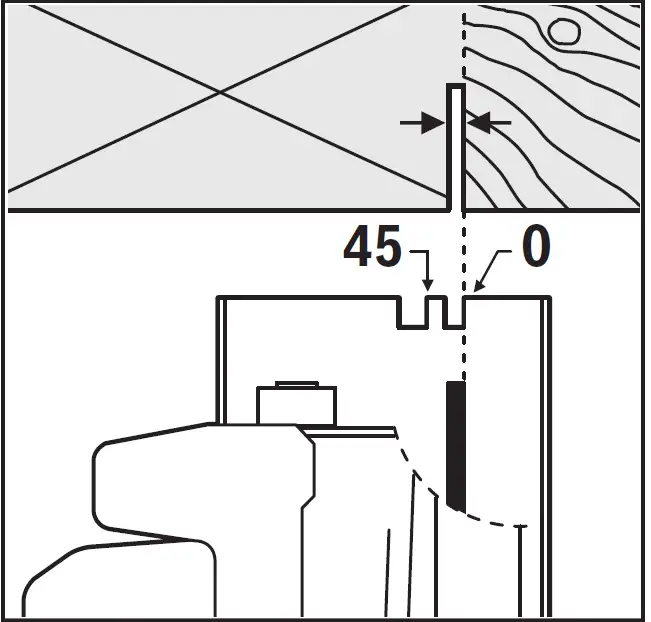
Cutting Marks

The 0° cutting mark 8 indicates the position of the saw blade for right-angled cuts. The 45° cutting mark 7 indicates the position of the saw blade for 45° cuts.
For precise cuts, position the circular saw against the work-piece as shown in the figure. It is best to carry out a trial cut.
Starting Operation
- Observe correct mains voltage! The voltage of the pow-er source must agree with the voltage specified on the nameplate of the machine. Power tools marked with 230 V can also be operated with 220 V.
Switching On and Off (3 601 FA9 00.)
To start the machine, first push the lock-off button for the On/Off switch 2 and then press the On/Off switch 1 and keep it pressed. To switch off the machine, release the On/Off switch 1.
Note:
For safety reasons, the On/Off switch 1 cannot be locked; it must remain pressed during the entire operation.
Switching On and Off (3 601 FA9 0K./3 601 FA9 0L.)
To start the machine, press the On/Off switch 1 and keep it pressed. To lock the pressed On/Off switch 1, press the lock-on button 2. To switch off the machine, release the On/Off switch 1 or when it is locked with the lock-on button 2, briefly press the On/Off switch 1 and then release it. To save energy, only switch the power tool on when using it.
Working Advice
Before any work on the machine itself, pull the mains plug. Protect saw blades against impact and shock. Guide the machine evenly and with light feed in the cutting direction. Excessive feed significantly reduces the service life of the saw blade and can cause damage to the power tool. Sawing performance and cutting quality depend essentially on the condition and the tooth form of the saw blade. There-fore, use only sharp saw blades that are suited for the material to be worked.
Sawing Wood
The correct selection of the saw blade depends on the type and quality of the wood and whether length way or crossway cuts are required. When cutting spruce lengthways, long spiral chips are formed. Beech and oak dusts are especially detrimental to health. Therefore, work only with dust extraction. Sawing with Parallel Guide
The parallel guide 9 enables exact cuts along a workpiece edge and cutting strips of the same dimension. Loosen wing bolt 6 and slide the scale of the parallel guide 9 through the guide in the base plate 11. Adjust the desired cut-ting width as the scale setting at the respective cutting mark 8 or 7; see Section “Cutting Marks”. Tighten wing bolt 6 again. Sawing with Auxiliary Guide
For sawing large workpieces or straight edges, a board or strip can be clamped to the workpiece as an auxiliary guide; the base plate of the circular saw can be guided alongside the auxiliary guide.
Maintenance and Service
Maintenance and Cleaning
- Before any work on the machine itself, pull the mains plug.
- For safe and proper working, always keep the machine and ventilation slots clean.
The retracting blade guard must always be able to move freely and retract automatically. Therefore, always keep the area around the retracting blade guard clean. Remove dust and chips by blowing out with compressed air or with a brush. Saw blades that are not coated can be protected against corrosion with a thin coat of acid-free oil. Before use, the oil must be removed again, otherwise the wood will become soiled. Resin and glue residue on the saw blade produces poor cuts. Therefore, clean the saw blade immediately after use. If the replacement of the supply cord is necessary, this has to be done by Bosch or an authorized Bosch service agent in or-der to avoid a safety hazard.
After-sales Service and Application Service
Our after-sales service responds to your questions concerning maintenance and repair of your product as well as spare parts. Exploded views and information on spare parts can al-so be found under: www.bosch-pt.com
Bosch’s application service team will gladly answer questions concerning our products and their accessories. In all correspondence and spare parts orders, please always include the 10-digit article number given on the nameplate of the product.
Great Britain
Robert Bosch Ltd. (B.S.C.)
P.O. Box 98
Broadwater Park
North Orbital Road
Denham
Uxbridge
UB 9 5HJ
At www.bosch-pt.co.uk you can order spare parts or arrange the collection of a product in need of servicing or repair.
Tel. Service: (0344) 7360109
E-Mail: [email protected]
Ireland
Origo Ltd.
Unit 23 Magna Drive
Magna Business Park
City West
Dublin 24
Tel. Service: (01) 4666700
Fax: (01) 4666888
Australia, New Zealand and Pacific Islands
Robert Bosch Australia Pty. Ltd.
Power Tools
Locked Bag 66
Clayton South VIC 3169
Customer Contact Center
Inside Australia:
Phone: (01300) 307044
Fax: (01300) 307045
Inside New Zealand:
Phone: (0800) 543353
Fax: (0800) 428570
Outside AU and NZ:
Phone: +61 3 95415555
www.bosch.com.au
Republic of South Africa
Customer service
Hotline: (011) 6519600
Gauteng – BSC Service Centre
35 Roper Street, New Centre
Johannesburg
Tel.: (011) 4939375
Fax: (011) 4930126
E-Mail: [email protected]
KZN – BSC Service Centre
Unit E, Almar Centre
143 Crompton Street
Pinetown
Tel.: (031) 7012120
Fax: (031) 7012446
E-Mail: [email protected]
Western Cape – BSC Service Centre
Democracy Way, Prosperity Park
Milnerton
Tel.: (021) 5512577
Fax: (021) 5513223
E-Mail: [email protected]
Bosch Headquarters
Midrand, Gauteng
Tel.: (011) 6519600
Fax: (011) 6519880
E-Mail: [email protected]
Disposal
The machine, accessories and packaging should be sorted for environmental-friendly recycling. Do not dispose of power tools into household waste!
Only for EC countries:
According to the European Directive 2012/19/EU for Waste Electrical and Electronic Equipment and its implementation into national right, power tools that are no longer usable must be collected separately and disposed of in an environmentally correct manner. Subject to change without notice.
References
My Blog
dz.com
Welcome to nis.com
Bosch Power Tools | Bosch Power Tools
Select your country | Bosch Power Tools
Bosch Elektrowerkzeuge | Bosch Elektrowerkzeuge
Outillage électroportatif Bosch | Outillage électroportatif Bosch
Elettroutensili Bosch | Elettroutensili Bosch
Bosch Elektrowerkzeuge und Zubehör | Bosch Elektrowerkzeuge
Bosch-sähkötyökalut | Bosch-sähkötyökalut
Outillage électroportatif Bosch | Outillage électroportatif Bosch
Bosch elektromos kéziszerszámok | Bosch elektromos kéziszerszámok
bosch-pt.kz
Elektronarzędzia Bosch | Elektronarzędzia Bosch
bosch-pt.ru
Elektrické náradie Bosch | Elektrické náradie Bosch
Bosch România | Bosch în România
Начало | Бош в България
Invented for life | Bosch Global
Home | Bosch in Australia
Domovská stránka | Bosch Česká republika
Innostavia tuotteita ja palveluita | Bosch Suomessa
Strona główna | Bosch w Polsce
Domov | Bosch Slovensko
Loading...
Kärcher Center Keller Niš




















