Sunnydaze HSYFMP5A009N5 Modern Rectangular Propane Fire Pit Table 
Product Information
The WAR-979 is an outdoor decorative gas fireplace that is designed for use with propane gas only. It should not be connected to a remote gas supply and must be used with cylinders marked PROPANE only. Improper installation, adjustment, alteration, service, or maintenance can cause injury or property damage. The appliance must always be attended to and the propane cylinder must be disconnected when not in use. The maximum gas supply pressure is 250psi, and the LP cylinders should have a diameter of 12 inches and a height of 18 inches with a 20 lb. capacity maximum.
Product Usage Instructions
- Read the owner’s manual carefully before use.
- Inspect the burner before each use of the appliance. If there is evidence of damage, the burner must be replaced prior to the appliance being put into operation. Use Manufacturer approved or supplied replacement burner only.
- Inspect the hose before each use of the appliance. If the hose shows signs of cracks, abrasions, cuts, or damage of any kind, do not operate the appliance. Fix or replace the hose as required before using the appliance.
- Use LP cylinders only with these required measurements: 12(30.5cm) (diameter) x 18 (45.7 cm) (tall) with 20 lb. (9 kg.) capacity maximum.
- Do not store or use gasoline or other flammable vapors in the vicinity of this or any other appliance.
- The propane cylinder must be disconnected when this fire bowl is not in use.
- If you smell gas, shut off gas to the appliance, extinguish any open flame, and if odor continues, keep away from the appliance and immediately call your gas supplier or fire department.
- Clean the battery contacts and also those of the device prior to battery installation. Remove batteries from equipment which is not to be used for an extended period of time. Remove used batteries promptly.
- For assistance or additional information, consult a qualified installer, service agency, or the gas supplier.
READ BEFORE USE

WARNING
USE PROPANE GAS ONLY
- Do not store or use gasoline or other flammable vapors in the vicinity of this or any other appliance.
- Service must be performed by a qualified installer, service agency or the gas supplier.
WARNING
For use with cylinders marked PROPANE only. DO NOT connect to a remote gas supply. If the fire bowl is stored indoors, detach and leave
propane cylinder outdoors.

- Design Complies with ANSI Z21.97-2014
- CSA 2.41-(2014) Outdoor Decorative Gas Fireplaces.
WARNING
For Outdoor Use Only! Use Propane Gas Only Propane cylinders sold separately.
WARNING
Improper installation,
adjustment, alteration, service or maintenance can cause injury or property damage. Read the owner’s manual thoroughly before installing or servicing this equipment. If the information in this manual is not followed exactly, a fire or explosion may result causing property damage, personal injury or loss of life.
WARNING
The propane cylinder must be disconnected when this fire bowl is not use.
DANGER
If you smell gas:
- Shut off gas to the appliance.
- Extinguish any open flame.
- If odor continues, keep away from the appliance and immediately call your gas supplier or fire department.
WARNING
This fire bowl must be attended at all times.
WARNING
An LP-cylinder not connected for use shall not be stored in the vicinity of this o Design Complies with r any other appliance.
WARNING
California Proposition 65 Warning: Combustion by-products produced when using this product contain carbon monoxide, a chemical known to the State of California to cause birth defects (or other reproductive harm), and other chemicals known to cause cancer.
DANGER
Failure to follow the Dangers, Warnings and Cautions contained in this Owner’s Manual may result in serious bodily injury or death, or in a fire or an explosion causing damage to property.
WARNING
- Do not use this firebowl for cooking.
- Remove the PVC Cover from the firebowl before opening the appliance.
- Do not lay the PVC Cover over the firebowl until it is turned off and completely cooled down.
- Do not burn any other materials than are supplied with and intended for use in this firebowl.
- Do not pour water into firebowl.
- The installation of this product must conform with local codes or, in the absence of local codes, with either the National
Fuel Gas Code, ANSI Z223.1/NFPA 54, OR CAN/CGA-B149.1, National Gas and Propane Installation Code. - Do not use this firebowl if any part has been under water.
- Do not store a spare or disconnected propane cylinder under or near this firebowl.
- After a period of storage, and/or non use, the propane firebowl should be checked for gas leaks and burner obstructions before use.
- Do not operate the propane firebowl if there is a gas leak present.
- Never use a flame to check for gas leaks.
- Combustible materials should never be within 48 inches of the top, back or sides of your propane firebowl.
- Do not put any other fireplace cover or anything flammable on, or beneath the firebowl.
- The propane firebowl should never be used by children. Children must be supervised when they are anywhere near the appliance.
- Users should be alerted to the hazards of high surface temperatures and keep a safe distance to avoid burning or clothing ignition.
- Pay attention when operating the firebowl. It is hot in use and should never be left unattended. Do not transit it while in operation.
- Should fire go out while burning, turn the gas valve off. Follow the instruction and wait five minutes before attempting to relight.
- Never use charcoal or any other solid fuel in the firebowl. Never parch clothing or other flammable materials on or near the firebowl.
- Never lean over the open firebowl or place hands or fingers on the upper portion of an operational unit.
- Keep ventilation openings in cylinder enclosure(FIREBOWL BODY) free and clear of debris.
- Inspect the burner before each use of the appliance. If there is evidence of damage, the burner must be replaced prior to the appliance being put into operation. Use Manufacturer approved or supplied replacement burner only.
- Do not rest feet on the firebowl.
- Please take out the battery when not using the firebowl for an extended length of time.
- Do not enlarge valve orifices or burner ports when cleaning the valve or burner.
- Cylinder supply system must be arranged for vapor withdrawal.
- Propane Tank used must include a collar to protect the cylinder valve.
- Never fill the cylinder beyond 80% full.
- Propane gas is not natural gas. Only use propane for this firebowl.
- The conversion or attempted use of natural gas in a propane unit or propane gas in a natural gas unit is dangerous.
- Do not use this firebowl on vehicles or boats. Always operate the appliance on flat ground outdoors.
- Keep any electrical supply cord and the fuel supply hose away from any heated surfaces.
- Do not use this firebowl unless all parts are in place.
- The maximum gas supply pressure is 250psi.
- Use LP cylinders only with these required measurements: 12″(30.5cm) (diameter) x 18″ (45.7 cm) (tall) with 20 lb. (9 kg.) capacity maximum.
- Clean the battery contacts and also those of the device prior to battery installation.
- Remove batteries from equipment which is not to be used for an extended period of time.
- Remove used batteries promptly.
FOR PROPANE GAS UNITS
- The gas pressure regulator provided with the propane fire bowl must be used.
- Do not attempt to disconnect the gas regulator or any gas fitting while your firebowl is in operation.
- A dented or rusty propane cylinder may be hazardous and should be checked by your gas supplier prior to use.
- Do not use a propane cylinder with a damaged valve and any other worn out parts.
- Transit and store the empty gas cylinders carefully and properly.
- If you see, smell or hear the hiss of escaping gas from the propane cylinder:
- Turn off the gas supply and get away from the gas cylinder and the firebowl at once.
- Do not attempt to correct the problem yourself.
- Get to your gas supplier and/or the fire department for help.
Children and adults should be alerted to the hazards of high surface temperatures and should stay away to avoid burns or clothing ignition
- Young children should be carefully supervised when they are in the area of the appliance.
- Clothing or other flammable materials should not be hung from the appliance, or placed on or near the appliance.
- Any guard or other protective device removed for servicing the appliance must be replaced prior to operating the appliance.
- Installation and repair should be done by a qualified service person. The appliance should be inspected before use and at least annually by a qualified service person. More frequent cleaning may be required as necessary. It is imperative that the control compartment, burners and circulating air passageways of the appliance be kept clean.
- Installation and repair should be done by a qualified service person. The appliance should be inspected before use and at least annually by a qualified service person.
Immediately call a qualified service technician to inspect the appliance and to replace any part of the control system and any gas control which has been under water.
- Use only the specific size and capacity of the cylinder noted.
- A statement that the LP-gas supply cylinder to be used must be constructed and marked in accordance with the specifications for LP- gas cylinders of the U.S. Department of Transportation (DOT).
- This appliance shall be used only outdoors in a well-ventilated space and shall not be used in a building, garage or any other enclosed area as the instructions state.
- How to disconnect a gas bottle Turn OFF control knob and LP cylinder valve. Turn coupling nut counterclockwise by hand only – do not use tools to disconnect. Loosen cylinder screw beneath bottom shelf, then lift LP cylinder up and out of shelf. Place dust cap on cylinder
valve outlet whenever the cylinder is not in use. - Storage of an appliance indoors is permissible only if the cylinder is disconnected and removed from the appliance. Cylinders must be stored outdoors in a well-ventilated area out of reach of children. Disconnected cylinders must have threaded valve plugs tightly installed and must not be stored in a building, garage or any other enclosed area.
WARNING
Improper installation, adjustment, alteration, service or maintenance can cause injury or property damage. Refer to the owner’s information manual provided with this appliance. For assistance or additional information consult a qualified installer, service agency or the gas supplier.
- The LP-gas supply cylinder must be disconnected when this appliance is not in use
- Only cylinder marked “propane” shall be used.
Caution
Only use the pressure regulator and hose assembly supplied with this firebowl. Replacement pressure regulator and hose assemblies must be specified.
Inspect the hose before each use of the appliance. If the hose shows signs of cracks, abrasions, cuts or damage of any kind, do not operate the appliance. Fix or replace the hose as required before using the appliance. For assistance with repair or replacement of the hose, call Bacall the seller Manufacturing a, Use only replacement part 1-866-771-2663. Use so from the manufacturernly replacement parts from the manufacturer.
WARNING
- Do not light or use gas unit if lava rocks are wet. Ensure lava rocks are completely dry before igniting as intense heat could cause the rocks to crack.
- Lava rocks could hit somebody’s face or eyes during initial start of this unit, so please keep away from the firebowl for the first 20 minutes after it has been ignited.
- LP GAS WARNING: Do not exceed 1/4″ depth of fire glass or small lava rocks directly above burner holes. Applying too many lava rocks/fire glass may result in unburned gas pooling in firebowl or firepit. Ventilation is required to allow fresh air into enclosure and any residual gas to escape.
- Caution
This heating item should not be used on plastic composite or artificial wood decks.
Warranty and Installation Information
The Bond warranty will be voided by and will be voided by and Bond disclaimer disclaims any responsibility for tO any responsibility for the following actions:
- Modification of the firebowl and/or components including the gas valve assembly.
- Use of any component part not manufactured or approved by Busond.
- Use and installation other than as instructed in this manual.
Accessories
| ITEM | DESCRIPTION | QTY |
| 1 | Lava rocks | 1 BOX |
| 2 | Battery (AAA) | 1PC |
| 3 | Body | 1PC |
| 4 | PVC cover | 1PC |
| 5 | Tank Seat | 1PC |




ASSEMBLY INSTRUCTIONS
Please keep these owner’s manual for future reference.
*If you have opened the carton and removed all packages, please disregard the STEP 1 and 2. See the STEP 3 directly.
STEP 1
- Open the carton and turn it upside down, make sure the 4.
- Turn the firebowl heads up on a flat ground pieces of the carton being open up.
STEP 2
- Lift off the carton carefully and be wary of the accessories inside falling away.
- Remove all the paper honeycomb board rounding the top of the firebowl.
- Take all the packing materials away except for the paper honeycomb board rounding the top of the firebowl.
STEP 3
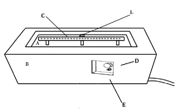
- Check each part before using the product. Make sure the gas supply system is turned “OFF” before assembling. See Figure C.
- Put the gas tank in the metal tank seat. Make sure the gas tank sits on the metal seat completely. Turn the wing screw on the outer part of metal seat clockwise to secure the gas tank tightly. See Figure F
- Locate the battery, remove the plastic cover first. Unscrew the rubber cap of the Electric Ignitor, place a AAA battery into the battery case. Make sure the positive pole (“+”) towards the cap. Screw the cap back to the battery case tightly. See Figure D.
- Place the lava rock averagely in the fire bowl on the top of the firebowl. See Figure E.

DO NOT COVER THE IGNITION SCREEN when placing the lava rock into the fire bowl. Always keep Ignition SCREEN visible. Connect the Pressure-Regulating Valve to the gas tank See Figure H.
- Turn the cylinder valve clockwise to close the gas supply on the gas tank.
- Screw Regulator Coupling clockwise by hand only. Make sure it is fastened.

See WARNING and Figures
WARNING
This screen must be clear and free of obstructions at all times to insure proper operation.
WARNING
The burner of the firebowl must be covered by lava rocks completely. Otherwise the flame may be extinguished. See the Figure for the CORRECT and INCORRECT ways for reference.


CORRECT: INCORRECT
Perform leak test in a well ventilated area outside and where no source of spark can occur. Remove battery from igniter. Open tank valve fully (counter-clockwise). Turn the on/off valve at the unit to the ‘off’ position to assembly. to check leaks to light the appliance. If a leak is found, turn the tank valve off and do not use the appliance until repairs can be made.
TIPS
Before Starting
- Read the instructions thoroughly.
- Check And make sure that all parts are present.
- For future reference, save this instruction manual
TO LIGHT
Before each use, inspect the hose Replace hose if there are any signs of cutting wear or abrasion.
- Turn the cylinder valve on the gas tank counter-clockwise to open the gas supply.
- Close the storing door on the firebowl for the gas tank.
- Light the firebowl as below Step

- Press and hold the Electric Ignitor. Meanwhile, push and turn the Control Knob counter-clockwise to the “LOW” position. Keep pushing the Control Knob to light the burner.
- After ignition, release the Electric Ignitor. Continue to push and hold the Control Knob for 45 seconds.
- If ignition does NOT immediately take place in seconds, push and turn the Control Knob clockwise to “OFF”. Wait 5 minutes, then repeat the lighting procedure as above. Caution: *If the burner does not ignite with the valve open, gas will continue to flow out of the burner and could accidently ignite with risk of injury.

Observe flame height when lit: Flame should possibly be a yellow/blue color between 2 to 10 inches high.
TO EXTINGUISH
- Push the Control Knob and turn clockwise to the “OFF” position.
- Turn the cylinder valve on the gas tank clockwise to close the gas supply if not in use for a long time.(See figure below)

ROUTINE CARE
- Keep your firebowl free and clear from combustible materials.
- Visually inspect burner from obstructions and keep fireplace free and clear from debris.
- After the burner and lava rocks are completely cooled down, use a soft brush to get rid of the mild stains, loose dirt and soil. Wipe with a soft cloth.
STUBBORN STAINS
- Stubborn stains, discoloration and possibly rust pitting can occur from exposure to harsh outdoor conditions.
- Be careful not let any powder or solvent come in contact with painted or plastic components as damage may occur.
MAINTENANCE
- Store the firebowl in a cool dry place away from direct sunlight.
- The propane cylinder must be disconnected and removed from the firebowl before the appliance can be stored indoors.
- Make sure both the gas and the firebowl are turned off before changing battery. Please refer to the process of assembling
battery. - Use Manufacturer approved or supplied replacement parts and accessories only. Otherwise thi s may void the warranty of this product
And result in a hazardous condition. - Please contact the Manufacturer for information regarding replacement hoses, thermocouples, ignitors, lava rocks, etc.
Helpful Tips
If the burner will not light or stay lit, please perform the following checks Turn the control knob to off and close the LP Gas tank valve. Disconnect the regulator. Turn the Control Knob to “HIGH”. Wait a minimum of 5 minutes. Turn burner control knob back to “OFF”. Reconnect the regulator and perform a leak check at tank connection. Turn the LP Gas tank valve on slowly, wait 30 seconds and then light the outdoor fire table.
To ensure proper ignition make sure the igniter pin is properly positioned and connected
- The igniter pin should be pointed straight to the thermocouple.
- The thermocouple should be positioned 5mm away from the burner tube.

Make sure that the pilot housing is unobstructed
Clear any debris on top of the pilot housing and make sure there is no debris between the igniter pin, thermocouple and the burner tube.

Troubleshooting
Problem: Burner will not light using igniter
Please review the Helpful Tips on page 15 for common fixes to this problem.
Possible Cause 1: Electrode and burners are wet.
- Wipe dry with cloth.
Possible Cause 3: Igniter P i n cracked or broken – sparks at crack. - PLS contact retailer for technical support.
Possible Cause 2: Igniter battery is dead or backwards. - Check that the AAA battery is inserted correctly in the igniter (see page 10) or replace the battery. Make sure the plastic wrap on the battery has been removed.
- Possible Cause 4: Bad Igniter
- PLS contact retailer for technical support.

Problem: Burner will not light with match
Possible Cause 1: No Gas Flow
- Check if the LP gas tank is empty. If empty, replace and refill. If the propane tank is not empty, refer to “Problem: Sudden drop in gas flow” on the following page.
Possible Cause 2: Coupling nut and regulator not fully connected. - Turn the coupling nut about one half to three fourths a turn, until you feel a solid stop. Do not use tools, tighten by hand only. Possible Cause 3: Obstruction of gas flow.
- Check for bent or kinked hose.
- Clean the venturi.
Possible Cause 4: Spider webs or insect nest in the venture.
Possible Cause 5: Burner ports clogged or blocked. - Reference “Problem: Irregular flame pattern” on the following page. Clean the burner ports as described there.

Problem: The fireplace emits a lot of black smoke when in use
Possible Cause 1: Hose from gas fireplace is pinched.
- Make sure the hose is not pinched between the fire table and the source of the gas.
Possible Cause 2: Flame is being obstructed at burner ports.
of any lava rocks/fire glass so that the flame can flow naturally.
Possible Cause 3: Mixing chamber of the burn tube is blocked or obstructed. - Make sure that the gas ports on the burner are free
- Clear out the mixing chamber located before the Venture.

Problem: Sudden drop in gas flow, or a reduced flame height
Possible Cause 1: Out of Gas.
- Check for gas in the LP gas tank.
Possible Cause 2: Excess flow safety device may have been activated. - Turn control knob to “OFF”, wait 30 seconds and light outdoor fire table. If the control knob and LP gas tank valve. Disconnect regulator. Turn burner control knob to “HIGH”. Wait at least 5 minutes. Turn burner control knob off. flames are still too low, reset the excessive flow safety device by turning off Reconnect regulator and perform a leak check at tank connection. Turn LP gas tank valve on slowly, wait 30 seconds and then light outdoor fire table.

Problem: Irregular flame pattern, flame does not run the full length of the burner
Possible Cause: Burner ports are clogged or blocked.
- Clean burner ports. Do this by inserting a paperclip into each of the burner ports to ensure they are not clogged.
WARNING: Make time to cool before touching it. sure burner is not on, and has had sufficient.
Problem: Flame blow out
Possible Cause 1: High or gusting winds.
- Increase flame to “HIGH” setting.
Possible Cause 2: Low on LP gas. - Replace or refill LP gas tank.
Possible Cause 3: Excess flow valve tripped. - Refer to “Problem: Sudden drop in gas flow .
Problem: Flame seems to lose heat when burning in cold weather temperature below 50°F
Possible Cause 1: Ice has built up on the outside of the LP gas tank because the
vaporization process is too low.
- Turn the control knob and the LP gas tank to “OFF”. Replace with a spare LP gas tank and resume burning. Store the spare LP gas tank in a well ventilated area, away from children.
If these trouble shooting steps are unable to resolve the problem, PLS contact retailer for technical support.

























