GIANTEX 42 Inch Propane Fire Pit Table
Before You Start
- Please read all instructions carefully.
- Retain instructions for future reference.
- Separate and count all parts and hardware.
- Read through each step carefully and follow the proper order.
- We recommend that, where possible, all items are assembled near to the area in which they will be placed in use, to avoid moving the product unnecessarily once assembled.
- Always place the product on a flat, steady and stable surface.
- Keep all small parts and packaging materials for this product away from babies and children as they potentially pose a serious choking hazard.
WARNING: If the information in this manual is not followed exactly, a fire or explosion may result causing property damage, personal injury,or loss of life.
DANGER
FIRE OR EXPLOSION HAZARD
If you smell gas:
- Shut off gas to the appliance.
- Extinguish any open flame.
- If odor continues, leave the area immediately.
- After leaving the area, call your gas supplier or fire department.
Failure to follow these instructions could result in fire or explosion, which could cause property damage, personal injury, or death.
WARNING: Do not store or use gasoline or other flammable vapors and liquids in the vicinity of this or any other appliance. An LP-cylinder not connected for use shall not be stored in the vicinity of this or any other appliance.
WARNING For outdoor use only.
Installation and service must be performed by a qualified installer, service agency, or the gas supplier.
WARNING
Improper installation, adjustment, alteration, service or maintenance can cause injury or property damage. Refer to the owner’s information manual provided with this appliance. For assistance or additional information consult a qualified installer, services agency or the gas supplier.
DANGER
CARBON MONOXIDE HAZARD
- This appliance can produce carbon monoxide which has no odor.
- Using it in an enclosed space can kill you.
- Never use this appliance in an enclosed space such as a camper, tent, car or home.
Before you assemble or operate this unit, please carefully read this entire manual. Failure to do so may result in a fire, explosion, injury or death.
WARNING
- The installation of this unit must adhere to local codes or Propane Storage and Handling Code, CSA B149.2.
- THIS UNIT IS INTENDED FOR OUTDOOR USE ONLY! This product shall be used outdoors, in a ventilated space and shall not be used in any enclosed area.
- This unit is to be used with propane gas only! (sold separately)
- Do not attach a remote gas supply to this unit.
- Only use propane gas for this unit.
- Solid fuels shall not be burned in this appliance.
- When igniting this unit, stay away from the burner as the flame will light up and may cause injury.
- LP GAS WARNING: Do not use any more than 1/4in depth lava rocks/pumice stones/LavaGlass above the burner holes. Doing so will suffocate the flame.
- If the propane gas tank is leaking gas, you may hear, see, or smell a hiss. Do the following:
- Disconnect the propane gas tank.
- Do not attempt to fix the problem yourself.
- Contact your gas Supplier or fire department for help.
- Applying too much propane may result in gas pooling and will not burn. Allow fresh air into the unit so that the remaining gas may escape.
- Do not use a flame to check for gas leaks.
- Manifold pressure: 11 inch w.c. (2.74kPa)
- Use LP propane tanks with the following dimensions: diameter 12 in, height 18 in capacity 20 lbs.
- You must use a propane tank that has a collar to protect the gas valve.
- DO NOT fill tank over 80 percent full.
- The tank system must be set up for vapor withdrawal.
- Discontinue use it any part or the propane tank Is damaged. Rust and dents may be hazardous and should be inspected by a gas Supplier.
- Do not burn anything other than the provided materials for this fire table.
- Keep away from the unit for the first 20 minutes after igniting your unit for the first time, as lava rocks/pumice stones/LavaGlass could pop out and cause injury. Should any rocks pop out, discard them.
- Always ensure that lava rocks/pumice stones/LavaGlass” are completely dry before use. Failure to do so ill cause them to crack or pop.
- Do not operate unit until all parts are fully assembled.
- Do not paint or color any part of this heating unit.
- Unit may be hot while in use, do not attempt to move it while in use.
- Never leave this heating unit unattended while in use.
- This unit is not intended for cooking.
- Keep any flammable items away and do not use any other fireplace cover for this unit.
- Keep a safe distance to avoid burning skin or clothing.
- Do not sit or rest hands or feet on this heating unit.
- Never place hands or fingers on upper portion of this unit while in use.
- Keep all electrical cords and fuel supply hose away from heated surfaces.
- Combustible material should not be within 60 inches of the top of the unit, or within 48 inches around the entire unit.
- Keep the appliance area clear and free from combustible material, gasoline and other flammable vapors and liquids.
- If the flame goes out while burning, turn the gas valve off. Wait 5 minutes before repeating the initial lighting procedure. Once you have a flame started, hold down the control Knob for 1 minute.
- Do not add water into the unit.
- Do not operate unit if any part has been under water. Immediately call a qualified service technician to inspect the appliance and replace any part of the control system and any gas control that has been under water.
- Do not disconnect any part while unit is in use.
- Do not store a spare propane tank on or near this unit.
- If the heating unit is indoors, detach the propane tank and leave Outdoors.
- Do not operate on a boat or vehicle. This unit must be used on a flat surface and outdoors ONLY.
- Always remove protective cover before operating (t applicable).
- Do not set the protective cover over the unit until it is turned off and completely cooled down.
- Check for leaks after not using the unit for long periods of time.
- Children should never operate this unit. Children must be supervised while near this unit.
- Keep gas tank at least 5 feet away from unit when lit. (if external tank)
- Maximum gas supply: 250 ps; Mn. gas supply: 10 psi.
- All installation and repair should be done by a qualified professional. This unit should be inspected annually and cleaned regularly.
- Inspect all elements of this heating unit before each use. If there is damage, the burner must be replaced.
- Keep the hose out from any pathways to eliminate any accidental damage. (if external tank)
- Be aware of the hazards of high temperatures and stay away from the unit to avoid any burns or injury.
- The gas supply tank should be constructed and marked with the specifications for the LP gas tanks of the U.S. Department of
- Transportation or the National Standard of Canada CAN/CSA-B339, LP gas tanks, spheres and tubes for Transportation of Dangerous Goods; and Commission.
- The LP gas tank must have a listed overfilling prevention device and a QCCl or Type l, (CGA791) LP gas tank connection.
- This heating appliance should not be used on plastic or artificial wood decks.
- Children and adults should be alerted to the hazards of high surface temperatures and should stay away to avoid burns or clothing ignition.
- Young children should be carefully supervised when they are in the area of the appliance.
- Clothing or other flammable materials should not be hung from the appliance or placed on or near the appliance.
- Any guard or other protective device removed for servicing the appliance shall be replaced prior to operating the appliance
- Installation and repair should be done by a qualified service person. The appliance should be inspected before use and at least annually by a qualified service person. More frequent cleaning may be required as necessary. It is imperative that the control compartment, burners and circulating airways of the appliance are kept clean.
IF APPLICABLE:
- Allow heating item to cool completely before placing on lid.
- DO NOT use heating item while lid is installed. Always remove the lid while heating item is in use.
Only use the regulator and hose assembly provided with this unit. Replacement parts must be supplied directly by Teamson design corp .
Inspect the burner before use of this unit. If the burner shows any kind of damage, do not operate the appliance. For assistance with repair or replacement of the burner or any other parts, please contact COSTWAY.
NOTE: You must follow all steps to properly assemble this heating item. Make sure the gas valve is turned “OFF” before assembling. Do NOT attempt to assemble without proper tools.
Combustible materials should not be within 60 inches of the top of the unit, or within 48 inches around the entire unit.
Package Content
| ITEM# | PICTURE | DESCRIPTION | QTY |
| A | ![]() | Table Leg | 1 PC |
| B | ![]() | Table Leg | 1 PC |
| C | ![]() | Table Leg | 1 PC |
| D | ![]() | Panel | 1 PC |
| E | ![]() | Panel | 1 PC |
| F | ![]() | Panel | 1PC |
| G | ![]() | Door | 1 PC |
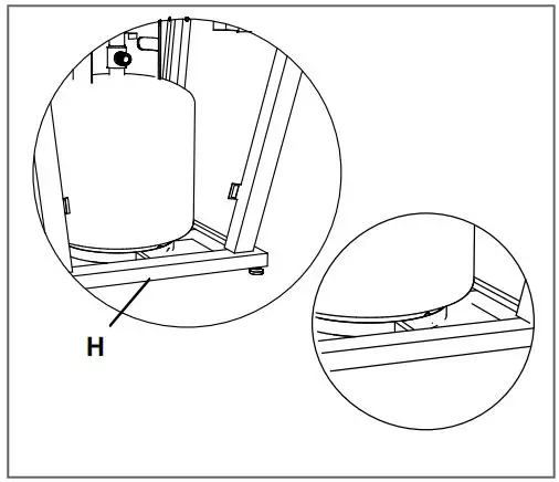
| H | ![]() | Tank Holder/Base | 1 PC |
| I | ![]() | Battery(AAA) | 1 PC |
| J | ![]() | Table Lid | 1 PC |
| K | ![]() | Fire Table with Burner | 1 PC |
| L | ![]() | PVC | 1 PC |
| M | ![]() | lava rocks | 1 BOX |
| N | ![]() | Screw(M6*12MM) | 20 PCS |
| O | ![]() | Screwdriver | 1 PC |
| P | ![]() | M6 Washer | 20 PCS |
| Q | ![]() | Screw(M6*20MM) | 1 PC |
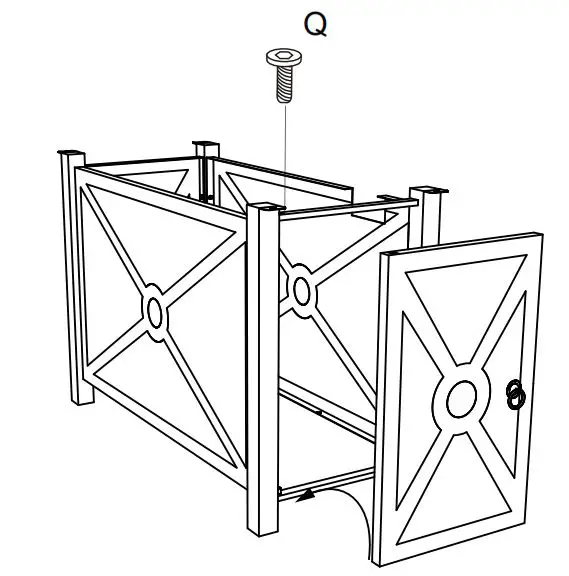
Do not lock the screws until the assembly is complete.
- Connect panel (D,E,F)with table legs(A,B,C) by 12 pcs screws (N) and 12 pcs M6 washers(P).

- .Hang the bottom (G) of the door plate on the round bracket.Top with 1 PC screw(Q)lock.

- Attach the assemble base to the bottom of top using 4pcs of screws (N), and 4 pcs M6 washers(P), make sure the panel (K) faces the valve stem.

- Connect the tank holder/base (I) With table Lets(A/B/C) by 4 pcs screws (N) and 4 pcs M6 washers(P).Tighten all screws.

- .Put the table lid.

- Remove the rubber cap on the electronic igniter by unscrewing and slide battery (I) into the battery slot. Make sure the positive side of the battery faces outwards. Screw the electronic igniter cap over the battery tightly.

- Place propane gas tank (not included) into the metal stand (H). Make sure the gas tank sits on the metal stand (H) completely.

- Turn the cylinder valve on the tank clockwise to close the propane tank. Attach the preassembled regulator from the table top (L) to the cylinder valve by turning the regulator coupling nut clockwise. Make sure it is fastened securely and tighten connections by hand only.

- Pour the lava rocks into the firebowl.

CAUTION: To ensure proper function, the guard on this burner should be free of lava rocks at all times.
Before performing a leak test, be sure that no sparks can occur and you are in a spacious outdoor area. Connect the propane gas tank to the regulator and turn the valve on the unit to the “off” position. Brush a soap and water mixture on all connections. Turn the gas supply on; if bubbles occur on any connection there may be a leak. If you smell gas or a leak is discovered turn the gas valve off, disconnect propane gas tank and do not use the appliance until the leak is repaired. Do not use the heating unit without inspecting the gas hose. If there are signs of wear or abrasion you must replace the hose (if applicable). Pumice stones/lava rocks/LavaGlass ® could pop up and
strike somebody’s face during the process of lighting this unit; stand away from the unit for the first 20 minutes after igniting. Flame height should be a yellow/blue color between 2 – 10 inches in height. Wait 50 minutes after extinguishing flame prior to placing a lid (if applicable) or protective cover on heating item.
To Light
- Make sure the control knob is in the “OFF” position.
- Open the door and slowly open the valve on the propane gas tank by turning the knob counterclockwise.
- Close the door on the body.
- Push the ignition control knob in fully and rotate about 1/4 turn counterclockwise until a click is heard, it may take several attemps to light the burner. Once lit, keep holding down the control knob for 15 seconds.
- If ignition doesn’t occur within a few seconds, release the control knob and rotate to the “OFF” position. Wait for 5 minutes for gas to clear and then repeat the above lighting instructions.
- To adjust the flame, turn the control knob either clockwise or counterclockwise depending on whether you want to lower or raise the flame.
To Extinguish
- Turn control knob clockwise to the “HIGH” position; push and continue turning the control knob to the “OFF” position.
- Close the cylinder valve on the propane gas tank if you don’t intend to use it for a long time.
- Before performing any maintenance always disconnect propane gas tank.
- Store your product indoors during winter months. Avoiding extreme cold temperatures will prevent from exposure damage.
- Keep the heating item free and clear from combustible materials.
- Visually inspect burner for obstructions and keep tank enclosure free and clear from debris.
- Use a soft brush to get rid of the mild stains, loose dirt and soil after the burner and pumice stones/ lava rocks/LavaGlass are completely cooled down. Wipe down with a soft cloth.
- Harsh weather conditions may cause stubborn stains, discoloration and possibly rust pitting.
- Permanent damage may occur if powder or solvent comes in contact with painted or plastic components on this heating unit.
- Keep the heating unit stored away from direct sunlight.
- If storing this unit inside, disconnect the propane gas tank from the gas valve.
- Not using manufacturer approved or supplied parts/accessories may result in a defective condition and void the warranty of this heating unit.
- Always place lid (if applicable) or protective cover on heating item when not in use.
| Problem | Cause | Solution | |
| Igniter pin and burner are wet | Dry off with a soft cloth | ||
| Heating unit won’t light | |||
| Igniter battery is incorrectly inserted | Check which direction the battery is inserted | ||
| Igniter pin is broken | Contact COSTWAY for a replacement part | ||
| Electrode wire is loose or disconnected | Reconnect wire to the igniter box located inside the fire pit behind the igniter box | ||
| Electrode wire is shorting between valve and igniter pin | Contact Contact COSTWAY. for a replacement part. for a replacement part | ||
| No gas flow | Check that the gas tank isn’t empty | ||
| Burner won’t light while using a match | Regulator isn’t connected securely to the tank | Tighten regulator connection to the gas tank | |
| Gas flow is obstructed | Check all hoses for kinks and bends | ||
| Burner ports are clogged | Turn all gas flow connections off. Insert an opened paperclip (or similar item) into each of the burner ports to clear them out. | ||
| Heating unit emits a lot | Flame is obstructed at burner ports | Check that all burner ports are free of any small lava rocks/pumice stones/ LavaGlass® pieces | |
| Regulator hose is kinked | Straighten hose of all bends or kinks | ||
| No gas flow | Check that the gas tank isn’t empty | ||
| Excess flow safety valve has been activated | Turn the control knob to the ‘off’ position. Close the tank valve and disconnect propane gas tank. Turn the control knob to ‘high’; wait 1 minute. Turn the control knob back to the ‘off’ position. Reconnect propane gas tank. Light the fire unit as indicated in the ‘To Light’ section of this manual. | ||
| Sudden drop in gas flow | |||
| High or gusting winds | Increase flame to ‘high’ | ||
| Flame blows out easily | |||
| No gas flow | Check that the gas tank isn’t empty | ||
| Excess flow safety valve has been activated | See ‘sudden drop in gas flow’ above | ||
This product has a one-year warranty against manufacturing defects in workmanship, or materials. The manufacturer warranty will be voided by, and manufacturer disclaims any responsibility for, the following actions:
- Modification of the unit and/or components including the gas valve assembly.
- Use of any component part not manufactured or approved by Teamson design corp.
- Use and installation other than what is listed in this manual.
Please contact the manufacturer for replacement parts.












































