Sunnydaze WAR-203 Kleifar Propane Fire Pit Table

KLEIFAR OUTDOOR PROPANE GAS FIRE PIT
WAR-203
The KLEIFAR Outdoor Propane Gas Fire Pit is an outdoor heating appliance designed for use in a ventilated space. The fire pit is intended to be used with propane gas only and cannot be converted to natural gas. Altering or converting the unit will void the product warranty. The installation of the fire pit must adhere to local codes or either the National Fuel Gas Code, ANSI Z223.1/NFPA54, OR CAN/CGA-B149.1, National Gas and Propane Installation Code.
SAFETY INFORMATION
- The installation of this unit must adhere to local codes or either the National Fuel Gas Code, ANSI Z223.1/NFPA54, OR CAN/CGA-B149.1, National Gas and Propane Installation Code.
- This unit is intended for outdoor use only and should be used in a ventilated space. It should not be used in any enclosed area.
- This unit is to be used with propane gas only! (LP gas tank is not included)
- Do not attach a remote gas supply to this unit.
- Only use Propane Gas for this unit.
- This unit is not intended for Natural Gas.
- Converting this unit to Natural Gas is dangerous and not recommended. Any conversion or alteration of this unit shall void the product warranty.
READ INSTRUCTIONS CAREFULLY
Read and follow all instructions provided in the user manual. Keep this manual in a safe place for future reference. Do not allow anyone who has not read these instructions to assemble, light or operate the fire pit. The manufacturer and seller expressly disclaim any and all liability from personal injury, property damage, or loss resulting from the incorrect attachment, improper use, inadequate maintenance, or neglect of this product.
2-PERSON ASSEMBLY RECOMMENDED
Two people are recommended for assembly of the fire pit. Improper installation, adjustment, alteration, service or maintenance can cause injury or property damage. Read the owner’s manual thoroughly before installing or servicing this equipment. If the information in this manual is not followed exactly, a fire or explosion may result causing property damage, personal injury or loss of life. Do not store or use gasoline or other flammable vapors and liquids in the vicinity of this or any other appliance. Service must be performed by a qualified service technician.
USAGE INSTRUCTIONS
- Ensure that the fire pit is placed in a well-ventilated outdoor area away from any flammable materials.
- Attach a propane gas tank (not included) to the fire pit according to the instructions provided in the user manual. Do not attach a remote gas supply to this unit.
- Follow the instructions provided in the user manual to light the fire pit.
- Do not leave the fire pit unattended while it is in use.
- When finished using the fire pit, turn off the gas supply and allow it to cool down before storing it in a safe place.
- Regularly inspect and maintain the fire pit according to the instructions provided in the user manual to ensure safe and proper operation.
Thank you for choosing Sunnydaze Decor. We stand behind our brand and the quality of the items we sell. Replacement parts or products will be sent at our discretion within the 1-year warranty period. Proof of purchase, with the date of purchase as well as photos of the merchandise defect, must be provided. Photos are used to determine the cause of defects and for future quality control. Register your warranty at https://tiny.cc/SunnydazeWarranty If you have any questions, comments or concerns, feel free to contact us by phone at 833-982-1977, by email: [email protected], or via our contact us page at https://tiny.cc/SunnydazeContact
READ INSTRUCTIONS CAREFULLY
Read and follow all instructions. Keep this manual in a safe place for future reference. Do not allow anyone who has not read these instructions to assemble, light or operate the fire pit.
WARNING: Improper installation, adjustment, alteration, service or maintenance can cause injury or property damage. Read the owner’s manual thoroughly before installing or servicing this equipment. If the information in this manual is not followed exactly, a fire or explosion may result causing property damage, personal injury or loss of life.
- Do not store or use gasoline or other flammable vapors and liquids in the vicinity of this or any other appliance.
- Service must be performed by a qualified service technician.
IMPORTANT: Read and understand this manual before assembling or using this outdoor fire pit. Improper use of a heater can cause serious injury. Keep this manual for future reference.
GENERAL HAZARD WARNING
- Failure to comply with the precautions and instructions provided with this outdoor fire pit can result in death, serious bodily injury and property loss or damage from hazards of fire, explosion, burn, asphyxiation and/or carbon monoxide poisoning.
- Only persons who can understand and follow the instructions should use this heater.
DANGER: USE PROPANE GAS ONLY!
This unit IS NOT intended for Natural Gas.
Converting this unit to Natural Gas is dangerous and not recommended. Altering or converting this unit immediately voids the product warranty.
Any modification to the product or failure to follow recommended care will void the product warranty.
WARNING!
Manufacturer and seller expressly disclaim any and all liability from personal injury, property damage or loss, whether direct or indirect, or incidental, resulting from the incorrect attachment, improper use, inadequate maintenance, or neglect of this product.
IMPORTANT: Read and understand this entire manual before assembling or operating this unit. Failure to do so may result in fire, explosion, injury or death.
GENERAL HAZARD WARNING
Failure to comply with the precautions and instructions provided with this fire pit, can result in death, serious bodily injury, property loss or damage from hazards of fire, explosion, burn, asphyxiation and/or carbon monoxide poisoning.
Only persons who can understand and follow the instructions should operate this unit.
SAFETY INFORMATION
- The installation of this unit must adhere to local codes or either the National Fuel Gas Code, ANSI Z223.1/NFPA54, OR CAN/CGA-B149.1, National Gas and Propane Installation Code.
- THIS UNIT IS INTENDED FOR OUTDOOR USE
ONLY! This product shall be used outdoors, in a ventilated space and shall not be used in any enclosed area. - This unit is to be used with propane gas only! (LP gas tank is not included)
- Do not attach a remote gas supply to this unit.
- Only use Propane Gas for this unit.
- This unit is not intended for Natural Gas.
- Converting this unit to Natural Gas is dangerous and not recommended. Any conversion or alteration of this unit shall void the product warranty.
- Do not use any solid fuel or charcoal in this unit.
- Solid fuels shall not be burned in this appliance.
- When igniting this unit, keep a safe distance from the burner as the flame may flare up and may cause injury.
- LP GAS WARNING: Do not use more than 1/4″ depth of lava rocks above the burner holes.
Excessive use of lava rocks will suffocate the flame. - If the propane gas tank is leaking gas, you may hear, see, or smell a hiss. Do the following:
– Disconnect the propane gas.
– Do not attempt to fix the problem yourself.
– Contact your gas supplier or fire department for help. - Applying too much propane may result in gas pooling and will not burn. Allow fresh air into the unit so that the remaining gas may escape.
- Do not use a flame to check for gas leaks.
- Manifold pressure: 11 inch w.c. (2.74kPa).
- Use LP propane tanks with the following dimensions: diameter 12 in, height 18 in – capacity 20 lbs.
- A liquid propane tank that has a collar to protect the gas valve is required.
- DO NOT fill the LP tank over 80 percent full.
- The tank system must be set up for vapor withdrawal.
- Discontinue use if any part of the propane tank is damaged. Rust and dents may be hazardous and should be inspected by a gas supplier.
- Do not use anything other than the provided materials for this fire table.
- After igniting for the first time, keep away from the unit for the first 20 minutes, lava rocks could pop out and cause injury. Should any rocks pop out, discard them.
- Always ensure that lava rocks are completely dry before use. Failure to do so will cause them to crack or pop.
- Do not operate the unit until all parts are fully assembled.
- Do not paint or color any part of this heating unit.
- Do not attempt to move the unit while in use.
- Never leave this unit unattended while it is in use.
- This unit is not intended for cooking.
- Keep any flammable items away and do not use any other fireplace cover for this unit.
- Be aware of the hazards of high temperatures and stay away from the unit to avoid any burns or injury. Keep a safe distance to avoid burning skin or clothing.
- Do not sit or rest hands or feet on this heating unit.
- Never place hands or fingers on the upper portion of this unit while it is in use.
- Keep all electrical cords and fuel supply hoses away from heated surfaces.
- Combustible material should not be within 60 inches of the top of the unit, or within 48 inches around the entire unit.
- Keep the fire pit table area clear and free from combustible material, gasoline and other flammable vapors and liquids.
- If the flame goes out while burning, turn the gas valve off. Wait 5 minutes before repeating the initial lighting procedure. Once a flame has started, hold down the control knob for 1 minute.
- Do not operate the unit if any part has been under water. Immediately call a Qualified Service Technician to inspect the appliance and replace any part(s) of the control system and any gas control that has been under water.
- Do not disconnect any part(s) while the unit is in use.
- Do not store a spare propane tank on or near this unit.
- When storing the heating unit indoors, detach the propane tank and leave it outdoors.
- Do not operate on a boat or in a vehicle. This unit must ONLY be used outdoors on a flat and level surface.
- Always remove the protective cover before operating.
- Do not place the protective cover over the unit until it is turned off and completely cooled down.
- Check for gas leaks before igniting the unit.
- Children should never operate this unit. Children must be supervised while near this unit.
- If an external propane tank is used, keep the LP tank at least 5 feet away from the unit when a fire is lit.
- Maximum gas supply: 250 psi; Min. gas supply: 10 psi.
- All installation and repair should be done by a qualified service technician. This unit should be cleaned regularly and inspected annually.
- Inspect all elements of this heating unit before each use. If there is damage, the burner must be replaced.
- If an external propane tank is used, keep the hose out from any pathways to eliminate any accidental damage.
- The propane gas supply cylinder to be used must be constructed and marked in accordance with the Specifications for LP Gas Cylinders of the U.S. Department of Transportation (D.O.T.) or the National Standard of Canada, CAN/CSA-B339, Cylinders, Spheres and Tubes for Transportation of Dangerous Goods; and Commission, as applicable; and provided with a listed overfilling prevention device.
- The LP gas tank must have a listed overfilling protection device and a QCCI or Type I, (CGA791) LP gas tank connection.
- Use extreme caution when use this unit on wood, plastic or artificial wood decks.
- Children and adults should be alerted to the hazards of high surface temperatures and should stay away to avoid burns or clothing ignition.
- Young children should be carefully supervised when they are in the area of the appliance.
- Clothing or other flammable materials should not be hung from, placed on or near the unit.
- Any guard or other protective device removed for servicing the appliance must be replaced before operating the unit.
- A qualified service technician or agency should do installation and repair. The fire pit should be inspected before each use and at least annually.
- The control compartment, burners and circulating airways of the unit must be kept clean. More frequent cleaning may be required if the unit is used often.
IF APPLICABLE - Allow the unit to cool completely before placing the lid.
- DO NOT use the appliance while the lid is installed. Always remove the lid while the unit is in use.
Only use the regulator and hose assembly provided with this unit.
Inspect the burner before each use. If the burner shows any damage, do not operate the appliance.
NOTE: You must follow all steps to assemble this heating item properly. Make sure the gas valve is turned “OFF” before assembling. Do NOT attempt to assemble without proper tools.

- Combustible materials should not be within 60 inches of the top of the unit or within 48 inches surrounding the unit.
- We cannot foresee every use which may be made of this fire pit. Check with your local fire safety authority if you have questions about propane fire pit use.
Propane Gas: Propane gas is odorless. An odor-making agent is added to propane gas. The odor helps you detect a propane gas leak. However, the odor added to propane gas can fade. Propane gas may be present even though no odor exists.
DANGER
If you smell gas:
- Shut off gas to the fire pit.
- Extinguish any open flame.
- If odor continues, leave the area immediately and call your gas supplier or fire department.
WARNING: Do not store spare or disconnected propane cylinders under or near this outdoor fire pit.
Do not store items underneath the outdoor fire table to store, radiant heat could cause items to ignite resulting in fire or explosion.
WARNING: Do not store or use gasoline or other flammable vapors and liquids in the vicinity of this unit.
Do not store any disconnected propane cylinder within the vicinity of this unit.
COMPONENTS

| No. | Part | Qty. |
| A | Lid | 1 |
| B | Table Top | 1 |
| C | Door | 1 |
| D | Front Panel | 1 |
| E | Side Panel | 2 |
| F | Left Back Leg | 1 |
| G | Left Front Leg | 1 |
| H | Right Front Leg | 1 |
| I | Right Back Leg | 1 |
| J | Metal Stand | 1 |
| K | Lava Rocks | 1pk |
| L | Protective Cover | 1 |
| M | Control Knob (preassembled) | 1 |
| N | Guard (preassembled) | 1 |
| O | Fire Bowl (preassembled) | 1 |
| P | Burner (preassembled) | 1 |
| Q | Regulator Hose (preassembled) | 1 |
| No. | Hardware | Qty. |
| AA | M6 x 12mm Bolt | 5 |
| BB | M6 x 20mm Bolt | 16 |
| CC | Washer | 20 |
ASSEMBLY INSTRUCTIONS
- Check and confirm that Control Knob (M) for the gas supply system is turned to the “OFF” position before starting assembly.

- Attach Left Back Leg (F), Left Front Leg (G), Right Back Leg (I), and Right Front Leg (H) to Metal Stand (J) using four.

- Attach Front Panel (D) and two Side Panels (E) to the legs using twelve M6 x 20mm Bolts (BB) and twelve Washers (CC).

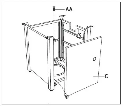
- Insert the pin on the bottom of Door (C) into the axis hole on the bottom of Left Back Leg C. Attach Door (C) to Left Back Leg using one M6 x 12 Bolts (AA).

- Gently place Table Top (B) upside-down on a soft, clean surface. Align and attach the assembled metal base to Table Top (B) using four M6 x 12 Bolts (AA) and four Washers (CC).

- Attach the regulator hose tightly to the bracket and tighten the thumb screw.

- Turn the unit upright. Carefully pour Lava Rocks (K) into Fire Bowl (O).

WARNING
The hose must always remain fixed in the bracket. If the hose is not secured in the bracket, it may come in contact with hot surfaces and melt and cause a fire.
CAUTION
To ensure proper burner function, the guard (N) on the burner (P) should be free of lava rocks at all times.

ATTACHING PROPANE
- 1. Place the propane tank (not included) into Metal Stand (J). Make sure the gas tank sits on Metal Stand (J) entirely and securely. Turn the preassembled wingnut screw on the outer part of Metal Stand (J) clockwise to secure the propane tank tightly.

- 2. Ensure the propane cylinder is closed before connecting it to the fire pit by turning the handwheel clockwise. Attach the preassembled regulator from Table Top (B) to the cylinder valve by hand-tightening the coupling nut clockwise. Make sure the connection is tight and secure; do not use tools to tighten.

PRE-USE INSTRUCTIONS
WARNING: Before using this outdoor fire table, make sure you have read, understand and are following all information provided in the Safety Information section of this manual. Failure to follow those instructions can cause property damage, serious injury or death. Only persons who can understand and follow the instructions should operate this unit.
BEFORE TURNING GAS SUPPLY ON
DO NOT operate this unit until you have read and understand this manual in its entirety.
- For outdoor use only. Never use this unit in an enclosed area.
- Make sure surrounding areas are free of combustible materials as well as flammable liquids and vapors.
- Inspect and ensure all gas connections are tight and there are no leaks before each use.
- Never store anything under the table. This table is designed to house the propane tank during operation.
CHECK FOR LEAKS
Always perform a leak test before lighting the fire pit. Leak tests should be performed in a spacious outdoor area where no open flames or sparks can accidentally ignite the propane gas. Do not smoke while testing for gas leaks.
- Make a leak check solution by mixing 1 part dish soap with 3 parts water.
- Turn the knob on the outdoor fire pit control panel to the “OFF” position.
- Check to make sure the gas supply on the propane tank is also off/closed.
- With a brush or spray bottle, apply the soap solution to all gas supply connection points.
- Turn the handwheel on the propane tank to the “OPEN” position; if bubbles occur on any connection, there may be a leak. If you smell gas or a leak is discovered, turn the gas valve off, disconnect the propane tank and do not use the propane fire pit until the leak is repaired.
- Never use a lighter or flame to check for gas leaks.
INSPECT
This outdoor fire table must be inspected regularly to ensure that the product is safe to use and to extend the life of the product.
WARNING: DO NOT inspect this outdoor fire pit while it is in use or while unit is hot.
- Check the burner to make sure it is securely in place and that there is not excessive wear or damage.
- Check the burn tube to make sure it is clear and free of insects, spider nests and other debris.
- Check all gas connections for leaks.
- Check ignition system to insure proper sparking.
- Check components for any signs of damage, rust or excessive wear.
- Inspect the hose assembly for evidence of excessive abrasion, cuts or wear. If the hose is damaged, replace it before using this outdoor fire pit.
- If damage to any component is detected, DO NOT operate until the proper repairs have been made.
WARNING: DO NOT tamper with this unit; this is dangerous and will void the warranty.
OPERATION
WARNING: If burner flame goes out during operation, immediately turn the control knob “OFF” and let the gas clear a minimum of 5 minutes before attempting to re-light the fire pit.
WARNING: Do not wear loose or flammable clothing while lighting the fire pit.
HOW TO LIGHT
- Make sure the control knob (M) is in the “OFF” position.
- Open Door (C) and slowly open the valve on the propane gas tank.
- Close Door (C).
- Push in the control knob (M) fully and turn it 1/4 turn counterclockwise until a click is heard and the fire ignites; it may take several attempts to light the burner.
- If ignition doesn’t occur within a few seconds, release the control knob (M) and turn it to the “OFF” position. Wait 5 minutes for the gas to clear and then repeat lighting instructions listed above.
- Once fire is lit, slowly turn the control knob (M) to adjust the flame to the desired height. Flame height should be a yellow/blue color between 2 – 10 inches in height.
NOTE: While lighting and heating up, lava rocks could pop out of this unit; keep a safe distance from the unit for at least 20 minutes after igniting.
HOW TO EXTINGUISH
- Turn control knob (M) clockwise to the “OFF” position.
- Close the cylinder valve on the propane tank.
Wait 50 minutes after extinguishing flame before placing the lid or protective cover on this unit.
MAINTENANCE
- Before performing any maintenance, always disconnect the propane tank.
- Store this unit indoors during winter months. Avoiding extreme cold temperatures will prevent damage from exposure.
- Keep the heating item free and clear from combustible materials.
- Visually inspect burner for obstructions and keep tank enclosure free and clear from debris.
- Use a soft brush to get rid of the mild stains, loose dirt and soil after the burner and lava rocks are completely cooled down. Wipe down with a soft cloth.
- Harsh weather conditions may cause stubborn stains, discoloration and possibly rust pitting.
- Permanent damage may occur if powder or solvent comes in contact with painted or plastic components on this heating unit.
- Keep the heating unit stored away from direct sunlight.
- If storing this unit inside, disconnect the propane gas tank from the regulator hose.
- Use only replacement parts designed for this unit. Do not substitute or use generic parts. Improper replacement parts could result in serious or fatal injuries. Damage caused by substituted replacement parts will void the warranty.
- Always place lid or protective cover on unit when not in use. The unit must be completely cool before placing the lid or protective cover over the unit.
CLEANING
GENERAL CARE
This unit should be cleaned regularly to ensure safe use and extended product life.
NOTE: After repeated use, slight discoloration of the finishes may occur.
WARNING
- DO NOT attempt to clean this outdoor fire pit unless the fire is completely out and the unit is cool to the touch.
- DO NOT use oven cleaner or abrasive cleaners as they will damage the product.
- DO NOT use solvents while in closed spaces or while smoking.
- ALWAYS disconnect and remove the propane tank before cleaning the unit.
TABLE BODY
- Wipe exterior surfaces with a damp, soft cloth.
- Use water and a soft brush to get rid of the mild stains, loose dirt and soil after the entire unit has completely cooled down. Wipe down with a clean, soft cloth.
STAINLESS STEEL SURFACES
- For general cleaning, mix warm water with soap or a mild detergent and wipe the unit down with a soft cloth.
- Rinse with clean water.
- Dry the unit with a soft, lint-free cloth.
CAUTION: Contact with water and cleaning solutions may damage the control panel, burner guard, ignition pin, thermocouple, and other internal components. Use extreme caution to avoid these areas when cleaning the unit.
STORAGE
This outdoor fire table must be inspected regularly to ensure that the product is safe to use and to extend the life of the product.
- Turn off the gas supply and disconnect the propane tank from the regulator valve.
- Carefully remove lava rocks and store them for next use.
- Move unit to a cool, dry location away from children and pets.
- Cover the unit to prevent build-up of dust and debris.
WARNING
DO NOT move the unit unless the fire is completely out and the unit is cool to the touch. The propane tank must be disconnected and stored separately from the unit in accordance with local laws and regulations.
TROUBLESHOOTING
Problem: Burner will not light

Possible Cause 1: Electrode and burners are wet.
- Wipe dry with a clean cloth.
Possible Cause 2: Igniter Pin cracked or broken – sparks at a crack.
- The igniter pin may need replacing. Contact a qualified service technician to replace the igniter pin.
Possible Cause 3: Bad Igniter
- Igniter may need replacing. Contact a qualified service technician to verify and/or replace the igniter.
Problem: Burner will not light with match
Possible Cause 1: No gas is flowing.
- Check if the LP gas tank is empty. If empty, replace or refill. If the propane tank is not empty, refer to “Problem: Sudden drop in gas flow” on the following page.
Possible Cause 2: The coupling nut and regulator are not fully connected.
- Turn the coupling nut about one-half to three-fourths a turn, until you feel a solid stop. Do not use tools, tighten by hand only.
Possible Cause 3: Obstruction of gas flow.
- Make sure the regulator hose is not bent or kinked.
Possible Cause 4: Spider webs or insect nest in the burn tube.
- Clean the burn tube.
Possible Cause 5: Burner ports are clogged or blocked.
- Reference “Problem: Irregular flame pattern” on the following page and clean the burner ports as described.
Problem: The fire pit emits a lot of black smoke

Possible Cause 1: Hose from gas fire pit may be pinched.
- Make sure the hose is not pinched between the fire table and the source of the gas.
Possible Cause 2: Flame is being obstructed at burner ports.
- Make sure that the gas ports on the burner are free of any lava rocks so that the flame can flow naturally.
Possible Cause 3: Mixing chamber of the burn tube is blocked or obstructed.
- Clear out the mixing chamber located in the burn tube.
Problem: Sudden drop in gas flow or reduced flame height
- Possible Cause 1: Out of Gas.
- Check for gas in the LP gas tank.
Possible Cause 2: Excess flow safety device may have been activated. - Turn the control knob to “OFF”, wait 30 seconds and light the outdoor fire table. If flames are still too low, reset the excessive flow safety device by turning off the control knob and LP gas tank valve. Disconnect regulator. Turn the burner control knob to “HIGH”. Wait at least 5 minutes. Turn the burner control knob off. Reconnect regulator and perform a leak check at tank connection. Turn LP gas tank valve on slowly, wait 30 seconds and then light the outdoor fire table.
Problem: Irregular flame pattern, flame does not run the full length of the burner

Possible Cause: Burner ports are clogged or blocked.
- Clean burner ports. Do this by inserting a paperclip into each of the burner ports to ensure they are not clogged.
WARNING: Make sure burner is not on, and has had sufficient time to cool before touching it.
Problem: Flame blows out easily
Possible Cause 1: High or gusting winds.
- Increase flame to “HIGH” setting.
Possible Cause 2: Low on LP gas.
- Replace or refill the LP gas tank.
Possible Cause 3: Excess flow valve has been activated.
- Refer to “Problem: Sudden drop in gas flow”.
Problem: Flame seems to lose heat when burning in cold weather – temperature below 50°F
- Possible Cause 1: Ice has built up on the outside of the LP gas tank because the vaporization process is too low.
- Turn the control knob and the LP gas tank to “OFF”. Replace with a spare LP gas tank and resume burning. Store the spare LP gas tank in a well-ventilated area, away from children.
Any modification to the product or failure to follow recommended care will void the product warranty.
WARNING
Manufacturer and seller expressly disclaim any and all liability from personal injury, property damage or loss, whether direct or indirect, or incidental, resulting from the incorrect attachment, improper use, inadequate maintenance, or neglect of this product.

















