
SLFPTL
Outdoor Propane Gas Fire Pit Table
50,000 BTU Auto-Ignition Gas Firepit with Glass Wind Guard,
Black Tempered Glass Tabletop & Clear Glass Rock
User Manual

DANGER
FIRE OR EXPLOSION HAZARD
If you smell gas:
• Shut off gas to the appliance.
• Extinguish any open flame.
• If odor continues, leave the area immediately.
• After leaving the area, call your gas supplier or fire department.
Failure to follow these instructions could result in fire or explosion, which could cause property damage, personal injury, or death.
WARNING:
Do not store or use gasoline or other flammable vapors and liquids in the vicinity of this or any other appliance. An LP-cylinder not connected for use shall not be stored in the vicinity of this or any other appliance.
WARNING:
If the information in this manual is not followed exactly, a fire or explosion may result causing property damage, personal injury, or loss of life.
WARNING:
For outdoor use only. Installation and service must be performed by a qualified installer, service agency, or gas supplier.
WARNING:
Improper installation, adjustment, alteration, service, or maintenance can cause injury or property damage. Refer to the owner’s information manual provided with this appliance. For assistance or additional information consult a qualified installer, services agency, or gas supplier.
INSTALLER:
Leave this manual with the appliance.
CONSUMER:
Retain this manual for future reference.
![]()
DANGER
CARBON MONOXIDE HAZARD

This appliance can produce carbon monoxide which has no odor.
Using it in an enclosed space can kill you. Never use this appliance in an enclosed space such as a camper, tent, car, or home.
SAFETY INFORMATION
Before you assemble or operate this unit, please carefully read this entire manual. Failure to do so may result in a FIre, explosion, injury, or death.
WARNING
- The installation of this unit must adhere to local codes or Propane Storage and
Handling Code, CSA B149.2. - THIS UNIT IS INTENDED FOR OUTDOOR USE ONLY! This product shall be used
outdoors, in a ventilated space, and shall not be used in any enclosed area. - This unit is to be used with propane gas only! (sold separately)
- Do not attach a remote gas supply to this unit.
- Only use propane gas for this unit.
- Solid fuels shall not be burned in this appliance.
- When igniting this unit, stay away from the burner as the frame will light up and may cause injury.
- LP GAS WARNING: Do not use any more than 1/4in depth lava rocks/pumice stones/LavaGIass above the burner holes. Doing so will suffocate the frame.
- If the propane gas tank is leaking gas, you may hear, see, or smell a hiss.
Do the following:
1. Disconnect the propane gas tank.
2. Do not attempt to fix the problem yourself.
3. Contact your gas supplier or fire department for help. - Applying too much propane may result in gas pooling and will not burn.
Allow fresh air into the unit so that the remaining gas may escape. - Do not use a flame to check for gas leaks.
- Manifold pressure: 11-inch w.c. (2.74kPa).
- Use LP propane tanks with the following dimensions: diameter 12 in, height 18 in – capacity 20 lbs.
- You must use a propane tank that has a collar to protect the gas valve.
- DO NOT fill tank over 80 percent full.
- The tank system must be set up for vapor withdrawal.
- Discontinue use if any part of the propane tank is damaged. Rust and dents may be hazardous and should be inspected by a gas supplier.
- Do not burn anything other than the provided materials for this fire table.
- Keep away from the unit for the first 20 minutes after igniting your unit for the first time, as lava rocks/pumice stones/LavaGlass could pop out and cause injury.
Should any rocks pop out, discard them. - Always ensure that lava rocks/pumice stones/LavaGlass are completely dry before use. Failure to do so will cause them to crack or pop.
- Do not operate the unit until all parts are fully assembled.
- Do not paint or color any part of this heating unit.
- The unit may be hot while in use, do not attempt to move it while in use.
- Never leave this heating unit unattended while in use.
- This unit is not intended for cooking.
- Keep any flammable items away and do not use any other fireplace cover for this unit.
- Keep a safe distance to avoid burning skin or clothing.
- Do not sit or rest hands or feet on this heating unit.
- Never place hands or fingers on the upper portion of this unit while in use.
- Keep all electrical cords and fuel supply hoses away from heated surfaces.
- Combustible material should not be within 60 inches of the top of the unit, or within 48 inches around the entire unit.
- Keep the appliance area clear and free from combustible material, gasoline, and other flammable vapors and liquids.
- Do not add water into the unit.
- Do not operate the unit if any part has been underwater. Immediately call a qualified service technician to inspect the appliance and replace any part of the control system and any gas control that has been underwater.
- Do not disconnect any part while unit is in use.
- Do not store a spare propane tank on or near this unit.
- If the heating unit is indoors, detach the propane tank and leave it outdoors.
- Always remove protective cover before operating (if applicable).
- Do not set the protective cover over the unit until it is turned off and completely cooled down.
- Check for leaks after not using the unit for long periods of time.
- Children should never operate this unit. Children must be supervised while near this unit.
- Keep the gas tank at least 5 feet away from the unit when lit. (if external tank)
- Maximum gas supply: 250 psi; Min. gas supply: 10 psi.
- All installation and repair should be done by a qualified professional.
This unit should be inspected annually and cleaned regularly. - Inspect all elements of this heating unit before each use. If there is damage, the burner must be replaced.
- Keep the hose out from any pathways to eliminate any accidental damage. (if external tank).
- Be aware of the hazards of high temperatures and stay away from the unit to avoid any burns or injury.
- The gas supply tank should be constructed and marked with specifications for the LP gas tanks of the U.S. Department of Transportation or the National Standard of Canada CAN/CSA-B339, LP gas tanks, spheres, and Tubes for Transportation of Dangerous Goods; and Commission.
- The LP gas tank must have a list of overfilling prevention devices and a QCCI or Type I, (CGA791) LP gas tank connection.
- This heating appliance appliance should not be used on plastic or artificial wood decks.
- Children and adults should be alerted to the hazards of high surface temperatures and should stay away to avoid burns or clothing ignition.
- Young children should be carefully supervised when they are in the area of the appliance.
- Clothing or other flammable materials should not be hung from the appliance or placed on or near the appliance.
- Any guard or other protective device removed for servicing the appliance shall be replaced prior to operating the appliance.
- Installation and repair should be done by a qualified service person.
The appliance should be inspected before use and at least annually by a qualified service person. More frequent cleaning may be required as necessary. It is imperative that the control compartment, burners, and circulating airways of the appliance are kept clean.
IF APPLICABLE:
- Allow the heating item to cool completely before placing it on the lid.
- DO NOT use the heating item while the lid is installed. Always remove the lid while the heating item is in use.
WARNING
- Do not light or use a gas unit if lava rocks are wet. Ensure lava rocks are completely dry before igniting as intense heat could cause the rocks to crack.
- Lava rocks could hit somebody’s face or eyes during the initial start of this unit, so please keep away from the fire bowl for the first 20 minutes after it has been ignited.
- Do not exceed 1/4″ depth of fire glass or small lava rocks directly above burner holes. Applying too many lava rocks/fire glass may result in unburned gas pooling in the fire bowl or firepit. Ventilation is required to allow fresh air into the enclosure and any residual gas to escape.
WARNING
DO NOT COVER THE IGNITION SCREEN when placing the lava rock into the fire bowl. Always keep the ignition screen visible.

WARNING
CAUTION: This heating item should not be used on plastic composite or artificial wood.
WARNING
When you turn the cylinder, the gas hose needs to be straightened during use.
Otherwise, the hose may melt and cause a fire.

SAFETY INFORMATION
Only use the regulator and hose assembly provided with this unit. Replacement parts must be supplied directly by us.
Inspect the burner before use of this unit. If the burner shows any kind of damage, do not operate the appliance. For assistance with repair or replacement of the burner or any other parts, contact to us.
NOTE: You must follow all steps to properly assemble this heating item.
Make sure the gas valve is turned “OFF” before assembling. DO NOT attempt to assemble without proper tools.

Combustible materials should not be within 60 inches of the top of the unit, or within 48 inches around the entire unit.
HARDWARE

| ITEM | DESCRIPTION | QTY |
| AA | M6 x 12 Screw | 22 |
| BB | M6 x 30 Screw | 12 |
| CC | M6 Washer | 34 |
| DD | Socket head wrench | 1 |
Before beginning assembly of this product be sure all parts are present. Compare parts with package contents list and hardware contents list. If any part appears to be missing or damaged do not begin assembly of this product and call customer service immediately.
Estimated assembly time: 30 minutes
CONTENTS

| Item | Description | Qty |
| A | Lid | 1 |
| B | Table Top | 1 |
| C | Panel | 1 |
| D | Panel | 1 |
| E | Panel | 1 |
| F | Door | 1 |
| G | Leg | 1 |
| H | Leg | 1 |
| I | Leg | 1 |
| J | Leg | 1 |
| K | Metal Stand | 1 |
| L | Glass Rocks | 1 box |
| M | Protective Cover | 1 |
| N | Burner (preassembled) | 1 |
| O | Firebowl (preassembled) | 1 |
| P | Guard (preassembled) | 1 |
| R | Control Knob (preassembled) | 1 |
| S | Regulator Hose (preassembled) | 1 |
| l | Metal support | 2 |
| T | Metal support | 1 |
ASSEMBLY INSTRUCTIONS
- Please keep this owner’s manual for future reference.
- Do not exceed 1/4” depth of small lava rocks directly above burner holes.
Applying too many lava rocks may result in unburned gas pooling in the fire bowl. Ventilation is required to allow fresh air in and any residual gas to escape. - Do not use if lava rocks are wet. Be sure lava rocks are dry before lighting as
intense heat could cause the rocks to crack.
Carefully remove all items from the carton. Be sure all packaging, both under the fire pit and around the fire bowl, is removed before using.
A. Check each part before using the product. Make sure the gas supply system is turned “OFF” before assembling. See Figure A.

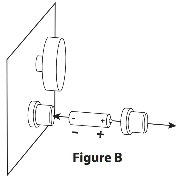
B. Locate the battery and remove it from plastic.
Unscrew the rubber cap of the electric igniter and place the AA battery into the battery case.
Make sure the positive pole (“+”) is towards the cap. Screw the cap back onto the battery case tightly. See Figure B.

C. Place the lava rock evenly in the fire bowl. See Figure C.

- Attach the panel (E) to the legs(I/J) using screws (BB) and washers (CC).

- Attach the panel (D) to the legs (H/I) using screws (BB) and washers (CC).

- Attach the panel (C) to the legs (G/H) using screws (BB) and washers (CC).

- Attach metal stand (K) to the panel(C/E)using screws (AA) and washers (CC).

- Attach the Metal support (T) to the legs (G/J) using screws (AA) and washers (CC).

- Attach the door (F) to the Metal Stand (K) using screws (AA) and washers (CC).

- Attach the Metal support (S) to the Metal Stand (K) and door using screws (AA) and washers (CC).

- Attach the metal base to the bottom part of the tabletop

(B) using screws (AA) and washers (CC). - Put the lid.

- Place propane gas tank (not included) into the metal stand (K). Make sure the gas tank sits on the medal stand (K) completely. Turn the preassembled wing screw on the outer part of the metal stand (K) clockwise to secure the propane gas tank tightly.

- Turn the cylinder valve on the tank clockwise to close the propane tank. Attach the preassembled regulator from the tabletop (B) to the cylinder valve by turning the regulator coupling nut clockwise. Make sure it is fastened securely and tighten connections by hand only.

- Pour the box of glass rocks (L) into the firebowl

CAUTION
To ensure proper function, the guard on this burner should be free of glass rocks at all times.
ASSEMBLING THE GLASS
- Assemble the glass on a fiat table.
Hint: It is easier with two-person, one to hold and the other one to fasten.
- Place the glass onto the fire pit.
Be gentle and be careful to not torque the glass.

CAUTION
![]() | HOT GLASS WILL CAUSE BURNS. DO NOT TOUCH GLASS UNTIL COOLED. NEVER ALLOW CHILDREN TO TOUCH GLASS. |
OPERATION
Before performing a leak test, be sure that no sparks can occur and you are in a spacious outdoor area. Connect the propane gas tank to the regulator and turn the valve on the unit to the “off” position. Brush a soap and water mixture on all connections. Turn the gas supply on; if bubbles occur on any connection there may be a leak. If you smell gas or a leak is discovered turn the gas valve off, disconnect the propane gas tank, and do not use the appliance until the leak is repaired.
Do not use the heating unit without inspecting the gas hose. If there are signs of wear or abrasion you must replace the hose (if applicable). Pumice stones/lava rocks/LavaGlass could pop up and strike somebody’s face during the process of lighting this unit; stand away from the unit for the first 20 minutes after igniting.
Flame height should be a yellow/blue color between 2 – 10 inches in height.
Wait 50 minutes after extinguishing flame prior to placing a lid (if applicable) or protective cover on the heating item.
To Light
- Make sure the control knob is in the “OFF” position.
- Open the door and slowly open the valve on the propane gas tank by turning the knob counterclockwise.
- Close the door on the body.
- Push the ignition control knob in fully and rotate about 1/4 turn counterclockwise until a click is heard, it may take several attempts to light the burner.
Once lit, keep holding down the control knob for 15 seconds. - If ignition doesn’t occur within a few seconds, release the control knob and rotate to the “OFF” position. Wait for 5 minutes for gas to clear and then repeat the above lighting instructions.
- To adjust the frame, turn the control knob either clockwise or counterclockwise depending on whether you want to lower or raise the flame.
To Extinguish
- Turn the control knob clockwise to the “HIGH” position; push and continue turning the control knob to the “OFF” position.
- Close the cylinder valve on the propane gas tank if you don’t intend to use it for a long time.
MAINTENANCE
- Before performing any maintenance always disconnect the propane gas tank.
- Store your product indoors during the winter months. Avoiding extreme cold temperatures will prevent from exposure damage.
- Keep the heating item free and clear from combustible materials.
- Visually inspect burner for obstructions and keep tank enclosure free and clear from debris.
- Use a soft brush to get rid of the mild stains, loose dirt, and soil after the burner and pumice stones/lava rocks/LavaGlass are completely cooled down.
Wipe down with a soft cloth. - Harsh weather conditions may cause stubborn stains, discoloration, and possibly rust pitting.
- Permanent damage may occur if powder or solvent comes in contact with painted or plastic components on this heating unit.
- Keep the heating unit stored away from direct sunlight.
- If storing this unit inside, disconnect the propane gas tank from the gas valve.
- Not using manufacturer-approved or supplied parts/accessories may result in a defective condition and void the warranty of this heating unit.
• Always place lid (if applicable) or protective cover on a heating item when not in use.
TROUBLESHOOTING
| Problem | Cause | Solution |
| The heating unit won’t light | Igniter pin and burner are wet | Dry off with a soft cloth |
| Igniter battery is incorrectly inserted | Check which direction the battery is inserted | |
| Igniter pin is broken | Contact us for parts replacement | |
| Electrode wire is loose or disconnected | Reconnect wire to the igniter box located inside the fire pit behind the igniter box | |
| Electrode wire is shorting between valve and igniter pin | Contact us for parts replacement | |
| Burner won’t light while using a match | No gas flow isn’t empty | Check that the gas tank |
| The regulator isn’t connected securely to the tank | Tighten regulator connection to the gas tank | |
| Gas flow is obstructed | Check all hoses for kinks and bends | |
| Burner ports are clogged | Turn all gas flow connections off. Insert an opened paperclip (or similar item) into each of the burner ports to clear them out. | |
| The heating unit emits a lot of blacks smoke | Flame is obstructed at burner ports | Check that all burner ports are free of any small lava rocks/pumice stones/ LavaGlass pieces |
| The regulator hose is kinked | Straighten hose of all bends or kinks |
This product can expose you to a chemical or group of chemicals, which may include “Lead and lead compounds” which is known in the state of California to cause cancer, birth defects, or other reproductive harm.
For more info, go to https://www.p65warnings.ca.gov/.
| Problem | Cause | Solution |
| A sudden drop in gas flow | No gas flow | Check that the gas tank isn’t empty |
| The excess flow safety valve has been activated | Turn the control knob to the ‘off position. Close the tank valve and disconnect the propane gas tank. Turn the control knob to high”, wait 1 minute. Turn the control knob back to the ‘off position. Reconnect propane gas tank. Light the fire unit as indicated in the Light section of this manual. | |
| Flame blows out easily | High or gusting winds | Increase the flame to ‘high’ |
| No gas flow | Check that the gas tank is t empty | |
| The excess flow safety valve has been activated | See/sudden drop in gas flow’ above |
What’s in the Box:
| • Steel Legs and Fire Pan • Glass Table Top with Steel Frame • PE Rattan Panel with Steel Frame • Sliding Propane Tank Steel Base • 201 SS Burner • Copper Injector • Control Knob • Gas Valve • Corrugated Pipe | • Pulse Igniter • Thermocouple • Fire Pin with Protective Guard • PVC Cover • Metal Cover Lid • Clear Glass Rocks • Glass Wind Guard with Al Profile • Metal Cover Lid • Battery |
Features:
| • Sliding Door • Steel and PVC Cover • Clear Glass Rocks • Metal Fire Pan with Powder Coating • Unique Design to Protect Health and Environment • Durable and High-Quality Material • Reliable All-Weather-Resistant PE Rattan • Sturdy, Rust and Heat Resistant • 50,000 BTU Stainless Steel Burner | • One Fire Pit Table With Burner Lid • Stainless Steel Control Panel • Waterproof Fire Pit Cover • Burner With Pre-attached 2.6 ft. Hose and Regulator • Tempered Glass Wind Guard • 15 lbs Arctic Ice Decorative Glass Rock Set • Easy to Assemble with Two Persons, Takes 20-30 Minutes • CSA Approved and Safe Bonfire Set • Creates an Elegant Atmosphere in the Garden, Terrace, Balcony or Backyard |
Technical Specs:
| • Construction Material: Glass Table Top, Metal Frame, Wicker Side Panel • Heat Output: 50,000 BTU • Regulator Valve with Gas Hose Length: 31.5” -inches (800mm) • Metal Cover: Steel and PVC Cover • Primary Fuel Type: Liquid Propane | •Propane Tank Weight: 20lbs. (Not Included) • Ignition Type: Pulse • Battery Type: (1) x ‘AA’ Battery (not rechargeable) • Product Dimension (L x W x H): 43.5” x 27.5” x 24.5” -inche |

Questions? Issues?
We are here to help!
Phone: (1) 718-535-1800
Email: [email protected]































