Assembly Instructions
& User’s Manual


FOR OUTDOOR USE ONLY.
KEEP THE INSTRUCTIONS FOR FUTURE REFERENCE.
INSISTS ON THE HIGHEST STANDARD OF QUALITY IN MANUFACTURING.
SAFETY INFORMATION
| CARBON MONOXIDE HAZARD
|
![]() |
DANGER:
FIRE OR EXPLOSION HAZARD
If you smell gas:
- Shut off gas to the appliance
- Extinguish any open flame
- If odor continues, leave the area immediately.
- After leaving the area, call your gas supplier or fire department.
Failure to follow these instructions could result in fire or explosion, which could cause property damage, personal injury, or death.
WARNING:
Do not store or use gasoline or other flammable vapors and liquids in the vicinity of this or any other appliance
An LP-cylinder not connected for use shall not be stored in the vicinity of this or any other appliance
WARNING: If the information in this manual is not followed exactly, a fire or explosion may result causing property damage, personal injury, or loss of life.
WARNING: For Outdoor Use Only
Installation and service must be performed by a qualified installer, service agency, or the gas supplier.
INSTALLER: Leave this manual with the appliance.
CONSUMER: Retain this manual for future reference.
DANGER • FLAMMABLE GAS UNDER PRESSURE.
LEAKING LP-GAS MAY CAUSE A FIRE OR EXPLOSION IF IGNITED CAUSING SERIOUS BODILY INJURY OR DEATH.
CONTACT LP GAS SUPPLIER FOR REPAIRS, OR DISPOSAL OF THIS CYLINDER OR UNUSED LP-GAS.
WARNING • FOR OUTDOOR USE ONLY.*
DO NOT USE OR STORE CYLINDER IN A BUILDING, GARAGE OR ENCLOSED AREA.
WARNING:
- Know the odor of LP-gas. If you hear, see or smell leaking LP-gas, immediately get everyone away from the cylinder and call the Fire Department. Do not attempt repairs.
- Caution your LP-gas supplier to :
Be certain cylinder is purged of trapped air prior to first filling.
Be certain not to over fill the cylinder.
Be certain cylinder requalification date is checked. - LP-gas is heavier than air and may settle in low places while dissipating.
- Contact with the liquid contents of cylinder will cause freeze burns to the skin.
- Do not allow children to tamper or play with cylinder.
- When not connected for use, keep cylinder value turned off. Self contained appliances shall be limited to a cylinder of 30lb capacity or less.
- Do not use, store or transport cylinder where it would be exposed to high temperatures. Relief value may open allowing a large amount of flammable gas to escape.
- When transporting, keep cylinder secured in an upright position with cylinder value turned
off.
WHEN CONNECTING FOR USE:
- Use only in compliance with applicable codes.
- Read and follow manufacturer’s instructions.
- Consult manufacturer’s instructions concerning the cylinder connection provided with your appliance.
- Be sure regulator vent is not pointing up.
- Turn off all values on the appliance.
- Do not check for gas leaks with a match or open flame. Apply soapy water at areas marked “X”. Open cylinder valve. If bubble appears, close value and have LP-gas service person make needed repairs. Also, check appliance valves and connections to make sure they do not leak before lighting appliance.
- Light appliance(s)following manufacturer’s instructions.
- When appliance is not in use, keep the cylinder valve closed.

- Cylinder
- Pressure relief valve
- Cylinder valve hand wheel
- Point of connection
- Liquid level Indicator (optional)
DO NOT REMOVE, DEFACE, OR OBLITERATE THIS LABEL
*EXCEPT AS AUTHORIZED BY ANSI/NFPA 58.
DANGER. Do not store a spare LP cylinder under or near a barbecue grill, or other heat sources.
NEVER fill an LP cylinder beyond 80% full: a fire causing death or serous injury may occur.
WARNING: For Outdoor Use Only
Installation and service must be performed by a qualified installer, service agency, or the gas supplier
INSTALLER: Leave this manual with the appliance.
CONSUMER: Retain this manual for future reference.
WARNING: Improper installation, adjustment, alteration, service and maintenance can cause injury or property damage. Read all the installation, operating and maintenance instructions thoroughly before installing or servicing this equipment.
Caution: Do not attempt to operate until you have read & understand all General Safety Information in this manual and all assembly is complete & leak checks have been performed.
Note: Before beginning assembly of product, make sure all parts are present. Compare parts with package content list and hardware contents. If any part is missing or damaged do not attempt to assemble the unit. Contact customer service for replacement parts.
Warnings
WARNING
FOR YOUR SAFETY:
Read these instructions before using this appliance. The appliance must be installed in accordance with the instructions and local regulations. The use of this appliance in enclosed areas can be dangerous and is PROHIBITED.
Do the leak test after each changing of cylinder.
Never check for leaks with a match or open flame.
Do not store or use gasoline or other flammable vapors and liquids in the vicinity of this appliance.
IF YOU SMELL GAS
Close the valve of gas cylinder or regulator.
Extinguish all naked flames, do not operate any electrical appliances.
Check for leaks as detailed in these instructions.
WARNING
FOR YOUR SAFETY:
Improper installation, adjustment, alteration, service or maintenance can cause injury or property damage. Read the installation, operation and maintenance instructions thoroughly before installing or servicing this equipment. Failure to follow these instructions could result in fire or explosion, which could cause property damage, personal injury or death.
| CARBON MONOXIDE HAZARD This appliance can produce carbon monoxide which has no odor. |
![]() |
WARNING
FOR YOUR SAFETY:
An LP cylinder not connected for use should not be stored in the vicinity of this or any other appliance.
WARNING
FOR YOUR SAFETY:
FOR OUTDOOR USE ONLY (outside any enclosure).
| DANGER indicates an imminently hazardous situation which, if not avoided, will result in death or serious injury. |
| CAUTION indicates an imminently hazardous situation which, if not avoided, may result in minor or moderate personal injury or property damage. |
| Cancer and Reproductive Harm-www.P65Warnings.ca.gov |
| Improper installation, adjustment, alteration, service or maintenance can cause injury or property damage. Read the instructions thoroughly before installing or servicing this equipment. |
| This product contains chemicals, including lead, known to the State of California to cause birth defects or other reproductive harm. Wash hands after handing. |
| This product can expose you to chemicals including Lead and Lead Compounds, which are known to the state of California to cause cancer and birth defects or other reproductive harm. For more information go to www.P65Warnings.ca.gov. |
| WARNING indicates an imminently hazardous situation which, if not avoided, could result in death or serious injury. |
| Do not store or use gasoline or other flammable vapor and liquids in the vicinity of this or any other appliance. |
| Failure to comply with the precautions and instructions provided with this heater can result in death, serious bodily injury and property loss or damage from hazards of fire, explosion, burn, asphyxiation, and/or carbon monoxide poisoning. Only persons who can understand and follow the instructions should use or service this heater. |
| Children and adults should be alerted to hazards of high surface temperatures and should stay away to avoid burns or clothing ignition. Young children should be carefully supervised when they are in the area of the appliance. Clothing or flammable materials should not be hung from the appliance, or placed on or near the appliance. Any guard or other protective device removed for servicing the appliance must be replaced prior to operating the appliance. |
| Solid fuels shall not be burned in this appliance |
| The maximum inlet gas supply pressure: Max . 250PSI . Min 5PSI |
| “Do not use this appliance if any part has been under water. Immediately call a qualified service technician to inspect the appliance and to replace any part of the control system and any gas control that has been under water.” |
CARBON MONOXIDE HAZARD For outdoor use only. Never use inside house or other unventilated or enclosed areas. This heater consumes air (oxygen). Do not use in unventilated or enclosed areas to avoid endangering your life. |
EXPLOSION – FIRE HAZARD Never store propane near high heat, open flames, pilot lights, direct sunlight, other ignition sources or where temperatures exceed 120 degrees F (49°C). Propane vapors are heavier than air and can accumulate in low places. If you smell gas, leave the area immediately. |
Caution: Do not attempt to operate until you have read & understand all General Safety Information in this manual and all assembly is complete & leak checks have been performed.
You must provide propane gas and propane cylinder. Use a standard 20 lb. propane cylinder only.
The hose assembly must be replaced prior to the appliance being put into operation if there is evidence of excessive abrasion or wear, or if the hose is damaged.
The replacement hose assembly shall be that specified by the manufacturer.
Use this heater only with a propane vapor withdrawal supply system. See Chapter 5 of the Standard for Storage and Handling of Liquified Petroleum Gas, ANSI/NFPA 58. Your local library or fire department should have this book.
The minimum permissible gas supply pressure of 10 W.C. is required for purpose of input adjustment.
The minimum hourly of 50,000 Btu is required input rating for a heater for automatic operation at ratings less than full input rating.
The pressure regulator and hose assembly supplied with the appliance must be used.
The installation must conform with local codes, or in the absence of local codes, with National Fuel Gas Code, ANSI Z223.1.
A dented, rusted or damaged propane cylinder may be hazardous and should be checked by your cylinder supplier. Never use a propane cylinder with a damaged valve connection.
The cylinder used must include a collar to protect the cylinder valve.
Do not store a spare LP Gas cylinder under or near this appliance.
Never fill the cylinder beyond 80 percent full.
For appliances designed to use a CGA No.791 connection:
Place the dust cap on the cylinder valve outlet whenever the cylinder is not in use.
Only install the type of dust cap on the cylinder valve that is provided with the cylinder valve.
Other types of caps or plugs may result in leakage of propane.
Note: Gas supply pressure: 5 to 250 PSI

Standard 20 lb. tank
Hardware
| a | Screw M6X12 |
| 20 pcs |
| b | Screw M6X25 |
| 6 pcs |
| c | Door handle |
| 1 set |
| d | Wing nut |
| 1 set |
PREPARATION
–Select an area where you will assemble this product. To protect components, choose a smooth non abrasive surface that’s free of cracks or openings.
–Spread out all parts.
–Tighten all hardware connections by hand first. Before completing each step, go back and fully tighten all hardware. Be careful not to over- tighten, that could damage surface or strip threads.
–For best results, complete each in the order presented.
To complete assembly you will need:
(1) Leak detection solution instruction on how to make the solution are included in the “operating instructions” section of this manual).
(2) Precision-filled LP gas grill tank with Acme Type 1 external threaded valve connection standard grill size.
Estimated Assembly Time : 30 minutes
Tools Required
| 1 | #2 Philips Head Screwdriver (Not Included) 1pc | ![]() |
Parts List
| S/N | Description | Quantity |
| 1 | Lava Rock | 1 |
| 2 | Table | 1 |
| 3 | Bottom Bowl* | 1 |
| 4 | Burner* | 1 |
| 5 | Igniter Housing* | 1 |
| 6 | Regulator/Hose Assembly* | 1 |
| 7 | Side Panel | 2 |
| 8 | Door Panel | 1 |
| 9 | Leg | 2 |
| 10 | Leg with Tab | 1 |
| 11 | Base | 1 |
| 12 | Leg with Magnet | 1 |
| 13 | Side panel with hole | 1 |
| 14 | Lid | 1 |
| 15 | Knob | 1 |

Assembly Instructions
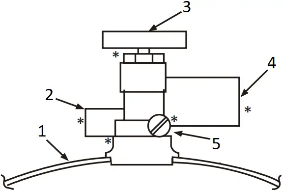
Step 1:

Remove the knob(15) from table(2).
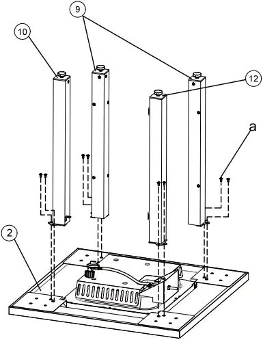
Step 2:

(a) M6 x 12 Screw
x 8
Attach 2pcs Leg(9),1pc leg with tab(10) and 1pc leg with magnet(12) into table(2) with 8pcs screw M6x12(a).
Note:
- Pay attention to direction of panel.
- Do not fasten the screws.
Step 3:

(a) M6 x 12 Screw
x 4
Attach side panel(7) to leg with tab(10) and leg(9) with 4pcs screw M6x12(a).
Note: Do not fasten the screws.
Step 4:

(a) M6 x 12 Screw
x 4
Assemble side panel(7) between leg(9) with 4pcs screw M6x12(a).
Note: Do not fasten the screws.
Step 5:

(a) M6 x 12 Screw
x 4
Attach side panel with hole(13) to leg(9) and leg with magnet(12) with 4pcs screw M6x12(a).
Note: Do not fasten the screws.
Step 6:

Remove the screw and washer from the door handle(c). Attach it to door panel(8).
Step 7:

Attach door panel(8) to leg with tab(10).
Step 8:

Assemble wing nut (d) to the base(11).
Step 9:

- first assemble
- After assemble
(b) M6 x 25 Screw
x 4
Align the hole of the base(11) to the rivet of the door panel(8) and assemble 4 pcs screw M6x25(b).
Note: Assemble 2pcs screw M6x25(b) in 2pcs legs(9) first, then assemble other 2pcs screw.
Step 10:

Adjust 4pcs M6X12 screw assemble leg(9) and leg(12) to the table(2) first.
Make sure igniter and valve pole in the middle of the hole, then fasten all screw in Step 2,3,4,5,8,9.
Step 11:

Assemble the knob(15).

Turn unit upright, then place lava rocks(1) into the bottom bowl(3), then tear off the orange label on the igniter housing(5).
CAUTION: Do Not dump lava rocks out of package. Carefully place lava rocks by hand so that dust will not clog burner.
CAUTION: Do Not cover pilot hosing.
Note: Lava rocks should be 0.8-2.0 in. (2-5 cm long). Approx. 5.5 lbs (2.5 kgs) of lava rocks are needed (included).
Installing LP Gas Tank
To operate, you will need one precision-filled standard LP grill gas tank with external valve threads..
CAUTION: LP gas tank must be properly disconnected and removed prior to moving this outdoor fireplace.

Inserting and securing LP gas tank
WARNING: Make sure LP gas tank valve is closed.
Move the wing nut as below diagrammatic sketch
Place precision-filled LP gas tank into ring hole in outdoor fireplace body so the tank valve is facing the gas line connection.

Connection LP gas tank
- Before connecting, be sure there is no debris caught in the head of the LP gas tank, head of the regulator valve or in the head of the burner or burner ports.
- Connect regulator/hose assembly to tank by turning knob clockwise until it stops.

Disconnecting LP gas tank
1. Before disconnecting, make sure the LP gas tank valve is OFF.
2. Disconnecting regulator/hose assembly from LP gas tank by turning knob counterclockwise until it is loose.
CAUTION: LP gas tank must be propel disconnected and removed prior to moving this outdoor fireplace.
3. Place the protective cap cover on the LP gas tank and store the tank outdoors in a well-ventilated area out of direct sunlight.

Operating Instructions
Checking for leaks
*WARNING: Before using this outdoor fireplace, make sure you have read , understand and are following all information provided in the “Warnings” section. Failure to follow those instructions can cause death, serious injury or property damage.
Burner connections
1. Make sure the regulator hose and valve connections are securely fastened to the burner and the tank.
2. Visually check the connection between the burner/venturi tube and orifice.
3. Make sure the burner/venturi tube fits over the orifice.
WARNING: Failure to inspect this connection or follow these instruction which can cause death, serious bodily injury or damage to property.
4. Please refer to diagrams for proper installation.
Tank/Gas line connection
- Make 2-3 oz. of leak detection solution by mixing one part liquid dishwashing soap with three parts water.
- Make sure the control knob is in the “OFF” position.
- Connect LP gas tank per “Installing LP Gas tank” section.
- Turn LP gas tank valve to “ON”
- Spoon several drops of solution or use a spray bottle at all connected locations.
a. If any bubbles appear, turn LP gas tank valve “OFF”, reconnect and retest.
b. If you continue to see bubbles after several attempts, turn LP gas tank valve “OFF” and disconnect LP Gas tank, per “Disconnecting LP gas tank” section. Contact customer service for assistance
c. If no bubbles appear after one minute, turn LP gas tank valve “OFF”, wipe away solution and proceed.
Lighting
CAUTION: Keep outdoor gas appliance area clear and free from combustible material, gasoline and other flammable vapors and liquid.
CAUTION: Do NOT obstruct the flow of combustion and ventilation air.
CAUTION: Check and clean burner/ venturi tubes for insects and insect nests. A clogged tube can lead to a fire.
CAUTION: Attempting to light the burner with a lid on it may cause an explosion
- Make sure all labels, packing and protective films have been removed from the outdoor fireplace.
- Check for obstructions of airflow to the burner. Spiders, insects and webs can clog the burner/venturi tube. A clogged burner tube can lead to a fire.
- Control knob must be in the “OFF” position.
- Clear small area of lava rocks away from the pilot housing.
- Connect LP gas tank per ” Installing gas tank” section.
- Turn LP gas tank valve to “ON”.
- Push in gas control knob & turn counter clockwise to ” HIGH”.
- Manually ignite with match or lighter.
- After the fire pit lights, release control knob. To decrease the flame, turn the control knob counterclockwise to “LOW”. To increase the flame, turn the control knob clockwise to “HIGH”.
- After lighting, observe the burner flame. Make sure all burner ports are lit and flame height matches illustration(Figure 1).
Figure 1

Note: If burner fails to remain lit, all valves should be closed and a waiting period of at least 5 minutes should pass before attempting to light.
CAUTION: After lighting – using a fireplace tool and heat-resistant gloves, carefully move the lava rocks back to their proper position, being careful to avoid the flame.
CAUTION: If ignition does not occur in 5 seconds turn burner control knob to “OFF’ , wait 5 minutes, fan with a newspaper or magazine, and repeat lighting procedure.
Cleaning and Care
1. All cleaning and maintenance should be done when outdoor fireplace is cool and with the fuel supply disconnected.
2. Do NOT clean any outdoor fireplace part in self-cleaning oven. The extreme heat will damage the finish.
3. Do NOT enlarge valve orifices or burner ports when cleaning the valves or burners.
Turning Off
1. Turn LP gas tank valve “OFF” .
2. Turn control knob to the “OFF” position.
Note: A “poof” sound is normal as the last of the LP gas in burned.
3. Disconnect LP gas tank per “Disconnecting LP gas tank” section.
Cleaning and Care
CAUTION:
- All cleaning and maintenance should be done when outdoor fireplace is cool and with the fuel supply disconnected.
- Do Not clean any outdoor fireplace part in a self-cleaning oven. The extreme heat will damage the finish.
- Do Not enlarge valve orifices or burner ports when cleaning the valves or burners.
Notices
- This outdoor fireplace should be thoroughly cleaned and inspected on a regular basis.
- Abrasive cleaners will damage this product.
- Never use cleaner to clean any part of this outdoor fireplace.
Before each use:
- Keep the outdoor fireplace area free from any combustible materials, gasoline and other flammable vapors and liquids.
- Do Not obstruct the flow of the combustion of LP gas and the ventilation of air.
- Keep the ventilation openings of the LP gas tank area free and clear from debris.
- Visually check the burner flames to make sure your outdoor fireplace is working properly.
- See sections below for proper cleaning instructions.
- Check all gas connections for leaks.
- Check components for signs of damage or rust.
- Check for obstructions of airflow to the burner. Spiders, insects and webs can clog the burner/venturi tube. A clogged burner/venturi tube can lead a fire.
- If damage to any components is detected, do not operate until repairs are completed.
Cleaning surface
- Wipe surface clean with mild dishwashing detergent or baking soda mixed with water.
- For stubborn stains, use a citrus-based cleaner and nylon scrubbing brush.
- Rinse clean with water.
- Allow to air dry.
Before Storing
- Turn LP gas tank valve “OFF”.
- Turn control knob to the “OFF” position.
- Disconnect LP gas tank per” Disconnecting LP gas tank” section.
- Clean all surface.
- Lightly coat the burner with cooking oil to prevent excess rusting.
- Cover this outdoor fireplace with a durable vinyl cover.
- Store in cool and dry location away from children and pets.
TROUBLESHOOTING
| Problem | Possible Cause | Prevention/Cure |
| Burner will not light with match/lighter | LP gas tank valve is closed | Make sure regulator is securely attached to the LP gas tank per ” Installing LP Gas Tank” section, then turn LP gas tank valve to “ON” |
| No gas flow | Check if LP gas tank is empty. A. If empty exchange, refill or replace B. If LP gas tank is not empty, refer to “Sudden drop in gas flow or reduced flame height” | |
| LP gas tank is low or empty | Exchange, refill or replace LP gas tank | |
| LP gas leak |
| |
| Coupling nut and regulator not fully connected | Turn the coupling nut about one-half to three-quarter additional turn until solid stop. Tighten by hand only-do NOT use tools. | |
| Obstruction of gas flow |
| |
| Disengagement of burner to valve | Re-engage burner and valve | |
| Spider webs or insect nest in burner/venturi tube | Clean burner/venturi tube | |
| Burner ports clogged or blocked | Clean burner ports | |
| Sudden drop in gas flow or reduced flame height | Out of gas | Exchange, refill or replace LP gas tank |
| Excess flow; safely device may have been activated |
| |
| Irregular flame pattern, flame does not run the full length of burner | Burner ports are clogged or blocked | Clean burner ports |
| Flame is yellow or orange | New burner may have residual manufacturing oils | Burn outdoor fire pit for 15 minutes and inspect. |
| Spider webs or inset nest in burner/venturi tube | Clean burner/venturi tube | |
| Poor alignment of valve to burner/venturi tube | Ensure/burner/venturi tube is properly engaged with valve | |
| Flame goes out | High or gusting winds | Do NOT use outdoor fireplace in high winds |
| Low on LP gas | Exchange, refill or replace LP gas tank | |
| Excess flow valve tripped | Refer to “Sudden drop in gas flow or reduced flame height” | |
| Flashback (fire in burner/ venturi tube(s) | Burner and /or burner/venturi tube is blocked | Clean burner and /or burner/venturi tube |
| Flame seems to lose heat when burning in cold weather temperature below 50°F | Ice has built up on the outside of the LP gas tank because the vaporization process is too slow. |
|
CARE AND MAINTAINCE
Service:
Repair gas passages and associated components should be done only by a qualified service person.
Caution: Always allow heater to cool before attempting service.
Warranty Information
This product has a 1 year guarantee against defects in material and/or workmanship.
Parts List
| S/N | Description | Quantity |
| 1 | Lava Rock | 1 |
| 2 | Table | 1 |
| 3 | Bottom Bowl* | 1 |
| 4 | Burner* | 1 |
| 5 | Igniter Housing* | 1 |
| 6 | Regulator/Hose Assembly* | 1 |
| 7 | Side Panel | 2 |
| 8 | Door Panel | 1 |
| 9 | Leg | 2 |
| 10 | Leg with Tab | 1 |
| 11 | Base | 1 |
| 12 | Leg with Magnet | 1 |
| 13 | Side panel with hole | 1 |
| 14 | Lid | 1 |
| 15 | Knob | 1 |






















