SUNJOY GROUP A103003000 2-Tier Steel Backyard Soft Top Grill Gazebo Instruction Manual
Important Safety Instructions
Warning! To reduce the risk of serious injury, read the following safety instructions before assembling and using the gazebo.
Please check with your local governing authority/local municipal codes regarding installation of structures before assembly.
- This product is intended for domestic outdoor use only.
- The product should be placed on flat, horizontal ground.
- Ensure enough clearance around the product. Before assembling the product, find level ground not less than 6′ (1.8 m) away from any structures or obstructions, such as fences, garages, houses, overhanging branches, laundry lines, or electrical wires.
- This gazebo is not to be regarded as part of a building/house structure. The gazebo is to be anchored onto the ground for added safety. Do not assemble the gazebo onto soil/earth ground. It is best advisable to have the gazebo built onto a wooden deck or concrete ground for stability. If it is to be build onto a wooden deck/ground, do ensure that the wooden deck/ground has a strong foundation. It is advisable to use appropriate floor plugs (not provided) to anchor the gazebo onto the wooden/concrete ground.
- Some structures may require two or more people to install safely. Check for underground utilities before digging or driving stakes into the ground.
- During installation, follow all safety warnings provided with your tools, and use safety glasses.
- In case you set up more than one gazebo, keep a minimum distance of 10′ (3 m) between the gazebos.
- Any assembly or maintenance of the product must be carried out by adults only.
- Arrange necessary manpower when assembling or moving the product.
- Some parts may contain sharp edges. Wear protective gloves if necessary.
- Keep children and pets away while setting up the gazebo.
- Check all nuts and bolts periodically to ensure bolts/nuts are tightened.
- Repairing and replacing parts should be done by a qualified technician.
- This gazebo is intended for decorative and sunshade purposes only, and it is not designed to withstand harsh weather, including high winds, rain, and snow.
- Do not light any fires inside or near the product!
- Stay calm if fire breaks out. Search for the nearest exit. Do not return to the gazebo before
- firemen allow you to do so.
- Do not hang heavy weights on the roof frame.
- Do not climb onto the roof of the gazebo. Falling off the gazebo can result in serious injury.
- Retain the original packaging to store the gazebo.
IMPORTANT
- Please read and understand this manual before any assembly. Before beginning assembly of product, make sure all parts are present. Compare parts with packaging contents list.
- When assembling wooden parts, do not overtorque the bolts to avoid splitting the wood.
See image illustration. - Place all parts from the box in a cleared area and position them on the floor in front of you.
- Remove all packing materials and place them back into the box. Do not dispose of the packing materials until assembly is complete.
- Read each step carefully before beginning any assembly and make sure you understand each step. If you are missing a part, please email [email protected].
- Needed for assembly:(The following tools are not included)
Tools Needed

Symbols
This identifies information that requires special attention Emperor assembly could lead to an unsafe or dangerous condition.
Use Level
Check that set or assembly is properly level before proceeding.
Square Assembly
Check that assembly is square before tightening bolts.
Tighten Bolts
Do not over torque mounting bolts.
Over tightening may cause the wood to crack creating splinters and other structural damage.
Measure Distance
EXPLODED DRAWING

Parts List
| Label | Part Number | Description | Qty | Part Image |
| A | P00020063601 | Post 1 | 2 |
|
| B | P00020063701 | Post 2 | 2 |
|
| C | P00610016901 | Base Cover | 4 | ![]() |
| D | P00010029301 | Post Base | 4 | ![]() |
| E | P00040123001 | Short Screen | 2 | ![]() |
| F | P00040122901 | Long Screen | 2 | |
| G | P00060097101 | Big Roof Top Beam | 4 | |
| J | P00050102501 | Big Top Connector | 1 | ![]() |
| K | P00110053901 | Big Canopy | 1 | ![]() |
| L | P00570058701 | Adjustable Tube | 4 | ![]() |
| M | P00110054001 | Small Canopy | 1 | ![]() |
| N | P005800001 | Hook | 1 |
|
| P | P00220034201 | Fence | 2 | |
| Q | P005800028 | Hook Rack | 5 |
|
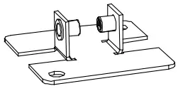
| R | P00210050201 | Table Top | 2 |
|
| S | P00500061501 | Support Bar 1 | 2 | ![]() |
| T | P00500063201 | Support Bar 2 | 2 |
|
Hardware Pack
| Label | Part Number | Description | Qty | Add | Part Image |
| H1 | H100010068 | Bolt M6*15 | 36 | 2 | ![]() |
| H2 | H100010069 | Bolt M6*35 | 8 | 1 | ![]() |
| HS | H070010001 | Stake Φ6*180 | 8 | 0 | ![]() |
| HW | H090010017 | Wrench M6 | 1 | 0 | ![]() |
Assembly Instruction












Care and Maintenance
- Our steel components for garden accessories and furniture are treated with rust inhibiting paint that protects it from rusting. However, due to the nature of steel, surface oxidation (rusting) will occur once these protective coatings are scratched. This is not a defect and thus not covered by the warranty.
- To minimize this condition, we recommend care when assembling & handling the product to prevent scratching the paint. Should any scratching or damage occur, we recommend immediate touch-up with rust inhibiting paint.
- Surface rust can also be easily removed with a very light application of common cooking oil. If surface oxidation (rusting) occurs and if no measure is taken to prevent this, the oxidation may start dripping on to deck or patio and caused damaging stains, which may be difficult to remove. This can be prevented if the above-mentioned measures are taken to keep the roduct from oxidizing.
- Use damp cloth to wipe off the stains as quickly as possible.
- If necessary, wash with a mild solution of soap and water; rinse thoroughly and dry completely.
- Periodically check and ensure that all bolts are well-tighten during use.
Limited Manufacturer’s Warranty
Sunjoy Group warrants to the original purchaser that this item is free from defects in workmanship and materials for a period of 1 year from the date of purchase, provided the item was factory-sealed at the time of purchase and is maintained with care and used only for personal, residential purposes. Should any manufacturing defect arise within this warranty period, Sunjoy Group will replace (at our option) any defective merchandise or parts upon proof of purchase; however, transportation and delivery costs, as well as payments to a third party for assembly or disassembly of the item, remain the responsibility of the purchaser. A purchaser of an “open box,” previously-returned, or “clearance” item, as well as original purchasers outside of the warranty period, may obtain replacement parts from Sunjoy Group for products in current production, at nominal cost.
Exclusions
Items used for commercial, contract, or other non-residential purposes, or items damaged due to acts of nature, vandalism, misuse, or improper assembly are not covered. Corrosion or rusting of hardware is not covered. Proof of purchase (dated register receipt) is required for warranty claims. Warranty is to the original purchaser and is non-transferable. Any replacement of warranted items will be in the original style and color, or a similar style and color if the original is unavailable or has been discontinued. As some states do not allow exclusions or limitations on an implied warranty, the above exclusions and limitations may not apply. This warranty gives you specific rights, and you may also have other rights, which vary from state to state.
CONTACT US
http://www.sunjoyonline.com/
[email protected]

































