SUNJOY GROUP A101012300 Bethlehem 13 ft. x 13 ft. Steel Gazebo Instruction Manual
Parts List
| Description | Label | Part# | Qty | Image |
| Post | Al | P00020058701 | 4 | ![]() ![]() |
| Long screen | B1 | P000400886 | 4 | ![]() |
| Short screen | Cl | P000400887 | 4 | ![]() |
| Mid beam connector | D3 | P000501164 | 4 | ![]() |
| Hook | El | P005800001 | 1 | ![]() |
| Slanting beam upper bar | Fl | P000601329 | 4 | ![]() |
| Slanting beam lower bar | F2 | P000601331 | 4 | ![]() |
| Middle beam | G1 | P000601330 | 4 | ![]() |
| Big top connector | H1 | P000501163 | 1 | ![]() |
| Adjustable tube | I | P005700652 | 8 | ![]() |
| Small top slanting bar | J1 | P000601328 | 4 | ![]() |
| Small top connector | K1 | P000501162 | 1 | ![]() |
| Stake plate | L | P000100324 | 4 | ![]() |
| Stake cover | M1 | P006100168 | 4 | ![]() |
| Netting bar | N1 | P005700653 | 8 | ![]() |
| Arc support | 01 | P005000413 | 8 | ![]() |
| Small canopy | P1 | P001100534 | 1 | ![]() |
| Mid canopy | Q1 | P001100535 | 1 | ![]() |
| Large Canopy | R1 | P001100536 | 1 | ![]() |
| Curtain | S | P001300104 | 1 | ![]() |
| Mosquito netting | T | P001200207 | 1 | ![]() |
Hardware Pack 1
| Label | Description | Part# | Qty | Image |
| AA | M6X20 Bolt | H100010047 | 32PCS | ![]() |
| BB | M6 flat washer | H050030001 | 8 PCS | ![]() |
| CC | M6X25 bolt | H100010086 | 16 PCS | ![]() |
| DD | M6 nut | H040010004 | 8 PCS | ![]() |
| EE | M6X35 bolt | H100010069 | 40 PCS | ![]() |
| FF | 06*230 floor stake | H070010001 | 8 PCS | |
| GG | Ring | P005100264 | 112PCS | ![]() |
| Z1 | M6 wrench | H090010017 | 2 PC | ![]() |
Assembly Instructions

- Fig .1:Put stake cover (M1) through Post(A1) and lift up stake cover, then attach stake slate (L) to bottom of post (A1) by using bolt(AA).

- Fig.2-1: Attach short screen (C1) to long screen(B1).

- Fig.2-2: Attach middle beam lower connector(D3) to long screen(B1) and short screen(C1), by using bolt(AA)

- Fig.2-2: Attach middle beam lower connector(D3) to long screen(B1) and short screen(C1), by using bolt(AA)
- Fig.3:Then fix assemble screen(B1,C1) to post(A1) by using bolt(CC).

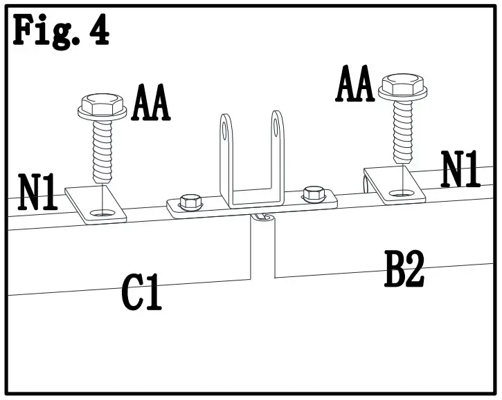
- Fig.4: Attach netting bar(N1) to long side screen and (B1) and short side screen (C1), by using bolt (AA).

- Fig.5: Attach arc support(O1) to post(A1) and across screen(B1, C1),by using bolt(EE).


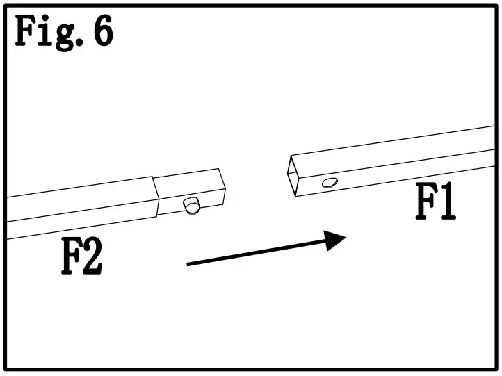
- Fig. 6 :Insert the inclined beam down tube (F2) into the inclined beam (F1) and snap the spring buckle on the inclined beam down tube (F2) to the inclined beam (F1) Fixed in the hole position.

- Fig.7 :Insert slanting beam(F1) into big top connector(H1).

- Fig.8:By using bolt(EE),washer (BB),nut(DD), attach slanting beam lower bar(F2) to post (A1).

- Fig.9:Insert middle beam(G1) to big top connector(H1). Then screw the hook(E1) to big top connector(H1).

- Fig.10:By using bolt(EE), washer(BB),nut(DD),attach middle beam(G1) to middle beam connector(D3).

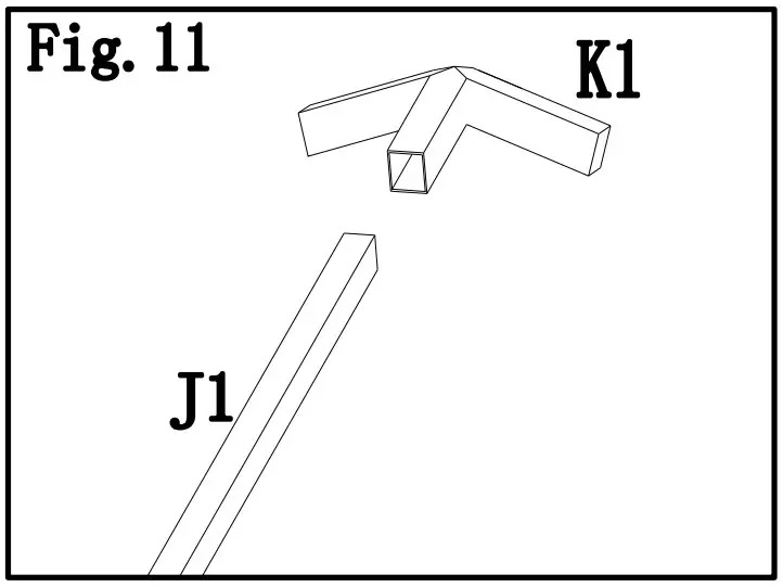
- Fig.11:Insert small top slanting bar(J1) into small top connector(K1).

- Fig.12:Put large canopy(R1), middle canopy(Q1) on top. Then insert assembled small top slanting bar(J1) into big top slanting upper bar(F1).

- Fig.13-1、Fig.13-2:Attached the adjustable tube(I) to bottom of big top slanting beam upper bar(F1) and bottom of small top slanting bar(J1), adjust the length shortest.


- Fig.14:Fix small canopy four corner(P1) to adjustable tube(I),then adjust length till canopy tight.

- Fig.15:Fix middle canlpy four corner (Q1) to big top slanting beam upper bar ( F1 ) ,then adjust middle top end tube till middle canopy tight.

- Fig.16 :Fix big canopy four corner(R1) to big top slanting lower bar(F2,)then adjust big top end tube till canopy tight.

- Fig.17:By using ring(GG) hang mosquito netting(T)on netting bar(N1); by using ring(GG) hang curtain(S) on screen tube (B1,C1).

- Fig.18 :By using stake(FF) fix assembled gazebo on ground.

Care and Maintenance
- Our steel components for garden accessories and furniture are treated with rust inhibiting paint that protects it from rusting. However, due to the nature of steel, surface oxidation (rusting) will occur once these protective coatings are scratched. This is not a defect and thus not covered by the warranty.
- To minimize this condition, we recommend care when assembling & handling the product to prevent scratching the paint. Should any scratching or damage occur, we recommend immediate touch‐up with rust inhibiting paint.
- Surface rust can also be easily removed with a very light application of common cooking oil. If surface oxidation (rusting) occurs and if no measure is taken to prevent this, the oxidation may start dripping on to deck or patio and caused damaging stains, which may be difficult to remove. This can be prevented if the above‐mentioned measures are taken to keep the product from oxidizing.
- Use damp cloth to wipe off the stains as quickly as possible.
- If necessary, wash with a mild solution of soap and water; rinse thoroughly and dry completely.
- Periodically check and ensure that all bolts are well‐tighten during use.
Limited Manufacturer’s Warranty
Sunjoy Group warrants to the original purchaser that this item is free from defects in workmanship and materials for a period of 1 year from the date of purchase, provided the item was factory‐sealed at the time of purchase and is maintained with care and used only for personal, residential purposes. Should any manufacturing defect arise within this warranty period, Sunjoy Group will replace (at our option) any defective merchandise or parts upon proof of purchase; however, transportation and delivery costs, as well as payments to a third party for assembly or disassembly of the item, remain the responsibility of the purchaser. A purchaser of an “open box,” previously‐returned, or “clearance” item, as well as original purchasers outside of the warranty period, may obtain replacement parts from Sunjoy Group for products in current production, at nominal cost.
Exclusions
Items used for commercial, contract, or other non‐residential purposes, or items damaged due to acts of nature, vandalism, misuse, or improper assembly are not covered. Corrosion or rusting of hardware is not covered. Proof of purchase (dated register receipt) is required for warranty claims. Warranty is to the original purchaser and is non‐transferable. Any replacement of warranted items will be in the original style and color, or a similar style and color if the original is unavailable or has been discontinued. As some states do not allow exclusions or limitations on an implied warranty, the above exclusions and limitations may not apply. This warranty gives you specific rights, and you may also have other rights, which vary from state to state.
CONTACT US
24 hours / 7 days a week
www.sunjoyonline.com
[email protected]




































































