DSC PG9902 Wireless Outdoor Curtain Pet Immune PIR Detector

PG9902/PG8902/PG4902 Overview
The PG9902/PG8902/PG4902 is a wireless outdoor curtain pet immune PIR detector with anti-masking feature. This device is designed to detect people and differentiate between property inhabitants and potential intruders entering the premises. The device offers optional settings for day and night (default) and night only. It also allows the user to set the alarm direction to reduce the probability of false alarms. The device can be mounted on an upper corner of the window frame to protect a window or on a door or gate to protect the entrance.
Mounting the device
Follow the below steps to mount the device:
- Use the uppermost and middle holes in the device bracket to mark two holes on the mounting surface. See hole number 1 and hole number 2 in Figure 2.
- Optional: To avail of tamper protection, use the bottommost hole in the break-away segment of the bracket to mark a third hole on the mounting surface. See hole number 3 in Figure 2.
- Drill the required holes in the mounting surface according to the markings and insert the wall plugs. See Figure 3.
- Fasten the bracket to the mounting surface with screws. See Figure 6.
- Slot the device onto the bracket. See Figure 6.
- Close the bracket until it clicks into place. See Figure 7.
Enrolling the PGx902
To enroll the PGx902, from the INSTALLER menu, select 02:ZONES/DEVICES, and complete the steps in the following procedure:
- Configure the temperature alerts. The device allows you to configure each of the four temperature alerts: VERY HOT, COLD, FREEZING, and FREEZER.
- Define the threshold value for each temperature alert. The threshold value displays the last saved value. To change the default value, click the back or next button to decrease or increase the value and click OK.
- Define the alert delay value for each temperature alert. The alert delay value defines the amount of time to pass before the device reports an alert or not.
Note:
The device sensitivity needs calibration to identify people accurately. To calibrate, set the detector detection range as per Table 1. The device offers optional settings for both (default), Left to right, Right to left detection pattern. See Figure 8 for the alarm direction diagram. In rare cases, an extreme change in environmental light can cause a false anti-masking alert. If the anti-masking feature does not automatically reset after ten minutes, disable and then enable the anti-masking setting. See Outdoor anti-mask in Modifying the device. For UL/ULC listed installations, only use the device in conjunction with UL/ULC listed control panels.
Overview
Wireless outdoor curtain pet immune PIR detector with anti- masking
Figure1. PGx902

- Bracket
- Device LED
- Indication
- PIR optical window
The PGx902 is a smart, wireless outdoor curtain PIR detector with anti-masking. It is supported by the DSC alarm system and uses Power G two-way communication protocol.
The detector has the following features:
- Two channel Pyro (patented) thermal sensor output
- Microprocessor-controlled temperature compensation
- White light protection
- Adjustable pet immunity selector
- Adjustable detection sensitivity
- Parabolic and elliptical optics (patented)
- Target Specific Imaging™ (TSI) technology distinguishes between humans and pets weighing up to 18 kg or 40 lbs
- True Motion Recognition™ algorithm (patented)
- Cross-direction detection: both directions, left to right, and right to left.
- Active smart anti-masking ability recognizes spray and dust (patented)
- No vertical adjustment is needed.
- Long-life battery which is due to the ultralow current consumption
- Front and back tamper protection (patented)
- Supports temperature and light level reports according to the Power G panel version
Note: For UL installations, use the detector with UL listed control units only.
Installation advice
Only qualified service persons can install the PGx902. Before you install the device, consider the following points:
Do:
- Install the PGx902 according to the Standard for Installation and Classification of Burglar and Holdup Alarm Systems, UL 681.
- Consider weather conditions that can trigger false alarms, such as moving tree branches or leaves, and other related environmental conditions.
- Locate the device at least 20 cm from all persons during normal operation to comply with FCC and ISED Canada RF exposure compliance requirements.
Do not:
- Obscure the field of view of the detector or install the device over sloped ground.
- Install the device in hazardous locations, in areas with a pollution degree higher than pollution degree 2, or in circuits above overvoltages category II.
- Co-locate or operate the antennas used for this product in conjunction with any other antenna or transmitter.
Note:
- To calibrate the detector sensitivity to identify people more accurately, set the detector detection range. See Table 1.
- To protect a window, mount the detector on an upper corner of the window frame so that the PIR beams are parallel with the glass pane.
- In rare cases, an extreme change in environmental light can cause a false anti-masking alert. If the anti-masking feature does not automatically reset after ten minutes, disable and then enable the anti-masking setting. See Outdoor anti-mask in Modifying the device.
Mounting Information
- Use the uppermost and middle holes in the device bracket to mark two holes on the mounting surface. See hole number 1 and hole number 2 in Figure 2.
- Optional: To avail of tamper protection, use the bottommost hole in the break-away segment of the bracket to mark a third hole on the mounting surface. See hole number 3 in Figure 2.
- Drill the required holes in the mounting surface according to the markings and insert the wall plugs. See Figure 3.
- Fasten the bracket to the mounting surface with screws. See Figure 4.
- Insert the batteries into the detector and close the battery cover. For more information, see Inserting or replacing the batteries.
- Insert the top of the detector into the bracket. As you insert the detector, choose a slot in the bracket that positions the detector to cover the area that requires protection. See Figure 5 and Figure 6.
Note:- When you complete step 6, the LED blinks to indicate the start of the tamper self-calibrating procedure.
- When the detector is resting on the unscrewed bracket, you can rotate it to a more exact final position. See Callout 1 in Figure 7.
- While the LED blinks, tighten the bottom screw to close the bracket. See Callout 2 in Figure 7.
Note: If the yellow LED stops blinking before the screw is tightened adequately, remove the detector from the bracket and wait three seconds. Repeat step 6 to start the self-calibrating procedure.
Figure2. Marking screw holes

Figure 3. Drilling screw holes

Figure4. Fastening the bracket

Figure 5. Rotation slot

Figure6. Slotting into device

Figure 7. Closing the bracket

Enrolling
To enroll the PGx902, from the INSTALLER menu, select 02:ZONES/DEVICES, and complete the steps in the following procedure:
Note:
- For UL/ULC listed installations, only use the device in conjunction with UL/ULC listed control panels.
- If you enroll the PGx902 in DSC panels with version 19.4 or lower, the detector enrolls as an outdoor PIR motion detector. The device enrolls in the panel with the device ID, 130-xxxx, and the name, Motion Outd. .
- To ensure that the proper steps are used, refer to the installation manual for the alarm system that the device is being enrolled on.
- From the installation menu, enter the device enrollment option through the specified method and select the appropriate option to add the new device.
- Pull the enrollment tab or insert the batteries to power on the device and begin the auto-enrollment process. Note: You can also enter ID:xxx-xxxx (the number of the device that is printed on the label), or press the enroll button on the detector to begin the enrollment process if the device does not automatically enroll.
- Select the desired zone number.
- Configure any device parameters that are required.
- Mount and test the detector. See Performing a walk test/local diagnostic test for information on testing the device. In addition, see the alarm systems installation manual that the device is enrolled on for other test procedures that are required.
Notes:
- After you enroll the detector, you can configure the detector parameters and assign partitions. See Configuring the detector parameters for more information.
- The PARTITIONS option appears only if the panel supports partitioning and the feature was enabled prior to this procedure. For more information, refer to Partitioning in the DSC installation guide.
Configuring the detector parameters
Modifying the device
To modify the PGx902, enter the DEVICE SETTINGS menu and follow the configuration instructions as described below.
- Alarm LED: Activate or deactivate the alarm LED indication.
- Optional settings: LED ON (default) and LED OFF.
- PIR range: Select one of the three ranges, according to your installation preference. See Setting the detector range.
- Outdoor anti-mask: Enable or disable the outdoor anti-masking feature.
- Optional settings: Disabled (default) and Enabled.
Alarm hours: Set the motion detector to alarm always + 60 min or only when it is dark.
- Note: For UL/ULC installation, only use the alarm hours feature for night protection as a supplement to the protection already covering the area.
- Optional settings: Day and night (default) and Night only.
- Alarm direction: Define the detection direction. The alarm direction function can reduce the probability of false alarms by more than half when the detector is protecting a door or a gate. With this function, the device can differentiate between property inhabitants exiting, and potential intruders entering the premises.
- Note: This feature is only available in DSC panels version 20.2 and higher.
- Optional settings: Both (default), Left to right, Right to left.
See Figure 8 for the alarm direction diagram. In , Callout 1 shows a Right to left detection pattern and Callout 2 shows a Left to right detection pattern. The right and left directions refer to the point of view of the installer while observing the detector in its fixed position. - VERY HOT: Define whether or not the control panel reports a VERY HOT alert when the temperature rises above the threshold value for at least the duration of time specified in the alert delay value. The alert restore occurs when the temperature drops 1°C or 1.8°F below threshold for at least the duration of the restore delay value.
- Note: The default threshold value for VERY HOT is 35°C or 95°F. The default alert delay value and the default restore delay value is 10 minutes.
- Optional settings: See Configuring the temperature alerts.
- COLD: Define whether or not the control panel reports a COLD alert when the temperature drops below the threshold value for at least the duration specified in the alert delay value. The alert restore occurs when the temperature rises 1°C or 1.8°F above the threshold value for at least the duration of the restore delay value.
- Note: The default threshold value for COLD is 19°C or 66°F. The default alert delay value and default restore delay value is 10 minutes.
- Optional settings: See Configuring the temperature alerts.
- FREEZING: Define whether or not the control panel reports a FREEZING alert when the temperature drops below the threshold value for at least the duration specified in the alert delay value. The alert restore occurs when the temperature rises 1°C or 1.8°F above the threshold value for at least the duration of the restore delay value.
- Note: The default threshold value for FREEZING is 7°C or 45°F. The default alert delay value and default restore delay value is 10 minutes.
- Optional settings: See Configuring the temperature alerts.
- FREEZER: Define whether or not the control panel reports a FREEZER alert when the temperature rises above the threshold value for at least the duration specified in the alert delay value. The alert restore occurs when the temperature drops 1 °C or 1.8°F below the threshold value for at least the duration of the restore delay value.
- Note: The default value for threshold is -10°C or 14°F. The default value for alert delay is 30 minutes. The default value for restore delay is 30 minutes.
- Optional settings: See Configuring the temperature alerts.
- Disarm activity: Define the length of time that the sensor continues to detect motion during the disarm process.
- Optional settings: NOT Active (default), YES –no delay, YES + 5 s delay, YES + 15 s delay, YES + 30 s delay, YES + 1 min, YES + 2 min, YES + 5 min, YES + 10 min, YES + 20 min, YES + 60 min .
Note
- To generate an alarm or restore transmission, the temperature must pass beyond the threshold value for the required duration.
- The user can give access to the installer to remotely enable or disable the indication LED.
Figure8. Detection direction

Configuring the temperature alerts
You can configure each of the four temperature alerts: VERY HOT, COLD, FREEZING, and FREEZER.
- Threshold: Displays the last saved threshold value. To change the default value, click the back or next button to decrease or increase the value and click OK.
- Disable/Enable: Defines whether or not the panel will report an alert or not.
- Alert delay: Define the amount of time to pass before an alert is reported when the temperature exceeds the defined default duration.
- The alert delay time values are: Immediately, 1 min, 2 min, 10 min, 15 min, 20 min, 30 min
- Restore delay: Defines the amount of time to pass before a restoration alert is reported when the temperature returns below the threshold value. The restore delay time values are: Immediately, 1 min, 2 min, 10 min, 15 min, 20 min, 30 min
Setting the detector range
From the DSC panel installer menu, select 02:ZONES/DEVICES and follow the menu path displayed in Table 1 to configure the device detection range. Note: If you enroll the PGx902 in DSC panels with version19.4 or lower, the detector enrolls as an outdoor PIR motion detector. The device enrolls in the panel with the device ID, 130-xxxx, and the name, Motion Outd. . Table 1. Setting the detector range
| Panel | >= V20.2 | <= V19.4 |
| Device ID | PGx902: ID: 129-xxxx S.Out Curtain | TOWER-20AM: ID: 130-xxxx Motion Outd. |
| Menu path |
|
|
| Range options | Maximum: 8 m Medium: 5 m Minimum: 3 m | High: 8 m Low: 3 m One region: 8 m |
Notes:
Range refers to Callout 2 in Figure 9.
The asterisks symbol represents the detector point of view and the start of the PIR curtain.
Figure9. Detection beam pattern

| Callout | Distance |
| 1 | 2 m or 6.56 ft |
| 2 | 8 m or 26.25 ft |
| 3 | 0.75 m or 2.46 ft |
| 4 | 1.9 m or 6.23 ft |
| 5 | 0.25 m or 0.82 ft |
Inserting or replacing the batteries
Warning: If you replace the batteries with an incorrect type, there is a risk of explosion.
Note: When you replace the batteries, wait one minute after the batteries are removed beforeyou insert the new batteries.
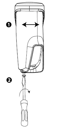
- Unscrew the bottom screw of the bracket and remove the detector. See Figure 10 and Figure 11.
- Press on the snap located at the top of the battery cover with your thumb to open the battery cover. See Figure 12.
- Optional: To replace the batteries, remove the old batteries and insert the new batteries with the (+) and (-) symbols matching the illustration found in the battery compartment. See Number 2 in Figure 13.
- Optional: To activate the batteries of a new device, pull the battery tab while holding the batteries in place with your thumb. See Figure 14.
- To close the battery compartment, insert the bottom section of the battery cover first and then press and hold the snap while closing the top part of the cover. See number 1 and number 2 in Figure 15.
- Insert the device into the bracket and tighten the bottom screw of the bracket. For more information, see Step 6 and Step 7 in Modifying the device.
Note: Dispose of used batteries according to the manufacturer instructions and according to local rules and regulations.
Figure10. Unscrewing the bracket screw

Figure11. Removing the detector from bracket

Figure12. Opening the battery cover

Figure13. Enrollment button and battery polarity

- Enrollment button
- Battery polarity
Figure14. Pulling the battery tab

Figure15. Closing the battery cover

Setting the pet immunity
The pet immunity feature allows pets to pass through the PIR curtain without triggering a false alarm.
The pet immunity selector is in the battery compartment. See Figure 16.
Remove the battery cover and then remove the right-hand side battery to configure the pet selector. See Inserting or replacing the batteries for more information. Choose the device mounting height and configure the pet immunity selector according to the following guidelines:
Table 2. Pet immunity selector and mounting height
| Pet immunity | Setting | Mounting height |
| Pet < 18 kg or 40 lbs | 1 (default) | 2 m or 6.56 ft |
| Small pet < 3 kg or 6.6 lb; or rodents | 2 | 1.8 m or 5.9 ft to 2 m or 6.56 ft |
| No pet | 4 | 1.6 m or 5.25 ft to 2 m or 6.56 ft |
Note:
- Setting 3 in the pet mask selector has no function.
- The best mounting height for setting 4 is 2 m or 6.56 ft.
Figure 16. Pet immunity selector

Performing a walk test/local diagnostic test
Before you permanently mount the device, temporarily mount the device and perform a walk test.
- Insert the batteries or close the battery cover to start the 90 second stability period. The LED flashes red during this period.
- Walk through the far end of the detector’s PIR curtain. The LED lights red each time it detects motion and then blinks three times.
- Compare the LED blink response to the reception value in Table 3.
- Repeat the test until you receive a good or strong signal. If you receive a poor signal, relocate the device until you receive a good or strong signal strength.
- When you receive a good or strong signal, repeat the process from the other direction. See .
The device automatically enters normal mode 15 minutes after you complete the walk test procedure.
Notes:
- Perform a walk test of the coverage area at least once a week to ensure that the detector is working correctly.
- For detailed diagnostics test instructions, refer to the control panel installation guide.
- The PGx902 can be configured to detect movement with the following settings: Left to right, Right to left, and Both. For more information, see the alarm direction setting in Modifying the device.
Note: For UL/ULC installations, only strong signal levels are acceptable. After installation verify the product functionality in conjunction with the compatible control panels: HSM2HOST9,HS2LCDRF(P) 9, HS2ICNRF(P) 9, PG9920, WS900-19, and WS900-29..
Table 3. Walk test signal strength indication
LED response : Reception
- 3 Green blinks Strong
- 3 Orange blinks Good
- 3 Red blinks Poor
- No blinks No communication
LED operation
Table 4 provides the types of LED indications and their corresponding events.
Table 4. LED indication significance
| LED Indication | Event |
| Red LED blinks | Stabilization (Warm- up 90 s) |
| Red LED on 0.2 s | Tamper open/close |
| Red LED on 2 s | Intruder alarm |
| Yellow LED on | Anti-masking detection, diagnostic mode |
| Yellow LED blinks slowly (0.2 s on, 30 s off) | Anti-masking, normal mode |
| Yellow LED blinks | Back tamper self- calibration |
Temperature Display
To ensure that the zone temperature and light data display are on the correct panel, refer to 6.2 Conducting a Periodic Test in the relevant wireless panel installation guide.
Compatible receivers
This device can be used with DSC panels that use PowerG technology.
- For UL installations, the detector is for use with UL listed control units only.
- Only devices operating in band 912-919 MHz are UL/ULC listed.
Specifications
GENERAL
- Special two-channel PIR outputs
OPTICAL
- Lens data: Mirror type, common parabolic-elliptic surface
- Detector mirror max. coverage: Up to 8 m / 6°Detection ranges: Select 3 m, 5 m or 8 m. See Callout 2, Table 1.
ELECTRICAL
- Power supply: Type C
- Internal battery: Two 3 V lithium battery, type CR- 123A. For UL installations, use Panasonic and GP only
- Nominal battery capacity: 1450 mAh
- Battery life (typical use) : Minimum 1 year. Typical use, 3 years (not verified by UL)
- Low battery threshold: 4 V
- Battery power test: Performed immediately upon battery insertion and periodically every several hours.
The power supply is type C in accordance with EN50131-6 Documentation – Clause 6 - Current consumption: 30 μA average quiescent, maximum 150 mA (during transmission)
FUNCTIONAL
- Alarm period: 2 seconds
- Pet immunity: Up to 18 kg (40 lb)
- Pet configurations: Pet < 18 kg/40 lbs (default); pet < 3 kg/6.6lb; No pet
WIRELESS
- Frequency: Europe and rest of world: 433 – 434 MHz, 868 – 869 MHz USA: 912-919 MHz. Only devices in frequency band 915 MHz are
- UL/ULC listed. Communication protocol: PowerG
- Supervision: Signaling at 256 second intervals
- Tamper alert: Reported when a tamper event occurs and in any subsequent message, until the tamper switch is restored.
MOUNTING
- Mounting type: Wall mounting
- Mounting Height: 1.6 – 2 m (5.25 – 6.56 ft)
- Horizontal Adjustment: -90° to +90°, in 10° steps
ENVIRONMENTAL
- RF immunity: 0 V/m up to 1000 MHz, 10 V/m up to 2700 MHz
- Operating temperature: – 35°C to 60°C (- 31°F to 140°F) For UL / ULC installation, evaluated to 66°C
- Humidity: Average relative humidity of up to approximately 75% non- condensing. For 30 days per year the relative humidity may vary between 85% and 95% non-condensing. For UL installations: 5% to 93%with no condensation
- Storage temperatures: -35°C to 60°C (-31°F to 140°F)
PHYSICAL
- Size (diameter): 145 mm x 71 mm x 62 mm
- Weight (with battery): 283 g (10 oz)
- Color: White
Notice
ThePGx902 detector was designed to adhere to applicable privacy regulations and only processes data needed for the primary functionality of the device. Before using the detector you will be asked to provide consent with processing of the personal data that the detector may capture. Note that the detector records video to secure the best functionality of the device. The recordings are processed securely and automatically erased on a periodic basis. Based on the location of the module you may have the obligation to issue a notice about using it.
The data recorded through the PGx902detector are processed and maintained primarily by the data controller. Data controller is the entity that provides monitoring services to you. You have the right to enquire about your data with them. For more information about their privacy practices please contact the data controller.
For more information about Tyco privacy practices please visit our website http://www.tyco.com/privacy.
UL/ULC Notes
Only model PG9902operating in the frequency band 912-919MHz is UL/ULC listed. ThePG9902 has been listed by UL for commercial and residential burglary applications and by ULC for residential burglary applications in accordance with the requirements in the Standards UL 639andULC- S306for Intrusion Detection Units. For UL/UL C installations use these device only inconjunct ion with compatible DSC wireless receivers: HSM2HOST9, HS2LCDRF(P)9, HS2ICNRF(P)9, PG9920, WS900- 19,and WS900-29. After installation verify the product functionality in conjunction with the compatible receiver used.
FCC COMPLIANCE STATEMENT
CAUTION: Changes or modiications not expressly approved by DSC could void your authority to use this equipment .
This equipment generates and uses radio frequency energy and if not installed and used properly, intrici accordance with the manufacturer’s instruct ions, may cause interference to radio and television reception. It has been type tested and found to comply with the limit s f or Class B device accordance wit h the specifications in Subpart “B” of Part 15 of FCC Rules, which are designed t o provide reasonable protect ion against such interference in any residential installation. However, there is no guarantee that interference will not occur in a particular installation. I f t his equipment does cause interference to television or radio reception, which can be determined by turning the equipment of f and on, t he user is encouraged to try to correct the interference by one or more of the following measures:
- Re-orient the receiving antenna
- Relocate the alarm control wit h respect to the receiver
- Move the alarm control away from the receiver
- Connect the alarm control into a different out let so t hat alarm control and receiver are on different circuits.
Industry Canada Statement
This equipment complies with FCC and ISED Canada RF radiation exposure limits set for the for an uncontrolled environment. This device complies with FCC Rules Part 15 and with ISED Canada licence exempt RSS standard(s). Operation is subject to the following two conditions:
- This device may not cause harmful interference ,and
- This device must accept any interference that maybe received or that may cause undesired operation.
To comply with FCC Section 1.1310 for human exposure to radio frequency electromagnetic fields and IC requirements, implement the following instruction: A distance of at least 20cm between the equipment and all persons should be maintained during the operation of the equipment.
IC:160A-PG9902
The term IC before the radio certification number signifies that the Industry Canada technical specifications were met. This Class B digital apparatus complies with Canadian ICES-003. This device complies with RSS-247 of Industry Canada. Operation is subject to the following two conditions:
- This device may not cause interference, and
- This device must accept any interference ,including interference that may cause undesired operation of the device.
Europe: CE/EN (EN50131- 2-2GRADE 2, CLASS IV,EN50131- 6Type C) listed PG8902: 868MHz
PG4902:433 MHz. According to EN 50131-1, this equipment can be applied in installed systems up to and including Security Grade 2, Environmental Class IV IP55.
Certification body: Telefication B.V
Certified by Applica Test & Certification AS in accordance with EN 50131- 2-2, EN 50131-5- 3, EN 50131- 6,
EN 50130-4, EN 50130- 5.
UK:ThePG8902 is suitable for use in systems installed to conform to PD6662at Grade2and environment all class IVBS8243. The Power G peripheral devices have two- way communication functionality, providing additional benefits as described in the technical brochure. This functionality has not been tested to comply with the respective technical requirements and should therefore be considered outside the scope of the product’s certification.
Simplified EU declaration of conformity
Hereby, Tyco Safety Products Canada Ltd. declares that the radio equipment type is incompliance with
Directive 2014/53/EU.
The fulltext of the EU declaration of conformity is available at the following internet address: PG4902:http://dsc.com/pdf/1710001
PG8902:http://dsc.com/pdf/1710002
Frequency band Maximum power
433.04MHz – 434.79 MHz 10mW
868.0MHz – 868.6MHz 10mW
868.7MHz – 869.2MHz 10mW
Europeansingle point of contact: TycoSafety Products, Voltaweg 20, 6101
XK Echt,Netherlands.
Limited Warranty
Digital Security Controls (DSC) warrants that for a period of twelve months from t he date of purchase, the product shall be free of defects in materials and workmanship under normal use and t hat unfulfillment of any breach of such warrant y, DSC shall, at it s option, repair or replace t he defective equipment upon ret urn of the equipment to it s factory. This warranty applies only to defects in parts and workmanship and not t o damage incurred in shipping or handling, or damage due toc amuses beyond the control of DSC such as lightning, excessive voltage, mechanical shock, water damage, or damage arising out of abuse, alteration or improper application of t he equipment .
The foregoing warrant y shall apply only to the original buyer, and is and shall be inlier of any and allot her warranties, whet her expressed or implied and of all at her obligations or liabilities on the part of DSC. This warranty contains he entire warranty. Digital Security Controls her assumes responsibility for, nor authorizes any at her person purporting to act on it s behalf to modify or to changed his warrant y, nor t o assume for it any ot her warrant y or liability concerning t his product . In no event shall DSC be liable for any direct or indirect or consequential damages, loss of its, loss of time or any at her losses incurred by t he buyer in connect ion wit h t he purchase, installation or operation or failure of t his product .
Warning: Digital Security Controls recommends that the entire system be completely tested on a regular basis. However, despite frequent testing, and due to, but not limited t o, criminal tampering or electrical disrupt ion, it is possible for this product to f ail to perform as expected.
IMPORTANT – READ CAREFULLY: DSC Software purchased wit h or without Product s and Component s is copyright is purchased under the following license terms:
This End- User License Agreement (“EULA”) is a legal agreement bet ween You (t he company, individual or entity who acquired the Software and any related Hardware) and Digit al Security Controls, a division of Tyco Safety Product s Canada Lt d. (“DSC”), the manufacturer of t he integrated security systems and the developer of the soft ware and any related product s or components (“HARDWARE”) which You acquired. I f t he DSC software product (“SOFTWARE PRODUCT” or “SOFTWARE”) is intended to be accompanied by HARDWARE, and is NOT accompanied by new HARDWARE, You may not use, copy or install the SOFTWARE PRODUCT. The SOFTWARE PRODUCT includes computer software, and may include associated media, printed materials, and “online” or electronic document at ion. Any software provided along with the SOFTWARE PRODUCT that is associated with a separate end- user license agreement is licensed to You under t he terms of t hat license agreement .
copying, downloading, storing, accessing herkies using the SOFTWARE PRODUCT, You agree by t he terms of this EULA, even if t his EULA is deemed to be a modification of any previous arrangement or contract . If You do not agree t o the terms of t his EULA, DSC is unwilling he SOFTWARE PRODUCT to You, and You have no right t o use it .
SOFTWARE PRODUCT LICENSE
The SOFTWARE PRODUCT is protected by copyright laws and international copyright treaties, as well as her intellectual property laws and treat ies. The SOFTWARE PRODUCT is licensed, not sold.
GRANT OF LICENSE This EULA grants You the following rights:
- Soft ware Installat ion and Use – For each license You acquire, You may have only one copy of t he SOFTWARE PRODUCT installed.
- Storage/Net work Use – The SOFTWARE PRODUCT may not be installed, accessed, displayed, run, shared or used concurrent from different computers, including workstation, terminal or her digit al electronic device (“Device”). I n her words, if You have several workstations, You will have t o acquire a license for each workstation where the SOFTWARE will be used.
- Backup Copy – You may make back- up copies of t he SOFTWARE PRODUCT, but You may only have one copy per license installed at any given time. You may use t he back- up copy solely f or archival purposes. Except as expressly provided in t his EULA, You may not otherwise make copies of t he SOFTWARE PRODUCT, including t he printed materials accompanying t he SOFTWARE.
DESCRIPTION OF OTHER RIGHTS AND LIMITATIONS
- Limitations on Reverse Engineering, Recompilation and Disassembly – You may not reverse engineer, decompile, or disassembled he SOFTWARE PRODUCT, except and only to the extent t hat such activity is expressly permit ted by applicable law not wit standing this limit at ion. You may not make any changes or modifications to the Software, without the writ ten permission of an of facer of DSC. You may not remove any marks or labels rom the Software Product . You shall institute reasonable measures to ensure compliance with the terms and conditions of t his EULA.
- Separation of Components – The SOFTWARE PRODUCT is licensed as a single product . It s component part s may not be separated f or use on more than one HARDWARE unit .
- Single INTEGRATED PRODUCT – If You acquired t his SOFTWARE wit h HARDWARE, t hen t he SOFTWARE PRODUCT is licensed with the HARDWARE as a single integrated product . In t his case, the SOFTWARE PRODUCT may only be used wit h the HARDWARE as set fort hint his EULA.
- Rental – You may not rent , lease or lend the SOFTWARE PRODUCT. You may not make it available to or post it on a server or web sit e.
- Software Product Transfer – You may transfer all of Your right s under t his EULA only as part of a permanent sale or transfer of t he HARDWARE, provided You retain no copies, You transfer all of the SOFTWARE PRODUCT (including all component part s, t he media and printed materials, any upgrades and t his EULA), and provided t he recipient agrees t o t he terms of t his EULA. If t he SOFTWARE PRODUCT is an upgrade, any transfer must also include all prior versions of the SOFTWARE PRODUCT.
- Termination- Without prejudice to any her rights, DSC may terminated his EULA if You fail to comply wit h t he terms and conditions of t his EULA. In such event , You must destroy all copies of t he SOFTWARE PRODUCT and all of its component part s.
- Trademarks – This EULA does not grant You any rights in connect ion wit h any trademarks or service marks of DSC or it s suppliers.
COPYRIGHT – All t it le and intellectual property rights in and to the SOFTWARE PRODUCT (including but not limited to any images, photographs, and text incorporated into the SOFTWARE PRODUCT), t he accompanying printed materials, and any copies of t he SOFTWARE PRODUCT, are owned by DSC or it s suppliers. You may not copy the printed materials accompanying the SOFTWARE PRODUCT. All t it le and intellectual property right s in and t o t he content which may be accessed through use of the SOFTWARE PRODUCT are t he property of the respective content owner and may be protected by applicable copyright or her intellectual property laws and treats. This EULA grants You no rights to use such content . All rights not expressly granted under this EULA are reserved by DSC and it s suppliers.
EXPORT RESTRICTIONS
You agree that You will not export or re-export t he SOFTWARE PRODUCT to any country, person, or entity subject to Canadian export
restrictions.
CHOICE OF LAW
This Soft ware License Agreement is governed by t he laws of t he Province of Ontario, Canada.
ARBITRATION
All disputes arising in connect ion with this Agreement shall be determined by final and binding arbitrational accordance with the Arbitration Act , and the parties agree to be bound by the arbitrator’s decision. The place of arbitration shall be Toronto, Canada, and t he language of the arbitration shall be English.
- NO WARRANTY – DSC PROVI DES THE SOFTWARE “AS I S” WI THOUT WARRANTY. DSC DOES NOT WARRANT THAT THE SOFTWARE WI LL MEET YOUR REQUI REMENTS OR THAT OPERATI ON OF THE SOFTWARE WI LL BE UNI NTERRUPTED OR ERROR-FREE.
- CHANGES IN OPERATING ENVI RONMENT – DSC shall not be responsible for problems caused by changes in the operating characteristics of t he HARDWARE, or f or problems in the interaction of the SOFTWARE PRODUCT wit h non-DSC- SOFTWARE or HARDWARE PRODUCTS.
- LIMITATI ON OF LI ABI LI TY; WARRANTY REFLECTS ALLOCATI ON OF RI SK – I N ANY EVENT, I F ANY STATUTE I MPLI ES WARRANTI ES OR CONDI TI ONS NOT STATED I N THI S LI CENSE AGREEMENT, DSC’S ENTI RE LI ABI LI TY UNDER ANY PROVI SI ON OF THI S LI CENSE AGREEMENT SHALL BE LI MI TED TO THE GREATER OF THE AMOUNT ACTUALLY PAI D BY YOU TO LI CENSE THE SOFTWARE PRODUCT AND FI VE CANADI AN DOLLARS (CAD$5.00). BECAUSE SOME JURI SDI CTI ONS DO NOT ALLOW THE EXCLUSI ON OR LI MI TATI ON OF LI ABI LI TY FOR CONSEQUENTI AL OR I NCI DENTAL DAMAGES, THE ABOVE LI MI TATI ON MAY NOT APPLY TO YOU.
- DI SCLAI MER OF WARRANTI ES – THI S WARRANTY CONTAINS THE ENTI RE WARRANTY AND SHALL BE I N LI EU OF ANY AND ALL OTHER WARRANTI ES, WHETHER EXPRESSED OR I MPLI ED (I NCLUDI NG ALL I MPLI ED WARRANTI ES OF MERCHANTABI LI TY OR FI TNESS FOR A PARTI CULAR PURPOSE) AND OF ALL OTHER OBLI GATI ONS OR LI ABI LI TI ES ON THE PART OF DSC. DSC MAKES NO OTHER WARRANTI ES. DSC NEI THER ASSUMES NOR AUTHORI ZES ANY OTHER PERSON PURPORTI NG TO ACT ON I TS BEHALF TO MODI FY OR TO CHANGE THI S WARRANTY, NOR TO ASSUME FOR I T ANY OTHER WARRANTY OR LI ABI LI TY CONCERNI NG THI S SOFTWARE PRODUCT.
- EXCLUSI VE REMEDY AND LI MI TATI ON OF WARRANTY – UNDER NO CI RCUMSTANCES SHALL DSC BE LI ABLE FOR ANY SPECI AL, I NCI DENTAL, CONSEQUENTI AL OR I NDI RECT DAMAGES BASED UPON BREACH OF WARRANTY, BREACH OF CONTRACT, NEGLI GENCE, STRI CT LI ABI LI TY, OR ANY OTHER LEGAL THEORY. SUCH DAMAGES I NCLUDE, BUT ARE NOT LI MI TED TO, LOSS OF PROFI TS, LOSS OF THE SOFTWARE PRODUCT OR ANY ASSOCI ATED EQUI PMENT, COST OF CAPI TAL, COST OF SUBSTI TUTE OR REPLACEMENT EQUI PMENT, FACI LI TI ES ORSERVI CES, DOWN TI ME, PURCHASERS TI ME, THE CLAI MS OF THI RD PARTI ES, I NCLUDI NG CUSTOMERS, AND I NJURYTO PROPERTY. WARNI NG: DSC recommends that the entire system be completely tested on a regular basis. However, despite frequent sting, and due to, but not limited to, criminal tampering or electrical disrupt ion, it is possible f or t his SOFTWARE PRODUCT to f ail to perform as expected.
© 2019 Johnson Controls. All rights reserved.
JOHNSON CONTROLS, TYCO and DSC are trademarks and/or registered trademarks. Unauthorized use is strictly prohibited.
www.dsc.com
Tech support: 1-800- 387-3630
D-307353 PGx902 REV. 3, (01/20)




















