SIEMENS MTA Molded Case Circuit Breaker Instruction Manual



Introduction
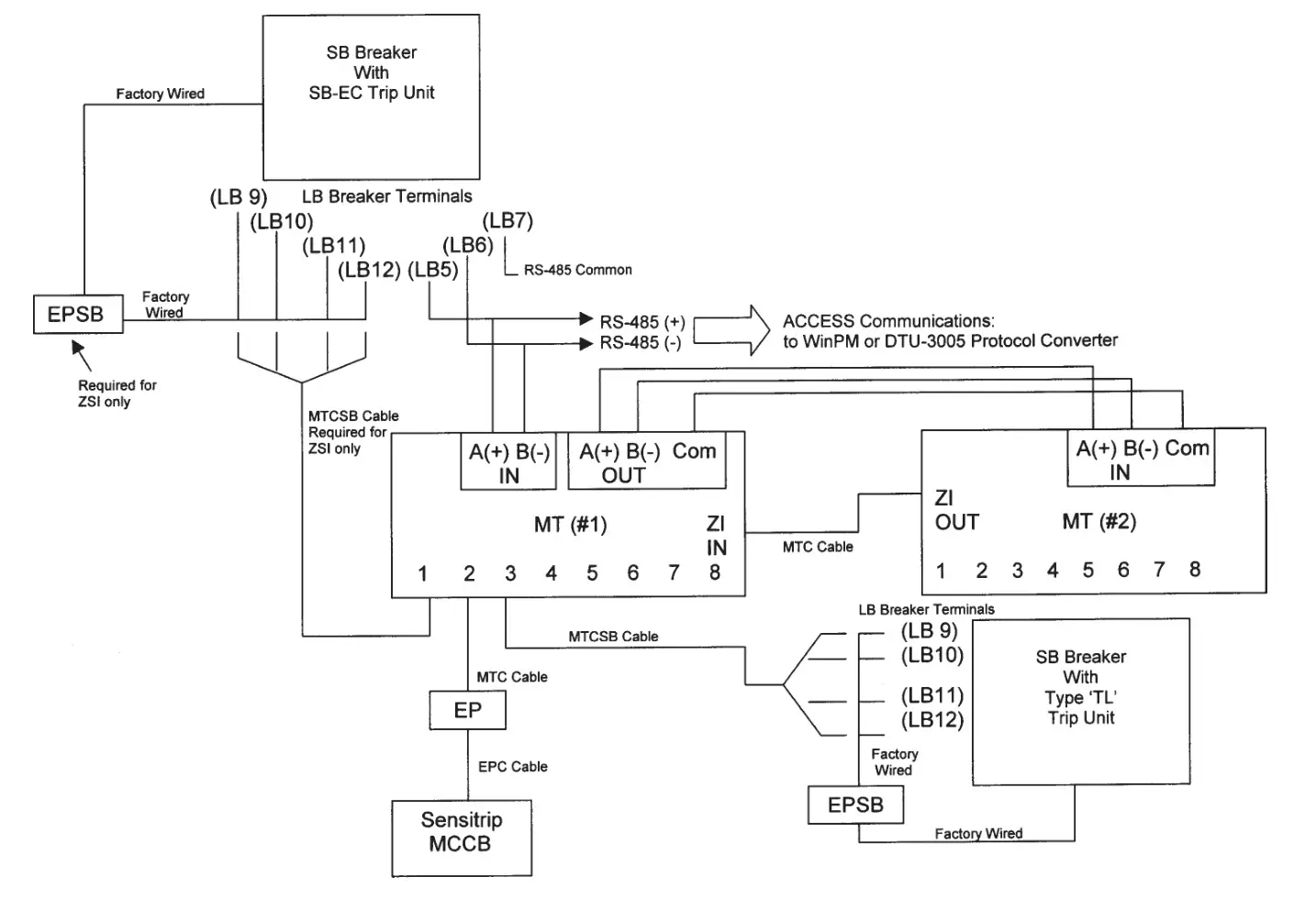
This Instruction Sheet provides the component selection, cabling and interconnect information to configure Siemens Sensitrip MCCB and SB Systems Breaker ICCB’s in either a Zone Selective Interlocking (ZSI) network or in an ACCESS TM communications system. Installed ICCB SB breakers without communication capability may be field upgraded by Siemens Field Service personnel only. MCCB breakers may be field upgraded by Siemens Field Service or the end user. Refer to Figure 1 for a diagram of the possible interconnect schemes described in the following scenarios.
Referenced Publications
The following publications are referenced in this instruction sheet, with the latest versions obtainable through the local Siemens sales office:
- ACCESS TM Systems Installation Guide [Manual SG-6028-01]
- Isolated Multi-Drop RS-232 to RS-485 Converter, Operator’s Manual [Manual SG-6048-01]
- Multiplexer Translator (MT), Information and Instruction Guide [Bulletin 2.21-1A]
- Expansion Plug for Siemens Multiplexer Translator, Information and Instruction Sheet [Bulletin 2.21-2A]
- Electronic Trip Unit for SB Encased Systems Breakers, Information and Instruction Guide [Bulletin 2.20-3A]
- Sentron Systems Breaker, Energy Communicating Trip Unit, Information and Instruction Guide [Bulletin IPIM2208]
Referenced Components
The following components are referenced in this instruction sheet, with the latest versions obtainable through the local Siemens sales office:
- Siemens MTZ (Multiplexer Translator, Zone Interlock) [Cat. No. MTZ] a microprocessor-based device required for configuring and controlling a Zone Selective Interlocking (ZSI) network of up to eight (8) Sensitrip or SB circuit breakers; multiple MTs may be interconnected for a total of 31 MT’s and 248 breakers.
- Siemens MTA (Multiplexer Translator, ACCESS) [Cat. No. MTA] a microprocessor-based device for configuring and controlling up to eight (8) Sensitrip MCCB’s and/or SB Trip Units within an ACCESS Communications System; multiple MTs may be interconnected for a total of 31 MTs and 248 breakers. The MTA also provides Zone Selective Interlocking capability. Note: the SB-EC trip unit is direct ACCESS compatible but requires an MTZ or MTA for ZSI capability.
- Siemens type EP (Expansion Plug) – an isolation device to connect Sensitrip MCCB’s and SB trip units to an MTA or MTZ. One (1) per trip unit when required.

➀ Factory wired when ACCESS communications or ZSI is ordered for the SB breaker from the factory.
- Siemens EPC Ribbon Cable [Cat. No. EPC## (where: ## = 08, 12, or 18 inches)] a 16-conductor cable used to connect the Sensitrip MCCB to an EP; qty. of 1 per trip unit. Order longest standard length when unsure of application.
- Siemens MTC 4-Wire Telephone Cable [Cat No. MTC## (where: ## = 08, 15, 25 or 50 feet)] a 4-conductor phone cable, with a male RJ11 connector on each end, to connect an EP to an MT for Sensitrip MCCB applications or to connect adjacent MTs together. MTC cables may be special ordered in alternate lengths up to 100 feet. Order longest standard length when unsure of application.
- Siemens MTCSB 4-Wire to RJ11 Cable [Cat. No. MTCSB## (where: ## = 8, 15, 25 or 50 feet)] a 4-conductor phone cable with a male RJ11 connector on one end and 4 spade lugs on the other end; used with SB Trip Units with rear connected, factory installed EPSB expansion plugs; Used to connect an MT to the factory installed EPSB expansion plug via the SB breaker secondary terminals or sliding disconnects. MTCSB cables may be special ordered in alternate lengths up to 100 feet. Order longest standard length when unsure of application.
- Siemens Isolated Multi-Drop Converter [Cat. No. 18-658-852-537] an optional device used to convert four (4) RS-485 communications loops to one (1) RS-232 port for host PC communications.
Sensitrip MCCB Breakers
All Siemens Sensitrip Molded Case Circuit Breakers have the capability to function in both a ZSI network and within an ACCESS TM communications system. A separate device, the Siemens Multiplexer Translator, enables up to eight (8) breakers to communicate in either a ZSI-only scheme (via an MTZ), or in an ACCESS TM communications system (via an MTA) plus ZSI capability. The following scenarios describe the steps and accessories required to configure these types of systems:
A. Sensitrip MCCB Zone Selective Interlocking (only)
Components Required:
- Siemens MTZ – one per 8 trip units
- Siemens EP expansion plug – one per trip unit
- Siemens type EPC cable – one per trip unit
- Siemens type MTC cable – one per trip unit
Installation:
- Connect an EPC ribbon cable from the front of the Sensitrip Trip Unit’s Test Connector to an EP; note that the connector is keyed, so that it can only be inserted one way.
- Based on the site’s coordination study, configure the EP’s DIP switches for Short Time and/or Ground Fault ZSI per the EP Information and Instruction Sheet.
- Connect an MTC cable from the EP to one of eight MTZ communication ports.
- Configure the MTZ’s DIP switches to identify the zones for each breaker, per the site’s coordination study and the MTZ instruction sheet.
- If multiple MT’s are used, the Com terminal from the first MT’s SEABus Out port must be connected to the Com terminal of the next MT’s SEABus In port on each MT being used.
- See figure 1 for system connection diagram.
B. Sensitrip MCCB ACCESS Communications (with or without Zone Interlocking)
Components Required:
- Siemens MTA – one per 8 trip units
- Siemens EP expansion plug – one per trip unit
- Siemens type EPC cable – one per trip unit
- Siemens type MTC cable one per trip unit
Installation:
- Connect an EPC ribbon cable from the front of the Sensitrip Trip Unit’s Test Connector to an EP¡ note that the connector is keyed, so that it can only be inserted one
- If ZSI is required, configure per the site’s coordination study, and configure the EP’s DIP switches for Short Time and/or Ground Fault ZSI per the EP Information and Instruction Sheet. If ZSI is not required, adjust the EP’s DIP switches to ‘NO ZONE’ (0000).
- Connect an MTC cable from the EP to one of eight MTA communication
- If ZSI functionality is additionally required, per the site’s coordination study, configure the MTA to identify the zones for each breaker according to the MTA’s instruction sheet. If multiple MT’s are used, the “Com” terminal from the first MT’s “SEABus Out” port must be connected to the “Com” terminal of the next MT’s “SEABus In” port on each MT being
- If ZSI is not required, set the MTA’s Device Configuration DIP switches to ‘NO ZONE’ (00) and the MTA’s Device Type DIP switch to ‘MCCB/ICCB’ (0001).
- Connect RS-485 twisted pair communication cable to the MTA’s A(+), B(-) terminals and only one end of the cable’s shield to the MT’s GND Configure the ACCESS system network, per Installing ACCESS System manual. An Isolated Multidrop Converter may be installed as an option. See figure 1 for system connection diagram.
SB System Breakers
The following sections describe both types of SB trip units, the standard Type ‘TL’ unit with rotary switches, and the SB Energy-Comm (SB-EC) Trip Unit with keypad and display. Since the SB-EC Trip Unit has integral communications capability, the MTA device is not required to connect within an ACCESS system, however for SB-EC Trip Units in a ZSI system, an MTZ or MTA is required.
The type EPSB expansion plug is factory wired to the SB breaker trip unit’s rear connector and also located near and wired to the SB breaker’s secondary terminal block for fixed mount breakers or sliding disconnects for drawout breakers. These connections are factory wired when the SB breaker is ordered with the standard switch based type ‘TL’ trip unit for ACCESS communications or for any trip unit with ZSI capability.
Installed ICCB SB breakers without communication capability may be field upgraded for communication capability by Siemens Field Service personnel only
The MTCSB cable is used to connect an MTA or MTZ to an EPSB expansion plug via the SB breaker secondary terminal block or sliding disconnect.
A. SB Breaker Zone Selective Interlocking (only)
1. All SB Breaker Trip Units
Components Required:
- Siemens type MTZ – one per 8 trip units
- Siemens type EPSB expansion plug – one per trip unit, factory wired
- Siemens type MTCSB cable one per trip unit
Installation:
- Mhen the factory-installed ZSI option is present, the EPSB expansion plug is already wired to the breaker and secondary control terminals. Connect an MTCSB cable’s spade lugs from the appropriate SB breaker’s secondary terminals (LB9, 10, 11, & 12) to one of eight communication inputs on the MTZ.
- If multiple MT’s are used, the “Com” terminal from the first MT’s “SEABus Out” port must be connected to the “Com” terminal of the next MT’s “SEABus In” port on each MT being
- Based on the site’s coordination study, configure the expansion plug’s DIP switches for Short Time and/or Ground Fault ZSI per the EP Information and Instruction
- Configure the MTZ to identify the zones for each breaker, per the site’s coordination study and information and instruction sheet. Refer to figure 1 for system connections
B. SB Breaker ACCESS Communications (with or without Zone Interlocking)
1. Standard type ‘TL´ switch-based trip unit
Components Required:
- Siemens type MTA – one per 8 trip units
- Siemens type EPSB expansion plug – one per trip unit, factory wired
- Siemens type MTCSB cable one per trip unit
Installation:
- Mhen the factory-installed ACCESS communications option is present, the EPSB expansion plug is already wired to the breaker and secondary control Connect an MTCSB cable’s spade lugs to the appropriate SB breaker’s secondary terminals (LB9, 10, 11, & 12) then to one of eight communication inputs on the MTA.
- If ZSI functionality is additionally required, per the site’s coordination study, configure the expansion plug’s DIP switches for Short Time and/or Ground Fault ZSI per the expansion plug’s Information and Instruction Sheet. Configure the MTA to identify the zones for each breaker, per the site’s coordination study and the MTA’s instruction
- If multiple MT’s are used, the “Com” terminal from the first MT’s “SEABus Out” port must be connected to the “Com” terminal of the next MT’s “SEABus In” port on each MT being
- If ZSI is not required, set the expansion plug’s DIP switches to NO ZONE (0000), the MTA’s Device Configuration DIP switches to NO ZONE (00) and the Device Type MTA’s DIP switch to MCCB/ICCB (0001).
- Connect RS-485 twisted pair communication cable to the MTA’s A(+) and B(-) terminals. Connect only. one end of the cable’s shield to the MT’s GND terminal. Configure the ACCESS system network, per Installing ACCESS System An Isolated Multidrop Converter may be installed as an option. See figure 1 for system connection diagram.
2. SB-EC Trip unit
Since the SB-EC Trip Unit has direct communications with an ACCESS network, no intermediate devices are required unless ZSI functionality is required.
If ZSI is required, connect as per above using an MTA if type ‘TL’ SB breaker trip units or Sensitrip MCCB trip units are part of the overall system and both ACCESS communications and ZSI are required.
Any application requiring only ZSI requires an MTZ configured as above.
If multiple MT’s are used for ZSI functionality, the “Com” terminal from the first MT’s “SEABus Out” port must be connected to the “Com” terminal of the next MT’s “SEABus In” port on each MT being used.
As referenced in the SB-EC Trip Unit Information and Instruction Manual, the trip unit’s ACCESS communication lines are located on the breakers secondary control terminals <LB5> to RS485(+), <LB6> to RS-485(-), and <LB7> to Shield/Common. Refer to figure 1 for system connection diagram.
Summary
The following table summarizes the required Component Types per each trip unit in the system. One component per trip unit unless otherwise noted:
Component Selection Guide ➀

➀ When ordered with circuit breaker from the factory.
➁ One MTA or MTZ per eight trip units when required.
➂ Always required when multiple MT’s are used. One additional cable per each additional MT.
Notes:
- It is recommended that for long, single-ended runs (over 1000 ft.), that a 120 ohm, 1/4 watt terminating resistor between the Data+ and Data- terminals of the furthest devices be added. Adding a terminator resistor is not an absolute requirement, but using it will minimize reflected interference on the communication bus.
- Both loop and straight RS-485 topologies are acceptable. The advantage of the straight topology is further distance to the last device (4000 ft.) The advantage to the loop topology is that the devices will continue to communicate even with a break in the line. The disadvantage of the loop topology is the distance to the furthest device is only 2000 ft.
- A Siemens Isolated Multi-Drop Converter [Cat. No. 18-658-852-537] may be used as an optional device used to convert four (4) RS-485 communications loops to one (1) RS-232 port for host PC communications.
- Protocol converters are available from the Siemens ACCESS group to provide plug-and-play capability with over 25 different PLC protocols (Siemens S7, Modbus, etc.), Profibus, DeviceNet, and LonMorks.
- If multiple MT’s are used for ZSI applications, the “Com” terminal from the first MT’s “SEABus Out” port must be connected to the “Com” terminal of the next MT’s “SEABus In” port on each MT being used.
- Installed ICCB SB breakers without communication capability may be field upgraded by Siemens Field Service personnel only. MCCB breakers may be field upgraded by Siemens Field Service or the end user.
- Refer to Installing the ACCESSä System Installation Guide [Manual SG-6028-01] for proper system shield and grounding connections schemes.
Figure 1 – System Connection Diagram

Released Production, 2P v1, Jan 13, 2000


















