CP600LCD Intelligent LCD UPS System
Instruction Manual
Battery Replacement Instructions
CyberPower encourages environmentally sound methods for disposal and recycling of its UPS and batteries. Please dispose of and/or recycle your UPS and batteries in accordance to the local regulations of your state.
IMPORTANT SAFETY INSTRUCTIONS
Read and follow the important safety instructions before servicing the batteries. Visit CyberPower official website www.cyberpower.com or contact your dealer for more information on battery replacement.
CAUTION! Use only the specified CyberPower replacement battery, or battery pack.
CUTION! Do not dispose of batteries in a fire. The batteries may explode.
CAUTION! Do not open or mutilate batteries. Released material is harmful to the skin and eyes. It may be toxic.
Take the following precautions before replacing the battery:
- Remove watches, rings, or other metal objects.
- Use tools with insulated handles.
- Wear rubber gloves and boots.
- Do not lay tools or metal parts on top of batteries.
- Determine if battery is inadvertently grounded. If inadvertently grounded, remove source from ground.
CONTACT WITH ANY PART OF A GROUNDED BATTERY CAN RESULT IN ELECTRICAL SHOCK. The likelihood of such shock can be reduced if such grounds are removed during installation and maintenance (applicable to equipment and remote battery supplies not having a grounded supply circuit).
Intelligent LCD Series, AVR Series
MODEL: CP600LCD, CP825LCD, CP800AVR, CP685AVR-G, CP825AVR-G, CP685AVRLCD-G, CP825AVRLCD-G, AVRG750U, AVRG900U, AVRG750LCD, AVRG900LCD

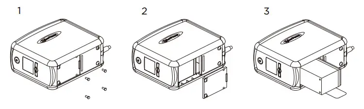
- Place the UPS on its top and remove the retaining screw (figure 1).
- Slide the battery compartment cover completely off of the unit (figure 2).
- Remove the battery from the compartment and disconnect the battery wires from the battery. Install the replacement battery by connecting the red wire to the positive (+) terminal and the black wire to the negative (-) terminal of the battery. (figure 3)
- Slide the battery compartment cover over the battery and tighten the retaining screw.
- Charge the unit for 4–8 hours to ensure the UPS performs expected runtimes.
MODEL: CP850AVRLCD, CP1000AVRLCD

- Place the UPS on its side and locate the battery compartment cover on the bottom of the UPS. Remove the four (4) retaining screws and pull the battery compartment cover off the UPS (figure 1 & 2).
- Remove the battery from the compartment and disconnect the battery wires from the batteries. Install the replacement batteries by connecting the red wire and black wire to the same color wires from the battery pack. Put the battery pack into the compartment(figure 3).
- Slide the battery compartment cover over the battery and tighten the retaining screw. Charge the unit for 4–8 hours to ensure the UPS performs expected runtimes.
Standby Series
MODEL: RT650, RT650EI

- Place the UPS on its side and remove the retaining screw.
- Slide the battery compartment cover completely off of the unit.
- Remove the battery from the compartment and disconnect the battery wires from the battery.
- Install the replacement battery by connecting the red wire and black wire to the positive (+) and negative (-) terminal of the battery. Put the battery back into the compartment.
- Slide back the battery compartment cover and tighten the retaining screw.
- Charge the unit for 8 hours to ensure the UPS performs expected runtimes.
AVR Series
MODEL: BRG850AVRLCD, BRG1000AVRLCD, CP850AVRLCDa, CP1000AVRLCDa

- Place the UPS on its side.
- Remove the front panel retaining screws located on the bottom of the UPS.
- Slide the battery compartment cover (front panel) completely off of the unit.
- Disconnect the battery wires from the battery and remove the battery from the compartment.
- Install the replacement battery by connecting the red wire (+) and black wire (-) to the same color connectors from the battery pack. Put the battery back into the compartment.
- Slide back the battery compartment cover and tighten the retaining screws.
- Charge the UPS for 8-16 hours to ensure the UPS performs expected runtimes.
MODEL: BRG1350AVRLCD, BRG1500AVRLCD, CP1500AVRLCDa
- Place the UPS on its side.
- Remove the front panel retaining screws located on the bottom of the UPS.
- Slide the battery compartment cover (front panel) completely off of the unit.
- Disconnect the battery wires from the batteries and remove the batteries from the compartment.
- Install the replacement batteries by connecting the red wire (+) and black wire (-) to the same color connectors from both the upper and lower battery pack. Put the batteries back into the compartment.
Note: Make sure both batteries are new and replaced at the same time to ensure maximum battery lifespan. - Slide back the battery compartment cover and tighten the retaining screws.
- Charge the UPS for 8-16 hours to ensure the UPS performs expected runtimes.
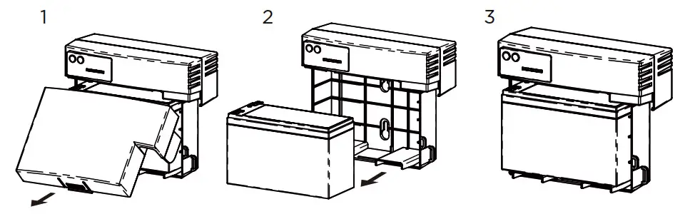
MODEL: CP900AVR, CP1200AVR, CP1500AVRT, CP1285AVRLCD, CP1350AVRLCD, CP1500AVRLCD

- Place the UPS on its side to locate and remove the front panel retaining screw from the bottom of the UPS.
- Slide the cover (front panel) towards the bottom of the UPS.
- Detach the cover from the unit.
- Disconnect the cable located at the top of the cover and remove the cover from the unit.
- Disconnect the battery wires from the batteries.
- Remove the batteries from the compartment.
- Install the replacement batteries by connecting the red and black wires to the same color wires from the battery pack. Put the battery pack back into the compartment.
- Replace the battery compartment cover and tighten the retaining screw.
- Charge the unit for 4-8 hours to ensure the UPS performs expected runtimes.
MODEL: CP900AVRa, CP1200AVRa, CP1350AVRLCDa, CP1500AVRTa, LX1100G, LX1325GU, LX1500GU, CST135XLU, CST150XLU

- Place the UPS on its side and remove the two retaining screws located on the bottom of the UPS.
- Slide the battery compartment cover completely off the unit.
- Remove the battery which is located on the right side from the compartment and disconnect the battery wires from the right side of the battery.
- Slide the remaining battery from the left side to the right side of the compartment.
- Remove the remaining battery from the compartment and disconnect the battery wires from it.
- Install the “left side” replacement battery by connecting the yellow wire (+) to the red connector from the battery and the black wire (-) to the black connector from the battery. Place the battery into the left side of the compartment.
- Install the “right side” replacement battery by connecting the red wire (+) to the red connector from the battery and yellow wire (-) to the black connector from the battery. Place the battery into the right side of the compartment.
Note: Make sure both batteries are new and replaced at the same time to ensure maximum battery lifespan. - Slide back the battery compartment cover and tighten the retaining screws.
- Charge the UPS for 8-16 hours to ensure the UPS performs expected runtimes.
Smart APP Intelligent LCD Series
MODEL: OR500LCDRM1U, OR700LCDRM1U, OR1000LCDRM1UOR1500LCDRM1U
- Remove the right side front panel.
- Remove the three retaining screws for the cable protection cover and remove the cover.
- Disconnect the black and red cable.
- Remove the one retaining screw holding the battery pack in place.
- Remove the battery pack.
- Install the new battery pack. Assemble the screws, cover, cable and front panel in the reverse order of the previous steps. Charge the unit for 4-8 hours to ensure the UPS performs expected runtimes.
MODEL: OR1500LCDRM2U, OR2200LCDRM2U OR1500LCDRTXL2U, OR2200LCDRTXL2U OR1500LCDRT2U, OR2200LCDRT2U
- Remove the right side front panel.
- Remove the three retaining screws for the cable protection cover and remove the cover.
- Remove the two retaining screws from the cable connectors.
- Disconnect the black and red cable.
- Remove the four retaining screws holding the battery pack in place.
- Remove the battery pack.
- Install the new battery pack. Assemble the screws, cover, cable and front panel in the reverse order of the previous steps. Charge the unit for 4-8 hours to ensure the UPS performs expected runtimes.
MODEL: CPS1500AVR

- Remove the right side front panel.
- Remove the two retaining screws for the cable protection cover and remove the cover.
- Disconnect the black and red cable.
- Remove the four retaining screws holding the battery pack in place.
- Remove the battery pack.
- Install the new battery pack. Assemble the screws, cover, cable and front panel in the reverse order of the previous steps. Charge the unit for 4-8 hours to ensure the UPS performs expected runtimes.
Smart APP SINEWAVE Series
MODEL: PR750LCD, PR750 JP
- Remove the front panel of the UPS.
- Pull out both round knobs and remove the battery compartment cover completely off of the unit.
- Remove the batteries from the compartment.
- Disconnect the battery wires from the batteries.
- Install the replacement batteries by connecting the wire bundle (composed of one red wire and one black wire) to the connector from the battery pack. Put the batteries back into the compartment.
- Re-install the battery compartment cover and push both round knobs back into place. Put the front panel back on the UPS.
- Connect to AC power and charge the new batteries for up to 16 hours to insure a full charge.
MODEL: PR1000LCD, PR1000 JP

- Remove the front panel of the UPS.
- Remove two screws from the battery compartment cover and slide the cover completely off of the unit.
- Remove the batteries from the compartment. Disconnect the battery wires from the batteries.
- Install the replacement batteries by connecting the wire bundle (composed of one red wire and one black wire) to the connector from the battery pack.
- Put the batteries back into the compartment. Re-install the battery compartment cover and tighten the retaining screws. Put the front panel back on the UPS.
- Connect to AC power and charge the new batteries for up to 16 hours to insure a full charge.
MODEL: PR1500LCD, PR1500 JP

- Remove the front panel of the UPS.
- Remove two screws from the battery compartment cover and slide the cover completely off of the unit.
- Remove the batteries from the compartment. Disconnect the battery wires from the batteries.
- Install the replacement batteries by connecting the wire bundle (composed of one red wire and one black wire) to the connector from the battery pack.
- Put the batteries back into the compartment. Re-install the battery compartment cover and tighten the retaining screws.
Put the front panel back on the UPS. - Connect to AC power and charge the new batteries for up to 16 hours to insure a full charge.
MODEL: PR2000SL JP, PR3000SL JP, PR2200LCDSL, PR3000LCDSL, PR2200ELCDSL, PR3000ELCDSL, M550L, M750L, M1100XL
- Remove the front panel of the UPS.
- Remove two screws from the battery compartment cover and slide the cover completely off of the unit.
- Remove the batteries from the compartment.
- Disconnect the battery wires from the batteries.
- Install the replace batteries by connecting the red wire (+) and black wire (-) to the same color connectors from the battery pack.
- Put the batteries back into the compartment.
- Re-install the battery compartment cover and tighten the retaining screws.
- Put the front panel back on the UPS.
- Connect to AC power and charge the new batteries for up to 16 hours to insure a full charge.
MODEL: PR2200LCD, PR3000LCD

- Remove the front panel of the UPS and two screws from the battery compartment cover and slide the cover completely off of the unit.
- Pull out the battery pack on the outside from the compartment.
Disconnect the battery connector from the batteries. - Before removing the battery pack on the inside, unlock the cable tie and pull out the battery wires. Disconnect the battery connector from the batteries.
- Install the replacement battery pack on the inside by connecting the wire bundle connector (composed of one red wire and one black wire) to the connector from the battery pack. Lock the battery wires back with the cable tie.
- Install the replacement batteries on the outside by connecting the wire bundle connector (composed of one red wire and one black wire) to the connector from the battery pack. Put the battery pack on the outside back into the compartment.
- Re-install the battery compartment cover and tighten the retaining screws and put the front panel back on the UPS.
- Connect to AC power and charge the new batteries for up to 16 hours to insure a full charge.
Note: The battery pack on the outside has a fuse, while the battery pack on the inside does not.
MODEL: PR750LCDRM1U, PR1000LCDRM1U

- Remove the right side front panel.
- Remove the two retaining screws for the cable protection coverand remove the cover.
- Disconnect the black and red cable.
- Remove the one retaining screw holding the battery pack in place.
- Remove the battery pack.
- Install the new battery pack. Assemble the screws, cover, cable and front panel in the reverse sequence of the above steps.
Charge the unit for 4-8 hours to ensure the UPS performs expected runtimes.
MODEL: PR1000LCDRT2U, PR1000LCDRTXL2U, PR1500LCDRT2U, PR2200LCDRT2U, PR3000SWRM2U

- Remove the right side front panel.
- Remove the two screws for the cable protection cover.
- Disconnect the red and black cables.
- Remove the four retaining screws holding the battery pack in place5. Remove the battery pack.
- Install the new battery pack. Assemble the screws, cover, cable and front panel in the reverse order of the previous steps. Charge the unit for 4-8 hours to ensure the UPS performs expected runtimes.
MODEL: PR1000LCDRTXL2Ua, PR1500LCDRTXL2U, PR2200LCDRTXL2U, PR3000LCDRT2U, PR3000LCDRTXL2U

- Remove the six retaining screws, and remove the front panel from the UPS.
- Remove the two retaining screws for the cable protection cover and remove the cover.
- Remove the two retaining screws from the cable connectors.
- Disconnect the black and red cable.
- Remove the three retaining screws holding the battery pack in place.
- Remove the battery pack.
- Install the new battery pack. Assemble the screws, cover, cable and front panel in the reverse order of the previous steps. Charge the unit for 4-8 hours to ensure the UPS performs expected runtimes.
MODEL: PR5000LCDRTXL5U, PR6000LCDRTXL5U

- Remove the front panel.
- Remove the two retaining screws of the cable protection cover and remove the cover.
- Pull the plastic sticker out slowly to remove the battery module.
- Put the new battery modules back into the compartment.
- Tighten the screws and replace the cable protection cover and the front panel.
MODEL: PR500LCDRT1U, PR750LCDRT1U, PR1000LCDRT1U, PR1000LCDRT1U JP

- Remove the two screws and remove the right panel.
- Disconnect the battery connector.
- Remove the two retaining screws and remove the battery cover. Install new battery pack. Assemble the screws, cover, connector and front panel in the reverse order of previous steps. Charge the unit for at least 12 hours to fully charge the battery.
MODEL: MODEL: PR750RT2U, PR1000RT2U, PR1500RT2U, PR2000RT2U, PR2200RT2U, PR3000RT2U, PR750RTXL2U, PR1000RTXL2U, PR1500RTXL2U, PR2000RTXL2U, PR2200RTXL2U, PR3000RTXL2U, PR2200RTXL2UA, PR3000RTXL2UA, PR2200RTXL2UHVA, PR3000RTXL2UHVA, PR750ERT2U, PR1000ERT2U, PR1500ERT2U, PR2000ERT2U, PR2200ERT2U, PR3000ERT2U, PR750ERTXL2U, PR1000ERTXL2U, PR1500ERTXL2U, PR2000ERTXL2U, PR2200ERTXL2U, PR3000ERTXL2U, PR2200ERTXL2UA, PR3000ERTXL2UA

- Remove the faceplate and unscrew the thumbscrews on toolless battery access door and then open the door.
Note: The thumbscrews are designed to be fixed on the door, do not remove them from the metal cover. - Disconnect the battery and battery management module connector and remove the battery pack.
- Insert the new battery pack. Assemble the connectors, thumbscrews and faceplate. Recharge the unit for at least 12 hours to ensure the UPS performs expected runtime.
Reminder: Battery Change Date is optional setup information for users to record the installation date of battery pack. It can be adjusted through LCD module in Advanced Setup Menu or through software.
PFC SINEWAVE Series
MODEL: OR750PFCLCD, OR1000PFCLCD, OR1500PFCLCD
- Remove the front panel of the UPS.
- Remove two screws from the battery compartment cover and slide the cover completely off of the unit.
- Remove the batteries from the compartment.
- Disconnect the battery wires from the batteries.
- Install the replacement batteries by connecting the red wire (+) and black wire (-) to the same color connectors from the battery pack.
- Put the batteries back into the compartment.
- Re-install the battery compartment cover and tighten the retaining screws.
- Put the front panel back on the UPS.
- Connect to AC power and charge the new batteries for up to 16 hours to insure a full charge.
MODEL: OR1000PFCRT2U, OR1500PFCRT2U, OR2200PFCRT2U

- Remove the right side front panel.
- Remove the three retaining screws for the cable protection cover and remove the cover.
- Remove the two retaining screws from the cable connectors.
- Disconnect the black and red cable.
- Remove the four retaining screws holding the battery pack in place.
- Remove the battery pack.
- Install the new battery pack. Assemble the screws, cover, cable and front panel in the reverse order of the previous steps. Charge the unit for 4-8 hours to ensure the UPS performs expected runtimes.
MODEL: CP850PFCLCD, CP1000PFCLCD

- Turn the UPS on its side. Remove the retaining screw located on the bottom of the UPS.
- Slide the battery compartment cover completely off of the unit.
- Remove the batteries from the compartment.
- Disconnect the battery wires from the batteries.
- Install the replacement batteries by connecting the red wire (+) and black wire (-) to the same color connectors from the battery pack. Put the batteries back into the compartment.
- Slide back the battery compartment cover and tighten the retaining screw. Recharge the UPS for 8-16 hours to fully charge the battery.
MODEL: CP1350PFCLCD

- Turn the UPS on its side. Remove the front panel retaining screws located on the bottom of the UPS.
- Slide the battery compartment cover (front panel) completely of the unit.
- Remove the batteries from the compartment.
- Disconnect the battery wires from the batteries.
- Install the replacement batteries by connecting the red wire (+) and black wire (-) to the same color connectors from the battery pack. Put the batteries back into the compartment.
- Slide back the battery compartment cover and tighten the retaining screws. Recharge the UPS for 8-16 hours to fully charge the battery.
MODEL: CP1500PFCLCD

- Turn the UPS on its side. Remove the front panel retaining screws located on the bottom of the UPS.
- Slide the battery compartment cover (front panel) completely of the unit.
- Remove the batteries from the compartment.
- Disconnect the battery wires from the batteries.
- Install the replacement batteries by connecting the wire bundle (composed of one red wire and one black wire) to the connector from the battery pack. Put the batteries back into the compartment.
- Slide back the battery compartment cover and tighten the retaining screws. Recharge the UPS for 8-16 hours to fully charge the battery.
FTTx Series
MODEL: CSN27U12V-NA2, CSN27U12V-NA3, CSN27U12V-NA3-G, CSN27U12V-XL

- Remove the battery cover.
- Disconnect battery cable connector to remove battery.
- Replace with new battery and re-connect the battery connector.
- Make sure battery is fixed properly in the compartment and close the battery cover.
MODEL: DTC36U12V-NA3-G

- Slide off the battery cover at the back of the DTC36U12V unit.
- Remove the battery from the enclosure.
- Disconnect both battery cable connectors.
- Install the new battery by connecting the red lead to the positive terminal and the black lead to the negative terminal.
- Slide the battery back into the normal operation.
- Replace battery cover to resume normal operation.
MODEL: CS24C12V2-E

- Remove the case screw.
- Open the battery cover.
- Loosen the battery strap.
- Disconnect battery cable connector to remove battery.
- Replace with new battery and re-connect the battery connector.
- Tighten the battery strip
- Close the battery cover and tighten the case screw.
Extended Battery Modules
MODEL: BP48V45ART2U, BP48V75ART2U

- Remove the front panel on the right side.
- Remove the front panel on the left side.
- Disconnect the black and red wire from the battery.
- Remove the cover and then remove the eight retaining screws.
- Pull out the old battery packs and replace them with the new ones. Recharge the unit for at least 12 hours to ensure the Extended Battery Module performs expected runtime and then connect the Extended Battery Module to your UPS.
Reminder: Check and modify the Extended Battery Module Quantity setting on your UPS through the LCD module, PowerPanel® Business software or RMCARD interface (if installed) to ensure the UPS reports an accurate runtime.
MODEL: BP48VP2U01, BP48VP2U02, BP48VP2U03, BP48VP2U04

- Disconnect the Extended Battery Module from your UPS, remove the faceplate and unscrew the screws on battery cover and then remove the battery cover.
- Disconnect the battery and battery management module connector.
- Insert the new battery pack. Assemble the connectors, screws, battery cover and faceplate. Recharge the unit for at least 12 hours to ensure the Extended Battery Module performs expected runtime and then connect the Extended Battery Module to your UPS.
Reminder: Check and modify the Extended Battery Module Quantity setting on your UPS through the LCD module, PowerPanel® Business software or RMCARD interface (if installed) to ensure the UPS reports an accurate runtime.
Cyber Power Systems, Inc.
www.cyberpower.com
For USA and Canada:
4241 12th Ave East, Suite 400
Shakopee, MN 55379
Toll-free: (877) 297-6937
For all other regions:
Please visit our website for local contact information.
















