TownSteel LM1 Single or Double Cylinder Deadbolts Instruction Manual

INSTRUCTIONS FOR INSTALLATION OF SINGLE OR DOUBLECYLINDER DEADBOLTS AND THE REPLACEMENT OF EXISTING LOCKS FOR USE ON DOOR THICK 1-9/16″ TO 2″ (40mm-51mm) TOOLS REQUIRED FOR NEW CONSTRUCTION:
1 philips head screwdriver 1 2-1/8″ (54mm) hole saw 1 1″ (25mm) drill & 1 chisel
TOOLS REQUIRED FOR REPLACEMENT: 1 philips head screwdriver
- MARK DOOR

NOTE: BACKSET ON DOOR FACE MUST BE SAME AS BACKSET OF YOUR LOCK.
a. Fold and apply template on high edge of door bevel and mark center of door edge as indicated on template at the desired height from the floor.
b. Mark center hole on door face through guide on template for either 2-3/8″ or 2-3/4″ (60mm or 70mm) backset. - DRILL HOLES

- INSTALL LATCH

Insert latch in hole, mark outline of faceplate and remove latch
Chisel 1/8″ (3mm) deep or until faceplate flush with door edge.
Insert latch and tighten screw - INSTALL STRIKE BOX & STRIKE

Close door to mark horizontal center line of strike.
Measure one half of door thickness from door stop and vertically mark center line f strike. Drill aperture which is same with strike box 1-9/64″ (29mm) deep at inter
section of horizontal and vertical center line of strike. Match screw hole on strike with center lines on jamb. Mark outline and chisel 9/32″ (7mm) deep for strike.
Install strike box and strike and tighten screws - INSTALL SINGLE CYLINDER
INSTALL EXTERIOR MECHANISMSINGLE CYLINDER

INSTALL INTERIOR MECHANISMSINGLE CYLINDER

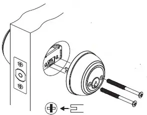
To get rose plate aim at torque blade, put into the door. Then use the screw to tighten. And join rose, put back asher. Finally use wrench to set up turn piece.
6. INSTALL DOUBLE CYLINDER


against door. Exterior torque blade should be horizontally inserted into latch crank first
INSTALL INTERIOR CYLINDERDOUBLE CYLINDER

Press interior assembly flush against door, making certain the torque blade is properly positioned in latch crank. Key hole should be in down position. The interior
torque blade is inserted into the exterior blade.
Insert two screws through countersunk holes engaging
holes in exterior cylinder and tighten firmly.


























