SPC-814E Series Pneumatic Pad Printer with Sealed Ink Cup
Ever Bright Printing Machine Ft. Ltd.
Operation Instructions
General Description
Pad printers with sealed ink cups are product series elaborately made by Ever Bright based on years of production experience and the development trend of pad printers.
On this pad printer series, a sealed ink cup is used to contain ink instead of the traditional open ink tray, and a ceramic ring is fixed on the ink cup to replace the old doctor’s blade. Therefore, pad printers with sealed ink cups can effectively avoid ink evaporation and color leakage, which not only does good to waste reduction but also for environmental protection. This manual is specially compiled to help users master the operating method correctly.
Model Tag and Technical Data
- Model Indication

- Technical Data
Model Steel plate size mm Ink cup size mm Max. printing speed pcs/hr Air Consumption
L/min (6 bar)Wattage 60/50Hz V Dimensions
L x W x H mmWt. kg SPC-814E 100 X 230 4) 90 1800 50 110/220
50W580 x 360 x 1270 68 SPC-814TE 100 X 230 (1) 90 1800 50 110/220
50W580 x 526 x 1270 71 SPC-824SE 100 X 230 4) 90 1300 53 110/220
50W580 x 526 x 1270 73
Working Principle
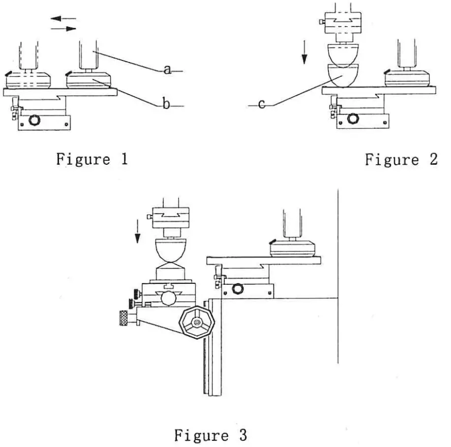
The working principle of pad printing is the method of transfer printing. And it can be divided into 4 motions:
- ink applying: to apply ink to steel plate as shown in Figure 1;
- ink scraping: to scrape redundant ink from the surface of steel plate as shown in Figure 1;
- inking: to transfer ink on steel plate image to pad as in Figure 2;
- pad printing: to transfer ink (image) on the pad to substrate as in Figure 3.
For pad printers with ink cups, the motions of ink applying and scraping are done simultaneously.
Figure 1: Ink cup “b” finishes the motions of ink applying & scraping led by ink cup fixing plate “a”;
Figure 2: Pad “c” moves down and finishes the motion of inking thrust by pad cylinder;
Figure 3: After inking, the pad is thrust first horizontally over the substrate by a horizontal cylinder, then vertically onto the right surface of the substrate by the pad cylinder. Thus ink on the pad (image) is transferred onto the surface of the substrate.

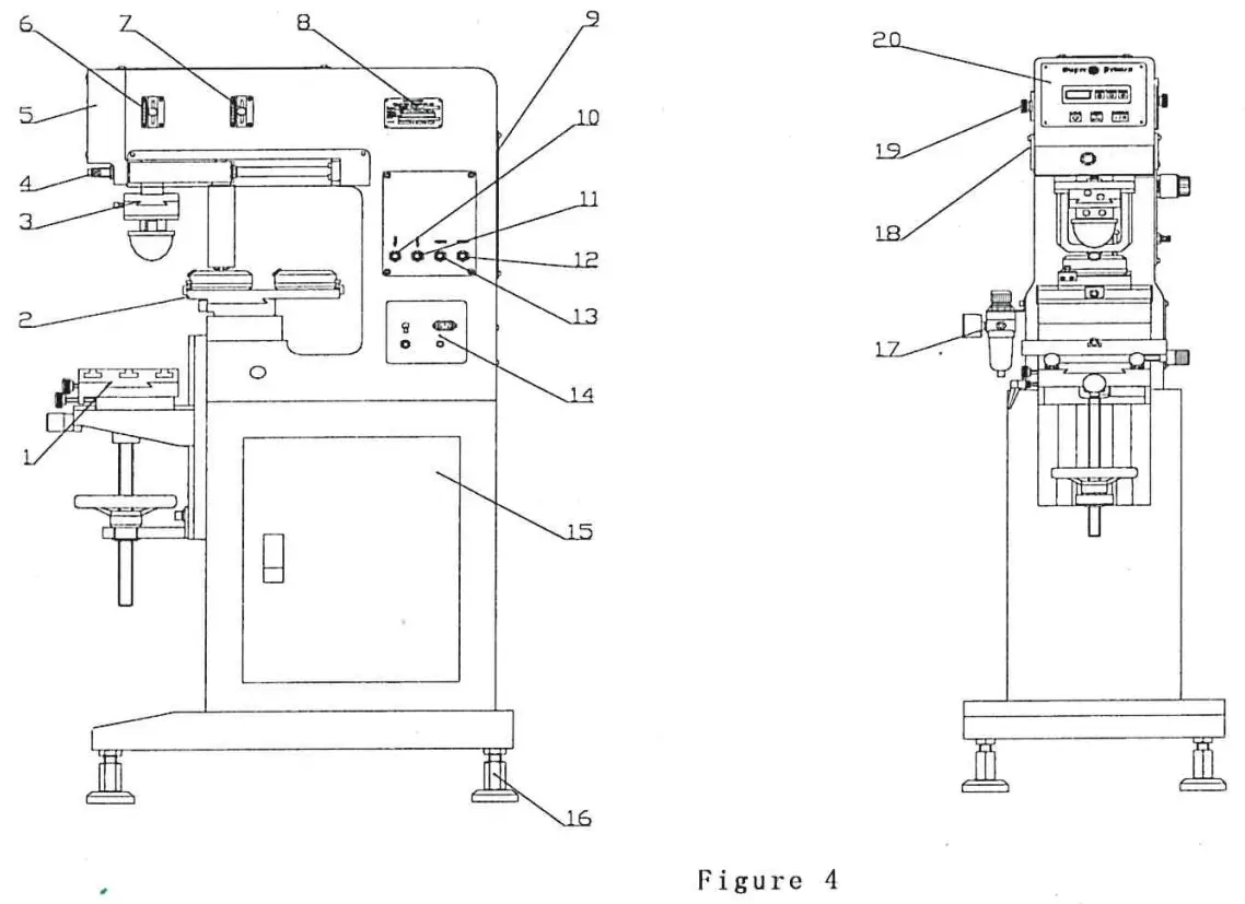
| 1. worktable assembly 2. ink cup assembly 3. pad assembly 4. hydraulic cushion 5. machine head 6. pad printing stroke adjusting knob 7. pad inking stroke adjusting knob 8. name brand 9. back lid stroke 10. pad cylinder downward control valve | 11. pad cylinder upward control valve 12. horizontal cylinder backward control valve 13. horizontal cylinder forward control valve 14. power socket 15. base 16. machine foot 17. air regulator assembly 18. safety guard 19. fine adjustment knob for scraper scraping 20. control panel |
Worktable
There are two types of worktable for the SPC-814E series to meet different printing requirements.
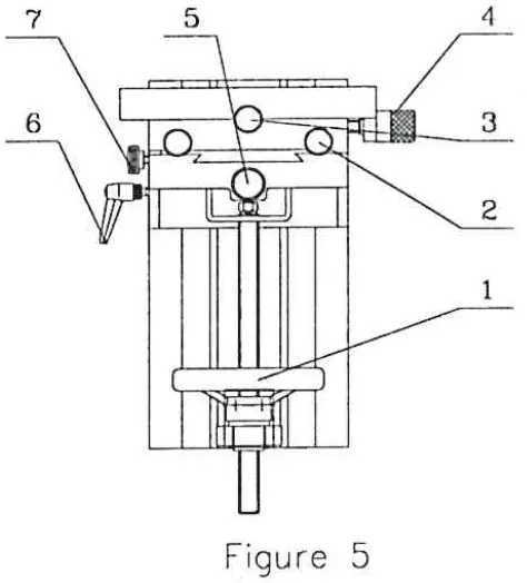
(-). Single color(SPC-814E).(see figure 5). This is the basic type and the shuttle worktable was developed from it. The single-color worktable is as figure 3:
- hand wheel: to adjust the worktable up-down position.
- knob: worktable fine turn adjustment
- knob: knob: worktable left-right position
- knob: to adjust the worktable front-back position
- knob: to adjust the worktable left-right position
- knob: worktable up-down move lock
- knob: worktable forth-back move lock
(
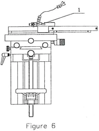
). 2-Color left-right shuttle type(SPC-824SE).(see figure 6).
The 2-color left-right shuttle is a component of a 1-color worktable plus a shuttle table.
- shuttle table

Control Panel
The control panels for the pad printer include 2 types: 1-color and 2-color with the shuttle.
(1).1-color such as SPC-814E(see figure 7)
SLIDE: to move the pad holder forward/backward. Push it, you can make the pad stop at the front or back. SLIDE+PAD→ auto running.
Generally, the SLIDE should be pushed after starting to stir the ink.
PAD: lower down the pad. When SLDE stops at the front or back, push this button, and the pad will try printing.
STOP/START: to be used for auto control. If you push this button when the machine is down, you will start auto operation; under
SLIDE, the machine will change to run automatically and under auto running, the printing will stop.
The function of the pedal switch is the same as that of the STOP/START FAST/LOW: speed (time delay) adjustment
- mode selection
Push “DUAL.” to illuminate first when the electricity is switched on, then push “+” “-” to select the needed program mode, (Display PF## when adjusting), then push “DUAL” to extinguish, the PF## is changed to PP## at the moment, the selected mode is stored.
1-color pad printer has four modes:PP 01 1-color PP02 1-color, inking twice PP 03 1-color, 1-cycle PP 04 1-color, inking twice, 1-cycle - Speed can be adjusted when the machine is down or running automatically. It is divided into 9 grades, from 1-9. “9” means the fastest, and the time delay for it is “0”. “1” means the slowest. Push FAST or LOW, and counting will become speed on the display with the symbol as DL-X(X=1,…9). Speed display will disappear in 5 seconds and become counting. Each time the adjustment valve will be permanently stored in the memory. No need to adjust for each start.
- When the machine is running under SLIDE, the fixed time delay is 2 seconds.
(2).2-color with shuttle such as SPC-824SE(see figure 8)
1. Mode Selection
Turn on the power and push “PRG” to make the light on, then push “+” and “-” to select the mode required(displayed as PF## when adjusting). Push “PRG” again, the display changes from PF## to PP##, and the mode selected will be stored permanently.
PP 01 1-color; PP 02 1-color inking twice(The shuttle does not move)
PP 03 2-color; PP 04 2-color inking twice(The shuttle moves left/right) PP 05 roll printing
2. Operation
- Push “SLIDE”, the blade will move forward/backward.
- When the machine is down, push “PAD”, and the pad will lower down to try printing.
- When the machine is down, push “TABLE”, the shuttle will move forward; push it again, and the shuttle will move backward.
- PP 03/04 modes are for 2-color printing: push “SLIDE”, then “PAD” and “TABLE”(to make the shuttle work) in order, and the machine will run automatically. PP 01/02 modes are for 1-color printing: push “SLIDE” and then “PAD”, the machine will run automatically. To stop the machine, you need to push “SLIDE” and make the light off. If you only push “PAD” to extinguish, the pad will stop lowering down immediately but “SLIDE” will work.
- The operator can start or stop the machine with a pedal switch at any time.
- Speed adjustment: The time delay is adjusted through “+” (FAST) and “-“(LOW) during auto running.
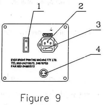
(
) Power Panel (figure 9)
- power switch
- power socket
- fuse(1A)
- pedal switch socket
Pneumatie Transmission System
(—). Assembly Valve
The input pressed air assembly valve is installed on the left side of the machine. As in figure 10.

| No. | Name | Function |
| 1 | Manual valve | Push it towards the gauge, air will enter the machine. Pull it in the opposite direction, air will shut off meanwhile machine will discharge air. |
| 2 | Pressure adjusting knob | Pick it up and turn it clockwise, anticlockwise, pressure will increase. Turn it decrease. |
| 3 | Pressure gauge | To indicate the pressure of air to the machine. |
| 4 | Jacking pin for water discharge | Jack it up with air on, and the water inside will discharge. |
(
)Pneumatic transmission diagram: The pneumatic transmission system consists of an air filter, pressure relief valve, solenoid, regulator, and cylinder. There are 2 kinds of pneumatic transmission methods.
1. 1-color SPC-814E(see figure 11)
The compression air is divided into 2 branches after going through the manual valve, air filter, and pressure relief valve: one branch enters the pad cylinder after going pad solenoid: and the other enters the horizontal cylinder after going through the horizontal solenoid.

- the manual valve
- assembly valve
- pad cylinder
- 5/2 solenoid
- 1-way regulator
- horizontal cylinder
2. 2-color with shuttle such as SPC-824SE(see figure 12)
The compressed air is divided into 3 branches after going through a manual valve, air filter, and pressure relief valve. One branch enters the pad cylinder through the pad solenoid. One branch enters the shuttle cylinder through the worktable solenoid. One branch enters the horizontal cylinder through a horizontal solenoid;

- manual valve
- assembly valve
- pad cylinder
- 5/2 solenoid
- 1-way regulator
- shuttle cylinder
- horizontal cylinder
Operation Procedure
- Inlet compression air and adjust the pressure to make the gauge indicator read about 5 bar.
- Turn on the power and make the switch be at “ON”
Remember: Before letting air, do not let any part of your body be in the space where the movable components of the machine can go by as they will return to their original positions once the air is on. - Select a suitable pad and install it in accordance with the figure.

- Adjust the worktable, see figure 5, loosen(6), adjust(1) to adjust the up and down position of the worktable, loosen (7), adjust(4) to adjust the front/rear position of the worktable, then loosen(3), adjust(5) to adjust the left/right position of the worktable, then adjust(2) to adjust the angle of the worktable, after adjust well, lock all the locking screw, install the fixture and workpiece.
- Inject the suitable ink into the ink cup.
- Push “PAD” on the operation panel, if pads lowering height can’t meet requirements, adjust knob 6 and knob 7 in figure 4 to meet the requirements.
- Push the speed select keys on the control panel to make the running speed of the machine suitable for operation.
- Push “STOP/START” to stop the machine. If the machine is down for a long, power should be turned off and the manual air valve is shut off.
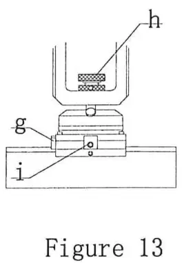
- The ink cup assembly is shown in figure 13:
a. set screw for thin plate: Fix the thin plate on the plate base.
b. Cup lid: To seal the diluent entrance.
c. Fixing base for ink cup knob: fix the ink cup knob assembly.
d. Ink cup: to contain and scrape ink.
e. Thin steel plate: with image
f. Plate base: to support the plate cushion
g. Locating block: lengthwise locating for plate base.
h. Ink cup knob assembly: to take ink cup to move front/rear and apply perpendicular force to ink cup.
i. Fixing screw for the base fixer: to fix plate base fixer.
(A). Ink Cup Removal
1. First Step (figure 14)

Loosen fixing screw for the base fixer (i), and dismantle ink cup knob assembly(f), then move plate with the base together forward and take them out.
2. Second Step (see figure 15)

Hold ink cup (c) in one hand and turn down the part that has been taken out to make the ink cup upside down and steel plate shim face up. Then gently slide the ink cup away from the surface of the thin steel plate slowly, extra attention should be applied in this procedure to avoid any damage to the edge of the porcelain ring of the ink cup. Refer to Figure 11.
(B) Thin Steel Plate (image)Replacement
Unscrew(j) and remove the old steel plate with an image (b). Then place the new steel plate with the image on the steel plate underlay (a) horizontally, and use (j) to fix it onto (a). See Figure 12 for reference.
(C) Ink Cup Installation.
Turn over the steel plate underlay after replacing the thin steel plate (image) to make a thin steel plate face down and steel plate underlay up. Then hold the ink cup in one hand and the steel plate in the other, and let the ink cup engage with the steel plate gently. See Figure 17 While doing this, exercise extra caution to avoid damage to the edge of the porcelain ring of the ink cup. After this turn over the steel plate again to make the ink cup face up as shown in Figure 16 Then put this part onto the steel plate base (k) and screw it tight as shown in Figure 19
(D) Diluent filling Remove the ink cup lid (“d” in Figure 13)Put a little hopper in the filling hole and fill the proper amount of diluent into the cup as in figure 20.

(E) The Adjustment of the 2-color Steel Plate Base.
- blocking screw: to lock the front-rear movement of the steel plate base.
- Locking screw: fine adjustment of the steel plate base rotation.
- Knob: left-right adjustment for the right steel plate base.
- DICnob: front-rear adjustment for the steel plate base.
- Knob: left-right adjustment for the left steel base.

Common Defects and Analysis of Image Printed
- Air Pocket
A. pad surface is damaged.
B. The central point stands right on the image.
C. Ink has gone bad.
D. Diluent chosen is not correct.
E. Ink cup ceramic ring is not sharp.
F. Pad arc is insufficient. - Rough and Unclear Line of Image
A. Pad surface is damaged.
B. Ink is too thin.
C. Steel plate pattern is damaged.
D. Ink cup ceramic ring is not sharp or has undercuts.
E. Image design is rough.
F, Steel plate pattern is too deep.
G. Ink is too dry. - Light Image Color
A. Ink is too thin.
B. Ink deposits.
C. Filler is too much. (Normally it should be controlled roughly within 5%)
D. Steel plate pattern is worn.
E. Steel plate pattern depth is insufficient. - Superfluous Lines
A. Steel plate pattern is worn.
B. Ceramic ring has undercuts.
C. Pad sliding piece is loose.
D. Pad pressure is too high. - Deformation
A. Pad height is insufficient.
B. Pad shape is chosen incorrectly.
C. Pattern is beyond printing range.
D. Pad is too small and hard.
E. Pad pressure is too high.
Precautions
- Extra caution should be taken while operating (e.g., removal, installation, cleaning) on the edge of the porcelain ring of the ink cup as it is fragile.
- Attention on the selection of pad:
The hardness of the pad can be divided into three types: soft, medium, and hard. Hard pads should be used for fine images, and soft for rough substrates. In addition, the size and shape of the pad should be similar to the size of the image and the shape of the substrate respectively. - The choice of ink:
Different inks should be used for different substrate materials (such as plastic, glass, and metal). - While printing, the proper amount of thinner should be added at the proper time according to the density of the ink so as to keep the proper viscosity of the ink. After thinner addition, let the machine run without substrate several times to make ink and thinner mix evenly. A cleaner should be used if there is dirt on the pad.
- Clamps should be premade according to the shape of substrates.
- The steel plate and ink cup should be cleaned with cleaner after printing.
Customer Notice:
The following item should be noticed to keep solenoid normal work and prolong its life:
- The production environment should be clean to get pure air sources.
- Discharge dirty water in a container.
- Keep the discharge hole at the back of the unit not blocked. When the machine does not work for a long time, it must be kept dry in order to prevent solenoids from being blocked by dirty water.
Note: To keep the operator safe and remove a disturbing element from the control panel, the machine must connect to the ground. There is a grounding symbol for users:

Trouble Shooting and Maintenance
- For common troubleshooting. see the following table:
- Maintenance
Failure Description Cause Solution The machine doesn’t run. The indicator on the control panel is not on when the power switch is turned on. 1. The power plug is not plugged into the power socket;
2. The input voltage is abnormal;
3. The fuse blows off.1. Plug in;
2. Cheak the voltage;
3. Replace the fuse.The indicator on the control panel is on when the power switch is turned on. 1. The general air source isn’t connected;
2. The pressure reading is too low;
3. The slide valve isn’t on for the air inlet;
4. The cylinder is plugged into foreign objects.1. hook it up;
2. Adjust it higher;
3. Turn it on;
4. Clean it.The running speed is abnormal. The speed of cylinder motion is too fast. 1. The air pressure is too high;
2. The speed of the piston is too fast.1. Adjust it lower;
2. Adjust the flow control valve.The impact of cylinder motion is too big. 1. The cushion of the cylinder adjusted is too low.
2. The hydraulic cushion is damaged.1. Adjust it higher;
2. Replace it.The speed of cylinder motion is too slow. 1. The air pressure is too low;
2. The flow control valve is adjusted too low;
3. The air hose is twisted and plugged;
4. The air valve is rusted or plugged by foreign objects;
5 The silencer is plugged.1. Adjust it higher;
2. Adjust it higher;
3. Rearrange the air hose properly;
4. Clean or replace it;
5. Clean it.Failure of doctor blade system Ink can not be scraped clean. 1. The thin steel plate distorts; the edge of the ceramic ring
2. The edge is damaged.1. Replace it;
2. Replace it.Pad The pad can not lift up after lowering down. Something is wrong with the mag. sensor. To check out the connection or replace the mag. sensor. A . The machine body should be kept clean;
B . The moving parts should be cleaned and lubricated every week;
C . The accumulated water should be discharged frequently lest it should enter the internal pneumatic system;
D . Pad, steel plate, and ink cup should be cleaned after printing.
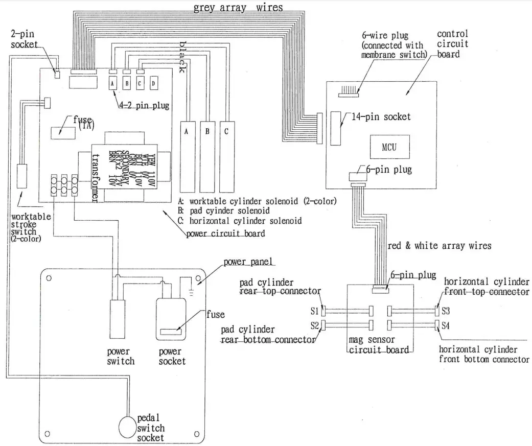
Electric Wiring Diagram
Attention: Electronic components are easily damaged due to unstable voltage. Therefore, manostat should be used in areas where voltage is not stable. And grounding should be applied for safety at the same time.

The solution to Ink Cup Leakage
Instruction: There are usually two reasons for ink cup leakage.
- The ceramic ring is in good condition. Ink cup leakage is usually caused by the excessive distance between the magnet and the steel plate. The intention of the same batch of magnets would have a minor difference. Do fine adjustment of magnet and steel plate in the following way: Adjust the “Adjustment Screw” clockwise for 1/4 circle(or 1/2 circle according to requirement, but do not over one circle maximumly) as shown in Figure 1. There are six pieces of magnet and adjust the related one if ink can not be scraped clearly.

- The ceramic ring must be replaced if damaged. The way to replace: Clean the ink cup and put it into the quick-freezing chamber of the fridge and take it out in one hour, then take off the old ceramic ring quickly and place the new one into the ink cup. As shown in Figure 2.





a. set screw for thin plate: Fix the thin plate on the plate base.















![Xerox Primelink Copier/printer User Manual [b9100, B9110, B9125, B9136] Xerox Primelink Copier/printer User Manual [b9100, B9110, B9125, B9136]](https://static-data1.manualsee.com/1/img/225/51902/2021/01/Xerox-PrimeLink-Copier-Printer-User-Manual-B9100-B9110-B9125-B9136.jpg)





