SPC-84 One-Colour Pad Printer with Sealed Ink Cup
Instruction Manual
General Description
Pad printers with sealed ink cups are product series elaborately made by Ever Bright based on years of production experience and the development trend of pad printers.
On this pad printer series, a sealed ink cup is used to contain ink instead of the traditional open ink tray, and a porcelain ring is fixed on the ink cup to replace the old doctor’s blade. Therefore, pad printers with sealed ink cups can effectively avoid ink evaporation and odor leakage, which not only does well to waste reduction but also for environmental protection. This manual is specially compiled to help users master the operating method correctly.
Technical Specifications
Model Indication Way

Basic Parameter
| Item | Parameter |
| Ink cup size | 4 90x ‘to 82mm |
| Max. substrate diameter | ick 80mm |
| Max. printing pressure | 473N(6bar) |
| Max. printing speed | 1300pcs/hr |
| Power supply | 220/110V 50/60Hz 50W |
| Max. air consumption | 801itre/min |
| Dimensions | 470x450x600mm |
| Weight | 40kg |
Working Principle
The working principle of pad printing is the method of transfer printing. And it can be divided into 4 motions:
- ink applying: to apply ink to steel plate as shown in Figure I;
- ink scraping: to scrape redundant ink from the surface of steel plate as shown in Figure I;
- inking: to transfer ink over steel plate image to pad as in Figure 2;
- pad printing: to transfer ink (image) on a pad to substrate as in Figure 3.
For pad printers with ink cups, the motions of ink applying and scraping are done simultaneously.
Figure 1: Ink cup “b” finishes the motions of ink applying & scraping led by ink cup fixing plate “a;
Figure 2: Pad “e” moves down and finishes the motion of inking thrust by pad cylinder;
Figure 3: After inking, the pad is thrust first horizontally over the substrate by the horizontal cylinder, then vertically onto the right surface of the substrate by a pad cylinder.
Thus ink on the pad (image) is transferred onto the surface of the substrate.

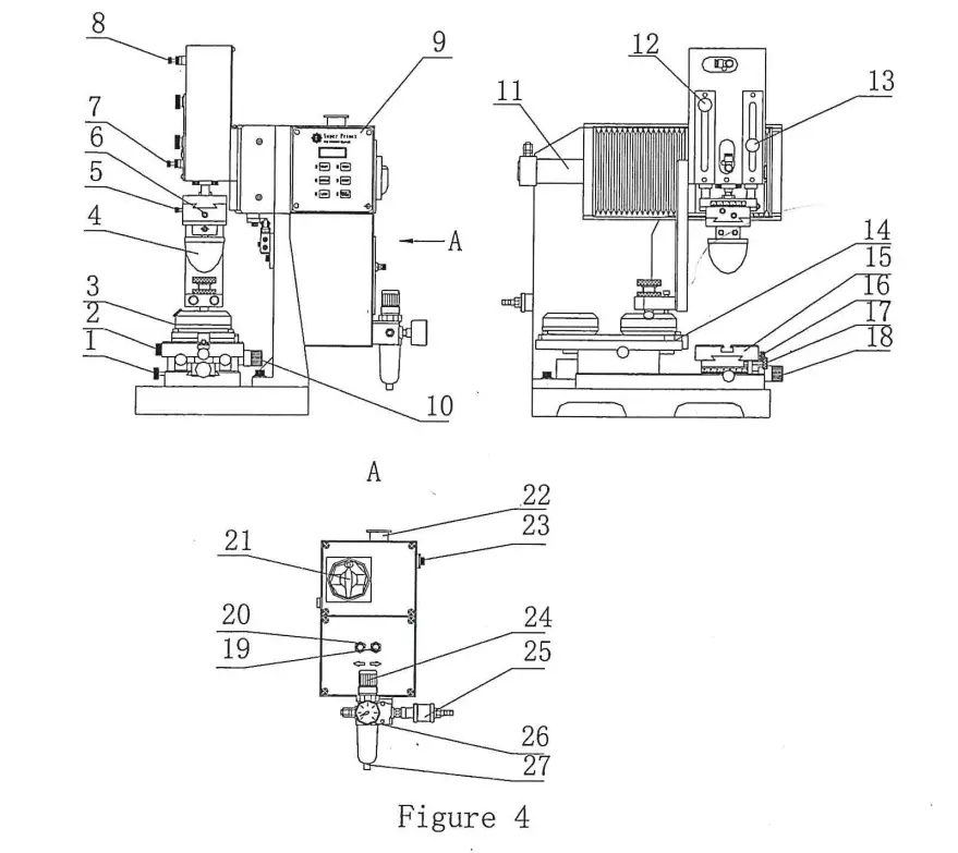
Basic Components
See Figure 4.

- locking knob for worktable forward/backward movement
- locking knob for steel plate base
- ink cup assembly
- pad
- locking screw for pad base
- locking screw for pad front/rear position
- speed adjusting knob for pad down
- speed adjusting knob for pad up
- control panel
- adjusting knob for worktable L/R movement
- cylinder
- mag. sensor base for inking stroke adjustment
- mag. sensor base for printing stroke adjustment
- steel plate base
- worktable
- adjusting knob for worktable L/R movement
- adjusting knob for worktable rotation
- adjusting knob for worktable forward/backward movement
- speed adjustor for horizontal cylinder backward
- speed adjustor for horizontal cylinder forward
- power switch
- emergency stop
- fuse
- pressure adjusting knob
- slide valve
- pressure gauge
- jack pin for water discharge
SLIDE: to move the pad holder forward/backward. Push it, you can make the pad stop at the front or back.
SLIDE+P AD-auto running. Generally, the SLIDE should be pushed after starting to stir the ink.
PAD: to lower down the pad. When SLIDE stops at the front or back, push this button, and the pad will try printing.
DUAL: to take ink twice. It must be pushed when the machine is down.
STOP/START: to be used for auto control. If you push this button when the machine is down, you will start auto operation; under SLIDE, the machine will change to run
automatically and under auto running, the printing will stop.
The function of the pedal switch is the same as that of STOP /START. 
- Mode Selection
Turn on the power and push “DUAL” to make the light on, then push “+ and “-” to select the mode required ( displayed as PF## when adjusting).
Push “DUAL again, the display changes from PF## to PP##, and the mode selected will be stored. 2-color with shuttle has four modes:
PP 01 I-color; PP 02 1-color inking twice
PP 03 I-color I-cycle; PP 04 I-color I-cycle inking twice - Speed can be adjusted when the machine is down or running automatically. It is divided into 9 grades, from 1-9.9 means the fastest, and the time delay for it is “O”. ‘.’ l” means the slowest. Push FAST or LOW, counting will become speed on the display with the symbol as SP-X (X=l, … 9). Speed display will disappear in 5 seconds and become counting again. Each time the adjustment value will be permanently stored in the memory. No need to adjust for each start.
- When the machine is running under SLIDE, the fixed time delay is 2 seconds.
Function and Adjustment of Each Main Component
Ink Cup Assembly
See Figure 6.
a. steel plate underlay: to support thin steel plate;
b. thin steel plate: with the image;
c. ink cup: to contain ink and scrape ink;
d. ink cup cover: to seal the entrance for thinner fitting;
e. positioning pin: to fix the crosswise position of steel plate underlay;
f. ink cup knob assembly: to lead ink cup to move forward/backward and apply force to it vertically;
g. fixing piece for steel plate underlay: to fix steel plate underlay;
h. locking screw for (g): to lock (g);
i. positioning piece: to fix the lengthwise position of steel plate underlay;
j. locking screw for (b): to fix (b) onto steel plate underlay;
k. steel plate base: to support steel plate underlay;
l. ink cup fixing plate: to fix ink cup knob assembly;
m. anti-rotation screw for ink cup: to prevent ink cup from rotation.
- Ink cup removal
A. Loosen (h) and unfix (f) & (m) to take ink cup out together with thin steel plate and steel plate underlay as shown in Figure 7;
B. Hold ink cup ( c) in one hand and tum over the whole part to make the ink cup face down and steel plate underlay up. Then apply force gently to make the ink cup slide away from the surface of the thin steel plate slowly. When doing this, special attention should be paid lest any damage should occur to the edge of the porcelain ring of the ink cup. Refer to Figure 8.
- Thin steel plate (image) replacement Unfix (j) and remove the old steel plate with an image (b ). Then put a new steel plate with an image on the steel plate underlay (a) flatly, and use (j) to fix it onto (a). See Figure 9 for reference.

- Ink cup installation
Tum over the steel plate underlay after replacing the thin steel plate (image) to make a thin steel plate face down and steel plate underlay up. Then hold the ink cup in one hand and the steel plate in the other, and let the ink cup engage with the steel plate gently. See Figure 10. While doing this, caution should be taken to avoid damage to the edge of the porcelain ring of the ink cup. After this tum over the steel plate again to make the ink cup face up as shown in Figure 11.
Then put this part onto the steel plate base (k) and fix it as shown in Figure 12.
- Thinner fitting
Unfix the ink cup cover ( d) in Figure 6 and insert a little funnel into the entrance, then pour the proper amount of thinner into the ink cup through the funnel. See Figure 13.
Worktable
See Figure 14.
a. knob: to adjust worktable forward/ backward movement;
b. knob: to finely adjust the angle of the worktable;
c. knob: to lock the L/R movement of the worktable;
d. knob: to lock the forward/backward movement of the worktable;
e. knob: to adjust the L/R movement of the worktable.
Operating Method
- Let compression air flow in and adjust its pressure by making the indicator of the pressure gauge read about 5 bar.
- Connect with the power supply and set the switch on the switchboard at “ON”.
Note: Never place any part of your body within the moving range of the pad printer before compression air is applied. For once the compression air is applied, the parts of the pad printer will go back to their normal position automatically.
- Select the proper pad and fix it according to Figure 15.
- Push the sweep button in Figure 5 to make the ink cup move L/R. Tum ink cup knob assembly downward for adjustment if ink can not be scraped clean.
- Push test Cubbon on control panel and tum stroke control knob (12)/(13) in Figure 4 to adjust the height of pad lowering down.
- Press the speed selection button “FAST” or “LOW” on the control panel to adjust the running speed of the machine so as to fit the printing requirement.
- The machine stops pushing the stop/start button. The switch on the power board should be turned off on long-time shutdown.
Precautions
- Special caution should be taken while operating (e.g., removal, installation, cleaning) for the edge of the porcelain ring of the ink cup is fragile.
- Pay attention to the selection of pads: The hardness of the pad can be divided into three types: soft, medium, and hard. Hard pads should
be used for fine images, and soft for rough substrates. In addition, the size and shape of the pad should be similar to the size of the image and the shape of the substrate respectively. - The choice of ink:
Different inks should be used for different substrate materials (such as plastics, glass, and metal). - While printing, the proper amount of thinner should be added at the proper time according to the density of ink so as to keep the proper viscosity of the ink. After thinner addition, let the machine run without substrate several times to make ink and thinner mix evenly. A cleaner should be used if there is dirt on the pad.
- Clamps should be premade according to the shape of substrates.
- The steel plate and ink cup should be cleaned with cleaner after printing.
Service and Maintenance
- Common failure and solution See the following table.
Failure Description Cause Solution Machine doesn’t
run.The indicator on the control panel is not on when the power switch is on. 1. The power plug is not inserted into the power
socket;
2. The input voltage is abnormal;
3. The fuse is out of use. fuse.1. Insert the plug;
2. Checkout the voltage;
3. Replace theThe indicator on the control panel is on when turning on the power switch. 1. The general air source isn’t connected;
2. The pressure reading is too low;
3. The slide valve isn’t on for the air inlet;
4. The cylinder is plugged into foreign objects.2. Adjust I.Connect it to high;
3. Tum it on;
4. Clean it.The running speed is abnormal. The speed of cylinder motion is too fast. 1. The air pressure is too high;
2. The speed of the piston is too fast.1. Ad just it low;
2. Adjust the single-direction
flow control valve.The impact of cylinder motion is too big and damaged. 1. The cushion of the cylinder adjusted is too low.
2. The hydraulic cushion is1. Ad just it high;
2. Replace it.The speed of cylinder motion is too low. 1. The air pressure is too low;
2. The flow control valve is adjusted too low;
3. The air hose is folded and suffocated;
4. The air valve is rusted or plugged by foreign objects;
5. The silencer is plugged.1. Adjust it high;
2. Adjust it high;
3. Rearrange the air hose properly;
4. Clean or replace it;
5. Clean it.Failure of doctor
blade systemInk can’t be scraped clean. 1. The thin steel plate distorts;
2. The edge of the porcelain ring is damaged.1. Replace it;
2. Replace it.Pad failure The pad can’t lift up
after lowering down.Something is wrong with the mag. sensor. To check out the connection or replace the mag sensor. - Maintenance
a. The machine body should be kept clean;
b. The moving part should be cleaned and lubricant be added every week;
c. The water should be discharged often lest it should enter the internal pneumatic system;
d. Pad, steel plate, and ink cup should be cleaned after printing.
Common Printing Defects and Analysis
- Air pockets occur to the print
a. The surface of the pad is smeary and sticky and rotten or damaged;
b. The center point of the pad is right pressed on the image position;
c. The ink is rotten;
d. The thinner for ink is improperly chosen;
e. The edge of the porcelain ring of the ink cup is not sharp;
f. The arc of the pad surface is not enough;
g. The ink is too thin. - The image lines are rough and unclear
a. The pad surface is damaged;
b. The ink is too thin;
c. The image on the steel plate is damaged;
d. The edge of the porcelain ring of the ink cup is not sharp or has undercuts;
e. The original image is designed roughly;
f. The image on the steel plate is too deep;
g. The ink is too dry. - The printing image looks faint
a. The ink is too thin;
b.The ink is deposited;
c.The additive is added too much (normally it should be controlled at around 5%);
d. The image on the steel plate is damaged;
e. The image depth on the steel plate is insufficient. - Redundant lines occur to the printing image
a. The image on the steel plate is damaged;
b.The edge of the porcelain ring of ink cup has undercuts;
c. The slide for the pad is loose;
d. The pad pressure is too high. - Distortion occurs to the printing image
a. The height of the pad position is not enough;
b. The pad shape is not correctly chosen;
c. The image is beyond printing size;
d. The pad is too small and hard;
e. The pad pressure is too high.
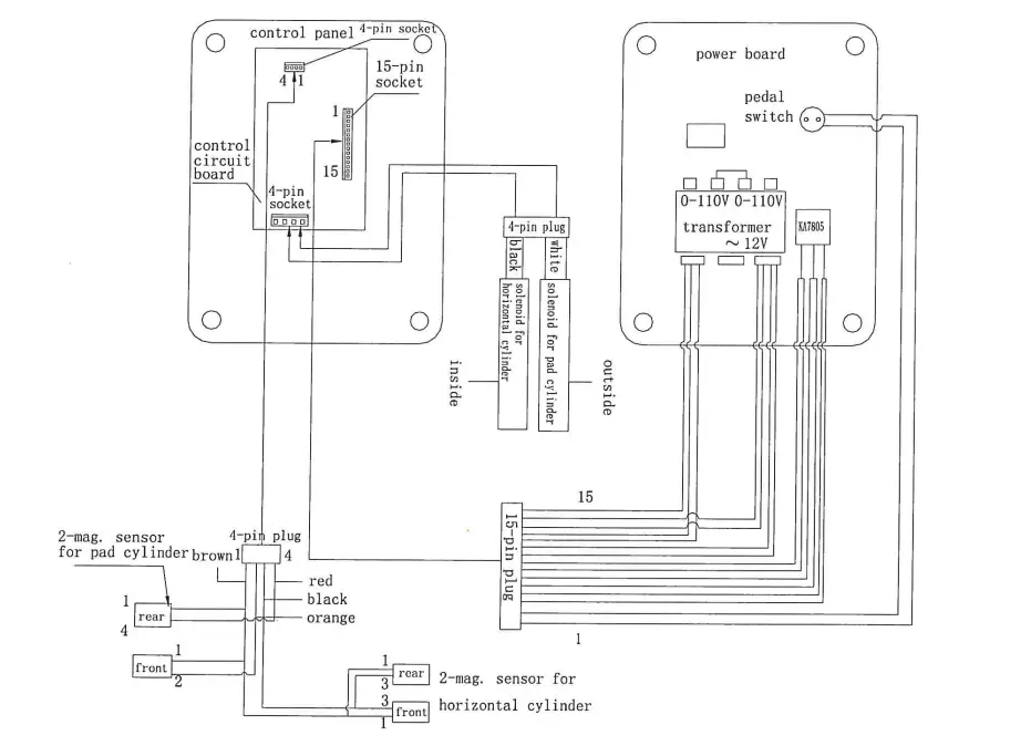
Pneumatic System Diagram

Electric Wiring Diagram
Note: Electronic components are easily damaged due to unstable voltage. Therefore, manostat should be used in areas where voltage is not stable. And grounding should be used for safety at the same time. 
The solution to Ink Cup Leakage
Instruction: There are usually two reasons for ink cup leakage.
- The ceramic ring is in good condition.
Ink cup leakage is usually caused by the excessive distance between the magnet and the steel plate. The intention of the same batch of magnets would have a minor difference. Do fine adjustment of magnet and steel plate in the following way: Adjust the “Adjustment Screw” clockwise for 1/4 circle( or 1/2 circle according to requirement, but do not over one circle maximumly) as shown in Figure 1. There are six pieces of magnet and adjust the related one if ink can not be scraped clearly.
- The ceramic ring must be replaced if damaged.
The way to replace: Clean the ink cup and put it into the quick-freezing chamber of the fridge and take it out in one hour, then take off the old ceramic ring quickly and place the new one into the ink cup. As shown in Figure 2.

























