Eltako DTD65L-230V-wg Rotary Dimmer in E-Design65 without N Connection

Only skilled electricians may install this electrical equipment otherwise there is the risk of fire or electric shock!
SPECIFICATION
- The temperature at mounting location: -20°C up to +50°C.
- Storage temperature: -25°C up to +70°C.
- Relative humidity: annual average value <75%.
ABOUT
- Rotary dimmer without N connection for single mounting 84x84x25 mm or mounting into the E-Design65 switching system. Installation depth 33 mm. Universal dimmer switch with rotary knob,
- Power MOSFET up to 200 W. With adjustable minimum and maximum brightness. Standby loss 0.5 watt only.
- Universal dimmer switch for R and C loads up to 200 watts, depending on ventilation conditions.
- Dimmable energy-saving lamps ESL and 230 V LED lamps in ‘trailing edge’ mode up to 200 W or up to 40 W in ‘leading edge’ mode, depending on ventilation conditions.
- If 230V LED lamps are lightly glowing when they are turned off, a GLE base load must be installed parallel to the lamp.
- It is not permited to connect L loads (inductive loads, like wounded transformers). Zero passage switching with soft start and soft OFF to protect lamps.
- Control voltage, supply voltage and switching voltage 230 V. Minimum load 4 W.
- In case of a power failure the switching position and the brightness level are stored. If applicable the dimmer will be switched on at the stored brightness level after the supply voltage is recovered.
- Automatic electronic overload protection and over-temperature switch-off.
- Mounting: screw mounting plate. After the rotary switch setting, pull the red insulating cap and attach the knob. The insulating cap should have remained for future use in the DTD65L. Then put up the frame and attach the front panel.
Important! Before mounting and removal, always disconnect the power supply.
Function rotary switches

Minimum brightness (fully dimmed down) is adjustable using the left % rotary switch. Use the middle % rotary switch to set the maximum brightness (fully dimmed up). The right rotary switch allows to choose the dimming technology: trailing edge with memory (P-AB), trailing edge without memory (P-AB on-max), leading-edge with memory (P-AN) or leading edge without memory (P-AN on-max). The adjusted brightness stays saved at turning off if the memory function is active. At the on-max function, it turns on always with 100% brightness, by this way ESL can be switched.
Operation
- Press the middle of the rotary knob to switch on with memory value and to switch off and save the current dimming value. Turn to the right (clockwise) to dim up. The turning speed determines the dim-up speed.
- If the dimming actuator was switched off to the right at the start of dimming, the switch-on is at minimum brightness followed by gradual dim-up. This is the children‘s room circuit. When the rotary knob is turned jerkily to the right – dim-up is rapid to the maximum brightness adjusted.
- Turn to the left (anticlockwise) to dim down to the minimum brightness adjusted. The turning speed determines the dim-down speed.
- When the rotary knob is turned jerkily to the left, the dim-down is rapid to the minimum brightness adjusted.
- If the dimming switch was switched off to the left at the start of turning, the switch-on is at minimum brightness followed by gradual dim-up by turning to the right.
- Control is also possible using a 230 V control pushbutton in addition to the rotary knob: Short commands switch on/off, and continuous activation changes brightness up to maximum or minimum value. If you interrupt activation, it changes the dimming direction. Children‘s room circuit with control push-button: Press the control pushbutton for a long time to switch on at minimum brightness, then continue pressing the pushbutton to dim up the lights slowly without changing the last dimming value stored.
A double pulse dims down and switches off the lighting from the current dimming position through to minimum brightness. The maximum dimming time of 60 minutes is dependent on the current dimming position and the adjusted minimum brightness and can therefore be shortened as required. Tap briefly at any time during the dim-down process to switch off. Press long during the dimming-down process to dim up and end the sleep timer.
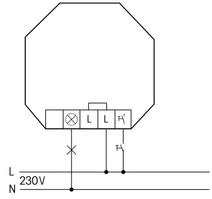
Typical connection

Technical data

- The switching capacity depends on the ventilation conditions.
- When calculating the load a loss of 5% for capacitive (electronic) transformers must be considered in addition to the lamp load.
- If energy savings lamps or 230 V LED are used in the leading edge operating mode (P-AN), the maximum load is only up to 40 W.
- Affects the max. switching capacity.
- Different lamp electronics may result in restricted dimming areas, on/off problems and a limited maxi-mum number of lamps (to 10 units), especially if the connected load is very low (e.g. with 5 W LEDs).
Must be kept for later use!
Eltako GmbH
D-70736 Fellbach Technical Support English:
+49 711 94350025 [email protected] eltako.com
25/2021 Subject to change without notice.



















