TRAVIS INDUSTRIES 94900746 Tempest Lantern

Safety Precautions
! This appliance must be installed in accordance with all local codes, if any; if not, follow ANSI Z223.1.
! This appliance must only be used outdoors in a well-ventilated area. It may not be used in a building, garage, or other enclosed space.
- This appliance is not for use with solid fuel.
- The Lantern must be kept clean and free of leaves and debris to insure safe operation.
- Any hose or gas-supply line that is damaged or shows evidence of excessive abrasion or wear must be replaced prior to use of the Lantern.
- If using a gas supply line to the Lantern, make sure it is properly located away from any walkway or in an area where it may be subject to accidental damage
- Educate all children and adults of the dangers of the Lantern. Young children should be supervised when they are in the same area as the Lantern. Do not let children play with the Lantern.
- Do not place clothing or other flammable items on or near the Lantern.
- Any screen or guard removed for servicing must be replaced prior to operating the Lantern.
- This unit must be installed and repaired by a qualified installer to prevent the possibility of an explosion. Your dealer will know the requirements in your area and can inform you of those people considered qualified. The Lantern should be inspected before use and at least annually by a qualified service person. More frequent cleaning may be required due to excessive debris from leaves, dirt, insects, etc.
- Do not use this appliance if any part has been under water. Immediately call a qualified service technician to inspect the appliance and to replace any part of the control system and any gas control that has been under water.
- The instructions in this manual must be strictly adhered to. Do not use makeshift methods or compromise in the installation. Improper installation will void the warranty and safety listing.
- This appliance is approved for either natural gas (NG) or propane (LP). Burning the incorrect fuel will void the warranty and safety listing and may cause an extreme safety hazard. Direct questions about the type of fuel used to your dealer. A label is placed on the control panel to show which fuel the Lantern is designed for (in addition, NG units have 25 burner holes, LP units have 49 burner holes).
- Contact your local building officials to obtain a permit and information on any installation restrictions or inspection requirements in your area.
- If the flame becomes sooty, dark orange in color, or extremely tall, do not operate the Lantern. Call your dealer and arrange for proper servicing.
- Do not operate the Lantern if it is not operating properly in any fashion or if you are uncertain. Call your dealer for a full explanation of your Lantern and what to expect.
- Do not store or use gasoline or other flammable liquids in the vicinity of this Lantern.
- Never remove, replace, modify or substitute any part of the Lantern unless instructions are given in this manual for routine maintenance and cleaning. A trained technician must do all other work. Do not modify or replace orifices.
- Allow the Lantern to cool before carrying out any maintenance or cleaning.
- Operate the Lantern according to the instructions included in this manual.
- If the burner does not start correctly turn the gas off at the gas control valve and call your dealer for service.
- Do not use this appliance to cook food.
- Instruct everyone in the house how to shut gas off to the Lantern and at the gas main shutoff valve. The gas main shutoff valve is usually next to the gas meter or propane tank and requires a wrench to shut off.
- Do not operate the Lantern during a lightning storm or a possible lightning storm.
- Do not operate the Lantern during high wind conditions.
- Do not install in or on recreational vehicles and/or boats.
- Do not throw this manual away. This manual has important operating and maintenance instructions that you will need at a later time. Always follow the instructions in this manual.
- Travis Industries, Inc. grants no warranty, implied or stated, for the installation or maintenance of your Lantern, and assumes no responsibility of any consequential damage(s).
Features and Specifications
Features
- Maximum 20,000 BTU Input
- Removable Rain Cap
- Tempered Glass (easy to remove and clean)
- Stainless Steel Construction
- Automatic Gas Shutoff Valve for Safety
- Rotary Piezo Igniter for Easy Lighting
- Wet Weather Lighting Port for Positive Ignition
Installation Options
- For Outdoor Installation Only
- For Fixed Line Installations Only
- Wall Mount
- Post Mount
- Pier Mount
Gas Specifications
NG | LP | |
| Input Rating (Btuh) | 20,000 | 20,000 |
| Orifice Size (DMS) | #50 | #55 |
| Burner Ports | 25 Holes | 49 Holes |
| Manifold Pressure | 7″ wc | 11″ wc |
| Max. Inlet Pressure | 7″ wc | 11″ wc |
Dimensions

NOTE: Side clearances are measured from the glass – Top clearances are measured from the glass frame.
Installation
Installation Warnings
- This appliance is designed for outdoor use only, in well-ventilated areas.
- Failure to follow all of the requirements may result in property damage, bodily injury, or even death.
- This Lantern must be installed by a qualified installer.
- This appliance is designed to operate on natural gas, or propane (LP).
- Notify your insurance company before hooking up this appliance. All relevant information on the Tempest Lantern is located on page 2, Important Information. You can fax them page 2.
- The requirements listed below are divided into sections. All requirements must be met simultaneously. The order of installation is not rigid – the qualified installer should follow the procedure best suited for the installation.
Packing List
- Main Assembly
- Burner Top
- Rain Cap
- Control Cover (pre-installed)
- Glass (4 Pieces)
Additional Items Required
This Lantern Requires One of the Following Base Assemblies:
- Wall Mount Kit
- Post Mounting Kit
- Pier Mounting Kit
Recommended Order of Installation
- Determine the location of Lantern. Make sure all clearances are met, (see page 7).
- With the Lantern head location identified, prepare and mount the Lantern head support (pillar, post, or wall mount). This order of installation may need to be modified due to individual installation conditions. NOTE: sections 4, 5, 6 and 7 of this page detail gas connections to the Lantern head.
- GAS SUPPLY: The Lantern requires 20,000 BTU input (natural gas or LP). A shut off valve and 12 inches of flex line are provided to assist connection from the supply line to the Lantern head. The shutoff valve accepts ½” MPT (male pipe thread). Before turning gas on to the Lantern, leak-test all gas line connections.
- For outside post and pillar installations route a ½”stainless steel flexible gas line from the shut off valve to the Lantern head (you will have to provide this gas line).
For wall mount applications; if using flex line to pass through the wall of a building the flex line must be enclosed in conduit for protection, or local code may require you to hard pipe the connection from the control module to the Lantern head. - Attach the Lantern head to the mount. Attach the gas line. Leave the control covers loose to allow for leak testing access. Install the Lantern assembly.
- Bleed the gas line and start the Lantern. Leak test the gas line. Verify the Lantern works correctly and there are no gas leaks. Attach the control covers.
- Give the manual to the home owner and explain the operation of the Lantern.
Placement Requirements
For Outdoor Use Only. Install in well-ventilated areas.
Do Not Locate the Lantern:
- In high traffic areas.
- Under or near trees, plants and buildings where debris may constantly fall into the Lantern. Excessive debris will require high maintenance and/or cause malfunctioning of the Lantern.
- In places where people, children, and pets may contact the Lantern. Guards or fences around the Lantern in these locations are recommended.
- In places where the controls beneath the Lantern may be submerged under water. Submerging of any part of its controls will require complete replacement of the controls.
Clearances
- The distance from ground level to the top of the Lantern shall be a minimum of 7 ft. (2.1M) where installed within 2 feet (0.6M) of public walkways (e.g.: sidewalk, shared walkway between two homes, or pathway in commercial applications). Lesser clearances shall be permitted to be used only where acceptable to the authority having jurisdiction.
- Keep combustibles away from the shaded heat zone of the Lantern (see illustration below).

Gas Line Requirements
MASSACHUSETTS INSTALLATIONS – WARNING:
THIS PRODUCT MUST BE INSTALLED BY A LICENSED PLUMBER OR GAS FITTER WHEN INSTALLED WITHIN THE COMMONWEALTH OF MASSACHUSETTS.
OTHER MASSACHUSETTS CODE REQUIREMENTS:
- Flexible connector must not be longer than 36 inches.
- Shutoff valve must be a “T” handle gas cock.
- Only direct vent sealed combustion products are approved for bedrooms or bathrooms.
- Fireplace dampers must be removed or welded in the open position prior to the installation of a fireplace insert or gas log.
- A carbon monoxide (CO) detector is required in the same room as the appliance.
- The gas line must be installed in accordance with all local codes or, in the absence of local codes, with the National Fuel Gas Code, ANSI Z223.1/NFPA 54, International Fuel Gas Code, Natural Gas and Propane Installation Code, CSA B149.1, or Propane Storage and Handling Code, B149.2, as applicable. Consult your local gas supplier or propane gas dealer for code regulations and recommended procedures.
- The Lantern and gas control valve must be disconnected from the gas supply piping during any pressure testing of that system at test pressures in excess of 1/2 psig. For pressures less than 1/2 psig, isolate the gas supply piping by closing the manual shut-off valve.
- Leak test all gas line joints and the gas control valve prior to and after starting the Lantern.
LP and NG Configuration
This Lantern is shipped either for natural gas or for propane. The Lantern is not convertible from one fuel to another. Check the sticker on the control panel to make sure the correct fuel is used. The Lantern has unique orifices and burners for each fuel. See the table below for details.
NG | LP | |
| Input Rating (BTU/h) | 20,000 | 20,000 |
| Orifice Size (DMS) | #50 | #55 |
| Burner Ports | 25 Holes | 49 Holes |
| Manifold Pressure | 7″ wc | 11″ wc |
| Max. Inlet Pressure | 7″ wc | 11″ wc |
Gas Line Connection
A manual shutoff valve is required on the gas supply to the Lantern. It should be placed upstream of the flex line. A shut-off valve is included with the optional wall-mount kit.
NOTE: This version of the tempest Lantern may not be connected to a portable LP cylinder.
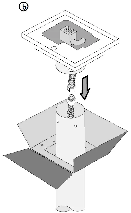
Post Mount and Control Cover Installation
A post mount and control cover are pre-attached to the Lantern for use with the optional post (3″ round lamp post) or pier mount. If using the wall mount, use the control cover included with the wall mount kit.
- Detach the control cover from the Lantern assembly. Keep the two thumb screws used to attach the cover.

- Slide the control cover over the post.

HINT: Use low-tack tape to protect the post from scratches.
NOTE: When installing the post, make sure the post is positioned with the mounting holes 45° offset from the front. The post mount has obround holes that allow 20° of rotation (10° in each direction). - Attach the gas line. WARNING: Take care when handling the Lantern assembly to not damage the gas line.

- Attach the Lantern to the post using the included ¼-20 screws.

- Attach the control cover to the Lantern with the two thumb screws.
The safety label slides into place between the control cover and the Lantern body.
Lantern Assembly
- Place the burner top over the main assembly. Make sure the burner top is fully seated.

! Make sure the igniter element lines up with the hole on the burner top. - Slide the glass panels into place by aligning each panel with one of the slots in the top plate of the Lantern. Support the glass panels as you lower them into place to avoid damaging them. HINT: Make sure the glass is clean before installing and handle with soft gloves or other non-marking material (e.g. paper towel).

- Place the rain cap on the top of the Lantern glass assembly. The cap will friction fit to assembly.

Post or Pier Mounted Lantern (Optional)
The tempest Lantern may be mounted to a 3” diameter post using the included post mount. This post may be surface mounted on a deck or similar platform with the optional post base kit. If the post is placed in a remote location, it may be sunk into the ground using concrete or other suitable means. See the post or post base kit for assembly and installation instructions.
Deck Mount (Post or Pillar)

Free-Standing Post Mount

Operation
Wall Mounted Lantern (Optional)
The tempest Lantern may be mounted to an external wall an optional wall mount kit. Make sure that all clearances are can be maintained in your application. See the wall mount kit for assembly and installation instructions.

Before You Begin
- Read this entire manual before you use your new Lantern, especially the section “Safety Precautions” on page 4. Failure to follow the instructions may result in property damage, bodily injury, or even death.
- Remove any cover from the Lantern prior to operation (the optional stainless-steel rain cap may be left in place.
- Inspect the Lantern to make sure it is free of debris or objects that may have fallen into the Lantern prior to operation.
- Inspect the Lantern, burner, and supply lines for any damage prior to operation. The burner must be replaced prior to the appliance being put into operation if it is evident that the burner is damaged. Use only Travis Industries replacement burners.
- It may be difficult to see the burner operating in direct sunlight.
Operating Instructions
WARNING: Do not continue to push in the valve control in if the Lantern does not light. By pushing the valve control in, you are allowing gas to flow to the Lantern, creating an explosion hazard. If the Lantern does not light, push the valve control in and rotate the valve to the OFF position.
Lighting the Lantern – DRY WEATHER
NOTE: If re-lighting, make sure the Lantern remains off for a minimum of 5 minutes before re-lighting.
- Push valve control in and turn counter-clockwise to START/HIGH position, then release.
- Turn the DRY WEATHER IGNITER clockwise to create spark (continue turning while performing step #3).
WARNING: Make sure the igniter is sparking before continuing to step 3. The spark is best viewed by adjusting your viewing angle so eye level is level with the burner top (see the illustration to the right). The spark typically jumps from the spark electrode to the burner ring. - Push and hold valve control in. Lantern must light within 5 seconds. After Lantern lights continue to hold valve control in for 15 seconds. Note – if Lantern does not light use a wand lighter in the wet weather lighter opening and perform step #3 to light.

Lighting the Lantern – WET WEATHER
- Push valve control in and turn counter-clockwise to START/HIGH position, then release.
- Insert a wand lighter through the WET WEATHER LIGHTER OPENING.
- With the wand lighter lit, push and hold valve control in. Lantern must light within 5 seconds. Remove the wand lighter. After Lantern lights continue to hold valve control in for 15 seconds. Note – if Lantern does not light with a wand lighter directly next to the burner with the valve control pressed in in the START/HIGH position, gas is not reaching the Lantern.

Turning the Lantern Off
- Push valve control in and turn clockwise to the OFF position. Note – if excessive wind or rain extinguishes the flame the safety control automatically turns gas off.
Maintenance
Maintaining Your Lantern
Failure to inspect and maintain may lead to malfunctioning of the appliance and potentially dangerous situations.
- Inspect Lantern prior to each use.
- Keep Lantern clean, remove any debris that collects in or on Lantern. Inspect for spiders and insects, they may clog burner ports or air inlets and need be removed before using.
- Have the appliance inspected by a qualified service technician annually.
- The stainless steel burner top will discolor – this is normal.
Your Tempest Lantern is designed to be cleaned and maintained easily. The most common maintenance that your Lantern will require is glass cleaning. Perform this maintenance by removing the rain cap (lift straight up) and carefully sliding each glass panel up and out of the glass retainer assembly. Clean with glass cleaner or warm soapy water.
The glass on your Tempest is tempered and designed for safety. If it breaks it will shatter into small square pieces similar to a car windshield. It is special glass and if you break one or need to replace a piece use only 3/16” thick tempered glass supplied by your Tempest Lantern dealer.
To inspect for or clean debris out of the inside of your Lantern remove one piece of glass. This will provide access to the inside of your Lantern. Once your glass piece is out remove the pyramid shaped piece with the rings on the top by lifting it straight up, once you are clear of the burner elements turn it sideways and remove through the glass opening. This will provide you a clear view of all the Lantern components, visually check for and remove all foreign objects, vegetation, bugs, debris. When reassembling make sure you orient the Pyramid plate correctly, the burner elements that stick up through this plate are delicate. Once oriented, slide the plate straight down onto the burner assembly making sure the edges are seated all the way down.
Winterizing the Lantern
In areas where the Lantern may not be used in winter, or for an extended period of time, you may wish to shut off gas to the Lantern. This will insure the Lantern is not accidentally turned on or started with debris or snow inside the Lantern.
WARNING: Do not cover the Lantern. A cover could combust if it is in place when the Lantern is turned on, creating a severe safety hazard.
Replacement Parts

ID# | Description | Qty. | Part # |
| 1 | Rain Cap | 1 | 250-05512 |
2 | Glass Frame Assembly | 1 | 250-05513 |
| 3 | Lower Base Assembly | 1 | 250-05518 |
4 | Base Cover | 1 | 250-05514 |
| 5 | Flame Spreader Assy – NG | 1 | 250-01790 |
5 | Flame Spreader Assy – LP | 1 | 250-01791 |
| 6 | Glass | 4 | 250-01251 |
7 | Piezo Knob, Black | 1 | 250-01255 |
| 8 | Piezo Igniter x/ Screws | 1 | 250-01254 |
9 | Magnet w/ Nut | 1 | 250-01268 |
| 10 | Gas Valve w/ Nut | 1 | 250-01253 |
11 | Flex Pipe 3/8″ od x 8″ BLK | 1 | 250-00666 |
12 | Orifice, Burner – #55 | 1 | 250-00409 |
| 12 | Orifice, Burner – #50 | 1 | 250-00753 |
13 | Pilot Electrode S.I.T. Pilot | 2 | 93006523 |
| 14 | Thermo-Couple – S.I.T. Pilot | 1 | 250-04425 |
15 | Valve Knob | 1 | 250-01252 |
Replacement parts can be obtained from your Tempest Lantern retailer (see www.tempesttorch.com).
Troubleshooting Table
Problem | Possible Cause | Don’t Call for Service Until You |
| Lantern Does Not Light |
|
|
| Igniter Does Not Spark |
| Use the wet-weather starting instructions. |
| Flames are too short (under 6″) |
| Depleted LP cylinder. Gas supply lines or gas regulators do not have enough capacity. This maybe due to other appliances in the house using up the available capacity, e.g. pool heaters, furnaces, hot water tanks, etc. |
| Flames are not Spiral |
|
|
| Glass is Sooting |
|
|
| Lantern makes Clicking Sounds |
| THIS IS NORMAL |
Warranty
Register your TRAVIS INDUSTRIES, INC. Limited 1 Year Warranty online at traviswarranty.com. TRAVIS INDUSTRIES, INC. warrants this gas appliance (appliance is defined as the equipment manufactured by Travis Industries, Inc.) to be defect-free in material and workmanship to the original purchaser from the date of purchase as follows:
Check with your dealer in advance for any costs to you when arranging a warranty call. Mileage or service charges are not covered by this warranty. This charge can vary from store to store.
Year 1 COVERAGE: PARTS & LABOR
Burner Assembly:
Burner, Venturi, Flame Spreader, Orifice, Gas Control Assembly: Gas valve, cover plate and hardware, thermocouple, pilot hood, pilot gas line, piezo igniter, tip switch and wiring, LP regulator (if applicable)
Glass:
Glass (breakage from thermal shock only)
Accessories:
Wall mount bracket, in-ground post, and pier post
One-Way Freight Allowance:
One-way freight allowance on pre-authorized repair done at factory is covered.
Exclusions: Paint and Finish
CONDITIONS & EXCLUSIONS
- This new gas appliance must be installed by a qualified gas appliance technician. It must be installed, operated, and maintained at all times in accordance with the instructions in the Owner’s Manual. Any alteration, willful abuse, accident, neglect, alteration, misapplication or misuse of the product shall nullify this warranty.
- This warranty is nontransferable, and is made to the ORIGINAL purchaser, provided that the purchase was made through an authorized TRAVIS dealer.
- Discoloration and some minor expansion, contraction, or movement of certain parts and resulting noise, is normal and not a defect and, therefore, not covered under warranty. The installer must ensure the appliance is burning as per the rating tag at the time of installation. Over-firing (operation above the listed BTU rate) of this appliance can cause serious damage and will nullify this warranty.
- This warranty does not cover damage to the finish, such as scratches, dents, discoloration, rust or other weather damage, after purchase.
- Travis Industries will not be responsible for inadequate performance caused by environmental conditions such as nearby trees, buildings, roof tops, wind, hills or mountains or other influences from mechanical systems such as fans, etc.
- This Warranty is void if:
- The unit has been operated in atmospheres contaminated by chlorine, fluorine or other damaging chemicals.
- The unit is subject to submersion in water.
- Exclusions to this 1 Year Warranty include: injury, loss of use, damage, failure to function due to accident, negligence, misuse, improper installation, alteration or adjustment of the manufacturer’s settings of components, lack of proper and regular maintenance, damage incurred while the appliance is in transit, alteration, or act of God.
- This 1 Year warranty excludes damage caused by normal wear and tear, such as discoloration. Also excluded is damage to the unit caused by abuse, improper installation, modification of the unit, drilling of the orifices, or the use of fuel other than that for which the unit is configured. Units are shipped for either natural gas or propane. Confirm fuel configuration with your installer.
- Damage to stainless steel surfaces caused by fingerprints, scratches, melted items , or other external sources left on the stainless steel from the use of cleaners is not covered in this warranty.
- TRAVIS INDUSTRIES, INC. is free of liability for any damages caused by the appliance, as well as inconvenience expenses and materials. Incidental or consequential damages are not covered by this warranty. In some states, the exclusion of incidental or consequential damage may not apply.
- This warranty does not cover any loss or damage incurred by the use or removal of any component or apparatus to or from the gas appliance without the express written permission of TRAVIS INDUSTRIES, INC. and bearing a TRAVIS INDUSTRIES, INC. label of approval.
- Any statement or representation of TRAVIS products and their performance contained in TRAVIS advertising, packaging literature, or printed material is not part of this 1 year warranty.
- This warranty is automatically voided if the appliance’s serial number has been removed or altered in any way.
- No dealer, distributor, or similar person has the authority to represent or warrant TRAVIS products beyond the terms contained within this warranty. TRAVIS INDUSTRIES, INC. assumes no liability for such warranties or representations.
- Travis Industries will not cover the cost of the removal or re-installation.
- If for any reason any section of this warranty is declared invalid, the balance of the warranty remains in effect and all other clauses shall remain in effect.
- THIS 1 YEAR WARRANTY IS THE ONLY WARRANTY SUPPLIED BY TRAVIS INDUSTRIES, INC., THE MANUFACTURER OF THE APPLIANCE. ALL OTHER WARRANTIES, WHETHER EXPRESS OR IMPLIED, ARE HEREBY EXPRESSLY DISCLAIMED AND PURCHASER’S RECOURSE IS EXPRESSLY LIMITED TO THE WARRANTIES SET FORTH HEREIN.
IF WARRANTY SERVICE IS NEEDED
- If you discover a problem that you believe is covered by this warranty, you MUST REPORT it to your TRAVIS dealer WITHIN 30 DAYS, giving them proof of purchase, the purchase date, and the model name and serial number.
- Travis Industries has the option of either repairing or replacing the defective component.
- If your dealer is unable to repair your appliance’s defect during the warranty period, they will process a warranty claim through TRAVIS INDUSTRIES, INC. The dealer will require you to supply a copy of your receipt showing the date of the appliance’s purchase and the serial number on your appliance. The appliance will then be shipped, freight charges prepaid, to TRAVIS INDUSTRIES, INC. TRAVIS INDUSTRIES, INC., at its option, will repair or replace the appliance free of charge if it is found to be defective in material or workmanship within the time frame stated within this warranty. TRAVIS INDUSTRIES, INC. will return your appliance, freight charges prepaid (years 1 to 3 only) by TRAVIS INDUSTRIES, INC., to your regional distributor, or dealership.








WARNING: Make sure the igniter is sparking before continuing to step 3. The spark is best viewed by adjusting your viewing angle so eye level is level with the burner top (see the illustration to the right). The spark typically jumps from the spark electrode to the burner ring.













