Travis Industries 94900743 Tempest Torch

Tempest Torch Product Information
The Tempest Torch is an outdoor decorative gas appliance available in natural gas and propane models. It has been tested and certified by Omni-Test Laboratories, Inc. to meet ANSI Z21.97-2017/ CSA 2.41-2017, CSA 2.17-2017 safety standards for outdoor decorative gas appliances. The appliance has a unique serial number found on the safety label attached near the control panel.
Important Safety Precautions
- Installation and service must be performed by a qualified installer, service agency or gas supplier.
- Do not store or use gasoline or other flammable liquids near the appliance.
- If you smell gas, shut off the gas to the appliance, extinguish any open flame, and leave the area immediately. Call your gas supplier or fire department.
- Hot glass will cause burns. Do not touch the glass until cooled.
Never allow children to touch the glass. - Using this appliance in an enclosed space can produce carbon monoxide, which has no odor and can be deadly.
Product Usage Instructions
- Ensure the appliance is installed outdoors in a well-ventilated area according to all local codes or ANSI Z223.1 if no codes exist.
- For propane models, connect a propane gas cylinder following the manufacturer’s instructions. For natural gas models, connect to a natural gas supply line using a qualified installer.
- Turn on the gas supply to the appliance and use the control panel to ignite the flame.
- Do not touch the hot glass until it has cooled.
- When finished using the appliance, turn off the gas supply at the source and allow the appliance to cool before covering or storing.
For full warranty coverage, register your Tempest Torch by mailing in the warranty card or visiting traviswarranty.com. If any service issues may arise, contact your dealer for details.
WARNING: For Outdoor Use Only. Installation and service must be performed by a qualified installer, service agency or the gas supplier.
- If the information in this manual is not followed exactly, a fire or explosion may result causing property damage, personal injury, or loss of life.
- Do not store or use gasoline, or other flammable vapors and liquids, in the vicinity of this or any other appliance.
An LP-cylinder not connected for use shall not be stored in the vicinity of this or any other appliance.
DANGER: FIRE OR EXPLOSION HAZARD If you smell gas:
- Shut off gas to the appliance.
- Extinguish any open flame.
- If odor continues, leave the area immediately.
- After leaving the area, call your gas supplier or fire department.
Failure to follow these instructions could result in fire or explosion, which could cause property damage, personal injury, or death. - Hot glass will cause burns.
Do not touch glass until cooled.
Never allow childern to touch glass.
CARBON MONOXIDE HAZARD
This appliance can produce carbon monoxide which has no odor.
Using it in an enclosed space can kill you.
Never use this appliance in an enclosed space such as a camper, tent, car or home.
INSTALLER: Leave this manual with the appliance.
CONSUMER: Retain this manual for future reference.
French language manuals at tempesttorch.com
Manuels de langue Française à tempesttorch.com
Introduction
Overview
This manual details the installation, operation, and routine maintenance for the Tempest torch.
Listing Details
This torch was tested to ANSI Z21.97-2017 / CSA 2.41- 2017, CSA 2.17-2017 “Outdoor Decorative Gas Appliances”. The listing label is chained to the appliance. A copy is shown to the right.
Important Registration and Service Information
No other Tempest torch has the same serial number as yours. The serial number is on the safety label attached by a chain near the control panel. This serial number will be needed in case you require service of any type. To receive full warranty coverage, you will need to show evidence of the date of purchase. Mail your warranty card or visit traviswarranty.com to register your Tempest torch. If any service issues may arise, contact your dealer for details.
Safety Precautions
This appliance must be installed in accordance with all local codes, if any; if not, follow ANSI Z223.1.
This appliance must only be used outdoors in a well-ventilated area. It may not be used in a building, garage, or other enclosed space.
- This appliance is not for use with solid fuel.
- The torch must be kept clean and free of leaves and debris to insure safe operation.
- Any hose or gas-supply line that is damaged or shows evidence of excessive abrasion or wear must be replaced prior to use of the torch.
- If using a gas supply line to the torch, make sure it is properly located away from any walkway or in an area where it may be subject to accidental damage
- Educate all children and adults of the dangers of the torch. Young children should be supervised when they are in the same area as the torch. Do not let children play with the torch.
- Do not place clothing or other flammable items on or near the torch.
- Any screen or guard removed for servicing must be replaced prior to operating the torch.
- This unit must be installed and repaired by a qualified installer to prevent the possibility of an explosion. Your dealer will know the requirements in your area and can inform you of those people considered qualified. The torch should be inspected before use and at least annually by a qualified service person. More frequent cleaning may be required due to excessive debris from leaves, dirt, insects, etc.
- Do not use this appliance if any part has been under water. Immediately call a qualified service technician to inspect the appliance and to replace any part of the control system and any gas control that has been under water.
- The instructions in this manual must be strictly adhered to. Do not use makeshift methods or compromise in the installation. Improper installation will void the warranty and safety listing.
- This appliance is approved for either natural gas (NG) or propane (LP). Burning the incorrect fuel will void the warranty and safety listing and may cause an extreme safety hazard. Direct questions about the type of fuel used to your dealer. A label is placed on the control panel to show which fuel the torch is designed for (in addition, NG units have 25 burner holes, LP units have 49 burner holes).
- Contact your local building officials to obtain a permit and information on any installation restrictions or inspection requirements in your area.
- If the flame becomes sooty, dark orange in color, or extremely tall, do not operate the torch. Call your dealer and arrange for proper servicing.
- Do not operate the torch if it is not operating properly in any fashion or if you are uncertain. Call your dealer for a full explanation of your torch and what to expect.
- Do not store or use gasoline or other flammable liquids in the vicinity of this torch.
- Never remove, replace, modify or substitute any part of the torch unless instructions are given in this manual for routine maintenance and cleaning. A trained technician must do all other work. Do not modify or replace orifices.
- Allow the torch to cool before carrying out any maintenance or cleaning.
- Operate the torch according to the instructions included in this manual.
- If the burner does not start correctly turn the gas off at the gas control valve and call your dealer for service.
- Do not use this appliance to cook food.
- Instruct everyone in the house how to shut gas off to the torch and at the gas main shutoff valve. The gas main shutoff valve is usually next to the gas meter or propane tank and requires a wrench to shut off.
- Do not operate the torch during a lightning storm or a possible lightning storm.
- Do not operate the torch during high wind conditions.
- Do not install in or on recreational vehicles and/or boats.
- Do not throw this manual away. This manual has important operating and maintenance instructions that you will need at a later time. Always follow the instructions in this manual.
- Travis Industries, Inc. grants no warranty, implied or stated, for the installation or maintenance of your torch, and assumes no responsibility of any consequential damage(s).
Features and Specifications
Features:
- Maximum 20,000 BTU Input
- Removable Rain Cap
- Tempered Glass (easy to remove and clean)
- Stainless Steel Construction
- Automatic Gas Shutoff Valve for Safety
- Rotary Piezo Igniter for Easy Lighting
- Wet Weather Lighting Port for Positive Ignition
Installation Options:
- For Outdoor Installation Only
- For Fixed Line Installations Only
- Wall Mount
- Post Mount
- Pier Mount
Gas Specifications:
| NG | LP | |
| Input Rating (Btuh) High – Low | 20,000 – 14,000 | 20,000 – 17,500 |
| Orifice Size (DMS) | #50 | #55 |
| Burner Ports | 25 Holes | 49 Holes |
| Manifold Pressure | 7″ wc | 11″ wc |
| Max. Inlet Pressure | 7″ wc | 11″ wc |
Dimensions:

NOTE: All Clearances are measured from the glass (and glass frame).
Installation
(for qualified in stallers only)
Installation Warnings:
- This appliance is designed for outdoor use only, in well-ventilated areas.
- Failure to follow all of the requirements may result in property damage, bodily injury, or even death.
- This torch must be installed by a qualified installer.
- This appliance is designed to operate on natural gas, or propane (LP).
- Notify your insurance company before hooking up this appliance. All relevant information on the Tempest Torch is located on page 2, Important Information. You can fax them page 2.
- The requirements listed below are divided into sections. All requirements must be met simultaneously. The order of installation is not rigid – the qualified installer should follow the procedure best suited for the installation.
Packing List
- Main Assembly
- Burner T op
- (4) Support Bars (w screws)
- Top Plate
- Rain Cap
- 5/32” Hex Wrench
- Control Cover (pre-installed)
- (4) ¼-20 x ½” Hex Head Screws
Additional Items Required
This Torch Requires One of the Following Base Assemblies:
- Wall Mount Kit
- Post Mounting Kit
- Pier Mounting Kit
Recommended Order of Installation
- Determine the location of the torch, making sure all clearances and requirements are met (see page 7).
- Run the gas line and install through the post, pier, or wall mount (see the instructions included with these kits).
- Attach the torch assembly to the gas line and attach the torch assembly to the mount (see page 9).
- Assemble the torch (see page 10 – attach the rain cap if desired – see page 11).
- Bleed the gas line then start the torch (see page 14). Verify the torch works correctly and there are no gas leaks.
- Give this manual to the homeowner and explain operation of the torch.
Placement Requirements
For Outdoor Use Only. Install in well-ventilated areas.
Do Not Locate the Torch:
- In high-traffic areas.
- Under or near trees, plants and buildings where debris may constantly fall into the torch. Excessive debris will require high maintenance and/or cause malfunctioning of the torch.
- In places where people, children, and pets may contact the torch. Guards or fences around the torch in these locations are recommended.
- In places where the controls beneath the torch may be submerged under water. Submerging of any part of its controls will require complete replacement of the controls.
Clearances:
- The distance from ground level to the top of the torch shall be a minimum of 7 ft. (2.1M) where installed within 2 feet (0.6M) of public walkways (e.g.: sidewalk, shared walkway between two homes, or pathway in commercial applications). Lesser clearances shall be permitted to be used only where acceptable to the authority having jurisdiction.
- Keep combustibles away from the shaded heat zone of the torch (see illustration below).

Gas Line Requirements
MASSACHUSETTS INSTALLATIONS – WARNING:
THIS PRODUCT MUST BE INSTALLED BY A LICENSED PLUMBER OR GAS FITTER WHEN INSTALLED WITHIN THE COMMONWEALTH OF MASSACHUSETTS.
OTHER MASSACHUSETTS CODE REQUIREMENTS:
- Flexible connector must not be longer than 36 inches.
- Shutoff valve must be a “T” handle gas cock.
- Only direct vent sealed combustion products are approved for bedrooms or bathrooms.
- Fireplace dampers must be removed or welded in the open position prior to the installation of a fireplace insert or gas log.
- A carbon monoxide (CO) detector is required in the same room as the appliance.
- The gas line must be installed in accordance with all local codes or, in the absence of local codes, with the National Fuel Gas Code, ANSI Z223.1/NFPA 54, International Fuel Gas Code, Natural Gas and Propane Installation Code, CSA B149.1, or Propane Storage and Handling Code, B149.2, as applicable. Consult your local gas supplier or propane gas dealer for code regulations and recommended procedures.
- The torch and gas control valve must be disconnected from the gas supply piping during any pressure testing of that system at test pressures in excess of 1/2 psig. For pressures less than 1/2 psig, isolate the gas supply piping by closing the manual shut-off valve.
- Leak test all gas line joints and the gas control valve prior to and after starting the torch.
LP and NG Configuration
This torch is shipped either for natural gas or for propane. The torch is not convertible from one fuel to another. Check the sticker on the control panel to make sure the correct fuel is used. The torch has unique orifices and burners for each fuel. See the table below for details.
| NG | LP | |
| Input Rating (Btuh) | 20,000 | 20,000 |
| Orifice Size (DMS) | #50 | #55 |
| Burner Ports | 25 Holes | 49 Holes |
| Manifold Pressure | 7″ wc | 11″ wc |
| Max. Inlet Pressure | 7″ wc | 11″ wc |
Gas Line Connection
A manual shutoff valve is required on the gas supply to the torch. It should be placed upstream of the flex line. A shut-off valve is included with the optional wall-mount kit.
NOTE: This version of the tempest torch may not be connected to a portable LP cylinder.
Post Mount and Control Cover Installation
A post mount and control cover are pre-attached to the torch for use with the optional post (3” round lamp post) or pier mount. If using the wall mount, use the control cover included with the wall mount kit.
- (a) Detach the control cover from the torch assembly. Keep the two thumb screws used to attach the cover.
- (b) Slide the control cover over the post
HINT: Use low-tack tape to protect the post from scratches.
NOTE: When installing the post, make sure the post is positioned with the mounting holes 45° offset from the front. The post mount has obround holes that allow 20° of rotation (10° in each direction).
- (c) Attach the gas line.
WARNING: Take care when handling the torch assembly to not damage the gas line. - (d) Attach the torch to the post using the included ¼-20 screws.

- (e) Attach the control cover to the torch with the two thumb screws.
! The safety label slides into place between the control cover and the torch body.
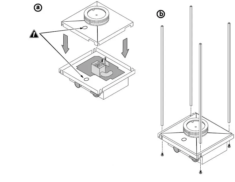
Torch Assembly
- (a) Place the burner top over the main assembly. Make sure the burner top is fully seated.
! Make sure the wet weather lighter openings line up. - (b) The support bars are shipped with two screws pre-installed. Remove the screws from the support bars and attach the four bars to the main assembly. Make sure the bars are properly aligned (square to the edge of the main assembly).

- (c) Attach the top plate.
NOTE: If using the optional rain cap, you may wish to install it now before the glass is installed (see page 13).
- (d) Slide one piece of glass into place until it contacts the support bar.
! Make sure the teflon tape is at the top of the glass with the wrap-around edge facing inwards.
HINT: Make sure the glass is clean before installing and handle with soft gloves or other non-marking material (e.g. paper towel). - (e) Use a 5/32” hex wrench to tighten the glass support bolt.
! Tighten the bolt only enough to hold the glass in place – over-tightening may break the glass.
Repeat steps “d” and “e” for the other three pieces of glass.
Post or Pier Mounted Torch (Optional)
The tempest torch may be mounted to a 3” diameter post using the included post mount. This post may be surface mounted on a deck or similar platform with the optional post base kit. If the post is placed in a remote location, it may be sunk into the ground using concrete or other suitable means. See the post or post base kit for assembly and installation instructions.
Deck Mount (post or pillar)

Free-Standing Post Mount

Wall Mounted Torch (Optional)
The tempest Lantern may be mounted to an external wall an optional wall mount kit. Make sure that all clearances are can be maintained in your application. See the wall mount kit for assembly and installation instructions.

Optional Rain Cap
The optional rain cap may be installed to suit the installation location. If the torch is located in an area where rain or plant debris is prevalent, you may wish to permanently mount the rain cap to the torch with the included nuts.
Place the rain cap on top of the torch so the four studs insert through the top plate. With one or two pieces of glass removed, secure the rain cap using the included nuts (shipped pre-attached to the rain cap).

Operation
Before You Begin
- Read this entire manual before you use your new torch, especially the section “Safety Precautions” on page 4. Failure to follow the instructions may result in property damage, bodily injury, or even death.
- Remove any cover from the torch prior to operation (the optional stainless-steel rain cap may be left in place.
- Inspect the torch to make sure it is free of debris or objects that may have fallen into the torch prior to operation.
- Inspect the torch, burner, and supply lines for any damage prior to operation. The burner must be replaced prior to the appliance being put into operation if it is evident that the burner is damaged. Use only Travis Industries replacement burners.
- It may be difficult to see the burner operating in direct sunlight.
Operating Instructions
WARNING: Do not continue to push in the valve control in if the torch does not light. By pushing the valve control in, you are allowing gas to flow to the torch, creating an explosion hazard. If the torch does not light, push the valve control in and rotate the valve to the OFF position.
Lighting the Torch – DRY WEATHER
NOTE: If re-lighting, make sure the torch remains off for a minimum of 5 minutes before re-lighting.
- Push valve control in and turn counter-clockwise to START/HIGH position, then release.
- Turn the DRY WEATHER IGNITER clockwise to create spark (continue turning while performing step #3).
WARNING: Make sure the igniter is sparking before continuing to step 3. The spark is best viewed by adjusting your viewing angle so eye level is level with the burner top (see the illustration to the right). The spark typically jumps from the spark electrode to the burner ring.
- Push and hold valve control in. Torch must light within 5 seconds. After torch lights continue to hold valve control in for 15 seconds. Note – if torch does not light use a wand lighter in the wet weather lighter opening and perform step #3 to light.

Lighting the Torch – WET WEATHER
- Push valve control in and turn counter-clockwise to START/HIGH position, then release.
- Insert a wand lighter through the WET WEATHER LIGHTER OPENING.
- With the wand lighter lit, push and hold valve control in. Torch must light within 5 seconds. Remove the wand lighter. After torch lights continue to hold valve control in for 15 seconds. Note – if torch does not light with a wand lighter directly next to the burner with the valve control pressed in in the START/HIGH position, gas is not reaching the torch.

Turning the Torch Off
- Push valve control in and turn clockwise to the OFF position. Note – if excessive wind or rain extinguishes the flame the safety control automatically turns gas off.
Maintenance
Maintaining Your Torch
Failure to inspect and maintain may lead to malfunctioning of the appliance and potentially dangerous situations.
- Inspect Torch prior to each use.
- Keep torch clean, remove any debris that collects in or on Torch. Inspect for spiders and insects, they may clog burner ports or air inlets and need be removed before using.
- Have the appliance inspected by a qualified service technician annually.
- The stainless steel burner top will discolor – this is normal.
Your Tempest torch is designed to be cleaned and maintained easily. The most common maintenance that your torch will require is glass cleaning. This is done by loosening the glass retaining screws. Each piece of glass will have its retainer. Hold the glass by the exposed edge and slide horizontally out of its tracks, the glass should slide easily if its retainer screw is loose.
Clean with glass cleaner or warm soapy water. The glass on your Tempest is tempered and designed for safety. If it breaks it will shatter into small square pieces similar to a car windshield. It is special glass and if you break one or need to replace a piece using only 3/16” thick tempered glass supplied by your Tempest Torch dealer.
To inspect for or clean debris out of the inside of your torch remove one piece of glass. This will provide access to the inside of your torch. Once your glass piece is out removed the pyramid-shaped piece with the rings on the top by lifting it straight up, once you are clear of the burner elements turn it sideways and remove it through the glass opening. This will provide you with a clear view of all the torch components, and visually check for and remove all foreign objects, vegetation, bugs, and debris. When reassembling make sure you orient the Pyramid plate correctly, the burner elements that stick up through this plate are delicate. Once oriented, slide the plate straight down onto the burner assembly making sure the edges are seated all the way down.
Winterizing The Torch.
These procedures only apply to areas where the torch will not be used during winter or for a long period of time.
- Shut off gas supply to the torch.
- Place the included rain cap over on top of the torch. If additional protection is desired, a cover may be placed over the torch, making sure it does not damage the glass.
Replacement Parts

| 1 | 250-01256 | RAIN CAP ASS’Y, TEMPEST |
| 2 | 250-01257 | VERTICLE ROD w/SCRWS, TEMPEST |
| 3 | 250-01251 | GLASS – TEMPEST |
| 4 | 250-01250 | FLAME SPREADER ASSY – NG |
| 4 | 250-01261 | FLAME SPREADER ASSY – LP |
| 5 | 250-01269 | SCW, SHCS, 10-24 x 2″ STAINLES (4) |
| 6 | 250-01252 | KNOB, TEMPEST VALVE |
| 7 | 250-01255 | PIEZO KNOB, BLACK |
| 8 | 250-01254 | PIEZO IGNITER, w/ MNTG SCRWS |
| 9 | 250-01268 | MAGNET w/OUT SHEATH (w nut) |
| 10 | 250-01253 | VALVE, TEMPEST w/NUT |
| 11 | 250-00666 | FLEX PIPE, 3/8″od x8″ BLK, |
| 12 | 250-00409 | ORIFICE, BURNER – No. 55 |
| 12 | 250-00753 | ORIFICE, BURNER – No. 50 |
| 13 | 93006523 | PILOT ELECTRODE, S.I.T. PILOT# |
| 14 | 93006518 | THERMO-COUPLE – S.I.T. # |
Replacement parts can be obtained from your Tempest torch retailer (see www.tempesttorch.com).
Troubleshooting Table
| Problem: | Possible Cause: | Don’t Call for Service Until You: |
| Torch Does Not Light | Check the shut-off valve. Gas is Off | Verify shutoff valve is turned ON. Turn Gas On |
| Igniter Does Not Spark | Igniter is wet | Use the wet-weather starting instructions. |
| Flames are too short (under 6″) | The gas supply pressure to the appliance is too low. | Depleted LP cylinder. Gas supply lines or gas regulators do not have enough capacity. This maybe due to other appliances in the house using up the available capacity, e.g. pool heaters, furnaces, hot water tanks, etc. |
| Flames are not Spiral | Torch was just turned on Windy Condition | It takes 5 to 10 minutes for the torch to start up and the flame to form a spiral. Wind will influence the flame shape |
| Glass is Sooting | Burner or burner orifice may be dirty or blocked Windy Condition | Contact your dealer for details on removing any debris (spider webs, etc.) from the burner and orifice area. Wind will influence the flame quality and, if persistent, may lead to shooting on the glass. |
| Torch makes Clicking Sounds | Glass is moving inside the glass frame and the stainless steel parts are expanding and contracting with heat | THIS IS NORMAL |
Warranty
Register your TRAVIS INDUSTRIES, INC. Limited 1-Year Warranty online at traviswarranty.com. TRAVIS INDUSTRIES, INC. warrants this gas appliance (the appliance is defined as the equipment manufactured by Travis Industries, Inc.) to be defect-free in material and workmanship to the original purchaser from the date of purchase as follows:
Check with your dealer in advance for any costs to you when arranging a warranty call. Mileage or service charges are not covered by this warranty. This charge can vary from store to store.
Year 1 COVERAGE: PARTS & LABOR
- Burner Assembly:
Burner, Venturi, Flame Spreader, Orifice, Gas Control Assembly: Gas valve, cover plate and hardware, thermocouple, pilot hood, pilot gas line, piezo igniter, tip switch and wiring, LP regulator (if applicable) - Glass:
Glass (breakage from thermal shock only) - Accessories:
Wall mount bracket, in-ground post, and pier post - One-Way Freight Allowance:
One-way freight allowance on pre-authorized repair done at the factory is covered.
Exclusions: Paint and Finish
CONDITIONS & EXCLUSIONS
- This new gas appliance must be installed by a qualified gas appliance technician. It must be installed, operated, and maintained at all times in accordance with the instructions in the Owner’s Manual. Any alteration, willful abuse, accident, neglect, alteration, misapplication, or misuse of the product shall nullify this warranty.
- This warranty is non-transferable and is made to the ORIGINAL purchaser, provided that the purchase was made through an authorized TRAVIS dealer.
- Discoloration and some minor expansion, contraction, or movement of certain parts and resulting noise, is normal and not a defect and, therefore, not covered under warranty. The installer must ensure the appliance is burning as per the rating tag at the time of installation. Overfiring (operation above the listed BTU rate) of this appliance can cause serious damage and will nullify this warranty.
- This warranty does not cover damage to the finish, such as scratches, dents, discoloration, rust or other weather damage, after purchase.
- Travis Industries will not be responsible for inadequate performance caused by environmental conditions such as nearby trees, buildings, rooftops, wind, hills or mountains or other influences from mechanical systems such as fans, etc.
- This Warranty is void if:
- The unit has been operated in atmospheres contaminated by chlorine, fluorine or other damaging chemicals.
- The unit is subject to submersion in water.
- Exclusions to this 1 Year Warranty include: injury, loss of use, damage, failure to function due to accident, negligence, misuse, improper installation, alteration or adjustment of the manufacturer’s settings of components, lack of proper and regular maintenance, damage incurred while the appliance is in transit, alteration, or act of God.
- This 1 Year warranty excludes damage caused by normal wear and tear, such as discoloration. Also excluded is damage to the unit caused by abuse, improper installation, modification of the unit, drilling of the orifices, or the use of fuel other than that for which the unit is configured. Units are shipped for either natural gas or propane. Confirm fuel configuration with your installer.
- Damage to stainless steel surfaces caused by fingerprints, scratches, melted items , or other external sources left on the stainless steel from the use of cleaners is not covered in this warranty.
- TRAVIS INDUSTRIES, INC. is free of liability for any damages caused by the appliance, as well as inconvenience expenses and materials. Incidental or consequential damages are not covered by this warranty. In some states, the exclusion of incidental or consequential damage may not apply.
- This warranty does not cover any loss or damage incurred by the use or removal of any component or apparatus to or from the gas appliance without the express written permission of TRAVIS INDUSTRIES, INC. and bearing a TRAVIS INDUSTRIES, INC. label of approval.
- Any statement or representation of TRAVIS products and their performance contained in TRAVIS advertising, packaging literature, or printed material is not part of this 1 year warranty.
- This warranty is automatically voided if the appliance’s serial number has been removed or altered in any way.
- No dealer, distributor, or similar person has the authority to represent or warrant TRAVIS products beyond the terms contained within this warranty. TRAVIS INDUSTRIES, INC. assumes no liability for such warranties or representations.
- Travis Industries will not cover the cost of the removal or re-installation.
- If for any reason any section of this warranty is declared invalid, the balance of the warranty remains in effect and all other clauses shall remain in effect.
- THIS 1 YEAR WARRANTY IS THE ONLY WARRANTY SUPPLIED BY TRAVIS INDUSTRIES, INC., THE MANUFACTURER OF THE APPLIANCE. ALL OTHER WARRANTIES, WHETHER EXPRESS OR IMPLIED, ARE HEREBY EXPRESSLY DISCLAIMED AND PURCHASER’S RECOURSE IS EXPRESSLY LIMITED TO THE WARRANTIES SET FORTH HEREIN.
IF WARRANTY SERVICE IS NEEDED:
- If you discover a problem that you believe is covered by this warranty, you MUST REPORT it to your TRAVIS dealer WITHIN 30 DAYS, giving them proof of purchase, the purchase date, and the model name and serial number.
- Travis Industries has the option of either repairing or replacing the defective component.
- If your dealer is unable to repair your appliance’s defect, he may process a warranty claim through TRAVIS INDUSTRIES, INC., including the name of the dealership where you purchased the appliance, a copy of your receipt showing the date of the appliance’s purchase, and the serial number on your appliance. At that time, you may be asked to ship your appliance, freight charges prepaid, to TRAVIS INDUSTRIES, INC. TRAVIS INDUSTRIES, INC., at its option, will repair or replace, free of charge, your TRAVIS appliance if it is found to be defective in material or workmanship within the time frame stated within this 1 year warranty. TRAVIS INDUSTRIES, INC. will return your appliance, freight charges prepaid by TRAVIS INDUSTRIES, INC., to your regional distributor, or dealership.
Tempest Torch
Owner’s Manual
Natural Gas (sku# 94900743) – Propane (sku# 94900753)
Listed by
Omni-Test Laboratories, Inc.
ANSI Z21.97-2017 / CSA 2.41-2017, CSA 2.17-2017
Outdoor Decorative Gas Appliances
Report # 0028GM083S
Copyright 2020, T.I.

(U.5.& Foreign Pat. Pending)
Report Number: 0028GM083S
Min. Clearances to Combustible Materials
- 26″ from top of glass
- 8″ from side of glass
- 2.5″ from bottom of glass
*See manual for furthur details
Tested to: ANSI Z21.97-2017 / CSA 2.41-2017 “Outdoor Decorative Gas Fireplace”, “CSA 2.17-2017. “Gas-Fired Appliances for Use at High Altitudes”, Suitable for use in elevations of 0-4500 ft (0-1370 m).
Electrical Rating: 24 VAC., 60 Hz, 1.6 Amps
For outdoor installation only. If stored indoors, detach and leave cylinder outdoors (if applicable). The gas supply must be turned off at the LP-gas supply cylinder when this appliance is not in use (if applicable). Cover must be removed when burner is in operation.
12521 Harbour Reach Drive Mukilteo, WA 98275
tempesttorch.com
























