Travis Industries 94900747 Tempest Lantern 24V
Product Information
The Tempest Lantern is an outdoor decorative gas appliance that comes in two variants: natural gas and propane. It has been tested and certified by Omni-Test Laboratories, Inc. and meets ANSI Z21.97-2017/CSA 2.41-2017 and CSA 2.17-2017 standards for outdoor decorative gas appliances. The lantern produces a flame that provides warmth and ambiance to any outdoor living space. It requires a 24V power supply to operate and must be installed and serviced by a qualified professional.
Listing Details
The Tempest Lantern has been tested and certified to meet the following standards:
- ANSI Z21.97-2017/CSA 2.41-2017 – Outdoor Decorative Gas Appliances
- CSA 2.17-2017 – Gas-Fired Appliances for Use at High Altitudes
- AGA 8-961997 – Requirement for Gas-Fired Decorative Appliances
The lantern comes with a safety label attached by a chain near the control panel. The label contains the serial number of the product, which is unique to each lantern.
Safety Precautions
It is important to follow all safety precautions when operating the Tempest Lantern. Failure to do so may result in property damage, personal injury, or loss of life. Some important safety precautions include:
- The lantern is for outdoor use only
- Installation and service must be performed by a qualified professional
- Do not store or use gasoline or other flammable liquids near the lantern
- If you smell gas, shut off the lantern and call your gas supplier or fire department
- Hot glass can cause burns. Do not touch the glass until it has cooled down
- Never allow children to touch the glass
- Using the lantern in an enclosed space can produce carbon monoxide, which is odorless and can be deadly
Product Usage Instructions
Before using the Tempest Lantern, it is important to read the user manual and follow all instructions carefully. Here are some general usage instructions:
- Choose a suitable location for the lantern, preferably on a non-combustible surface and away from any flammable materials.
- Ensure that the power supply is properly connected and that the lantern is receiving 24V power.
- Follow the instructions in the user manual to light the lantern.
- Do not leave the lantern unattended while it is in use and keep children and pets away from it.
- When you are finished using the lantern, turn it off and allow it to cool down before touching it.
- Regularly inspect the lantern for any damage or wear and tear,and perform routine maintenance as specified in the user manual.
If you experience any issues with the lantern, contact your dealer for details on how to obtain service. To receive full warranty coverage, be sure to register your Tempest Lantern by mailing in your warranty card or visiting traviswarranty.com.
WARNING: For Outdoor Use Only. Installation and service must be performed by a qualified installer, service agency, or the gas supplier.
- If the information in this manual is not followed exactly, a fire or explosion may result causing property damage, personal injury, or loss of life.
- Do not store or use gasoline, or other flammable vapors and liquids, in the vicinity of this or any other appliance.
- An LP-cylinder not connected for use shall not be stored in the vicinity of this or any other appliance.
DANGER: FIRE OR EXPLOSION HAZARD
If you smell gas:
- Shut off gas to the appliance.
- Extinguish any open flame.
- If odor continues, leave the area immediately.
- After leaving the area, call your gas supplier or fire department.
Failure to follow these instructions could result in fire or explosion, which could cause property damage, personal injury, or death.
- Hot glass will cause burns.
Do not touch glass until cooled.
Never allow children to touch glass.
INSTALLER: Leave this manual with the appliance.
CONSUMER: Retain this manual for future reference.
CARBON MONOXIDE HAZARD
This appliance can produce carbon monoxide which has no odor.
Using it in an enclosed space can kill you.
Never use this appliance in an enclosed space such as a camper, tent, car, or home.
French language manuals at tempesttorch.com
Manuels de langue Française à tempesttorch.com
Introduction
Overview
This manual details the installation, operation, and routine maintenance for the Tempest Lantern.
Listing Details
This Lantern was tested to ANSI Z21.97-2017 / CSA 2.41-2017 “Outdoor Decorative Gas
Appliances”, CSA 2.17-2017 – “Gas-Fired
Appliances for Use at High Altitudes”, AGA 8-96- 1997 “Requirement for Gas-Fired Decorative Appliances”. The listing label is chained to the appliance. A copy is shown to the right.
Important Registration and Service Information
No other Tempest Lantern has the same serial number as yours. The serial number is on the safety label attached by a chain near the control panel. This serial number will be needed in case you require service of any type. To receive full warranty coverage, you will need to show evidence of the date of purchase. Mail your warranty card or visit traviswarranty.com to register your Tempest Lantern. If any service issues may arise, contact your dealer for details.
Product Safety Precautions
This appliance must be installed in accordance with all local codes, if any; if not, follow ANSI Z223.1.
This appliance must only be used outdoors in a well-ventilated area. It may not be used in a building, garage, or other enclosed space.
- This appliance is not for use with solid fuel.
- The Lantern must be kept clean and free of leaves and debris to ensure safe operation.
- Any hose or gas supply line that is damaged or shows evidence of excessive abrasion or wear must be replaced prior to use of the Lantern.
- If using a gas supply line to the Lantern, make sure it is properly located away from any walkway or in an area where it may be subject to accidental damage.
- Educate all children and adults of the dangers of the Lantern. Young children should be supervised when they are in the same area as the Lantern. Do not let children play with the Lantern.
- Do not place clothing or other flammable items on or near the Lantern.
- Any screen or guard removed for servicing must be replaced prior to operating the Lantern.
- This unit must be installed and repaired by a qualified installer to prevent the possibility of an explosion. Your dealer will know the requirements in your area and can inform you of those people considered qualified. The Lantern should be inspected before use and at least annually by a qualified service person. More frequent cleaning may be required due to excessive debris from leaves, dirt, insects, etc.
- Do not use this appliance if any part has been underwater. Immediately call a qualified service technician to inspect the appliance and to replace any part of the control system and any gas control that has been underwater.
- The instructions in this manual must be strictly adhered to. Do not use makeshift methods or compromise in the installation. Improper installation will void the warranty and safety listing.
- This appliance is approved for either natural gas (NG) or propane (LP). Burning the incorrect fuel will void the warranty and safety listing and may cause an extreme safety hazard. Direct questions about the type of fuel used to your dealer. A label is placed on the control panel to show which fuel the Lantern is designed for (in addition, NG units have 25 burner holes, LP units have 49 burner holes).
- Contact your local building officials to obtain a permit and information on any installation restrictions or inspection requirements in your area.
- If the flame becomes sooty, dark orange in color, or extremely tall, do not operate the Lantern. Call your dealer and arrange for proper servicing.
- Do not operate the Lantern if it is not operating properly in any fashion or if you are uncertain. Call your dealer for a full explanation of your Lantern and what to expect.
- Do not store or use gasoline or other flammable liquids in the vicinity of this Lantern.
- Never remove, replace, modify or substitute any part of the Lantern unless instructions are given in this manual for routine maintenance and cleaning. A trained technician must do all other work. Do not modify or replace orifices.
- Allow the Lantern to cool before carrying out any maintenance or cleaning.
- Operate the Lantern according to the instructions included in this manual.
- If the burner does not start correctly turn the gas off at the gas control valve and call your dealer for service.
- Do not use this appliance to cook food.
- Instruct everyone in the house how to shut the gas off to the Lantern and at the gas main shutoff valve. The gas main shutoff valve is usually next to the gas meter or propane tank and requires a wrench to shut off.
- Do not operate the Lantern during a lightning storm or a possible lightning storm.
- Do not operate the Lantern during high wind conditions.
- Do not install in or on recreational vehicles and/or boats.
- Do not throw this manual away. This manual has important operating and maintenance instructions that you will need at a later time. Always follow the instructions in this manual.
- Travis Industries, Inc. grants no warranty, implied or stated, for the installation or maintenance of your Lantern, and assumes no responsibility for any consequential damage(s).
Features and Specifications
Features:
- Electronic Ignition (switch turns Lantern on or off)
- Maximum 20,000 BTU Input
- Tempered Glass (easy to remove and clean)
- Stainless Steel Construction
- Automatic Gas Shutoff Valve for Safety
Installation Options:
- For Outdoor Installation Only
- For Fixed Line Installations Only
- Wall Mount
- Post Mount
- Pillar Mount
Gas Specifications:
| NG | LP | |
| Input Rating (BTU/h) | 20,000 | 20,000 |
| Orifice Size (DMS) | #50 | #55 |
| Burner Ports | 25 Holes | 49 Holes |
| Manifold Pressure | 7″ wc | 11″ wc |
| Max. Inlet Pressure | 7″ wc | 11″ wc |
Electrical Specifications:
24 Volts AC, 1.6 amps (on startup), 40 watts (on startup)
Dimensions:

NOTE: Side clearances are measured from the glass – Top clearances are measured from the glass frame.
Installation
(qualified installers only)
Installation Warnings:
- This appliance is designed for outdoor use only, in well-ventilated areas.
- Failure to follow all of the requirements may result in property damage, bodily injury, or even death.
- This Lantern must be installed by a qualified installer.
- This appliance is designed to operate on natural gas, or propane (LP).
- This appliance requires a switched, 110v AC, GFCI (ground-fault circuit interrupter) protected power supply. This circuit provides power to the 24v AC transformer (not supplied).
- Notify your insurance company before hooking up this appliance. All relevant information on the Tempest Lantern is located on page 2, Important Information.
You provide them page 2. - The requirements listed below are divided into sections. All requirements must be met simultaneously. The order of installation is not rigid – the qualified installer should follow the procedure best suited for the installation.
Packing List
- Main Assembly
- Burner Top
- Rain Cap
- Control Cover (pre-installed)
- Glass (4 Pieces)
Additional Items Required
This Lantern Requires One of the Following Base Assemblies:
- Wall Mount Kit
- Post Mounting Kit
- Pillar Mounting Kit
This Lantern Requires a 24Volt AC transformer.
Travis Industries offers the following two transformers: - (sku# 94800829) Powers 1 to 4 Lanterns (120v and 240v inputs). See the instruction sheet included with the transformer for details.
- (sku# 94800830) Powers 1 to 6 Lanterns (120v input only with 26v and 28v output leads). See the instruction sheet included with the transformer for details.
Placement Requirements
For Outdoor Use Only. Install in well-ventilated areas.
Do Not Locate the Lantern:
- In high traffic areas.
- Under or near trees, plants, and buildings where debris may constantly fall into the
Lantern. Excessive debris will require high maintenance and/or cause malfunctioning of the Lantern. - In places where people, children, and pets may contact the Lantern. Guards or fences around the Lantern in these locations are recommended.
- In places where the controls beneath the Lantern may be submerged underwater.
Submerging of any part of its controls may require the complete replacement of the controls.
Clearances:
- The distance from ground level to the top of the Lantern shall be a minimum of 7 ft. (2.1M) where installed within 2 feet (0.6M) of public walkways (e.g.: sidewalk, shared walkway between two homes, or pathway in commercial applications). Lesser clearances shall be permitted to be used only where acceptable to the authority having jurisdiction.
- Keep combustibles away from the shaded heat zone of the Lantern (see illustration below).

Gas Line Requirements
MASSACHUSETTS INSTALLATIONS – WARNING:
THIS PRODUCT MUST BE INSTALLED BY A LICENSED PLUMBER OR GAS FITTER WHEN INSTALLED WITHIN THE COMMONWEALTH OF MASSACHUSETTS.
OTHER MASSACHUSETTS CODE REQUIREMENTS:
- Flexible connector must not be longer than 36 inches.
- Shutoff valve must be a “T” handle gas cock.
- Only direct vent sealed combustion products are approved for bedrooms or bathrooms.
- Fireplace dampers must be removed or welded in the open position prior to the installation of a fireplace insert or gas log.
- A carbon monoxide (CO) detector is required in the same room as the appliance.
- The gas line must be installed in accordance with all local codes or, in the absence of local codes, with the National Fuel Gas Code, ANSI Z223.1/NFPA 54, International Fuel Gas Code, Natural Gas and Propane Installation Code, CSA B149.1, or Propane Storage and Handling Code, B149.2, as applicable. Consult your local gas supplier or propane gas dealer for code regulations and recommended procedures.
- The Lantern and gas control module must be disconnected from the gas supply piping during any pressure testing of that system at test pressures in excess of 1/2 psig. For pressures less than 1/2 psig, isolate the gas supply piping by closing the manual shut-off valve.
- Leak test all gas line joints and the gas control valve prior to and after starting the Lantern.
LP and NG Configuration
This Lantern is shipped either for natural gas or propane. The Lantern is not convertible from one fuel to another. Check the sticker on the control panel to make sure the correct fuel is used. The Lantern has unique orifices and burners for each fuel. See the table below for details.
| NG | LP | |
| Input Rating (BTU/h) | 20,000 | 20,000 |
| Orifice Size (DMS) | #50 | #55 |
| Burner Ports | 25 Holes | 49 Holes |
| Manifold Pressure | 7″ wc | 11″ wc |
| Max. Inlet Pressure | 7″ wc | 11″ wc |
Gas Line Connection
A manual shutoff valve is required on the gas supply to the Lantern. It should be placed upstream of the control module. A shut-off valve is included with the Lantern.
Electrical Connection Requirements
- The appliance, when installed, must be electrically grounded in accordance with local codes, or in the absence of local codes with the National Electrical Code, ANSI/NFPA 70; or the Canadian Electrical Code, CSA C22.1
- The electrical line must be installed by a qualified installer and must meet all local codes. Consult your local building official for code regulations and recommended procedures.
- The 24VAC transformer may require a circuit protected by a GFCI (see local building codes).
Wiring Installation
- We recommend outdoor-suitable connectors (silicone-filled wire connectors, dielectric grease, etc.) on the power-in connections to the control module to prevent corrosion.
- Route the wires from the 24VAC transformer to the Lantern using listed wiring. The wiring is routed through the post or wall mount. Make sure to provide slack in the electrical line for removal and service.
- Each Lantern uses approximately 40 watts during startup (1.6 amps at 24VAC). Make sure the circuit and wire are sized appropriately. The Lantern requires a minimum of 21VAC to operate (if the voltage drops below this, the Lantern may not start).
- Up to 24 torches can be operated on a single 15amp 120VAC home circuit. Make sure the circuit and wiring is appropriately sized (see diagram on pg. 13.). If multiple Lanterns are powered through a single transformer, the control modules for each of the individual Lanterns may be daisy-chained together (make sure polarity is correct, see pg. 16). Make sure to leave slack in the electrical line so the head can be removed for service.
24VAC Transformer
- This Lantern must be used with a 24VAC switched circuit. The transformer is sold separately.
- Travis Industries offers the following two transformers:
- 94800829 Powers 1 to 4 Lanterns (120v and 240v inputs). See the instruction sheet included with the transformer for details.
- 94800830 Powers 1 to 6 Lanterns (120v input only with 26v and 28v output leads). See the instruction sheet included with the transformer for details.
Wire Configuration – Direct-Run vs Daisy-Chain Installations
The manner in which you wire the Lanterns to the transformer affects the maximum length of wire and wire gauge. Make sure to determine the wire configuration before installation. NOTE: You may use both direct-run and daisy-chain configurations, just make sure the maximum number of Lanterns is not exceeded.
Lantern Wiring Diagram
Control Module Wiring Diagram – July 2019 or Later

NOTE: The thermopile must connect to the control module as shown above (white/orange wire connects to the white thermopile wire and orange wire connects to red thermopile wire). Do not reverse the wires. If the wires are reversed, the Lantern will not work correctly.
Wiring Multiple Transformers to One Switch
- Multiple 24VAC transformers may be wired to a single switch (see diagram below).

Wiring Multiple Lanterns to One Transformer
The manner in which you wire the Lanterns to the transformer affects the maximum length of wire and wire gauge.
Make sure to determine the wire configuration before installation. NOTE: You may use both direct-run and daisy-chain configurations.
Polarity must be maintained in all multiple Lantern installations.
Failure to maintain polarity will result in damage to the control module.
Daisy-Chain Example

Daisy-Chain Wire Length Chart
This type of wire configuration allows for Lanterns to be wired in a series, reducing the amount of wire used. Use the charts below to determine the correct wire gauge and length. In the example below, the transformer has 3 Lanterns on one branch.
How to Calculate Wire Length: Add together all of the wire length(s) used for the entire installation. If you have one 80’ length and three 20’ lengths, your wire length would be 140’.

24 Volt Lead
| # Of Lanterns On Branch | ||||||
| Wire | 2 | 3 | 4 | 5 | 6 | |
| 14 G | min | 0′ | 0′ | 0′ | 0′ | 0′ |
| max | 113′ | 71′ | 49′ | 37′ | 28′ | |
| 12 G | min | 0′ | 0′ | 0′ | 0′ | 0′ |
| max | 173′ | 108′ | 75′ | 55′ | 43′ | |
| 10 G | min | 0′ | 0′ | 0′ | 0′ | 0′ |
| max | 266′ | 165′ | 115′ | 85′ | 65′ | |
26 Volt Lead*
| 26 Volt Lead* | # Of Lanterns On Branch | ||||||
| Wire | 2 | 3 | 4 | 5 | 6 | ||
| 14 G | min | 27′ | 10′ | 1′ | 0′ | 0′ | |
| max | 184′ | 118′ | 85′ | 65′ | 51′ | ||
| 12 G | min | 41′ | 16′ | 2′ | 0′ | 0′ | |
| max | 281′ | 179′ | 129′ | 99′ | 79′ | ||
| 10 G | min | 63′ | 23′ | 3′ | 0′ | 0′ | |
| max | 432′ | 276′ | 198′ | 151′ | 121′ | ||
| 28 Volt Lead* | # Of Lanterns On Branch | ||||||
| Wire | 2 | 3 | 4 | 5 | 6 | ||
| 14 G | min | 104′ | 62′ | 40′ | 27′ | 19′ | |
| max | 242′ | 157′ | 113′ | 88′ | 71′ | ||
| 12 G | min | 160′ | 94′ | 61′ | 41′ | 28′ | |
| max | 369′ | 238′ | 173′ | 134′ | 108′ | ||
| 10 G | min | 245′ | 144′ | 93′ | 63′ | 43′ | |
| max | 566′ | 366′ | 266′ | 206′ | 165′ | ||
Not available on some transformers.
Direct-Run Wire Length Chart
This type of wire configuration allows for long distances between the transformer and Lantern (see illustration below). Use the charts below to determine the correct wire gauge and length.

24 Volt Lead
| Wire | ||
| 14 G | min | 0′ |
| max | 242′ | |
| 12 G | min | 0′ |
| max | 369′ | |
| 10 G | min | 0′ |
| max | 566′ |
| Wire | ||
| 14 G | min | 79′ |
| max | 384′ | |
| 12 G | min | 120′ |
| max | 584′ | |
| 10 G | min | 184′ |
| max | 897′ |
| Wire | ||
| 14 G | min | 234′ |
| max | 499′ | |
| 12 G | min | 356′ |
| max | 760′ | |
| 10 G | min | 548′ |
| max | 1168′ |
Not available on some transformers.
Wiring Examples:
Daisy-Chain Installations:
- When using 3 Lanterns on one branch, 14 G wire, and 150’ of wire, use the 28V Lead.
- When using 4 Lanterns on one branch, 10 G wire, and 100’ of wire, use the 24V Lead.
Direct Run Installations:
- When using a Lantern on a 200’ run, 14 G wire, use the 24V Lead.
- When using 6 Lanterns, each on a 200’ run, 14 G wire, use the 24V Lead.
How to Determine Wire Gauge: When purchasing your wire, it should include wire gauge (the larger the number, the smaller the diameter wire). The wire will also be printed with a gauge number (e.g. AWG#14 = 14 gauge, 10AWG = 10 gauge, etc.). Do not use wires of dissimilar gauges (do not use 14 gauge & 10 gauge wire on the same transformer).
Polarity
WARNING: Make sure to keep polarity between Lanterns the same.
Do not allow a yellow wire to connect to a white/yellow wire (keep polarity the same).
IF YOU REVERSE POLARITY, PERMANENT DAMAGE WILL OCCUR.
- When wiring multiple Lanterns together using a single 24VAC transformer, it is important that the polarity between the Lanterns are connected in parallel (all yellow wires connected together and all white/yellow stripe wires connected together). Polarity between the Lanterns and the transformer does not matter.

Post Mount and Control Cover Installation
A post mount is pre-attached to the Lantern for use with the optional post (3” round lamp post) or pillar mount. If using the wall mount, use the control cover included with the wall mount kit.
- (a) If using a post mount, slide the control cover over the post.
HINT: Use low-tack tape to protect the post from scratches.
NOTE: When installing the post, make sure the post is positioned with the mounting holes 45° offset from the front. The post mount has obround holes that allow 20° of rotation (10° in each direction).
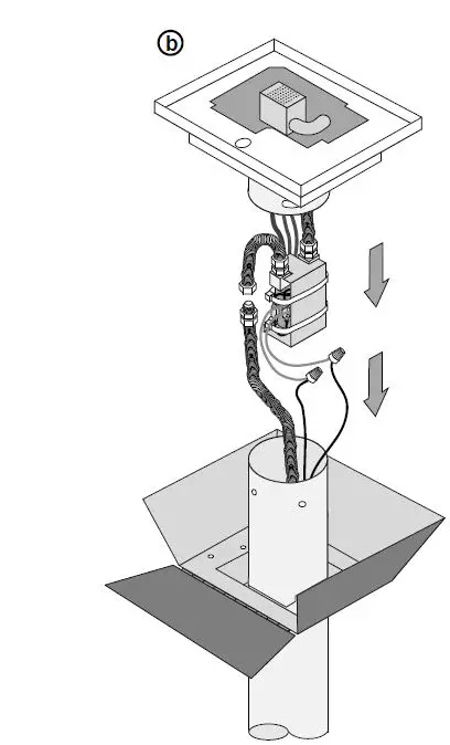
- (b) Attach the gas and electrical lines.
WARNING: Take care when handling the Lantern assembly to not damage the gas or electrical line.
- (c) Attach the Lantern to the post using the included ¼- 20 screws.

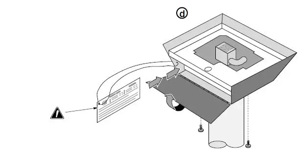
- (d) Attach the control cover to the Lantern with the two thumbscrews.
The safety label slides into place between the control cover and the Lantern body.
Lantern Assembly
- (a) Place the burner top over the main assembly. Make sure the burner top is fully seated.
Make sure the igniter element lines up with the hole on the burner top.
- (b) Slide the glass panels into place by aligning each panel with one of the slots in the top plate of the Lantern. Support the glass panels as you lower them into place to avoid damaging them.
HINT: Make sure the glass is clean before installing and handle with soft gloves or other non-marking material (e.g. paper towel).
- (c) Place the rain cap on the top of the Lantern glass assembly. The cap will friction fit to assembly.

Post or Pier Mounted Lantern (Optional
The Tempest Lantern may be mounted to a 3” diameter post using the included post mount. This post may be surface mounted on a deck or similar platform with the optional post base kit. If the post is placed in a remote location, it may be sunk into the ground using concrete or other suitable means. See the post or post base kit for assembly and installation instructions.
Deck Mount (post or pillar)

Free-Standing Post Mount

Wall Mounted Lantern (Optional)
The Tempest Lantern may be mounted to an external wall using the optional wall mount kit. Make sure that all clearances are maintained in your application. See the wall mount kit for assembly and installation instructions.

Before You Begin
- Read this entire manual before you use your new Lantern, especially the section “Safety Precautions” on page 4. Failure to follow the instructions may result in property damage, bodily injury, or even death.
- Remove any cover from the Lantern prior to operation (the optional stainless-steel rain cap may be left in place.
- Inspect the Lantern to make sure it is free of debris or objects that may have fallen into the Lantern prior to operation.
- Inspect the Lantern, burner, and supply lines for any damage prior to operation. The burner must be replaced prior to the appliance being put into operation if it is evident that the burner is damaged. Use only Travis Industries replacement burners.
- It may be difficult to see the burner operating in direct sunlight.
Operating Instructions
WARNING: This gas Lantern is automated, it runs off of an electric ignition system and may not be lit with a lighter or matches.
How your Lantern works
Ignition
When you switch the Lantern on, electrical power is supplied to the control module, starting the ignition sequence.
During ignition, the igniter will glow red (the ignitor is visible behind the burner rings on the Lantern). Gas is then turned on to the Lantern. The Lantern will ignite and the flame sensor will signal the control module that the Lantern is lit and the igniter will then turn off.
NOTE: In rare cases, the Lantern will fail to light. In these cases the Lantern will wait 30 seconds, then re-start the 35-second ignition sequence. The control module will try to re-start the Lantern a total of 3 times. If it fails to light after three tries, the Lantern will then shut off. To re-start, turn the switch off, wait 3 seconds, then turn the switch on.
Lantern in Operation
The Lantern, once lit, will stay lit until power to the Lantern is turned off. If gas flow is interrupted, or if wind blowsout the flame, the Lantern will start the ignition sequence. If you cycle power to a Hot Lantern (turn off and back on) it may take up to 1 minute for the Lantern to start the ignition sequence.
Multiple Lanterns
Each Lantern operates independently. If you install multiple Lanterns on one power switch and need to turn one of the Lanterns off, shut the gas off to the specific Lantern. Shutting one Lantern off will not affect the others.
Safety Circuit
Each Lantern has a built in safety circuit that only allows gas to flow during the ignition sequence and when the Lantern is lit. This prevents gas build-up. The safety circuit relies upon a flame sensor to keep the gas valve open. If the flame goes out the control module will shut the gas off then try to relight the Lantern. Your Lantern can not be operated manually, if a problem persists consult the troubleshooting guide (pg 25) and call a qualified service technician if needed.
Lantern Operation Options
Your Lantern is operated from an electrical circuit similar to an exterior light. You can set up one or many
Lanterns on a single power supply. Lanterns may be set up and operated from any system that a house or exterior light could be operated from. Some examples are:
- Wall switch
- Smartphone when used with “Smart” wall switch
- Smart home control system
- Timer
- Remote control
Maintenance
Maintaining Your Lantern
Failure to inspect and maintain may lead to malfunctioning of the appliance and potentially dangerous situations.
- Inspect Lantern prior to each use.
- Keep Lantern clean, remove any debris that collects in or on Lantern. Inspect for spiders and insects, they may clog burner ports or air inlets and need be removed before using.
- Have the appliance inspected by a qualified service technician annually.
- The stainless steel burner top will discolor – this is normal.
Your Tempest Lantern is designed to be cleaned and maintained easily. The most common maintenance that your Lantern will require is glass cleaning. This is done by loosening the glass retaining screws.
Each piece of glass will have its own retainer. Hold the glass by the exposed edge and slide horizontally out of its tracks, the glass should slide easily if its retainer screw is loose.
Clean with glass cleaner or warm soapy water. The glass on your Tempest is tempered and designed for safety. If it breaks it will shatter into small square pieces similar to a car windshield. It is special glass and if you break one or need to replace a piece use only 3/16” thick tempered glass supplied by your Tempest Lantern dealer.
To inspect for or clean debris out of the inside of your Lantern remove one piece of glass. This will provide access to the inside of your Lantern. Once your glass piece is removed the pyramid shaped piece with the rings on the top by lifting it straight up, once you are clear of the burner elements turn it sideways and remove through the glass opening. This will provide you a clear view of all the Lantern components,visually check for and remove all foreign objects, vegetation, bugs, debris. When reassembling make sure you orient the Pyramid plate correctly, the burner elements that stick up through this plate are delicate.
Once oriented, slide the plate straight down onto the burner assembly making sure the edges are seated all the way down.
Winterizing the Lantern.
In areas where the Lantern may not be used in winter, or for an extended period, you may wish to shut off gas to the Lantern. This will ensure the Lantern is not accidentally turned on or started with debris or snow inside the Lantern.
WARNING: Do not cover the Lantern. A cover could combust if it is in place when the Lantern is turned on,creating a severe safety hazard.
Replacement Parts

| ID# | Description | Qty. | Part # |
| 1 | Control Module | 1 | 250-04553 |
| 2 | Control Module Assembly | 1 | 250-04552 |
| 3 | Gas Control Valve | 1 | 250-04554 |
| 4 | Thermopile | 1 | 250-04550 |
| 5 | Ignitor | 1 | 250-04549 |
| 6 | Burner Assembly – NG | 1 | 250-05516 |
| 6 | Burner Assembly – LP | 1 | 250-05515 |
| 7 | Lower Base Assembly | 1 | 250-05518 |
| 8 | Rain Cap Assembly | 1 | 250-05512 |
| 9 | Glass Frame Assembly | 1 | 250-05513 |
| 10 | Base Cover | 1 | 250-05514 |
| 11 | Glass | 4 | 250-01251 |
| 12 | Flame Spreader NG | 1 | 250-01790 |
| 12 | Flame Spreader LP | 1 | 250-01791 |
Replacement parts can be obtained from your Tempest Lantern retailer (see www.tempesttorch.com).
Troubleshooting Table
| Problem: | Possible Cause: | Don’t Call for Service Until You: |
| Lantern Does Not Light and igniter does not Glow Red | · Electrical Power Off · Igniter burned out | Verify power is on and check circuit breaker or GFCI. Replace Igniter |
| Lantern Does Not Light and Igniter Glows Red | · Gas is Off · Not enough electrical current to the Lantern | Turn Gas On (check shut-off valve) Voltage must be checked with power draw (Lantern in startup) |
| Lantern Lights During Ignition Sequence then Goes Out During Normal Operation | · Dirty Air Channel or Burner · Polarity between Lanterns not correct · Thermopile worn out | Remove glass and clean soot from pyramid plate, burner, and any air channels. If problem persists, contact dealer for service. Fix polarity Replace thermopile |
| Flames are too short (under 6″) | · The gas supply pressure to the appliance is too low. | Depleted LP cylinder. Gas supply lines or gas regulators do not have enough capacity. This may be due to other appliances in the house using up the available capacity, e.g. pool heaters, furnaces, hot water tanks, etc. |
| Flames are not Spiral | · Lantern was just turned on · Windy Condition | It takes 5 to 10 minutes for the Lantern to start up and the flame to form a spiral. Wind will influence the flame shape |
| Glass is Sooting | · Wrong fuel type for Lantern · Burner or burner orifice may be dirty or blocked · Windy Condition | Make sure LP head with LP gas and NG head with NG gas Contact your dealer for details on removing any debris (spider webs, etc.) from the burner and orifice area. Wind will influence the flame quality and, if persistent, may lead to sooting on the glass. |
| Lantern makes Clicking Sounds | · Glass is moving inside the glass frame and the stainless steel parts are expanding and contracting with heat | THIS IS NORMAL |
Warranty
© Travis Industries, Inc. 8/2/22 – 1534 Tempest Lantern 24v
Register your TRAVIS INDUSTRIES, INC. Limited 1 Year Warranty online at traviswarranty.com. TRAVIS INDUSTRIES, INC. warrants this gas
appliance (appliance is defined as the equipment manufactured by Travis Industries, Inc.) to be defect-free in material and workmanship to the original
purchaser from the date of purchase as follows:
Check with your dealer in advance for any costs to you when arranging a warranty call. Mileage or service charges are not covered by this warranty. This charge can vary from store to store.
90 Day Coverage: PARTS & LABOR
- Burner Assembly:
Burner, Venturi, Flame Spreader, Orifice, Gas valve - Glass:
Glass (breakage from thermal shock only) - Accessories:
Wall mount bracket, in-ground post, and pillar post - One-Way Freight Allowance:
One-way freight allowance on pre-authorized repair done at factory is covered. - Electrical Components:
Flame Sensor, Transformer, Wire Harness, Control Module, Igniter
Exclusions: Paint and Finish
Year 1 Coverage: PARTS & LABOR
- Burner Assembly:
Burner, Venturi, Flame Spreader, Orifice, Gas valve - Glass:
Glass (breakage from thermal shock only) - Accessories:
Wall mount bracket, in-ground post, and pillar post - One-Way Freight Allowance:
One-way freight allowance on pre-authorized repair done at factory is covered.
Exclusions: Paint and Finish, Electrical Components
CONDITIONS & EXCLUSIONS
- This new gas appliance must be installed by a qualified gas appliance technician. It must be installed, operated, and maintained at all times in accordance with the instructions in the Owner’s Manual. Any alteration, willful abuse, accident, neglect, alteration, misapplication, or misuse of the product shall nullify this warranty.
- This warranty is non-transferable and is made to the ORIGINAL purchaser, provided that the purchase was made through an authorized TRAVIS dealer.
- Discoloration and some minor expansion, contraction, or movement of certain parts and resulting noise, is normal and not a defect and, therefore, not covered under warranty. The installer must ensure the appliance is burning as per the rating tag at the time of installation. Over-firing (operation above the listed BTU rate) of this appliance can cause serious damage and will nullify this warranty.
- This warranty does not cover damage to the finish, such as scratches, dents, discoloration, rust, or other weather damage, after purchase.
- Travis Industries will not be responsible for inadequate performance caused by environmental conditions such as nearby trees, buildings, roof tops, wind, hills or mountains, or other influences from mechanical systems such as fans, etc.
- This Warranty is void if:
- The unit has been operated in atmospheres contaminated by chlorine, fluorine, or other damaging chemicals.
- The unit is subject to submersion in water.
- Exclusions to this 1 Year Warranty include: injury, loss of use, damage, failure to function due to accident, negligence, misuse, improper installation, alteration or adjustment of the manufacturer’s settings of components, lack of proper and regular maintenance, damage incurred while the appliance is in transit, alteration, or act of God.
- This 1 Year warranty excludes damage caused by normal wear and tear, such as discoloration. Also excluded is damage to the unit caused by abuse, improper installation, modification of the unit, drilling of the orifices, or the use of fuel other than that for which the unit is configured. Units are shipped for either natural gas or propane. Confirm fuel configuration with your installer.
- Damage to stainless steel surfaces caused by fingerprints, scratches, melted items, or other external sources left on the stainless steel from the use of cleaners is not covered in this warranty.
- TRAVIS INDUSTRIES, INC. is free of liability for any damages caused by the appliance, as well as inconvenience expenses and materials. Incidental or consequential damages are not covered by this warranty. In some states, the exclusion of incidental or consequential damage may not apply.
- This warranty does not cover any loss or damage incurred by the use or removal of any component or apparatus to or from the gas appliance without the express written permission of TRAVIS INDUSTRIES, INC. and bearing a TRAVIS INDUSTRIES, INC. label of approval.
- Any statement or representation of TRAVIS products and their performance contained in TRAVIS advertising, packaging literature, or printed material is not part of this 1-year warranty.
- This warranty is automatically voided if the appliance’s serial number has been removed or altered in any way.
- No dealer, distributor, or similar person has the authority to represent or warrant TRAVIS products beyond the terms contained within this warranty. TRAVIS INDUSTRIES, INC. assumes no liability for such warranties or representations.
- Travis Industries will not cover the cost of the removal or re-installation.
- If for any reason any section of this warranty is declared invalid, the balance of the warranty remains in effect and all other clauses shall remain in effect.
- THIS 1 YEAR WARRANTY IS THE ONLY WARRANTY SUPPLIED BY TRAVIS INDUSTRIES, INC., THE MANUFACTURER OF THE APPLIANCE. ALL OTHER WARRANTIES, WHETHER EXPRESS OR IMPLIED, ARE HEREBY EXPRESSLY DISCLAIMED AND PURCHASER’S RECOURSE IS EXPRESSLY LIMITED TO THE WARRANTIES SET FORTH HEREIN.
IF WARRANTY SERVICE IS NEEDED:
- If you discover a problem that you believe is covered by this warranty, you MUST REPORT it to your TRAVIS dealer WITHIN 30 DAYS, giving them proof of purchase,the purchase date, and the model name and serial number.
- Travis Industries has the option of either repairing or replacing the defective component.
- If your dealer is unable to repair your appliance’s defect during the warranty period, they will process a warranty claim through TRAVIS INDUSTRIES, INC. The dealer will require you to supply a copy of your receipt showing the date of the appliance’s purchase and the serial number on your appliance. The appliance will then be shipped, freight charges prepaid, to TRAVIS INDUSTRIES, INC. TRAVIS INDUSTRIES, INC., at its option, will repair or replace the appliance free of charge if it is found to be defective in material or workmanship within the time frame stated within this warranty. TRAVIS INDUSTRIES, INC. will return your appliance, freight charges prepaid (years 1 to 3 only) by TRAVIS INDUSTRIES, INC., to your regional distributor, or dealership.
Tempest Lantern 24V
Owner’s Manual
Natural Gas (sku 94900747) – Propane (sku 94900757)
Listed by
Omni-Test Laboratories, Inc.
ANSI Z21.97-2017 /CSA 2.41-2017, CSA 2.17-2017
Outdoor Decorative Gas Appliances
Report # 0028GM083S
(U.S.& Foreign Pat. Pending)
Report Number: 0028GM083S
Min. Clearances to Combustible Materials
- 26″ from top of glass
- 8″ from side of glass
- 2.5″ from bottom of glass
See manual for furthur details
Tested to: ANSI Z21.97-2017/ CSA 2.41-2017 “Outdoor Decorative Gas Fireplace”, “CSA 2.17-2017. “Gas-Fired Appliances for Use at High Altitudes”, Suitable for use in elevations of 0-4500 ft (0-1370 m). Electrical Rating: 24 VAC., 60 Hz, 1.6 Amps For outdoor installation only. If stored indoors, detach and leave cylinder outdoors (if applicable). The gas supply must be turned off at the LP-gas supply cylinder when this appliance is not in use (if applicable). Cover must be removed when burner is in operation.

12521 Harbour Reach Drive Mukilteo, WA 98275
tempesttorch.com






















