levoit LTM-A401S-WUS Aura Smart Thermostat User Manual

Package Contents
1x Aura Smart Thermostat
1x Backplate
1x Power Extender Kit
4 x Screw
4 x Wall Anchor
1 x User Manual
1 x Wire Tag Set
Specifications

SPECIFICATIONS (CONT.)

Compatibility
- 2H/2C Conventional Systems
- 4H/2C Heat Pump Systems or Dual Fuel Systems
- Systems with Re and Rh Terminals (for separate heating and cooling power supplies)
Nate: To access additional smart functions, download the free VeSync opp (see page 45).
Important:
This user manual only includes installation and simple setup instructions. For the extended digital manual, which includes full operating instructions and a user
guide, scan the QR code.
You can also type the following link into a web browser: www.levoit.com/1tms401swus/downloads
READ AND SAVE THESE INSTRUCTIONS SAFETY INFORMATION
Please read and follow all instructions and safety guidelines in this manual
Installation
- Before installing and wiring, TURN OFF your HVAC system by turning off the appropriate switch or locking the appropriate circuit breaker in the OFF position.
- Only install the thermostat if you are comfortable with electrical work. If not, contact a qualified electrician. Improper installation will increase risk of fire, electric shock, and other injuries.
- The thermostat must be installed and used in accordance with the National Electric Code (NEC) or your local electrical code.
- Do not install the thermostat with wet hands.
Note: Levoit cannot guarantee the quality of installation, and cannot cover associated costs.
General Safety
- Only install and use the thermostat indoors, in a dry location, and avoiding extreme heat and freezing temperatures.
- Do not modify the thermostat hardware or software.
- Not for commercial use. Household use only.
Function Diagram
A. Smart Thermostat
B. Backplate
C. Power Extender Kit (PEK)

INSTALLATION GUIDE
What You’ll Need
- Electric drill
- 3/16-inch drill bit
- Small flat head screwdriver
- Philips head screwdriver

Removing Your Old Thermostat
- Turn off your HVAC system
WARNING: For your safety, you must turn off your HVAC system before removing your old thermostat.
Every HVAC system is different, but usually you turn off a master switch or switch the system off in your home’s breaker box. [Figure 1,1]
Note: The master switch or breaker box is often found in your basement, attic, garage, or utility closet.

Confirm that the HVAC system is turned off by adjusting the temperature on the thermostat, waiting a few minutes, and making sure that the HVAC does not turn on.
REMOVING YOUR OLD THERMOSTAT (CONT.)
2. Remove your old thermostat
Remove your old thermostat from the wall. Every thermostat is different, but usually you will need to push a tab on the
edge of the thermostat and separate the thermostat from the backplate. [Figure 1.2]
Note: Only remove the old thermostat. Do not remove the backplate from the wall yet.

REMOVING YOUR OLD THERMOSTAT (CONT.)
3. Check for compatibility
Inspect the wires leading into the backplate.
If you find thick wires with wire nuts, or if the voltage of your HVAC system is 120V or higher, then your system
is not compatible with this smart thermostat. [Figure 1.3]
Contact Customer Support (see page 57).
REMOVING YOUR OLD THERMOSTAT (CONT.)
4. Take a photo
Before removing wires, take a picture of how the wires connect to the terminal of your old thermostat. [Figure 1,4]
You may need to reference this photo later.

REMOVING YOUR OLD THERMOSTAT (CONT.)
5. Find the Thermostat Labels in the included wire tag set. Label the wires according to the corresponding terminals. [Figure 1.5]
If there are any jumper wires (wires connecting different terminals together), do not label these wires. [Figure 1.6]
Remove them and store them with your old thermostat.
The terminals on your old thermostat may already have 2 different sets of labeling-one set for a conventional HVAC system and one set for a heat pump system. If your system has a heat pump, make sure to follow the heat pump labeling.

Not.: ff you are unsure whether your system has a heat pump, we recommend that you research your HVAC
system onfine or contact Customer Support (see page 57).
REMOVING YOUR OLD THERMOSTAT (CONT.)
6. Carefully disconnect the wires. Each thermostat is different, but usually you use a Philips head screwdriver to loosen a screw or press a release button to remove the wire. Important:
Check if you have a C wire connected to your old thermostat. The C wire is used to provide power to the thermostat. [Figure 1.7]
If you have a C wire, go to Installing Thermostat with a C Wire (page 15).
If you do not have a C wire, go to Installing Thermostat without a C Wire (page 22).

Installing Thermostat with a C Wire:
Note: If your system hos a C wire, you do not need to install the power extender kit (PEK). The thermostat will use the C wire for power.
1. Remove the old backplate
Unscrew the old backplate from the wall. [Figure 2.1] Hold the wires and carefully pull the backplate from the wall, making sure the wires do not fall into the wall.

INSTALLING THERMOSTAT WITH AC WIRE (CONT.)
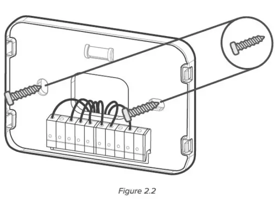
2. Attach the new backplate
Insert the wires through the hole in the new backplate. Use an electric drill to attach the backplate to the wall with the
provided wall anchors and screws. [Figure 2,2]

INSTALLING THERMOSTAT WITH AC WIRE (CONT.)
3. Connect the wires
Connect the wires to the corresponding terminals on the backplate (see Wiring Diagrams, page 36). [Figure 2.3]
When you are finished, take a picture.
You may need to refer to the connections in this photo while setting up the thermostat.

INSTALLING THERMOSTAT WITH AC WIRE (CONT.)
About R Wires:
- If you have more than one R wire (R wires include R, Re, and Rh):
- Connect the R or Re wire to the Re terminal, and connect the Rh wire to the Rh terminal. If you only have one R wire (R wires include R, Re, and Rh):
- Connect the R wire-R, Re, or Rh-to the Re terminal.
INSTALLING THERMOSTAT WITH AC WIRE (CONT.)
4. Adjust the jumper (DIP switch)
Turn the thermostat over. Adjust the jumper switch as follows [Figure 2.4]:
- If you have connected wires to both the Re and Rh terminals on the backplate, then adjust the jumper switch to OFF.
- If not, then adjust the jumper switch to ON.

INSTALLING THERMOSTAT WITH AC WIRE (CONT.)
5. Place the thermostat
Make sure all wiring is pushed inside the wall. Carefully press the thermostat into the backplate until it clicks securely into place. [Figure 2.5]
Not.: Cover any gaps in the wall around the thermostat. Airflow from holes may affect temperature readings.

INSTALLING THERMOSTAT WITH AC WIRE (CONT.)
6. Turn on your HVAC system
Turn your HVAC system back on. [Figure 2.6] If installation was successful, the thermostat display screen will turn on.
You are now ready to set up your thermostat (see Getting Started. page 41).
Note: If the thermostat display does not turn on, please see Troubleshooting, page 47.

Installing Thermostat without a C Wire
If your system does not have a C wire, you must install the power extender kit (PEK). The PEK connects to your thermostat wires to create a circuit that provides power to your thermostat.
Power Extender Kit (PEK)
The PEK has 4 terminals on one side and 5 terminals on the other side.
- The side with 4 terminals is not pre-wired. Connect the thermostat wires to the terminals.
- The side with 5 terminals is pre-wired to connect to your HVAC control board.

Compatibility
The power extender kit (PEK) requires that your HVAC system has one of the following sets of wires:
4 Wires: W/W1, Y/Y1, G, and R (including Re or Rh)
or
3 Wires: Y/Y1, G, and R (including Re or Rh)
If your HVAC does not have these wires, your system may not be compatible with the PEK.
INSTALLING THERMOSTAT WITHOUT AC WIRE (CONT.)
- Identify the thermostat terminals on your HVAC
Find the control board of your HVAC system (typically, there is a cover you can pull off to reveal the control board). [Figure3.1]
Take a picture of the wires connected to the terminals that control your thermostat.
You may need to reference this photo later.
INSTALLING THERMOSTAT WITHOUT AC WIRE (CONT.)
2. Label the thermostat wires
Find the PEK Labels in the included wire tag set. Use these to label the wires on the HVAC’s control board according to the corresponding terminals. [Figure 3.2]

3. Disconnect the thermostat wires
If you’re using 4 wires, carefully disconnect the W/W1, G, Y/Y1, and R wires from the control board terminals. [Figure 3.3]
Note: If you’re only using 3 wires, you will only need to disconnect the G, Y/Y1, and R wires.

4. Connect the thermostat wires to the PEK
Connect the thermostat wires from the control board to the corresponding terminals on the PEK. [Figure3.4]

5. Connect the PEK wires to the control board
Connect the wires on the pre-wired side of the PEK r,N, C, G, Y, and R wires) to the corresponding 5 terminals on the control board. [Figure 3.5]
Take a picture of the wires connected to the PEK and the terminals on the control board.
You may need to reference this photo later.

6. Position the PEK
The PEK should be securely placed between the thermostat wiring and the control board. [Figure 3.6]
Replace the cover on your HVAC system, then return to your thermostat.

7. Remove the old backplate
Unscrew the old backplate from the wall. [Figure 3.7] Hold the wires and carefully pull the backplate from the wall, making sure the wires do not fall into the wall.























