WAREHOUSE WMG Dimmable and CCT Tunable

INSTALLATION
MOUNTING -Wall pack is designed to allow for a variety of mounting configurations. It can be mounted directly to a recessed junction box or mounted directly to the wall . Do not install up . NOT INTENDED FOR MOUNTING INVERTED OR ON CEILING

- Seperate front cover and the back of the rear housing, disconnect the wires between driver and PCB board
- Look at the back of the rear housing to locate the pre-cast locators which allow for lag-bolt surface mounting.
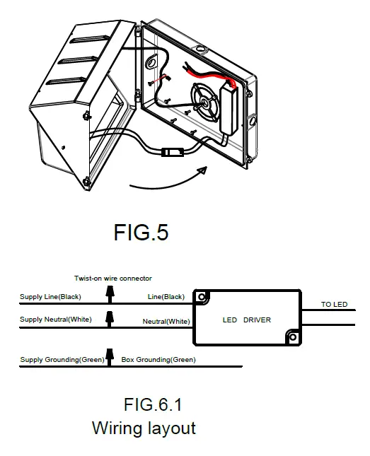
- Using a hammer and punch, prepare the housing by knocking out only the appropriate mounting holes.FIG.3). or FIG.4).Attach conduit to fixture and secure fixture to wall.


- Remove the appropriate threaded plug (top of sides) from housing to allow conduit entry
- Attach conduit to fixture and secure fixture to wall
NOTE: All unused conduit entries must be plugged - Please refer to (Figure 6.1; Figure 6.2; Figure 6.3 or Figure 6.4 ) for wire connection

Note: The ground wire in the front cover must be connected to the ground wire in the rear frame.
|
|
| RISK OF FIRE – Led are hot.Keep combustible material away from hot parts. RISK OF FIRE Observe lamp manufacturer’s warnings, recommenda-tions and restrictions on lamp operation and maintenance Warning: To avoid the risk of fire, explosion, or electric shock, this product should be installed, inspected,and maintained by a qualified electrician only, in accordance with all applicable electrical codes. Warning: To avoid electric shock: •Be certain electrical power is OFF before and during installation and maintenance. •Luminaire must be connected to a wiring system with an equipment- grounding conductor. Warning: To avoid explosion: •Make sure the supply voltage is the same as the rated luminaire voltage. •Do not install where marked operating temperatures exceed the ignition temperature of the hazardous atmosphere. •Do not operate in ambient temperatures above those indicated on the luminaire nameplate. WARNING: FAILURE TO FOLLOW THESE INSTRUCTIONS AND WARNINGS MAY RESULT IN DEATH,INJURY, OR SIGNIFICANT PROPERTY DAMAGE – For your protection, read and follow these warnings and instructions carefully before installing or maintaining this fixture. These instructions do not attempt to cover all installation and maintenance situations. If you do not understand these instructions or additional information is required, contact Thailight Lighting or your local Thailight Lighting distributor. WARNING: RISK OF ELECTRIC SHOCK – To avoid electric shock, serious injury, or death, be certain that all electrical power is disconnected from the supply branch circuit conductors before installing or maintaining this fixture. This product must be installed and maintained in accordance with the applicable installation codes by a person familiar with the construction and operation of the product and the hazards involved. |
Wiring diagram
Make sure all wiring access holes are sealed with weatherproof silicone sealant.
Model number parameter list
| Model | Input Voltage | Watt | Input Current |
| WMX-SM-15-30W-xxK |
100-277VAC | 15W/20W/25W/30W | 0.35 A |
| WMX-MD-20-50W-xxK | 20W/30W/40W/50W | 0.6 A | |
| WMX-MD-20-80W-xxK | 20W/40W/60W/80W | 1.0 A | |
| WMX-LG-50-120W-xxK | 50W/80W/100W/120W | 1.4 A | |
| WMXPRO-SM-15-30W-MCTP | 15W/20W/25W/30W | 0.35 A | |
| WMXPRO-MD-20-60W-MCTP | 20W/30W/50W/60W | 0.6 A | |
| WMXPRO-MD-20-80W-MCTP | 20W/40W/60W/80W | 1.0 A | |
| WMXPRO-LG-50-120W-MCTP | 50W/80W/100W/120W | 1.4 A |
Model description :xx=CCT (30=3000K, 40=4000K, 50=5000K)
CAUTION:
This product use an input 100-277VAC driver of wide range voltage,but the actual working voltage is depend on the input voltage of the photocell that installed on the product. Normally the input voltage of photocell is 120V/208V/240V/277V/347V/480V. single range, and also have100-277VAC & 277-480VAC wide range,please note the distinction
After installation, please
- check whether the lighting fixture is firmly fixed.
- check whether wires are connected correctly.
At last, turn on the power, and check if the lighting fixture works well. If not, please turn off the power and contact with local dealer.
Warning: the luminaire shall be installed by qualified electrician.
Warehouse-Lighting.com
Phone: 888-454-4480
[email protected]
Warehouse-Lighting.com 2750 South 163rd St New Berlin, WI 53151























