QAZQA 98225 Platin HL Satin Dimmable 120

Pendent Lamp
incl.LED QL7001106
2700lm Moudule
1600lm lamp
22W LED Module
24W Lamp
220-240V~ 50Hz
2700K
CRI>80
20000 h
15000 ON/OFF


This product contains a light source of energy efficiency class F
Replaceable (LED only) light source by a professional.
Replaceable control gear by a professional.
SAFETY INSTRUCTION
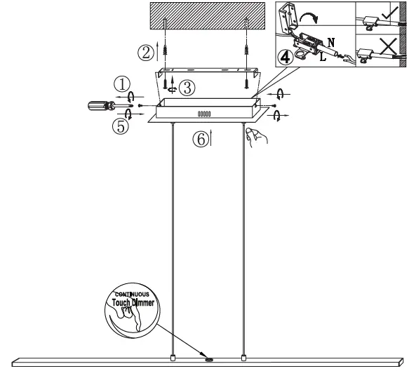
Please study the instruction manual and below information carefully before installing or using this product. Please keep this user manual for further reference
- The luminaires may only be installed by authorized and qualified technicians according the valid regulations for electrical installation.
- Maintenance of the luminaires is limited to their surfaces. During maintenance no moisture can come into contact with any areas of the terminal connections or voltage control parts.
- The electrical supply must be switched off at the outset, preferably by means of a switch in the distribution box, before any installation, maintenance or repair work is undertaken.
- Exterior lighting must not be installed during rain.
- Take account of the minimal separation distance from other objects and the room required around the fitting.
- If in any doubt, consult a professional, taking local installation requirements into account. Some countries stipulate that lighting may be installed only by registered installers.
- Clamping screws in electrical connections must be adequately tightened. This is particularly the case with 12V low voltage conductors.
- Clean with a clean, dry cloth or brush, use no solvents or abrasives. Avoid dampness on all electrical components
- Take account of all available technical information.
- Meaning of symbols:
For indoor use only, where direct contact with water is impossible
This icon indicates the level of water-proof and dust-proof
Protection Class I: the fitting must be earthed
Protection Class II: the fitting is doubled insulated and does not require earthing
Protection Class Ill: the fitting is low voltage
Minimum distance from lighted objects (meters)
The type of lamp and maximum size and wattage indicated in each lighting unit must not be exceed; different items require different kind of light sources with different bulb icons
The armature is designed to work only with the indicated voltage. Different items require different working voltage.
The luminaire can be used in combination with a dimmer
The reference light angle and light space of the luminaire
This luminaire cannot be disposed together with normal domestic waste in standard rubbish can, but you have to bring it to a staging area for electrical waste - Take note of the symbols when connecting wires:


FittinQ B.V.
Smaragdweg 52, 5527 LB Hapert, The Netherlands www.qazqa.nl

For indoor use only, where direct contact with water is impossible
This icon indicates the level of water-proof and dust-proof
Protection Class I: the fitting must be earthed
Protection Class II: the fitting is doubled insulated and does not require earthing
Protection Class Ill: the fitting is low voltage
Minimum distance from lighted objects (meters)
The type of lamp and maximum size and wattage indicated in each lighting unit must not be exceed; different items require different kind of light sources with different bulb icons
The armature is designed to work only with the indicated voltage. Different items require different working voltage.
The luminaire can be used in combination with a dimmer
The reference light angle and light space of the luminaire
This luminaire cannot be disposed together with normal domestic waste in standard rubbish can, but you have to bring it to a staging area for electrical waste



















