BRINK 616595 Sonair Single Flow Ventilation Unit

Delivery
Delivery size
Before installation of the Sonair is started, check that it has been supplied in complete and undamaged condition.
The delivery size of the appliance type Sonair consists of the following components:
- Appliance Sonair
- Mounting set
- Documentation set consisting of:
- 1x installation instructions
- 1x drilling template

General
Introduction
Congratulations with the purchase of the Sonair ventilation system.
Your Sonair will provide you with a constant supply of fresh and clean air to create a healthy and comfortable indoor climate. Your Sonair filters dust particles from the air and prevents noise from entering your home. Using your Sonair also prevents unnecessary energy loss through uncontrolled ventilation.
The Sonair is available in two types:
▪ The “Sonair”
▪ The “Sonair with CO2-sensor ”
In the Sonair, the flow can only be set manually; In the version with CO2 sensor, the flow can either be set manually or automatically controlled by the built-in CO2 sensor (® Switching appliance on and off page 14).
If the Sonair has been voltage-free, the Sonair must always be switched on again by pressing the -button on the remote control!
Technical infomation
| Sonair | |||||||||||
| Power input [V/Hz] | 220 – 240 VAC/ 50-60 Hz | ||||||||||
| Dimensions (w x h x d) [mm] | 343 x 447 x 135 | ||||||||||
| Duct diameter [mm] | ø100 -125 | ||||||||||
| Weight [kg] | 4.5 | ||||||||||
| Filter class | ISO Coarse 60% (ISO ePM1.0 50% optional) | ||||||||||
| Protection degree | IP20 | ||||||||||
| Rated power [W] | 22.9 | ||||||||||
| Materials housing | Plastic (ABS) | ||||||||||
| Colour housing | white (RAL 9010) & grey (RAL 9006 ) | ||||||||||
| Battery type remote control | CR2032 – 3V | ||||||||||
| Operation conditions | Indoors in a area under temperature conditions of 0 to 50 °C with a relative humidity of 0 to 90%. | ||||||||||
| Fan speed | 0 | 1 | 2 | 3 | 4 | 5 | 6 | 7 | 8 | 9 | 10 |
| Flow [m3/h] | 0 | 20 | 30 | 40 | 50 | 60 | 70 | 85 | 105 | 125 | 150 |
| Rated power [W] | 0.5 | 1.6 | 2.0 | 2.5 | 3.1 | 3.9 | 4.9 | 6.7 | 10.1 | 14.8 | 22.9 |
| Rated current [A] | 0.02 | 0.04 | 0.05 | 0.05 | 0.06 | 0.07 | 0.09 | 0.11 | 0.15 | 0.21 | 0.29 |
| Sound power [dB(A)] | – | <18 | <22.5 | 28.5 | 35 | 36 | 40 | 45 | 50 | 53.5 | 58.5 |

Operation
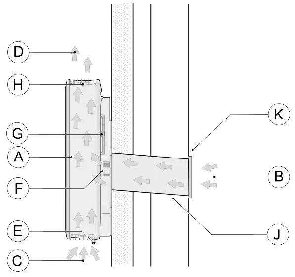
How the Sonair works
Your Sonair should be installed by a qualified Installer. A hole is drilled in the outside wall of your home and a duct (not supplied) is placed to create a direct connection with the outdoor air. A grille (this must be ordered separately) is mounted on the outside wall and the Sonair is mounted inside your home.
A fan in your Sonair sucks unfiltered air (outside air) through a duct and passes it through a filter to clean it before blows the air into the room, resulting in a healthy and comfortable indoor climate.
With a recirculation valve it is possible to mix the outside air with the recirculation air from the room. In this way the temperature of the air which comes out of the Sonair can be raised and the indoor air will be filtered as well. The supply of outdoor air can be controlled by an air inlet shutter valve.
Due to the properties of the Sonair, noise is prevented from entering the room.

A = Sonair
B = Outside Air
C = Recirculation Air
D = Clean Air
E = Knob recirculation valve
F = Air inlet valve
G = Operation handle air inlet valve
H = Filter
J = Duct (not supplied)
K= Outside grille (this must be ordered separately)
Emergency mode
- In case of an emergency such as e.g. fire, pull the 230 V power plug from the electric system. The appliance is now free of voltage.
- Close the air inlet vale; move position of the air inlet valve operation handle to up position.

Product overview
Overview and remote control
The Sonair comes with a remote control.
This remote control can be easily removed from the Sonair device.
To switch on and operate the Sonair by means of the remote control, see ® Switching appliance on and off page 14.

Outlet
The outlet (1) holds the filter (2).
The filtered air is blown through the outlet into the room.

Filter
The outdoor and indoor air is cleaned by the filter before it is blown into the room. See ® Replace filter page 16 how to replace the filter.
Your Sonair can be fitted with different types of filter. The print on the filter shows what type of filter is installed in your Sonair.
We recommend that you replace the filter in your Sonair every 6 months or when the filter message indicator appears. You can order the filters at your dealer. The old filter can be disposed of with the household rubbish.
Standard filter
Your Sonair is standard fitted with a ISO Coarse 60% filter. This filter is used under normal dust load conditions. The ISO Coarse 60% filter captures 60%of the particles larger than 10 μm.
Fine dust particle filter ISO ePM1.0 (option)
The fine dust particle fine filter ISO ePM1.0 is used when the dust load is moderate to high. This filter captures 99% of all dust particles larger than 10 μm and 95-99% of all particles larger than 5 μm.
Inlet valve
The supply of outdoor air can be controlled by the air inlet valve. On the side of your Sonair you can see the position of the inlet valve handle. When the handle is at the bottom, the air inlet is open. When the handle is at the top, the air inlet is closed. This way you can control the amount of outdoor air entering the room. When the inlet valve is closed, the appliance should not be in automatic mode!
The knob allows you to adjust the ratio of outdoor and indoor air being blown through the filter and into the room or to close off the air inlet completely (in case of emergency, like a fire).

Recirculation valve
The recirculation valve is used in combination with the inlet valve to control the ratio of outdoor air and indoor air passed through the Sonair.
The recirculation valve can be adjusted using the tab at the bottom of the Sonair. Pulling the tab out opens the valve, pushing the tab up closes the valve. To adjust the ratio of indoor air and outdoor air first open the recirculation valve completely then adjust the inlet valve on the side of the Sonair.

Filter replacement indicator
If the filter replacement indicator flashes red, we advise you to replace the filter. This appears after the first 180 days of use or 180 days after the filter indicator reset has been reset. Read the instructions ® Replace filter page 16 to see how to replace the filter and also how to reset the filter replacement indicator.

CO₂ sensor (option)
When a Sonair is equipped with a CO2 sensor (1), it is mounted at the rear.
To let the Sonair ventilate automatically according to the CO2 sensor, use the remote control to position 5 (2). Position 5 on the remote control activated CO2-sensor
See also ® Switching appliance on and off page 14 for more information about setting to position 5
If automatic mode is selected, the inlet valve must be open!
Once the product has been set up it will work fully automatically.
The speed of the fan will increase/decrease gradually and automatically according to the CO2 level present in the environment.

Installation
Mounting of the product
A qualified installer must install your Sonair.
The Sonair ventilation unit supplies fresh, clean air to rooms in homes and buildings. To do this, the Sonair must be installed on the inside of an outside wall, and nearby a power socket/ supply. Before this is done, a hole must be drilled in the outside wall, a duct must be placed in the hole, and a grille must be placed on the outside wall.
Safety instructions
▪ You should use the Sonair with care.
▪ Allow the Sonair to acclimatize for at least one hour.
▪ The Sonair may only be mounted in clean, dry, even and dust-free interior.
▪ There must be a minimum amount of free space around the unit.
▪ In the proximity of the device, a wall outlet should be present (Supplied power cord has a length of 1.9 m.).
▪ On the outside of the wall, a grille with sufficient free passage must be fitted to the duct.
▪ No pipes may run into the wall at the installation location.
▪ Make sure that the wall duct is free of debris and other dirt.
Mounting instructions
- Determine where the Sonair (1) is to be mounted.

- Take into account the distance to the nearest wall socket; the supplied power cord has a length of 1.9 m.
- Observe the minimum clearance arount the Sonair.
- Stick the supplied drilling template with adhesive tape at the desired location.
- It is recommended to use the special Brink sound insulating tube; diameter 100 mm; Brink article code: 110361
- Using the drilling template, drill the hole for the outside air supply from the inside to the outside at an angle of at least 5°downwards to prevent ingress of water.
- The diameter depends on the type of tube and can vary between 102 and 127 mm. Ensure that the hole is large enough (including tolerances) to fit the duct.
- Using the drilling template, drill the three holes for the fastening screws Ø8 mm, at least 45 mm deep. Insert plugs into the holes
- Tighten the screws, let them protrude 12 mm.
- Determine the length of the duct and cut it to the right length. The pipe must not protrude on the inside and outside and must be flush with the wall.
- Remove any burrs with a file.
- Seal the pipe at both ends (2 ).
- On the outside of the wall, place the inlet grille (3) over the duct tube.
- Gently press the Sonair (1) against the wall and slide it down over the screws.

Electrical connection
Important Prevent water or other fluids from entering the Sonair. The appliance is not waterproof!
Warning! At all times disconnect the power cable from the power socket for a filter change or troubleshooting.
Your Sonair is fitted with a separate power cable.
This power cable of the Sonair should be connected to an easily accessible wall socket.
The electric installation must comply with the requirements of your power company and the local regulations!

Starting appliance
Switching appliance on and off
To switch on/off the Sonair on you must use button on the remote control. All 5 LED lights are visible for a short moment.
The two control buttons on the remote control allow you to set the ventilation speed manually. By pressing the plus button ( ) you can increase the fan speed. By pressing the minus button ( ) you can reduce the fan speed.
The LED lights on the remote control indicate which of the 10 ventilation speeds the Sonair is set.
Important! With every change / adjustment by means of the remote control you will hear a “bleep” in response; if you do not hear this, adjustment has not been made.

Fault
Solving problems
Warning
Do not attempt to repair the Sonair yourself under any circumstances, as this will make the guarantee void. If the system problem persists, please contact your dealer.
At all times disconnect the power cable from the power socket for a filter change or troubleshooting.
My Sonair does not ventilate.
▪ Check if the power cable is plugged into the power socket.
▪ Check if the air inlet handle is in open position.
▪ Check if the recirculation valve is in closed position.
▪ Check if the outside grille is blocked.
▪ Check if the duct is blocked.
My Sonair does not recirculate.
▪ Check if the power cable is plugged into the power socket.
▪ Check if the air inlet is in the desired position.
▪ Check if the recirculation valve is in opened position.
My Sonair make more noise than usual.
▪ Check the filter, probably the filter is full and needs replacing. See ® Replace filter page 16 to see how to do this.
▪ Check if the air inlet is opened.
▪ Check if the recirculation valve is closed.
▪ Check if the outside grille is blocked.
▪ Check if the duct is blocked.
The power cable is damaged
Do no try to repair this, it should be replaced by your dealer.
Maintenance
Replace filter
We recommend that you replace the filter in your Sonair every 6 months or when the filter replacement indicator appears.
Filter replacement indicator
This icon “FILTER”flashes when we advise you to replace the filter.
This appears after the first 180 days of use of 180 days after the filter indicator has been reset.

Filter replacement

Reset filter replacement indicator
If Sonair has been voltage-free, always switch the Sonair on again using the -button on the remote control ® Switching appliance on and off page 14.
After the filter has been replaced, simultaneously press and both the button and the – button on the remote control and hold for 3 seconds.
When successfully, the filter replacement indicator will disappear.

Maintenance – instructions
Warning! Make sure that the electrical connection in the installation room is disconnected before the maintenance operations.
It is recommended to clean the product at least once every year .
During the first months of running, it is also recommended to periodically control the conditions of the machine so that to establish a proper slot time according to the environmental conditions in which the product is installed.
Service articles
Order parts
When ordering parts, in addition to the article code , please state the appliance type, the serial number, the year of production and the name of the part:
N.B.: Appliance type, serial number and year of production are stated on the identification plate on the botom of the appliance.
| Example | |
| Appliance type | : Sonair |
| Serial Number | : 352004203501 |
| Year of production | : 2020 |
| Part | : Remote control |
| Article code | : 535110 |
| Quantity | : 1 |
Appliance type, serial number and year of production are stated on the identification plate on the Sonair.
| No. | Article description | Article code |
| 1 | S. Sonair – remote control | 535110 |
| 2 | S. Sonair – filter | 535083 |
Conformity declaration
Manufacturer: Brink Climate Systems B.V.
Address: P.O. Box 11
NL-7950 AA, Staphorst, The Netherlands
Product: Appliance type:
Sonair
Sonair with CO₂ sensor
The product described above complies with the following directives:
- 2014/35/EU (low voltage directive)
- 2014/30/EU (EMC directive)
- RoHS 2011/65/EU (substances directive)
- 2012/19/EU (WEEE directive)
- 2009/125/EG (1253/1254 EU (EU ErP directive))
ERP values
| Technical information sheet in accordance with Ecodesign (ErP), no. 1254/2014 (Annex IV) | |||||
| Manufacturer: | Brink Climate Systems B.V. | ||||
| Model: | Sonair | ||||
| Climate zone: | Type of control | SEC Value in kWh/m²/a | SEC Class | Annual electricity consumption (AEC) in kWh | Annual heating saved (AHS) in kWh |
| Average | Manual | – 10.52 | E | 138 | 1397 |
| Local control with sensor | – 24.77 | C | 58 | 2623 | |
| Cold | Manual | – 23.88 | C | 138 | 2732 |
| Local control with sensor | – 49.86 | A+ | 58 | 5131 | |
| Hot | Manual | – 2.87 | F | 138 | 632 |
| Local control with sensor | – 10.41 | E | 58 | 1186 | |
| Type of ventilation unit: | Non-ducted RVU | ||||
| Fan: | EC – fan with variable speed | ||||
| Type of heat exchanger: | none | ||||
| Thermal efficiency | n.a. | ||||
| Maximum flow rate: | 150 m3/h | ||||
| Maximum rated power: | 22.9 W | ||||
| Sound power level Lwa: | 50 dB(A)** | ||||
| Reference flow rate: | 105 m3/h | ||||
| Reference pressure: | 0 Pa | ||||
| Specific Power Input (SEL): | 0.10 Wh/m3 | ||||
| Control factor: | 1.0 without CO2-sensor | ||||
| 0.65 for unit with CO2- sensor | |||||
| Leakage* | Internal | 4.1% | |||
| External | 4.1% | ||||
| Position dirty filter indication: | LED indicator on the right hand side of the appliance Attention! For optimal energy efficiency and a proper operation, a regular filter inspection, cleaning or replacement is necessary. | ||||
| Internet address for instructions: | http://www.brinkclimatesystems.nl | ||||
| Sensitivity through pressure change: | ± 15% per 20 Pa | ||||
| Airtightness : | 2.1% | ||||

Recycling
Sustainable materials are used in the manufacture of this appliance.
The packaging should be disposed of in a responsible manner and in accordance with governmental regulations.
Brink Climate Systems B.V.
P.O. Box 11, NL-7950AA Staphorst
T: +31 (0) 522 46 99 44
E: [email protected]
www.brinkclimatesystems.com





















