
PTD 901 Throughfeed Dishwasher Stainless steel
Instruction Manual
Translation of the original operating instructions
Introduction
1.1 About these instructions
These operating instructions contain information that ensures the safe operation of the warewasher. It constitutes a component of the warewasher and must be stored in a place that is accessible for the user. To be able to work safely with the warewasher, the safety and operating instructions provided must be observed. Compliance with the valid national accident prevention regulations and general safety provisions must be ensured.
1.2 Copyright
The instructions are protected for the manufacturer by copyright.
The instructions contain guidelines and drawings or parts of drawings of a technical nature, which may not be reproduced, distributed, used for the purposes of competitors without authorisation or shared with others, either in whole or in part. The operator of the warewasher is permitted to make copies, in whole or part, expressly for internal use relating to the operation of the dishwasher. The manufacturer is entitled to claim damages for any infringements. Further rights reserved.
© 2022 by Miele & Cie. KG
1.3 Proper use
– The warewasher is intended only for washing dishes, cutlery, glasses, kitchen utensils, pots, trays, plates, and GN containers for gastronomic and similar use.
– Run the warewasher with Miele chemicals. Contact Miele or an authorised customer service contact before using other chemicals.
– The warewasher is a technical device for commercial use and is not intended for private use.
– Always operate the warewasher only as described in these operating instructions.
1.4 Improper use
– Do not wash without a wash rack.
– Do not make any changes, additions or modifications without the approval of the manufacturer.
Safety
2.1 Safety notes
General safety notes
– This warewasher can be used by children aged 8 years and above and by persons with reduced physical, sensory, or mental capabilities, or lack of experience and knowledge if they are supervised or have been instructed in the safe use of the machine and understand the dangers involved.
– Children must not play with the warewasher.
– Cleaning and user maintenance should not be carried out by children without supervision.
– Read the safety and operating instructions carefully.
– Retain the operating instructions for future reference.
– Only use the warewasher after you have read and understood the operating instructions and the safety notes.
– Contact Miele Customer Service Department for information on how to operate the warewasher and on how it works.
– Train operating personnel in handling the warewasher and point out any and all safety notes. Repeat the training sessions at regular intervals to prevent accidents.
– Operate this warewasher only when it is in perfect condition.
– A damaged or leaking warewasher may endanger safety. If malfunctions occur, switch off the warewasher immediately and switch it back on only once the malfunction has been remedied.
– Allow the installer or an electrician to remedy on-site water and electricity supply malfunctions.
– Allow other malfunctions to be remedied by an authorised service technician or your dealer.
– Once the work is complete, close the on-site water supply.
– After finishing work, switch off the machine using the self-cleaning programme.
– In areas which may be subject to infestation by cockroaches or other vermin, pay particular attention to keeping the appliance and its surroundings in a clean condition at all times. Any damage which may be caused by cockroaches or other vermin will not be covered by the warranty.
Electrical safety
– Do not open any machine covers or machine parts if doing so requires tools. There is a danger of electric shock.
– The electrical safety of this machine is guaranteed only if it is connected to a correctly installed protective circuit. It is crucial that this basic safety requirement is tested and, in case of doubt, that the on-site installation is checked by a qualified electrician. Miele cannot be held responsible for damage caused by a missing or interrupted protective conductor (e.g. electric shock).
– Work on the electrical system may only be carried out by qualified specialists. When working on the electrical system, observe the electrical engineering safety rules to avoid electrical accidents:
– Disconnect all power supply points.
– Secure the machine against being switched on again.
– Check that there is no voltage present.
– Earth and short circuit.
– Cover or cordon off neighbouring parts that are live.
– If the mains cable is damaged, to prevent hazards it must be replaced by Miele, its Customer Service Team or another qualified person. The mains cable must be a H07RN-F type or equivalent.
Maintenance and repairs
– Only service technicians who have been trained and authorised by Miele are permitted to carry out maintenance and repairs. Incorrect maintenance or repairs may result in considerable danger to the user, for which Miele assumes no liability.
– Only genuine Miele spare parts may be used for maintenance and repairs. Using third-party spare parts voids the warranty.
2.2 Operator obligations
This commercial warewasher is intended for use in catering establishments. The operator of the warewasher is therefore subject to the legal obligations for occupational safety. In addition to the warning and safety notes in these operating instructions, the operator must comply with the current provisions regarding safety, accident prevention and environmental protection for the area of application of the warewasher. To ensure safe use of the warewasher, the operator must take the following measures:
– Have the warewasher connected according to the locally applicable standards and the regulations by authorised mechanics (water, waste water, electrical system).
– Provide the user with information on the provisions regarding occupational safety.
– Ensure that all persons working on the warewasher have read the operating instructions and the quick guide. Furthermore, the user must take part in regular training on use of the warewasher and must be informed of any possible danger. If necessary, contact the Miele Customer Service team to learn how to operate the warewasher and on how it
works.
– Provide the user with the operating instructions and quick guide.
– Train the user on use of the chemicals.
– Operate this warewasher only when it is in perfect technical and hygienic condition.
2.3 User obligations
In addition to the warning and safety notes in these operating instructions, the operator must comply with the current provisions regarding safety, accident prevention and environmental protection for the area of application of the commercial warewasher.
In particular, the user must take the following measures:
– Adhere to the current provisions regarding occupational safety.
– Properly fulfil the allocated responsibilities for installation, operation, maintenance and cleaning of the warewasher.
– Switch off the warewasher immediately should a malfunction occur.
Switch the warewasher back on only once the cause of the malfunction has been remedied by an authorised service technician.
– Ensure cleanliness and tidiness around the warewasher.
– Never drink the wash water and avoid contact with the skin.
2.4 Mechanical dangers
Caution
Possible risk of injury when loading the wash racks
Be aware of sharp and pointed utensils when loading the wash racks.
- Wash cutlery upright in the cutlery holder or laid in the flat basket.
Caution
Risk of slipping on a wet floor
Moisture may build up on the floor around the warewasher when operating the warewasher.
- Prevent any build-up of dirt on the floor.
- Wear personal protective equipment (non-slip footwear).
Caution
Possible risk of injury due to sharp edges
Cut injuries may occur when cleaning the warewasher with wet hands.
- Wear protective gloves.
2.5 Electrical dangers
Danger
Electric shock from live components
A fatal electric shock can occur when the warewasher and its additional devices are connected to the electrical mains supply.
- The warewasher and its additional devices may be connected to the electrical mains supply only by a specialist company registered within the electrical trade and approved by the energy supplier.
- All locally applicable standards and regulations must be observed during the connection to the electrical mains supply.
- When performing installation and maintenance work as well as repairs, unplug the warewasher from the mains supply. Check that there is no voltage present.
Danger
Danger due to electric shock
Touching live parts can lead to death. Damage to the insulation of cables or faulty on-site installations can be life-threatening.
- A protective circuit must be connected properly.
- In the event of a defect or damage to an electrical component/cable, switch off the power supply immediately and arrange for its repair by a specialist.
Danger
Electric shock from live components
A fatal electric shock can occur during installation and maintenance work and when carrying out repairs.
- Isolate and lockout the mains supply to the warewasher.
- Check that there is no voltage present.
2.6 Thermal dangers
Caution
Damage due to hot components
Insufficient distance between electrical cables or dosing tubes and hot components when installing accessory devices can lead to damage.
- Ensure to lay electrical cables or dosing tubes at a sufficient distance.
2.7 Handling of chemicals
Danger
Risk of chemical burns due to chemicals
Contact between chemicals with the skin or eyes can lead to severe burns or serious eye damage.
- In the event of contact with the eyes or skin, rinse thoroughly with tap water. If necessary, seek medical assistance.
- Wear protective clothing, protective gloves and protective goggles.
- Observe the danger and safety notes on the container and safety data sheet.
Danger
Risk of poisoning due to chemicals
Contact with the chemicals via the mouth can lead to severe poisoning.
- Never drink or transfer chemicals into other containers.
- Observe the danger and safety notes on the safety data sheet.
- Observe the danger and safety notes on the canister and safety data sheet.
2.8 Safety settings
The commercial warewasher has been built in accordance with the applicable legal provisions and is safe to operate. Danger areas that cannot be excluded by design are fitted with safety devices.
– Hood limit switch
All safety devices must be present and functional when operating the commercial warewasher.
Safety devices must not be changed or modified.
2.9 Working space for operating personnel
If the warewasher is installed in an upright position

If the warewasher is installed in a corner

2.10 Notes on spare parts
Only original Miele spare parts may be used for maintenance and repairs. Using third-party spare parts voids the warranty. The information in the spare parts catalogues is absolute in this respect.
Service technicians may only carry out maintenance work and repairs if they have been trained and authorised to do so by Miele. Improper maintenance or repairs may cause significant danger to the user, for which Miele is not liable.
Machine description
3.1 Description of function
After the warewasher is switched on, the boiler and the tank are filled and heated up to the operating temperature. Once the target temperatures are reached, the warewasher is ready for use.
The warewasher is fully automatic with programmes consisting of three steps: Wash, Drain and Rinse.
3.2 Overview

| Item | Name | Item | Name |
| 1 | ECO module (only for ECO version) | 12 | Waste water connection |
| 2 | Display | 13 | Start button (only for LIFT version) |
| 3 | Start button | 14 | Strainer |
| 4 | Hood | 15 | Wash field bearing |
| 5 | Lower wash field | 16 | Filter cylinder |
| 6 | Rack guide | 17 | Detergent connection |
| 7 | Rinse aid connection | 18 | Filter bottom |
| 8 | Inlet water hose | 19 | Pump protection strainer |
| 9 | Multifunction interface | 20 | Suction tube for detergent (optional) |
| 10 | Connection for on-site equipotential bonding system | 21 | Rinse aid suction tube |
| 11 | Mains cable |
Automatic hood start
Closing the hood automatically starts a washing programme. The automatic hood start can be deactivated by an authorised service technician (P572). Every washing programme will then need to be started by pressing the start button.
PTD 901 LIFT (version) – automatic hood
The hood opens automatically after every washing programme and can be closed again using the start button on the front cover.
PTD 901 ECO (version)
Note: Cold water connection required.
In the ECO module there is a fan motor and heat exchanger above the warewasher. The fan motor extracts warm humid air (= vapours) from the wash chamber and transfers the energy gained to the cold inlet water via the heat exchanger. A waste water heat exchanger provides an additional energy gain.
Integral water softener (optional)
Warewasher with built-in salt container for regeneration salt. The regeneration salt softens the inlet water and thus prevents a build-up of limescale inside the warewasher and on the items being washed.
3.3 Display
Operating the display is similar to operating the display of a smartphone. The display responds to light touches. Therefore, operate the display only with your fingers and do not use any sharp objects. You can also operate the display and start button with wet hands or rubber gloves.

| Item | Name |
| 1 | Washing programmes |
| 2 | Selection of additional and special programmes |
| 3 | Display area for error pictograms |
| 4 | Start button |
Screen saver
The display is dimmed if it is not used for a long time. Washing can also be carried out when the display is darkened.
Start button (4)
| Colour | Meaning |
| Not lit | Warewasher is switched off. |
| Orange | Warewasher is filling and heating up. |
| White | Warewasher is ready for use. |
| Flashing white | Washing programme is ended; hood has not been opened yet. |
| Orange | Warewasher is washing. |
| Flashing orange | Soaking programme is running. |
| Only for warewashers with automatic hood mechanism: The hood moves down, a washing programme then starts automatically. | |
| Flashing white/orange | Only for warewashers with ECO module: Warm, humid air is being extracted. The washing programme is completely finished only when the start button flashes white. |
| Red | The warewasher no longer washes because there is a serious error. |
3.4 Washing programmes
Programme 2 is pre-selected as soon as the warewasher is ready.
| Pictogram / washing programme | Soiling of the dishes | |
| Programme 1 | Light | |
| Programme 2 | Normal | |
| Programme 3 | Severe | |
The authorised service technician can adjust programmes to your dishes (temperature, wash pressure, dosing and programme length).
| Pictogram / additional programme | Meaning | |
| Intensive programme | Longer contact time for heavy-duty soiling | |
| Silence programme | Quieter washing programme due to reduced wash pressure and longer contact time | |
| ECO programme | Longer contact time with fewer resources used | |
| Short programme | Shortened contact time with slightly higher detergent consumption | |
| Pictogram / special programme | Meaning | |
| Soaking programme | Programme for soaking and dissolving dried-on residues. | |
| Basic cleaning programme | Menu-guided programme for the thorough cleaning of dishes to re- move e.g. starch residues. | |
| Descaling programme | Menu-guided programme for descaling the interior of the ware- washer. | |
3.5 Info menu
| Item | Name |
| 1 | Access to the dishwashing staff menu / chef menu |
| 2 | Machine model |
| 3 | Machine number |
| 4 | Display area for error pictograms |
| 5 | Date / time |
| 6 | Telephone number for service technician and chemical supplier |
| 7 | Current tank temperature |
| 8 | Current rinse water temperature |
3.6 Rating plate
The rating plate (1) is on the back right of the warewasher.
3.7 Rinse aid and detergent
Caution
Risk of chemical burns when handling chemicals
Contact with chemicals can occur when changing the canister.
Ø Observe the danger and safety notes on the canister and safety data sheet.
Ø Wear protective clothing, protective gloves and protective goggles.
Use only products that are suitable for commercial warewashers. We recommend Miele products that are specially adapted to Miele warewashers. The correct dosage is based on the information on the product packaging.
Rinse aid
Rinse aid is necessary to ensure that water on the items being washed drains off after washing as a thin film. This ensures that the wash items dry quickly.
Rinse aid is dosed automatically by an integrated dosing device.
Detergent
A detergent is necessary to dissolve the leftovers and dirt on the wash items. Detergent is dosed automatically by an (optional) integrated or external dosing
device.
To avoid damaging the warewasher and to achieve a good wash result:
– Do not use acidic detergents.
– Do not use foaming products (e.g. manual washing-up liquid) for pre-treating the wash items.
3.8 Suction tube with level control
A suction tube is needed to suck out the chemicals from the containers.
– Do not place the suction tube for the rinse aid in the container with detergent or vice versa.
– Only use the suction tube with sufficiently stable containers. Narrow and tall containers can tip as soon as the suction tube is pulled.
– Do not pull on the dosing hose or main power cable, as this may lead to a defect.
| Colour (cap) | Container |
| Blue | Rinse aid |
| Grey | Detergent |

| Item | Name |
| 1 | Float switch for level control |
The float switch (1) can detect a defect in the chemicals and indicates this on the display.
1.1 Integral water softener (optional)
By softening the mains water, limescale build-up in the warewasher and on the dishes can be avoided. For the water softener to work correctly, the salt container must be filled with regeneration salt.
Display of lack of salt
A pictogram on the display shows when the salt container is empty and needs to be refilled. The display disap- pears after filling the salt container after approx. 3 wash cycles have been completed and part of the salt has been dissolved.
3.10 Technical data
| Name | Note | Unit | Value |
| Rack dimensions | mm | 500 x 500 | |
| Tank capacity | l | 35 | |
| Noise emission | dB(A) | max. 62 | |
| Measurement uncertainty | dB | 2.5 | |
| Splash guard | IP X5 | ||
| Minimum flow pressure | PTD 901, PTD 901 LIFT | kPa (bar) | 100 (1.0) |
| PTD 901 ECO, PTD 901 LIFT ECO | 150 (1.5) | ||
| Max. inlet pressure (Back pressure) | kPa (bar) | 1000 (10.0) | |
| Flow rate | l/min | min. 4 | |
| Inlet water temperature | PTD 901, PTD 901 LIFT | ° C | max. 60 |
| PTD 901 ECO, PTD 901 LIFT ECO | max. 20 |
Exhaust air
Observe local guidelines, e.g. DIN EN 16282 / VDI guideline 2052 when constructing the ventilation system.
Operating conditions
| Name | Unit | Value |
| Temperature at the installation site | °C | 0 – 40 |
| Relative air humidity at the installation site | % | < 95 |
| Storage temperature | °C | > -25 |
| Max. height of the installation location above sea level | m | 2000 |
Software
4.1 Chef menu
In this menu the chef can change settings to the warewasher and access information. The warewasher switches off when the menu is accessed. After leaving the menu, the warewasher must be switched back on.
Access the chef menu
A PIN protects the menu from unauthorised access. The PIN is 1575. If you enter your PIN incorrectly three times in a row, input will be blocked for 10 minutes.
Navigation
| Item | Name |
| 1 | Continue to the next window by tapping or swiping |
| 2 | Exit the menu |
| 3 | “Chef menu” symbol |
| 4 | Number of windows at the same level |
| 5 | One level back |
| 6 | Scroll up or down |
The following menus are available:
| Menu | |
| Hygiene logbook | |
| Operating data | |
| Dosage | |
| Timer | |
| Basic cleaning | |
| Descale | |
| Brightness | |
| Sounds | |
| Date / time | |
| Language | |
| Units | |
| Water back-flow counter |
The number of menus depends on the configuration of the warewasher.
4.1.1 Hygiene logbook
In this menu the daily operating states are shown in chronological order.
4.1.2 Operating data
In this menu the operating data, e.g. consumptions and operating hours, are shown.
Water consumptions are reference values and are not based on precise measurements.
4.1.3 Dosage
In this menu you set the dosing amounts and configure the transfer strip for the dosing devices.
| Item | Name |
| 1 | Setting the dosing amount |
| 2 | Configuring the external dosage connector } 80 |
Setting the dosing amount
| Item | Name |
| 1 | Detergent dosing |
| 2 | Rinse aid dosing |
| 3 | Washing programmes |
| 4 | Reset to default setting |
4.1.4 Timer
The timer can be used to programme the warewasher to switch on or off automatically at a specific time.
At the time of automatic start-up the following requirements must be met:
– The hood is closed.
– The on-site mains voltage is switched on.
– The on-site water supply is open.
| Item | Name |
| 1 | Set a regular time |
| 2 | Set a non-recurring date |
Set a regular time
| Item | Name |
| 1 | Switch the timer off / on |
| 2 | Time for automatic switch-off |
| 3 | Time for automatic start-up |
| 4 | Select time schedule – Daily – Mon-Fri, Sat-Sun – Individual (a different time on every weekday) |
Set a non-recurring date
| Item | Name |
| 1 | Switch the timer off / on |
| 2 | Date and time for automatic start-up |
| 3 | Date and time for automatic switch-off |
Automatic switch-off sequence
If the hood is open during the automatic switch-off, the warewasher is pumped empty and switched off.
Show time programme
4.1.5 Basic cleaning
We recommend running the basic cleaning programme at the end of every working day, as the machine’s tank is emptied when the programme ends. For this programme you need a washing power booster suitable for commercial warewashers.
Danger
Risk of chemical burns due to chemicals
Contact between chemicals with the skin or eyes can lead to severe burns or serious eye damage.
- In the event of contact with the eyes or skin, rinse thoroughly with tap water. If necessary, seek medical assistance.
- Wear protective clothing, protective gloves and protective goggles.
- Observe the danger and safety notes on the container and safety data sheet.
Start the basic cleaning programme
Follow dosing recommendations when adding the washing power booster. The initial dose for the first use of the programme depends on the machine’s tank volume.
The additional dosage for each additional programme depends on the rinse water volume.
| Item | Name |
| 1 | Terminate the basic cleaning programme |
| 2 | Restart the basic cleaning programme |
| 3 | End the basic cleaning programme |
4.1.6 Descale
If the warewasher is operated with hard water and without water treatment, then the boiler, the interior of the machine, all the water lines and other components may develop scale. Grease residues and dirt that remain in the machine can contribute towards hygiene risks, while scaling can lead to failure of heating elements. Regular removal of these coatings is recommended.
The interior of the warewasher can be descaled using the descaling programme. We recommend running the descaling programme at the end of every working day, as the machine’s tank is emptied when the programme starts and ends.
For descaling, you need an acid-based descaler suitable for commercial warewashers.
The water lines and the boiler can be descaled only by an authorised service technician.
Warning
Risk of chemical burn due to contact with descaler
Contact between descaler and the skin or eyes can lead to severe burns or serious eye damage.
- Wear protective clothing, protective gloves and protective goggles.
- Observe the danger and safety notes on the container and safety data sheet.
Warning
Danger of chlorine gas developing
Mixing active chlorine cleaner and acid-based descaler produces chlorine gas. Contact with chlorine gas leads to eye, nose and throat irritations.
- Do not mix active chlorine cleaner and acid-based descaler.
- Ensure good ventilation when you descale the warewasher.
Note
Danger of corrosion due to descaler solution
Descaler solution has a corrosive effect when in contact with metals and plastics for a long time and therefore must not remain in the interior of the machine (e.g. overnight).
- Do not terminate the descaling programme and follow the instructions on the display.
Start the descaling programme
When adding the descaler, observe the tank volume and dosing recommendation.
| Item | Name |
| 1 | Terminate descaling programme (possible as long as no descaler has been added) |
| 2 | Repeat descaling programme |
4.1.7 Brightness
In this menu the brightness of the display is set.
4.1.8 Sounds
In this menu sounds are turned on or off.
| Item | Name |
| 1 | Turn all sounds on or off |
| 2 | Turn individual sounds on or off |
4.1.9 Date / time
In this menu the date and time are entered.
Note: Time must be changed for the summer/ winter time changeover.
| Item | Name |
| 1 | Set date |
| 2 | Set time |
4.1.10 Language
In this menu the language of the display texts is set.
| Item | Name |
| 1 | Reset to last language set |
4.1.11 Units
In this menu the unit and temperature indicator are changed.
4.1.12 Water countdown meter
The water back-flow counter must be reset if the set total capacity of an external water treatment device has reached the value “0”.
| Item | Name |
| 1 | Set the total capacity |
| 2 | Reset the water countdown meter |
Commissioning
5.1 Installing the warewasher
The installation site must be frost-resistant to prevent the water supply systems from freezing.
- Install the warewasher horizontally using a spirit level.
- Adjust any unevenness of the base using the height-adjustable machine feet.
5.2 Connecting the warewasher
The warewasher and any other relevant additional devices must be connected in adherence to local standards and regulations by an electrical company authorised by the relevant electricity supplier.
5.2.1 Water connection
The water-related safety should be as per DIN EN 61770. The warewasher can be connected to a fresh water pipe without an intermediate connection to other safety
equipment.
Connecting the inlet water hose
Important notes:
– Do not shorten, alter or damage the inlet water hose.
– Use only the inlet water hose supplied. Old existing inlet water hoses may not be re-used.
– Do not kink the inlet water hose when connecting it.
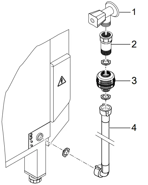
- Connect the inlet water hose (4) and the dirt trap (3) to the warewasher and the on-site water supply (1).
- Only for Australia and New Zealand:
Installation according to AS/NZS 3500.1 and AS/NZS 3500.2:
Connect the dual check valve (2) to the dirt trap (3) and the on-site water supply (1).
- Open the water supply (1) and check that the connections are sealed.
The dirt trap prevents particles from the inlet water from entering the warewasher, thus preventing extraneous rust on the cutlery and in the warewasher.
Connecting the warewasher to the waste water system
- Connect the waste water hose (1) to the warewasher.
- Guide and connect the waste water hose to the on-site waste water connection.
Requirements for on-site installation
Inlet water connection
| Location | approx. 500 mm above finished floor; to the right of the machine | ||
| Construction | Isolation valve with G ¾” external thread | ||
| Inlet water temperature | PTD 901, PTD 901 LIFT | max. 60 °C | |
| PTD 901 ECO, PTD 901 LIFT ECO | max. 20 °C | ||
| Water quality | Microbiologically, fresh water must be of drinking water quality | ||
| Water hardness | Machines without integrated softener | Machines with integrated softener | |
| PTD 901, PTD 901 LIFT | ≤ 3 °dH (3.8 °e / 5.34 °TH / 0.54 mmol/l) Recommended, so that the warewasher does not scale up. | ≤ 31 °dH (37.6 °e / 53.4 °TH / 5.35 mmol/l) | |
| PTD 901 ECO, PTD 901 LIFT ECO | ≤ 3 °dH (3.8 °e / 5.34 °TH / 0.54 mmol/l) | ≤ 20 °dH (25.1 °e/35.6 °TH / 3.58 mmol/l) | |
| Water flow pressure | PTD 901, PTD 901 LIFT | 100 kPa (1.0 bar) | |
| PTD 901 ECO, PTD 901 LIFT ECO | 150 kPa (1.5 bar) | ||
| Max. inlet pressure (back pres- sure) | 1000 kPa (10.0 bar) | ||
| Flow rate | min. 4 l/min | ||
Waste water connection
| Location | approx. 650 mm above finished floor; left or right of the machine |
| Dimensions | Ø 40 mm or 50 mm with trap |
5.2.2 Electrical connection
Danger
Electric shock from live components
A fatal electric shock can occur when the warewasher and its additional devices are connected to the electrical mains supply.
- The warewasher and its additional devices may be connected to the electrical mains supply only by a specialist company registered within the electrical trade and approved by the energy supplier.
- All locally applicable standards and regulations must be observed during the connection to the electrical mains supply.
- When performing installation and maintenance work as well as repairs, unplug the warewasher from the mains supply. Check that there is no voltage present.
- The electrical safety of this warewasher is guaranteed only if it is connected to a correctly installed protective circuit and a residual current circuit breaker. It is crucial that this basic safety requirement is tested and, in case of doubt, that the on-site installation is checked by a qualified electrician.
- The circuit diagram must be observed.
- The warewasher may be operated only at the voltages and frequencies specified on the rating plate.
- For machines delivered without a plug, a fixed connection must be installed as an overriding priority.
- The electrical connection must be secured as a separately fused circuit with slow fuses or circuit breakers. The fuse protection depends on the total connected load of the warewasher. The total connected load is specified on the rating plate of the warewasher.
- If a residual current circuit breaker is to be provided on-site, we recommend installing a Class B all-current-sensitive residual current circuit breaker.
- Determine the cable cross-section of the mains cable using the following table:
| Voltage | Frequency [Hz] | On-site fuse protection [A] | Cable cross-section [mm²] |
| 380V, 3N~ | 50 60 | 16 | 2.5 |
| 400 V / 3N~ | 50 60 | 16 | 2.5 |
| 25 | 4 | ||
| 32 | 6 | ||
| 415 V / 3N~ | 50 60 | 15 | 2.5 |
| 16 / 20 | 2.5 | ||
| 25 | 4 | ||
| 32 | 6 | ||
| 200 V / 3~ | 50 60 | 25 | 4 |
| 32 | 6 | ||
| 230 V / 3~ | 50 60 | 25 | 4 |
| 32 | 6 | ||
| 230 V / 1N~ | 50 60 | 32 | 6 |
| 240 V / 1N~ | 50 60 | 25 | 4 |
| 32 | 6 | ||
| 40 | 10 | ||
| 50 | 10 |
The mains cable must be a H07RN-F type or equivalent.
Connecting the mains cable
Note: Select the correct cross section and number of wires in the mains cable to suit the on-site voltage and fuse protection.
- Remove the front cover.
- Insert the mains cable (1) at the rear of the machine.
- Pull the mains cable (1) out at the front and guide it to the left.
- Strip the wire end of the mains cable and attach ferrules.
- Connect the mains cable wires (3) according to the connection diagram } 77 and close the quick release connectors (2).
- If necessary, connect the bridges (6) according to the connection diagram } 77 (7) and press in firmly using a screwdriver.
- Connect the green-yellow wire on the distributor to the earth wires (4).
- Fasten the mains cable to the strain relief on the mounting plate using a cable tie (5).

Establishing equipotential bonding
- Connect the warewasher to the on-site equipotential bonding system.
- Position of the connecting screw (1) see drawing.
Connection diagram
5.3 Multifunction interface overview
Danger
Electric shock from live components
A fatal electric shock can occur when the warewasher and its additional devices are connected to the electrical mains supply.
- The warewasher and its additional devices may be connected to the electrical mains supply only by a specialist company registered within the electrical trade and approved by the energy supplier.
- All locally applicable standards and regulations must be observed during the connection to the electrical mains supply.
- When performing installation and maintenance work as well as repairs, unplug the warewasher from the mains supply. Check that there is no voltage present
- Loosen screws (2) and remove the cover (1).

| Item | Name |
| 3 | Transfer strip for external dosing devices |
| 4 | Terminals for suction tube rinse aid |
| 5 | Terminals for suction tube detergent |
5.4 Mechanically connecting suction tubes
- Fasten the hose of the rinse aid suction tube to the connection (1) using a wire hose clip.
- Fasten the hose of the detergent suction tube (optional) to the connection (2) using a wire hose clip.
5.5 Electrically connecting the suction tubes
5.6 Establish the electrical connection of the external dosing devices
Note: Maximum current drain at the transfer strip: 0.5 A. Connect external dosing devices only with their own fuse protection.
- Connecting an external detergent or rinse aid dosing device.
Terminals (1) to (5) are available. - Configuring the transfer strip.— FEHLENDER LINK –ð
Voltage is present at terminals (1) and (3), depending on the settings that have been made.

| Item | Name |
| 1 | DETERGENT terminal |
| 2 | WASH terminal |
| 3 | RINSE terminal |
| 4 | N terminal (neutral / phase 2) |
| 5 | L terminal (continuous voltage / phase 1) |
a) hood closed
b) minimum water level in the tank
c) not during the self-cleaning programme
d) not while the machine is being filled
e) not during the descaling and basic cleaning programme
See also
2 Configuring the external dosage connector [} 80]
5.7 Configuring the external dosage connector
The service technician configures the transfer strip in the Dosing menu and, in doing so, determines the type of dosing device.
Detergent dosing device
Item | Name | Note |
| 1 | Reset to default setting | |
| 2 | For dosing devices not from Miele: – While machine fills – Parallel to the solenoid valve | |
| For Miele dosing devices: – Peristaltic pump – Fluidos – MPI/PPX | When setting the “peristaltic pump”, be sure also to set the output to ml/mm. Set the dosing amount in the Dosing menu. | |
| 3 | Save settings |
Rinse aid dosing device
Item | Name | Note |
| 1 | Reset to default setting | |
| 2 | For dosing devices not from Miele: – Parallel to the rinse pump – Parallel to the solenoid valve | |
| For Miele dosing devices: – Peristaltic pump – Fluidos – MPI/PPX | When setting the “peristaltic pump”, be sure also to set the output to ml/mm. Set the dosing amount in the Dosing menu. | |
| 3 | Save settings |
5.8 Before working with the warewasher for the first time
- Have the warewasher set up by an authorised service technician or your dealer.
- Have the warewasher connected according to the locally applicable standards and the regulations by authorised mechanics (water, waste water, electrical system).
- After connecting the water and the power properly, contact the relevant Miele Factory Representative or your dealer to organise the commissioning of the warewasher. Make sure that you and your operating personnel take that opportunity to be trained in using the warewasher.
5.9 Check for completeness
Note: Ensure that there is always enough detergent and rinse aid available to achieve an optimum wash result.
Operation
6.1 Switch on the warewasher
The warewasher is ready for operation as soon as the start button lights up white.
6.2 Wash
Caution
Risk of scalding from hot wash water
There is hot wash water in the interior of the warewasher after it is switched on.
- Do not open the hood during washing.
- Before opening the hood, terminate the washing programme by pressing the start button and waiting a few seconds.
Warning
Possible risk of injury when loading the wash racks
Be aware of sharp and pointed utensils when loading the wash racks.
- Wash cutlery upright in the cutlery holder or laid in the flat basket.
– Do not wash electrical cooking appliances.
– Do not wash parts made of wood.
– Do not wash ashtrays and objects covered with wax.
– Only wash heat- and caustic-resistant plastic parts.
– Wash parts made of aluminium, e.g., pots, GN containers or trays, only with a specially suitable detergent to avoid black discolourations.
Arranging the wash items in the wash rack
- Remove large leftovers.
- Pour out beverage residues (outside the warewasher).
- Place plates with their upper surface facing forwards.
- Place glasses, cups, bowls and pots rim down.
- Wash cutlery preferably standing in the cutlery holder or lying in a shallow wash rack. Always arrange the end of handles downwards. Make sure that the cutlery is
well-spaced. - Do not overload racks, to allow the wash water to reach all dirty surfaces.
- Space the glasses to prevent them from rubbing against each other. This will avoid scratches.
- For tall glasses, choose a wash rack with appropriate divisions so that the glasses are held in a stable position.
Start washing programme
- Sort wash rack correctly.
- Open the hood.
- Slide the wash rack into the warewasher.
Warewasher without an automatic hood mechanism:
- Close the hood.
- The washing programme starts automatically.
- The start button lights up orange.
Warewashers with an automatic hood mechanism:
- Press the start button on the front panel or hood.
- The start button on the hood flashes orange.
- The hood closes and the washing programme starts automatically.
- The start button lights up orange.
End of the programme
Warewasher without ECO module or automatic hood:
- Washing programme ends automatically.
- The start button flashes white as soon as the washing programme ends.
Warewashers with an automatic hood mechanism:
- Washing programme ends automatically.
- The hood opens.
- The start button lights up white.
Warewasher with ECO module, without automatic hood:
- Washing programme ends automatically.
- Before the end of the programme, the start button in the display first flashes white/orange. At the same time, the warm and humid vapour is extracted from the interior, and the heat energy stored in it is recovered for the next washing programme.
- Do not open the hood until the start button flashes white and the warm, humid air has been extracted.
- Warewasher with ECO module and automatic hood:
Washing programme ends automatically.
- Before the end of the programme, the start button in the display first flashes white/orange. At the same time, the warm and humid vapour is extracted from the interior, and the heat energy stored in it is recovered for the next washing programme.
- Hood opens automatically, start button lights up white.
Terminate washing programme
The additional programme remains activated until it is deactivated or another additional or washing programme is selected.
Deactivate additional programme
Select soaking programme
The soaking programme remains activated until it is deactivated.
Deactivate soaking programme
6.3 Opening/closing the hood (automatic hood optional)
There are two options for opening / closing the hood without having to start a programme (e.g. during idle periods):
Open / close the hood using the start button
- Press the start button (1) on the front cover for 2 seconds.
Open the hood via the display
The position of the hood is indicated by the arrows on the pictogram.
- Press the “Open the hood” button.
Close the hood via the display
The position of the hood is indicated by the arrows on the pictogram.
- Press the “Close the hood” button.

6.4 Unlock the hood (automatic hood optional)
If the hood can no longer be moved, the hood can be unlocked manually.
- Pull the retaining clip (1) forwards out of the safety mechanism and guide it into the slotted hole (2).
- Press the retaining clip (1) through the slotted hole (2) in the direction of the arrow.
- The automatic hood is unlocked.
It is still possible to wash when manually opening and closing the hood. A fault message will appear on the display every time a programme ends.
- Acknowledge the fault message.
- Contact an authorised service technician for the repair.
6.5 Soaking programme
We recommend the soaking programme for soaking and dissolving dried-on residues.
Activate soaking programme
Start soaking programme
Danger
Risk of chemical burns due to chemicals
Contact between chemicals with the skin or eyes can lead to severe burns or serious eye damage.
- In the event of contact with the eyes or skin, rinse thoroughly with tap water. If necessary, seek medical assistance.
- Wear protective clothing, protective gloves and protective goggles.
- Observe the danger and safety notes on the container and safety data sheet.
- Remove the wash items only once the washing programme has finished and the start button flashes white.
Five seconds after the soaking programme has started, the wash pump circulates the tank water for seven seconds. The soaking time of five minutes begins after this circulation. The tank water moistens the wash items and soaks the contaminants.
– If you open the hood during this time and close it again within 10 seconds, the wash pump circulates the tank water again for five seconds. The soaking time is not extended.
– If you open the hood for longer than 10 seconds to put more wash items in the washing basket, the soaking programme will start from the beginning once the hood has been closed. A washing programme starts automatically after the end of the soaking period.
The soaking period can also be shortened by pressing the start button.
A service technician can adjust the times mentioned above.
Terminate soaking programme
After terminating the soaking programme, always start a washing programme to rinse the tank water off the wash items.
Deactivate soaking programme
6.6 Changing the tank water
Change the tank water if it is very dirty and if the end wash result worsens.
Note: It takes a few minutes until the warewasher is ready for operation again, as the tank is first emptied and then refilled and reheated.
6.7 Switch off the warewasher
We recommend switching off the warewasher at the end of the day using the self-cleaning programme, so that it is cleaned and emptied
daily.
Pressing the On/Off button turns the warewasher off. The tank will remain filled but will not be kept at temperature. If the tank temperature drops too much by the time it is switched on again, the machine is automatically emptied and refilled.
Notifications
7.1 Pictogram
Notifications are displayed as pictograms. If there are many notifications, washing will still be possible but the end wash result will be impaired. Please therefore rectify any notification as soon as possible. If you cannot resolve notifications yourself, contact an authorised service technician.
Cause / meaning | Remedy | |
| Lack of rinse aid | Replace the canister. Venting the dosing device. ( 95) | |
| Lack of detergent | ||
| Detergent dosing failed | Replace the detergent canister. Venting the dosing device. ( 95 or 96) If the error is not cleared: Contact an authorised service techni- cian. | |
| Upper wash field does not rotate | Remove the blockage or clean or descale the jets. ( 93) | |
| Contact an authorised service technician. | ||
| Lower wash field does not rotate | Ensure the wash field is engaged correctly. | |
| Remove the blockage or clean or descale the jets. ( 93) | ||
| Contact an authorised service technician. | ||
| For warewashers with an integrated softener: Lack of salt | Fill the salt container with regeneration salt. | |
| Warewasher with external partial demineralisation cartridge: Partial demineralisation cartridge used up | Replace the partial demineralisation cartridge. Reset the water back-flow counter. | |
| Warewasher with external full demineralisation cartridge: Full demineralisation cartridges used up | Have the resin of the full demineralisation cartridge replaced by an authorised service technician. Reset the water back-flow counter. | |
| Hood is open | Close the hood. | |
| Lack of water | Open the water supply. | |
| Have the dirt trap cleaned by a service technician or have a new dirt trap installed. | ||
| Have the solenoid valve repaired by an authorised service techni- cian. | ||
| Energy optimisation active | Wait until the on-site energy optimisation activates the ware- washer. | |
| Service interval expired | Contact an authorised service technician. | |
| Strainer clogged | Clean the strainer and restart the programme. | |
| Descaling required | Start the descaling programme. ( 70) | |
| Tank water exchange recommended Tank water has not been changed for at least 24 h. | Change the tank water. ( 88) | |
| Error on external water treatment device | Check the water treatment device. | |
| Tank heating encrusted | Clean the tank heating. | |
| Filter bottom not installed | Insert filter bottom. | |
| Note on saving energy | Close the hood. | |
| Error on automatic hood | Follow the instructions on the display. | |
| Various | Tap the pictogram and note the error code. Contact an authorised service technician. | |
By tapping the pictogram, additional information will appear on the display.
7.2 Display the error code of a serious erro
If a serious error is present, washing is no longer possible and a red bar appears at the top of the display:
7.3 Poor wash result
| Possible cause | Remedy | |
| Wash items not clean | No or low detergent dosing | Set the dosing amount as per the manufac- turer’s specifications. ( 66) |
| Check the dosing hose (for kinks, breakage, etc.). Venting the dosing device. ( 95) Replace the canister, if empty. | ||
| Wash items incorrectly sorted | Sort wash items correctly. ( 82) | |
| Wash field jets clogged | Dismantle wash field and clean jets. ( 93) | |
| Temperatures too low | Contact an authorised service technician. | |
| Tank water too heavily soiled | Start tank water exchange programme. ( 88) | |
| Spots visible on the wash items | If scaling is present: The water is too hard | Check the external water treatment. Connect water treatment. |
| For starch residues: Temperature of manual pre-cleaning ex- ceeds 40 °C | Carry out basic cleaning. Lower the temperature of manual pre-clean- ing. | |
| The wash items do not dry on their own | No or low rinse aid dosing | Set the dosing amount as per the manufac- turer’s specifications. ( 66) |
| Check the dosing hose (for kinks, breakage, etc.). Vent the dosing device. Replace the canister, if empty. | ||
| Rinse water temperature too low | Contact an authorised service technician. |
Note: Water quality affects washing and drying result. We therefore recommend that the warewasher be supplied with softened water from a total hardness of more than 3 dH (0.53 mmol/l).
Cleaning and maintenance
8.1 Cleaning the warewasher during operation
Caution
Risk of chemical burns due to chemicals
After the wash, wash water with chemicals continues to adhere to the filters and wash fields.
- Wear protective clothing, protective gloves and protective goggles.
During the work day:
Daily before draining the warewasher:
Additionally for warewashers with ECO module 
- Remove the ventilation grill (1) from the top and wash in the warewasher.
- Fit the ventilation grill (1).

- Open the hood.
- Spray the suction channel (2) with warm water. Use a water hose, not a high-pressure cleaner.
Remove the grease filter (3) from the front and wash in the warewasher.- Fit the grease filter (3).
8.2 Self-cleaning programme
The self-cleaning programme is helpful in cleaning the interior of the warewasher at the end of the work day.
After the first programme step, the self-cleaning programme is interrupted and a video with further steps is shown in the display. If no notice is taken of the video, the self-cleaning programme will start automatically.
8.3 Cleaning the warewasher at the end of the working day
Cleaning the warewasher interior
Ensure that there are no rusty foreign objects in the interior of the warewasher, which could cause even “stainless steel rust-free” material to start to rust. Rust particles can come from non-rust-free wash items, from cleaning aids, damaged wire grate racks or from water pipes that are not protected against rust. The following aids may not be used for cleaning:
– Detergents containing chlorine or acid
– Cleaning sponge or wire brush containing metal
– Abrasives or abrasive cleaning agents
- Remove dirt with a brush or a cloth.
Cleaning the outside of the warewasher
- Do not spray the warewasher and the surrounding area (panels, floor) with a steam jet or high-pressure cleaner.
Ensure when cleaning the floor that the plinth of the warewasher is not flooded, to prevent an uncontrolled inflow of water. - Clean the display with a damp cloth.
- Clean the external surfaces using a stainless steel cleaner and stainless steel polish.
Cleaning the upper and lower wash field
Clean the upper and lower wash field bearing
After cleaning
8.4 Top up the regeneration salt
Note
Salt residues can have a negative effect on the wash result. It is best, therefore, to top up the regeneration salt before starting the self-cleaning programme.
Caution
Damage to the water softener
Chemicals such as detergent or rinse aid or other salts such as table salt will inevitably damage the water softener.
- Fill exclusively with regeneration salt or pure evaporated salt with a maximum grain size of 1-4 mm.
Caution
Danger of rust formation in the filling area as a result of salt residues
- After filling the regeneration salt, start a washing programme or the self-cleaning programme in order to wash away any salt residues that may be present.
- Only fill with water when commissioning the water softener for the first time.
- Top up the regeneration salt.

8.5 Replace canister
- Wear protective clothing, protective gloves and protective goggles.
- Pull the suction tube carefully out of the empty canister.
- Check whether both vent holes (1) in the caps are open. Clean if required.
- Place suction tube in the new canister.
- Slide the cap slowly downwards until the canister opening is closed.
The dosing device must be vented if air has entered the dosing hose. This occurs if the canister is not replaced in time.
| Item | Name |
| 1 | Rinse aid dosing device |
| 2 | Detergent dosing device |
- Press button 1 or 2.
- The button turns white.
- The dosing device is being vented.
- As soon as the button turns dark again, exit the menu.
8.6 Changing the chemical product
Crystallisation can occur as a result of mixing different chemical products, which can damage the dosing device.
Therefore, the dosing device and the dosing hoses must be flushed with water before a new chemical product is used.
- Remove the suction tube from the container and place it in a water-filled container.

| Item | Name |
| 1 | Rinse aid dosing device |
| 2 | Detergent dosing device |
- Press button 1 or 2.
- The button turns white.
- The dosing device is being vented.
- As soon as the button turns dark again, exit the menu.
- Press button 1 or 2.
- The button turns white, and the dosing device is activated.
- The dosing hoses and the dosing device are rinsed out with water.
- As soon as the button goes dark, place the suction tube into the new canister.
- Press button 1 or 2 again.
- The button turns white, and the dosing device is activated.
- The water in the dosing hoses and dosing device is replaced by the new chemical product.
In addition, the dosage must also be reset.
- To attain good wash results, commission an authorised service technician.
8.7 Cleaning the interior
To achieve an optimal wash result and to increase the service life of the warewasher, we recommend cleaning the interior daily.
Note
Risk of rust due to foreign bodies
Damaged wire grate baskets, wash items that are not rust-free, incorrect cleaning utensils and water pipes not protected from rust can cause corroding foreign bodies to enter the interior of the warewasher. These foreign bodies can also cause the material “stainless steel” to corrode.
- Use only undamaged wire grate baskets, suitable wash items and suitable cleaning utensils.
The following materials must not be used for cleaning:
– High-pressure cleaner, steam jet
– Detergents containing chlorine or acid
– Cleaning sponges or wire brushes containing metal
– Abrasives or abrasive cleaning agents - Hose down the interior with a water hose.
- Remove dirt with a brush or a cloth.
8.8 Descale the warewasher
If the warewasher is operated with hard water and without water treatment, then the boiler, the interior of the machine, all the water lines and components may develop scale. Grease residues and dirt that remain in the machine can contribute towards hygiene risks, while scaling can lead to failure of heating elements. Regular removal of this scaling is therefore necessary / essential.
The descaling programme can be used to descale the interior of the machine. (} 70)
The water lines and the boiler can be descaled only by an authorised service technician.
8.9 Maintenance by the customer service department
We recommend that you have an authorised service technician carry out maintenance of the warewasher at least once a year so that vulnerable components subject to ageing and wear can be checked and replaced accordingly. Original spare parts must be used for repairs or to replace consumable parts.
Consumable parts are, e.g.:
– Dosing tubes
– Inlet water hose
Service interval
The warewasher control unit specifies the number of operating hours or wash cycles at which the pictogram for service is shown.
Note: This function is deactivated ex-factory. On request, the service technician can activate this function.
Disassembly and disposal
9.1 Taking the warewasher out of operation for long production stops
If the warewasher is taken out of operation for long periods (company holidays, seasonal operation), carry out the following steps:
- Use the self-cleaning programme to empty the warewasher.
- Clean the warewasher.
- Open the hood.
- Close the on-site water supply.
- Disconnect the warewasher from the electrical mains supply.
- Rinse the dosing device with water and allow to dry. If necessary, observe the dosing device information from third-party manufacturers.
- Empty the water treatment (e.g. partial demineralisation cartridges).
If the warewasher is in a place that is not frost-free, the boiler must also be emptied.
- Instruct an authorised service technician to make the warewasher frost-free.
Warning
Risk of scalding from hot water
When emptying the boiler, the drain pump and the sump pots, please be aware that hot water may cause severe burns.
- Let the warewasher cool down before carrying out assembly work.
- Wear protective clothing, protective gloves and protective goggles.

9.2 Disassembly
- Remove any wash items and baskets from the warewasher.
- Empty the warewasher completely.
- Disconnect the warewasher from the on-site electrical connection.
- Disconnect the warewasher from the on-site water supply.
- Disconnect the warewasher from the on-site water disposal.
- Disassemble the table system.
- Disassemble the exhaust air system, if present.
9.3 Disposal
Incorrect or negligent disposal can cause considerable environmental pollution and/or damage.
- For hazardous substances, please observe the disposal regulations listed in the safety data sheets.
- Disposal according to national regulations.
| United Kingdom Miele Co. Ltd. Fairacres, Marcham Road Abingdon, Oxon, OX14 1TW Tel. +44 845 365 6608 E-mail: [email protected] Internet: www.miele.co.uk/professional | Australia Miele Australia Pty. Ltd. ACN 005 635 398 ABN 96 005 635 398 Melbourne: Gilbert Park Drive Knoxfield, VIC 3180 Tel: 1300 731 411 Internet: www.miele.com.au/professional E-mail: [email protected] |
| New Zealand Miele New Zealand Limited IRD 98 463 631 8 College Hill Freemans Bay Auckland 1011, NZ Tel: 0800 464 353 Internet: www.miele.com.au/professional E-mail: [email protected] | Italia Miele ltalia S.r.l. Strada di Circonvallazione 27 39057 S. Michele-Appiano (BZ) Internet: www.miele-professional.it E-Mail: [email protected] Tel. +39 0471 666-319 Fax +39 0471 666-350 |
| Ireland Miele Ireland Ltd. 2024 Bianconi Ave. Citywest Business Campus Dublin 24 Tel: (01) 461 07 10 Fax: (01) 461 07 97 E-Mail: [email protected] Internet: www.miele.ie | Nederland Miele Professional De Limiet 2 Postbus 166 4130 ED VIANEN Tel.: (03 47) 37 88 84 Fax: (03 47) 37 84 29 E-mail: [email protected] Website: www.miele-professional.nl |
| Schweiz / Suisse / Svizzera Miele AG Limmatstrasse 4 8957 Spreitenbach Miele SA Sous-Riette 23 1023 Crissier Telefon +41 56 417 27 51 Telefax +41 56 417 24 69 E-Mail: [email protected] Internet: www.miele.ch/professional | France Miele S.A.S Z.I. du Coudray 9, avenue Albert Einstein 93151 Le Blanc-Mesnil www.miele.fr/professional Contact SAV Professionnel Tél. : 01 49 39 44 78 Fax. : 01 49 39 34 10 Mail : [email protected] |
Hersteller / Manufacturer
Miele & Cie. KG
Carl-Miele-Straße 29
33332 Gütersloh
Telefon +49 5241 89-0
Fax +49 5241 89-2090
Internet: www.miele.de
References
professional.com.au
Home
Miele Professional – hartelijk welkom op onze website
Miele Professional. Bienvenido a nuestra página web
Miele Professional | Soluzioni per il Lavaggio Professionale
Miele Professional – hartelijk welkom op onze website
Miele Professional - Bem-vindo ao nosso website
Miele Professional - Herzlich Willkommen auf unserer Website
Miele Professional - Herzlich Willkommen auf unserer Website
Miele Professional - Welcome to our website
Miele Professional Australia
Willkommen bei Miele - Immer besser
Miele Professional - Herzlich Willkommen auf unserer Website
Miele A/S er leverandør af førsteklasses hårde hvidevarer.
Miele Professional – Bienvenue sur notre site web
Miele Οικιακές Συσκευές - Immer Besser
Welcome to Miele – Immer Besser.
Willkommen bei Miele – Immer besser
Miele Professional – hjertelig velkommen til nettstedet vårt
Miele Professional – Välkommen till vår hemsida
Remove the grease filter (3) from the front and wash in the warewasher.
















