FH-D MOWER Series Duty Trail Cutter Flail Mower

Please read these instructions before using. Always grease all fittings and be sure to always check and fill with oil before operating! Retain this manual for future use www.Betstco.com
541-895-3083 M-F 7am-4pm PST
83371 Melton Rd, Creswell OR 97426
Contact Information: Betstco:
Betst Products, lie. 83371 Melton Rd, Creswell OR 97426 Website: www.Betstco.com
Phone: 541-895-3083 Toll Free: 1-877-876-7895
E-mail: [email protected]
[email protected] [email protected]
RETAIN THIS MANUAL FOR FUTURE OPERATOR’S TO READ AND FOR PARTS AND MAINTENANCE INFORMATION
Safety at all times
Thoroughly read and understand the instructions given in this manual before
operation. Refer to the “Safety Decal”, read all instructions noted on them.
Do not allow anyone to operate this equipment who has not fully read and comprehended this manual and who has not been properly trained in the safe operation of the equipment.
- Operator should be familiar with all functions of the unit.
- Operate implement from the driver’s seat only.
- Make sure all guards and shields are in place and secured before operating the implement.
- Do not leave tractor or implement unattended with engine running.
- Dismounting from a moving tractor could cause serious injury or death.
- Do not stand between tractor and implement during hitching.
- Keep hands, feet, and clothing away from power-driven parts.
- Wear snug fitting clothing to avoid entanglement with moving parts.
- Watch out for wires, trees, etc., when raising implement. Make sure all persons are clear of working area.
- Turning tractor too tight may cause implement to ride up on wheels. This could result in injury or equipment damage
Look For The Safety Alert Symbol
The SAFETY ALERT SYMBOL indicates there is a potential hazard to personal safety involved and extra satety precaution must be taken. When you see this symbol, be alert and carefully read the message that follows it. In addition to design and configuration of equipment, hazard control and accident prevention are dependent upon the awareness, concern, prudence and proper training of personnel involved in the operation, transport, maintenance and storage of equipment. Be aware of signal words A signal word designates a degree or level of hazard seriousness. The signal words Are:
DANGER
Indicates an imminently hazardous situation which, if not avoids, may result in death or serious injury. This signal word is limited to the most extreme situations, typically for machine components that, for functional purpose, cannot be guarded.
WARNING
muitates a potentially hazardous situation which, if not avoided, may result in death or serious injury, and includes hazards that are exposed when guards are removed. It may also be used to alert against unsafe practices.
CAUTION inaicates a potentially hazardous situation which, if not avoided, may result in minor or moderate injury. It may also be used to alert against unsafe practices.
For you protection
Thoroughly read and understand the “safety label” section, read all instructions noted on them.
Shutdown and storage
- Lower machine to ground, put tractor in park, turn off engine, and remove the ignition key.
- Detach and store implements in a area where children normally do not play. Secure implement by using blocks and supports.
Use safety lights and devices
- Slow moving tractors, self-propelled equipment, and towed implements can create a hazard when driven on public roads. They are difficult to see, especially at night.
- Flashing warning lights and turn signals are recommended whenever driving on public roads. Use lights and devices provided with implement.
Transport machinery safely
- Comply with state and local laws.
- Maximum transport speed for implement is 20 mph. Do not exceed. Never travel at a speed which does not allow adequate control of steering and stopping. Some rough terrain may require a slower speed.
- Sudden braking can cause a towed load to swerve and upset. Reduce speed if towed load is not equipped with brakes.
- Use the following maximum speed – tow load weight ratios as a guideline:
- 20 mph when weight is less than or equal to the weight of tractor.
- 10 mph when weight is double the weight of tractor.
- ‘IMPORTANT: Do not tow a load that is more than double the weight of tractor.
Keep riders off machinery
- Riders obstruct the operator’s view, they could be struck by foreign objects or thrown from the machine.
- Never allow children to operate equipment.
Practice safe maintenance
- Understand procedure before doing work. Use proper tools and equipment. refer to
- operator’s manual for additional information.
- Work in a clean dry area.
- U Lower the implement to the ground, put tractor in park, turn off engine, and remove
key before performing maintenance.
- Allow implement to cool completely.
- Do not grease or oil implement while it is operation.
- Inspect all parts. Make sure parts are in good condition and installed properly.
Remove buildup of grease, oil or debris
Remove all tools and unused parts from implement before operation.
Prepare for emergencies
- Be prepared if a fire starts.
- Keep a fist aid kit and fire extinguisher handy.
- Keep emergency numbers for doctor, ambulance, hospital and fire department near phone.
Wear protective equipment
- Protective clothing and equipment should be worn.
- Wear clothing and equipment appropriate for the job. Avoid loose fitting clothing.
- Prolonged exposure to loud noise can cause hearing impairment or hearing loss.
- Wear suitable hearing protection such as earmuffs or earplugs.
- Operating equipment safely requires the full attention of the operator. Avoid wearing radio headphones while operating machinery.
Avoid high pressure fluids hazard
- Escaping fluid under pressure can penetrate the skin causing serious injury.
- Avoid the hazard by relieving pressure before disconnecting hydraulic lines.
- Use a piece of paper or cardboard, not body parts, to check for suspected leaks.
- Wear protective gloves and safety glasses or goggles when working with hydraulic systems.
- If an accident occurs, see a doctor immediately. Any fluid injected into the skin must be treated within a few hours or gangrene may occur.
Safety Labels
Your mower comes equipped with all safety labels in place. They were designed to help you safely operate your implement. Read and follow their directions.
- Keep all safety labels clean and legible.
- Replace all damaged or missing labels. To order new labels contact Best Products.
- Some new equipment installed during repair requires safety labels to be affixed to the replaced component.. When ordering new components make sure the correct safety labels are included in the request.
- Refer to this section for proper label placement.
To install new labels:
- Clean the area the label is to be placed.
- Spray soapy water on the surface where the label is to be placed.
- Peel backing from label. Press firmly onto the surface.
- Squeeze out air bubbles with the edge of a credit card.
SAFETY PRECAUTIONS



Introduction
Betstco welcomes you to the growing family of new product owners. This implement has been designed with care and built by skilled workers using quality materials. Proper assembly, maintenance, and safe operating practices will help you get years of satisfactory use from the machine.
Application
The Flail Mowers are designed for Category 1 – three point hitch or quick-hitch system mounting. These fixed bar flail mowers are ideal for ripping, leveling, finish grading, and backfilling applications at feedlots, outdoor arenas, building sites, and maintenance operations on farm and ranch lanes or roadways.
Using This Manual
This operator’s manual is designed to help familiarize you with safety, assembly, operation, adjustments, troubleshooting, and maintenance. Read this manual and follow the recommendations to help ensure safe and efficient operation.
The information contained within this manual was current at the time of printing.
Some parts may change slightly to assure you of the best performance.
To order a new operator’s or parts manual contact Best Products. Manuals can also be printed from our website www.betstco.com.
Terminology
” Right” or “Left” as used in this manual is determined by facing the direction the machine will operate while in use unless otherwise stated.
Definitions
Note: A special point of information that the operator must be aware of before continuing.
Important: A special point of information related to its preceding topic. The intention is that this information should be read and noted before continuing.
Owner Assistance
The Warranty Registration card should be filled out by purchaser upon receipt.
If repair parts are required contact Betstco. The parts on your machine have been specially designed and should only be replaced with genuine parts.
Serial Number Plate
For prompt service always use the serial number and model number when ordering parts
Re sure to include vour serial and model numbers in corresnondence also.
Assembly and Set-up
Tractor Requirements
This mower is designed with a 3-Point category | hitch. Tractor horse power rating should not exceed 80 PTO horse power.
Assembly Refer to the parts illustration.
Tractor Hook-Up
- Be certain that tractor draw bar will not interfere. Move draw bar ahead or remove if required. Draw bar should also be checked for clearance when unit is being raised for the first time.
- Align lower link arms of tractor to hitch clevises on mower. Insert lower hitch pins into lower ball swivels and attach lynch pins.
- Attach tractor top link to upper floating hitch on mower with pin supplied. Secure with lock pin.
- Adjust tractor top link in or out to place upper hitch pin vertically above or slightly behind lower hitch pins to allow mower flotation. The mower should be run with the back 15 degrees lower than the front.
Driveline Installation
- Slide driveline end with extended safety cone over splined shaft of gearbox and secure with attaching device.
- Slide driveline over tractor’s splined PTO shaft and secure with locking device of driveline.
- Driveline should now be moved back and forth to ensure that it is secure on the PTO shaft of the tractor and mower gearbox.
- ttach chain from the driveline shield to one of the upper hitch braces to ensure that the shield does not rotate.
- Should driveline require shortening:
- Hold the half-shafts next to each other in the shortest working position and mark them.
- Shorten inner and outer guard tubes equally.
- Shorten inner and outer sliding profiles by the same length as the guard tubes.
- Proper overlap is a minimum of one-half the length of each tube, with both tubes being of equal length.
- Round off all sharp edges and remove burrs. Grease sliding profiles.
CAUTION
Tractor PTO shield and all mower guards must be in place at all times during operation!
Operating Instructions
Transporting
VOTE: Always disengage PTO before raising mower to transport position.
When raising the mower to transport position, be sure that driveline does not contact tractor or mower. Adjust and set the tractor’s 3-point hitch lift height so that the driveline does not contact mower deck in the fully raised position.
Be sure to reduce tractor ground speed when tuming, leaving enough clearance so that the mower does not contact obstacles such as buildings, trees or fences.
Select a safe ground travel speed when transporting from one area to another.
When traveling on roadways, transport in such a way that faster moving vehicles may pass safely.
When traveling over rough or hilly terrain, shift tractor to a lower gear.
CAUTION
When traveling on public roads, whether at night or during the day, use accessory lights and levices for adequate warning to operators of other vehicles. Comply with all Federal, State, Ind local laws.
Mowing Instructions
Clear area to be mowed of objects and debris that might be picked up and thrown by the mower blades.
Grass is best cut when it is dry. Mowing wet grass can cause plugging resulting in grass clumps behind the mower.
Grass should be mowed frequently as shorter clippings deteriorate faster.
If mowing extremely tall grass, it is best to raise cutting height and mow the area, then lower cutting height and mow a second time at the desired height. Operating Instructions Proper servicing and adjustments are the key to the long life of any machine. With areful and systematic inspection of the mower, costly maintenance, time and repair can re avoided.
Before beginning to mow, the following inspection should be performed:
- Check oil level in gearbox.
- Check that all plugs in gearbox have been replaced and tightened properly.
- Be sure all mower knives, bolts and nuts are tight.
- Be certain all guards and shields are in place and secure.
- Grease driveline shaft and all other grease fittings.
- Clear area to be mowed of rocks, branches and other foreign objects.
- Lower mower to ground. Set tractor throttle at approximately 1/4 open. Engage PTO to start blades rotating.
- Operate with 540 pm PTO tractor.
- At first begin mowing at a slow forward speed and shift up until the desired speed is achieved – maintaining 540 PTO грт.
- Mower knives will cut better at a faster blade speed than at reduced throttle.
- After mowing the first 50 feet, stop and check to see that the mower is adjusted properly.
- Do not make sharp turns or attempt to back up while mower is on the ground.
- Do not engage PTO with mower in the fully raised position. Do not engage PTO at full throttle.
Adjustments
Leveling the Mower
NOTE: Tractor and mower should be on level ground.
Leveling can be adjusted at the tractor’s 3-point arms and center link.
Cutting Height Adjustment
- The machines cutting height depends upon the position of the rear roller.
- Remove the bolts that fix the roller on both sides.
- Lift or lower both sides of roller in equal measurements.
- Replace bolts and re-tighten.
3-Point Hitch Adjustments
The 3-point hitch system on this mower has been designed for front to back flotation when mowing on uneven terrain. Adjust tractor’s top center link to place the upper hitch pin vertically above or slightly behind the lower hitch pins. The mower should be run with the back 15 degrees lower than the front. The hitch can also be adjusted from side to side by turning the adjustment handle. Turn handle until you have achieved your desired location.
CAUTION
Engage parking brake, shut off tractor, remove key and disengage PTO before making any height adjustments!
Belt Tension
CAUTION
Belt drive system under spring tension; use care to avoid bodily harm! The belt tension should be checked after the first 20 hours of use. And then after every 40 hours of use.
- Tension on the belt can be adjusted with the belt tension bolt. Turn the bolt until desired tension is achieved. When the belt has the correct tension the gearbox should be adjusted so that the gearbox extension is running straight (parallel) with the flail mower. Loosen bolts at the bottom of the gearbox and move gearbox until gearbox extension is running straight.
- Excessive tension on the belt may lead to premature failure of belt and drive components.
CAUTION
Excessive tension on the belt may also lead to a safety hazard to the operator or bystanders.
Maintenance and Lubrication
Maintenance
Proper servicing and adjustment is the key to the long life of any farm implement. With careful and systematic inspection, you can avoid costly maintenance, time and repair.
CAUTION
For safety reasons, each maintenance operation must be performed with tractor PTO disengaged, mower lowered completely to the ground and tractor engine shut off with ignition key removed.
After using the mower for several hours, check all bolts to be sure they are tight and check drive belt tension.
Replace any worn, damaged or illegible safety decals by obtaining new decals from Betst Products.
Knife Replacement
IMPORTANT: Make sure that the knife is the same length as the others on the mower.
This will keep the rotor rotation balanced.
- Remove bolt and nut.
- Remove old knife.
- Install new knife and existing bolt.
- Secure with nut.
V-Belt Installation
CAUTION
Belt drive system under spring tension; use care to avoid bodily harm!
Remove belt guard fender and belt cover.
Disengage belt tension by loosening belt tension bolt until belt can be removed.
With tension relieved from belt remove old belt from pulleys.
Tighten belt tension bolt.
Reinstall belt guard and belt guard fender.
storage
At the end of the working season or when the mower will not be used for a long period, it is good practice to clean off any dirt or grease that may have accumulated on the mower and any of moving parts.
- Clean as necessary.
- Check knives for wear and replace if necessary.
- Inspect mower for loose, damaged or worn parts and adjust or replace as needed.
- Store unit inside if possible for longer life.
- Repaint parts where paint is worn or scratched to prevent rust.
- Replace all damaged or missing decals.
Lubrication
Check oil level in gearbox by removing the plug located on the right hand side.
Oil should be level with bottom of plug hole. Add oil if necessary by removing top fill plug and side plug. Add oil until it flows from side plug hole.
Do not overfill!
IMPORTANT :
Mower should be level when checking oil in gearbox!
Driveline Profiles
Type of Lubrication: Multi-purpose Grease
Specifications & Capacities

Troubleshooting
Appendix
Bolt Torque
The tables shown below give correct torque values for various bolts and cap screws. Tighten all bolts to the torques specified unless otherwise noted. Check tightness of bolts periodically, using bolt torque chart as a guide. Replace hardware with the same length bolt.
Torque figures indicated above are valid for non-greased or non-oiled threads and heads. Therefore, do not grease or oil bolts or cap screws unless otherwise specified in this manual. When using locking elements, increase torque values by 5%.
D series Flail Mower Partlist
DM2201200l180l16011401120-MOWER PARTS LISTTrnsmission Assembly
DM2201200l180l16011401120-MOWER PARTS LIST
| DM2201200l180l16011401120-MOWER PARTS LIST | |||||
| REF. | PART NUMBER | DESCRIPTION | 4; fAc; lkJYl ;tt | QTY. | REMARKS |
| 1 | GB5783-M10x20 | BOLT M10x20 | ½J;j½M10x20 | 6 | |
| 2 | GB93-10 | LOCK WASHER 10 | 10 | 6 | |
| 3 | GB97.1-10 | PLAIN WASHER 10 | -‘¥- 1110 | 6 | |
| 4 | D220.012 | COVER,PULLEY,WOT | ;j#’ $.8 – f}ET‘f pb1tj=– – | 1 | |
| 5 | FLP180.111 | PULLEY,DRIVING | ** | 1 | |
| 6 | REACH 04-4065 | REACH 04-4065 ,IJ | K*4065 | 1 | |
| 7 | GB11544-SPB1370 | V-BELT SPB1370 | V*SPB1370 | 4 | |
| 8 | FLP180.112 | PULLEY,DRIVEN | ;J\* | 1 | |
| 9 | REACH 04-5080 | REACH 04-5080 | ,IJK*5080 | 1 | |
| 10 | GB5783-M 12×25 | BOLT M12x25 | ½li’i:M12x25 | 1 | |
| 11 | GB93-12 | LOCK WASHER 12 | w. Ill12 | 1 | |
| 12 | GB97.1-12 | PLAIN WASHER 12 | -‘F- 12 | 1 | |
| 13 | D220.101 | PLATE | 1t Hw. | 1 | |
| 14 | D220.011 | DECK,WDT | #L- ft-1Ht- | 1 | D220 |
| D200.011 | DECK,WDT | #L1Jtlr½1t- | 1 | D200 | |
| D180.011 | DECK,WDT | inlJ tlr¾1t- | 1 | D180 | |
| D160.011 | DECK,WDT | if-Ltf1Ht- | 1 | D160 | |
| D140.011 | DECK,WDT | tf1,lJ jf 1}14′- | 1 | D140 | |
| D120.011 | DECK,WDT | ifLlJjlf1}1!f- | 1 | D120 | |
| 15 | GB13871-60x110x10 | SEAL 60x110x10 | JIB:i-J60x110x10 | 2 | |
| 16 | GB893.1-110 | RETAINING RING 110 | .:rUrl tHi!l11o | 2 | |
| 17 | GB281-512 | BEARING 512 | WJ I\.,’ $iii;;q’.\.512 | 2 | |
| 18 | GB13871-70x100x10 | SEAL 70x100x10 | :iru1-J70x100x10 | 2 | |
| 19 | D220.110 | BEARING SEAT | $roitlt | 2 | |
| 20 | GB5783-M16x40 | BOLT M16x40 | ifttM16x40 | 8 | |
| 21 | GB93-16 | LOCK WASHER 16 | :ii !l16 | 8 | |
| 22 | D220.019 | ROTATOR,WDT | JJ .trot-¥1}{4′ | 1 | D220 |
| D200.019 | ROTATOR,WDT | JJ titit ½fl=- | 2 | D200 | |
| D180.019 | ROTATOR,WDT | J] till:l:+¾14′- | 3 | D180 | |
| D160.019 | ROTATOR,WDT | JJ $rot1Ht- | 4 | D160 | |
| D140.019 | ROTATOR,WDT | JJ tiiit ¾{t- | 5 | D140 | |
| D120.019 | ROTATOR,WDT | JJ t.JE.*-f¾14- | 6 | D120 | |
| 23 | GB889.1-M18 | LOCK NUT M18 | 4fti WHJtrM18 | 20 | |
| 24 | D220.111 | BLADE | ltlU) )] | 20 | |
| 25 | GB5782-M18x115 | BOLTM18x115 | ½ltf::M18x115 | 20 | |
| 26 | GB889.1-M16 | LOCK NUT M16 | 4fPti };-E}-M16 | 4 | |
| 27 | GB97.1-16 | PLAIN WASHER 16 | –¥ 0016 | 4 | |
| 28 | GB5783-M16x50 | BOLT M16x50 | il!]I tt M16x50 | 4 | |
| 29 | D220.020 | BRACKET,LEFT | /R tt i.r:).t t %14– | 1 | |
| 30 | GB1152-M10x1 | ZERK M10x1 | mr¥rM10x1 | 6 | |
| 31 | GB893.1-88 | RETAINING RING 88 | :YL!tl H-i \il88 | 2 | |||
| 32 | D220.112 | BLOCK | *#EK | 2 | |||
| 33 | GB3452.1-82.5×3.55 | 0-RING 82.5×3.55 | 0% \ll82.5×3.55 | 2 | |||
| 34 | GB13871-48x62x8 | SEAL 48x62x8 | ilil A8x62x8 | 2 | |||
| 35 | GB281-508 | BEARING 508 | lf l\.i’ $IJ jf\.508 | 2 | |||
| 36 | GB894.1-40 | RETAINING RING 40 | $IJ ft].:J !I 40 | 2 | |||
| 37 | D220.021 | ROLLER,WDT | nz4tt,¾14 | 1 | D220 | ||
| D200.021 | ROLLER,WDT | 5ll47tfW¾i4 | 2 | D200 | |||
| D180.021 | ROLLER,WOT | il4iff,g-i4 | 3 | 0180 | |||
| D160.021 | ROLLER.WOT | jft 4itf ¾14 | 4 | D160 | |||
| 0140.021 | ROLLER.WOT | it 4if ,g-f4 | 5 | 0140 | |||
| 0120.021 | ROLLER,WOT | nz t,¾14 | 6 | 0120 | |||
| 38 | D220.113 | SCRAPER | iu;ft.it{ | 1 | D220 | ||
| 0200.113 | SCRAPER | iu t’i- | 1 | 0200 | |||
| D180.113 | SCRAPER | r1;1J ;ft. | 1 | D180 | |||
| D160.113 | SCRAPER | tLl 5?t.i’!i | 1 | D160 | |||
| 0140.113 | SCRAPER | Ji] | 1 | 0140 | |||
| D120.113 | SCRAPER | iu;ft. | 1 | D120 | |||
| 39 | GB5783-M 14×40 | BOLT M14x40 | i:- UtM14x40 | 2 | |||
| 40 | GB889.1-M14 | LOCK NUT M14 | 4J!i ‘.#? if –.qM14 | 2 | |||
| 41 | D220.022 | BRACKET,RIGHT | if ft H.;Op1}14′ | 1 | |||
| 42 | GB889.1-M12 | LOCK NUT M12 | 4Jli ‘#;t 4:J f,J-M12 | 2 | |||
| 43 | D220.107 | PLATE,PROTECTION | -f t’M | 1 | |||
| 44 | GB2673-M 12×35 | SUNK SCREW M12x35 | *jJG :Y-c:: ff tr M12x35 | 1 | |||
| 45 | GB91-4×32 | COTTER4x32 | tJ 4 4×32 | 1 | |||
| 46 | GB97.1-18 | PLAIN WASHER 18 | -f- !”)18 | 5 | |||
| 47 | 0220.102 | FLAP | Hitffi. | 17 | |||
| 48 | D220.103 | FLAP,GAPPEO | ik: P t:ltffe. | 5 | |||
| 49 | 0220.013 | ROO,WOT | HJ;ffn ,g-{t | 1 | 0220 | ||
| 0200.013 | ROO,WOT | Hittt,¾i4 | 1 | 0200 | |||
| D180.013 | ROD,WOT | Hf:tff-l’\¾14 | 1 | D180 | |||
| 0160.013 | ROO,WOT | tLttff,g-i4 | 1 | 0160 | |||
| D140.013 | ROD,WOT | tlrttt,¾14 | 1 | D140 | |||
| D120.013 | ROD,WOT | t: f,tfff1H4′- | 1 | D120 | |||
| 50 | 0220.014 | SUPPORTING BAR.WOT | 11J#t4,¾I 14 | 1 | |||
| 51 | D220.104 | CLAMPING PIN | +i | 1 | |||
| 52 | 0220.018 | BRACKET,WOT | -ilol Ti”Mt }W½. i’t | 1 | |||
| 53 | GB97.1-14 | PLAIN WASHER 14 | ‘f- 14 | 2 | |||
| 54 | GB93-14 | LOCK WASHER 14 | §i¥ 1114 | 2 | |||
| 55 | GB5783-M 14×40 | BOLT M14x40 | 4:Jt:tM14x40 | 2 | |||
| 56 | D220.004 | TRANSMISSION ,ASM | 1-E<-thlM‘iscl ,-0., ., }jX_ | 1 | D220 | ||
| 0200.004 | TRANSMISSION,ASM | ftti);;f1–f ,·-.,i!i., JJ; | . | 1 | 0200 | ||
| D180.004 | TRANSMISSION,ASM | 1–o·z12iV;u:,Mf – ,-0., ., | J–A. | 1 | D180 | ||
| D160.004 | TRANSMISSION,ASM | 1-–i:C(. ·‘11;4f ;.. i\/,.J5” ff<. | 1 | D160 | |||
| 0140.004 | TRANSMISSION,ASM | 1z.“¾’ ‘)t.@,k ,”s_:, fi | . | 1 | 0140 | ||
| D120.004 | TRANSMISSION,ASM | 1-–Ez ij1‘ J4l’–iskl ,-l.=, 1., ffe_. | 1 | D120 | |||
| 57 | GB6170-M16 | NUT M16 | !l<};-J:ltM16 | 1 | |||
| 58 | GB5783-M 16×60 | BOLT M16x60 | !l<J;j-iM16x60 | 1 | |
| 59 | GB5783-M14x50 | BOLT M14x50 | ½J,ttM14x50 | 2 | |
| 60 | GB93-14 | LOCK WASHER 14 | 5i !l14 | 2 | |
| 61 | GB5783-M 12×35 | BOLT M12x35 | t/;ttM12x35 | 4 | |
| 62 | GB93-12 | LOCK WASHER 12 | \112 | 4 | |
| 63 | GB97.1-12 | PLAIN WASHER 12 | -‘!2- !112 | 4 | |
| 64 | D220.109 | PLATE | ,t)i_ | 1 | |
| 65 | D220.017 | MOUNTING,WDT | –w 1 J.i.;J: 1Ht | 1 | |
| 66 | GB889. 1-M10 | LOCK NUT M10 | 4i!:1‘!fr l # M10 | 4 | |
| 67 | GB97.1-10 | PLAIN WASHER 10 | + !110 | 4 | |
| 68 | D220.115 | BUSH | :it* | 4 | |
| 69 | GB5782-M10x90 | BOLT M10x90 | ½,f iiM10x90 | 4 | |
| 70 | D220.016 | SLIDING FRAME,WDT | f}’ i);;jfns;e_11$‘f- pA1lf | 1 | |
| 71 | D220.040 | CYLINDER,SMB | im.tr | 1 | D220 |
| D200.040 | CYLINDER,SMB | im ffrl | 1 | D200 | |
| D180.040 | CYLINDER,SMB | :i@tliI | 1 | D180 | |
| D160.040 | CYLINDER,SMB | 1rn¼r1 | 1 | D160 | |
| D140.040 | CYLINDER,SMB | Jlff ifrI | 1 | D140 | |
| D120.040 | CYLINDER,SMB | Jmmr | 1 | D120 | |
| 72 | GB889.1-M18 | LOCK NUT M18 | 431 ,/, -f-iM18 | 4 | |
| 73 | D220.108 | SLIDE WAY.SHORT | Pift}L | 1 | D220 |
| D200.108 | SLIDE WAY,SHORT | ja tlL | 1 | D200 | |
| D180.108 | SLIDE WAY,SHORT | , $}L | 1 | D180 | |
| D160.108 | SLIDE WAY,SHORT | ‘.},i,’f_,1.° ckt}L | 1 | D160 | |
| D140.108 | SLIDE WAY,SHORT | }’.N. $}L | 1 | D140 | |
| D120.108 | SLIDE WAY,SHORT | li- $}L | 1 | D120 | |
| 74 | D220.105 | HITCH PIN,LOWER | r -,B:.U..;tf:J | 2 | |
| 75 | D220.114 | SLIDE WAY,LONG | -Ii:.fr }L | 1 | D220 |
| D200.114 | SLIDE WAY,LONG | -Ii: f }L | 1 | D200 | |
| D180.114 | SLIDE WAY,LONG | ·!E:f{JL | 1 | D180 | |
| D160.114 | SLIDE WAY,LONG | * f}L | 1 | D160 | |
| D140.114 | SLIDE WAY,LONG | * f}L | 1 | D140 | |
| D120.114 | SLIDE WAY,LONG | ,,’-$}L | 1 | D120 | |
| 76 | D220.015 | HITCH FRAME,WDT | ‘”‘; t;±±. i’-i- r;):E1 PA-14 | 1 | D220 |
| D200.015 | HITCH FRAME,WDT | –rm- ti i’li-Y•-=”f pA-1–4′ | 1 | D200 | |
| D180.015 | HITCH FRAME,WDT | -/-.E.:::..i-, tti=-!!JP’T1′ Al=1-14 | 1 | D180 | |
| D160.015 | HITCH FRAME,WDT | ;i 4ii=IH -½14 | 1 | D160 | |
| D140.015 | HITCH FRAME,WDT | -/f.i.l.-, 4l:–-m;kl,“fI Al=I-1-4′ | 1 | D140 | |
| D120.015 | HITCH FRAME,WDT | _I l.e L… 4-i.m.t”‘-‘f-pA-1–4 | 1 | D120 | |
| 77 | LP12 | LOCK PIN | iii.it) 12 | 2 | |
| 82 | GB5782-M12x140 | BOLT M12x140 | !l<J;J1:M12x140 | 2 | |
| 83 | GB97.1-12 | PLAIN WASHER 12 | f- !112 | 4 | |
| 84 | GB889.1-M12 | LOCK NUT M12 | 4,ih !llJ#M12 | 2 | |
| 85 | JB/ZQ4454-14 | SEALING GASKET | W# 14 | 2 | |
| 86 | BHS.60.109 | FITTING | ti* 14-14 | 2 | |
| 87 | QC-R1/2-M | COUPLER,MALE | t J#’di 4 R1/2- 0 | 2 | |
| 88 | BV160.00.114 | ADAPTER | i± }itif·* | 2 | |
| 89 | D220.041 | HOSE | ‘:;w”1‘a | 2 |
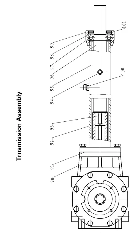
TRANSMISSION ASSEMBLY
| 90 | TS50.300Z.02 | GEAR BOX | °W -ttkffkl ,iw’;1 | 1 | |
| 91 | EFGC125.166 | GASKET | t | 1 | |
| 92 | EFGC125.167 | SLEEVE | :i!tt* | 1 | |
| 93 | GB1096-A1Ox40 | KEY A10x40 | 1J!A10x40 | 1 | |
| 94 | JB/ZQ4446-R3/8 | PLUG R3/8 | tJ¥.R3/8 | 1 | |
| 95 | D220.045 | TUBE,WDT | tmii;;ff½1t | 1 | D220 |
| 0200.045 | TUBE,WDT | $m ff½14 | 1 | 0200 | |
| D180.045 | TUBE.WOT | tw iHt | 1 | D180 | |
| D160.045 | TUBE,WDT | tra J:. ½1t | 1 | D160 | |
| D140.045 | TUBE,WDT | tm 1,½1t | 1 | D140 | |
| 0120.045 | TUBE,WDT | $m1; ½14 | 1 | 0120 | |
| 96 | 0220.401 | SHAFT | tw | 1 | D220 |
| D200.401 | SHAFT | tra | 1 | D200 | |
| D180.401 | SHAFT | tm | 1 | D180 | |
| 0160.401 | SHAFT | $m | 1 | D160 | |
| D140.401 | SHAFT | tw | 1 | D140 | |
| D120.401 | SHAFT | tra | 1 | D120 | |
| 97 | GB/T276-6208 | BEARING 6208 | tmJJ\6208 | 1 | |
| 98 | GB893.1-80 | RETAINING RING 80 | -JLftJtH \180 | 1 | |
| 99 | GB13871-40x80x10 | SEAL 40x80x10 | 5w it40x80x10 | 1 | |
| 100 | BV160.20.102 | VENT | ni !kJttR3/8 | 1 | |
| 101 | GB894.1-40 | RETAINING RING 40 | tm ft1 tJi \140 | 1 | |
| 102 | PTO SHAFT COVER | PTO’i¥ | 1 |
FARMER-HELPER Limited Warranty
Unless otherwise stated on purchase invoice, Betstco warrants to original Purchaser that Farmer-Helper products are free from major effects in material under normal use and service for a period of 90 Days from the date the product is purchased or shipped, whichever is later. Commercial use 90 days. Use at address that is not yours, is considered commercial use. Consumable, Expendable, Wear Items (Rubber plastic parts, hydraulic hoses, belts, tires, cables, blades, tines, wedges, teeth, tips, chains, pins, brushes, filters, etc) and cracked hydraulic pumps, bent or broken cylinder rods are not covered under this warran- ty. Warranty does not cover items that have been modified, damaged by abuse or usage not in accor- dance with design or maintenance.
Betstco obligation under this warranty is to repair or replace defective upon approval by; Betstco, 83371 Melton Rd. N, Creswell OR 97426 that Warranty Claim is valid. Product shall be returned upon request of Betstco. Transportation charges to be prepaid by user. Gasoline or diesel engines used to powered Farmer-Helper products are covered by the warranty of the appropriate engine manufacturean Purchaser must look to the engine manufacture for all issues relating to engine operation. Betstco assumes no responsibility for outside labor.
PERMISSABLE BY APPLICABLE LAW, BETSTCO HEREBY DISCLAIMS ALL WARRANTIES OF ANY KIND, EITHER EXPRESS OR IMPLIED, INCLUDING, ANY IMPLIED WARRANTIES WITH RESPECT TO THE PRODUCT PURCHASED, WITHOUT LIMITING THE GENERALITY OF THE FOREGOING, BETSTCO HEREBY EXPRESSLY DISCLAIMS ALL LIABILITY FOR PRODUCT DEFECT OR FAILURE, CLAIMS THAT ARE DUE TO NORMAL WEAR, PRODUCT MISUSE, ABUSE, PRODUCT MODIFICATION, IMPROPER PROD- UCT SELECTION, NON-COMPLIANCE WITH ANY CODES, OR MISAPPROPRIATION. BETSTCO MAKES NO WARRANTIES TO THOSE DEFINED AS “CONSUMERS” IN THE MAGNUSON-MOSS WARRANTY FEDERAL TRADE COMMISION IMPROVEMENTS ACT. THE FOREGOING EXCLUSION OF IMPLIED WARRANTIES DO NOT APPLY TO THE EXTENT PROHIBITED BY LAW. PLEASE REFER TO YOUR LOCAL LAWS FOR ANY SUCH PROHIBITIONS.
THERE SHALL BE NO LIABILITY FOR PRODUCT LIABILITY OR LIABILITY ON THE PART OF BETSTCO FOR ANY GENERAL SPECIAL OR CONSEQUENTIAL DAMAGES ARISING OUT OF THE SALE OR USE OF ANY PRODUCTS SOLD BY BETSTCO OR AN AGENT THEREOF, BETSTCO MAKES NO WARRANTIES, EXPRESS OR IMPLIED, (INCLUDING, BUT NOT LIMITED TO, ANY WARRANTY OF MERCHANTABILITY OR FITNESS OF THE PRODUCTS FOR ANY PURPOSE WITH RESPECT TO THE PRODUCTS COVERED BY THIS AGREEMENT EXCEPT AS IN THIS PARAGRAPH OTHERWISE EXPRESSLY PROVIDED. THIS IS THE SOLE AND ONLY WARRANTY OF VALUE-LEADER PRODUCTS, NO OTHER WARRANTY IS APPLICABLE, EITHE EXPRESSED OR IMPLIED, IN FACT BY LAW.
This warranty shall not be interpreted to render Betstco, or any authorized agent liable for injury or damages of any kind or nature, direct, consequential, or contingent, to a person or property. The sole and only remedy in regard to any defective product shall be the repair or replacement thereof as herein provided, Betstco, agent(s) of Betstco shall not be liable for any consequential, special, incidental or punitive damages resulting from or caused by any such defects.
WARRANTY VOID IF REGISTRATION IS NOT RECEIVED OR RECORDED ONLINE WITHIN 30 DAYS OF PURCHASE DATE OR SHIP DATE, WHICHEVER IS LATER.
ACCEPTANCE OF RESPONSIBILITY:
I (PURCHASER) HAVE READ OPERATORS MANUAL AND LIMITED WARRANTY OR SOMEONE HAS READ/AND EXPLAINED ALL INSTRUCTIONS TO ME. I UNDERSTAND THIS WARRANTY DOES NOT COVER ANY LABOR AND THAT ALL DISPUTES WILL BE SETTLED BY BINDING ARBITRATION. BIND-ING ARBITRATION IS CONDUCTED BY THE BETTER BUSINESS BUREAU (BBB) LOCATED AT 4004 SW KRUSE WAY PLACE ST 375 LAKE OSWEGO OR 97035 OR THE CURRENT BBB LOCATION CLOS-EST TO BETSTCO. I ACKNOWLEDGE MY LIMITED WARRANTY IS VOID IF ANY ATTEMPT TO REPAIR OR REPLACE DEFECTIVE PARTS HAS BEEN MADE BY UNAUTHORIZED PERSONNEL.I ACKNOWL-EDGE RECEIPT OF MY OPERATORS MANUAL AND HAVE READ THE SAFE OPERATION SECTION. I ACKNOWLEDGE UNDERSTANDING MAINTENANCE AND SAFE OPERATION REQUIREMENTS, ITEM SPECIFACATIONS, OPERATION, CONTROLS AND STORAGE REQUIRMENTS. I UNDERSTAND THAT
IS ALONE AM RESPONSIBLE FOR PROPER MAINTENANCE, CARE AND SAFE OPERATIONOF THIS FARMER-HELPER ITEM
I (PURCHASER) AGREE THAT PERSONS NOT FAMILIAR WITH THE OPERATION OF THIS ITEM SHOULD NOT BE ALLOWED TO USE IT. CHILDREN ESPECIALLY SHOULD NOT OPERATE OR BE NEAR POWER PRODUCTS WHEN IN USE. ANYONE OPERATING VALUE-LEADER PRODUCTS SHOULD HAVE READ OPERATIONS MANUALS AND SAFTEY MANUALS.
YOU MUST SIGN THIS WARRANTY AND MAIL OR FAX A COPY TO BETSTCO, 83371 MELTON RD, CRESWELL OR, 97426. IF YOU PREFER YOU MAY COMPLETE YOUR REGISTRATION ONLINE AT WWW.VALUE-LEADER.COM. THIS WARRANTY IS NOT EFFECTIVE UNLESS PURCHASER COMPLETE REGISTRATION AND WARRANTY FOR WITHIN 30 DAYS OF PURCHASE OR SHIP DATE WHICHEVER IS LATER.
NOTE: WE MAY REFUSE WARRANTY OF ANY KIND UNLESS BETSTCO, RECEIVES A COMPLETED, LEGIBLE AND SIGNED WARRANTY REGISTRATION. IT IS THE RESPONSIBILITY OF THE PURCHASER TO ASSURE THAT REGISTRATION DOCUMENT IS RECIEVED BY.
1 YEAR EXTENDED WARRANTY & REGISTRATION FARMER-HELPER IMPLEMENTS BRANDED PRODUCTS
1 YEAR EXTENDED WARRANTY
1 Year Extended Warranty amends to original Recorded Warranty Registration the time period of described coverage. Extended Warranty does not apply to consumable and Expendable Item as described in Product Warranty Registration.
This amendment does not affect any other part of recorded Warranty Regis-tration or policy.
No one is authorized to alter, modify, or enlarge this Amendment to original recorded Warranty Registration
EXTENDED REGISTRATION & PAYMENT MUST BE RECEIVED WITHIN 30 DAYS OF PURCHASE DATE
ACCEPTANCE OF RESPONSIBILITY:
I (PURCHASER) HAVE READ AND UNDERSTAND THE EXTENDED WARRANTY OR SOMEONE HAS READ AND EXPLAINED ALL THE ABOVE TO ME. I UNDERSTAND THIS EXTENDED WARRANTY DOES NOT COVER ANY LABOR. I HAVE FILED MY ORIGINAL WARRANTY REGISTRATION AND FULLY UNDERSTAND MY REQUIREMENTS. I UNDERSTAND THAT I ALONE AM RESPONSIBLE FOR PROPER MAINTENANCE, CARE AND SAFE OPERATION OF THIS TRACTOR IMPLEMENT.
YOU MUST SIGN THIS WARRANTY AND MAIL OR FAX A COPY TO BETSTCO, 83371 MELTON RD, CRESWELL OR. IF YOU PREFER YOU MAY COMPLETE YOUR REGISTRATION ONLINE AT WWW.VALUE-LEADER.COM. THIS WARRANTY IS NOT EFFECTIVE UNLESS PURCHASER COMPLETE REGISTRATION AND WARRANTY FOR WITHIN 30 DAYS OF PURCHASE OR SHIP DATE WHICHEVER IS LATER.
NOTE: WE MAY REFUSE WARRANTY OF ANY KIND UNLESS BETSTCO, RECEIVES A COMPLETED, LEGIBLE AND SIGNED WARRANTY REGISTRATION. IT IS THE RESPONSIBILITY OF THE PURCHASER TO ASSURE THAT REGISTRATION DOCUMENT IS RECIEVED BY BETSTCO.
















