BEOK TGT70 WiFi Heating Thermostat Instruction Manual

I. Product Summary:
TGT70 WIFI Heating Thermostat is WIFI touch screen thermostat with phone control. It is applied to temperature control of industrial, commercial and domestic room, and start of control heating appliances, especially floor heating systems. It can be controlled by phone. Phone systems are IOS and Android system optional.
II. Technical Parameter:

III. Main Functions and Characteristics
- WIFI for Android & Apple iOS
- Large screen display and touch button
- Power-off memory function
- Real-time data save function
- 5+2 or 6+1or 7days six periods program schedule
- Anti-freezing function
- 3 sensor modes can be setting
- Selectable 80mmx80mm European hidden box.
- With child lock function
IV. User Interface Explanation(Thermostat Port)

V. User Interface Explanation(Phone Port)

VI. Model Spec

VII. Wiring Diagram

VIII. Thermostat Operation Instruction



Remark:
Dead zone for floor temp.: i.e. the setting dead zone for floor sensor is 2, OSV is 42, when actual temp. reach 44, the relay will stop working; when actual temp. is back to 40, the relay starts working again. It works when room temp. is lower than set temp.
Sensor error: Please select the right sensor mode. If select the different mode or there is error of sensor, Err will display on the LCD screen, the thermostat will stop heating till the problem is solved.
IX. Phone Port Operation Instruction
1. Install APP on phone For iOS system: Login in App Store, search ” Beok Home”, you can download it on your iPhone. Or scan below code to download:

For Android System: Login in Google Play, search “Beok Home”, you can download it on your phone. Or scan below code to download:








APP Interface on the Phone




X. Attention to Phone WiFi Connection:
- After you press Configure, if connection fails:
a. Please confirm your mobile phone is set to WLAN mode, and ensure its (mobile data)3g/4g is turned off. Please connect to 2.4G wifi, not 5G wifi.
b. Please add your wifi router name, we recommend it does not include spaces or Chinese symbol.
c. Please check your wifi router password. We recommend not over 32 characters, no spaces, no blank password, no special symbols except letters and numbers.
d. Please check module is successfully reset . In power-off state, press Time key firstly, then press Power key to enter Advanced Setting. Find FAC mode, to change FAC to 10 or 32, then turn thermostat off……
Press Time key within 2 minutes, then press Power key again. This time, it will not enter Advanced Setting, but WIFI symbol on the LCD screen will be flashing quickly and frequently. This means wifi module has been reset successfully. Then wait for APP to connect well.
e. Please confirm wifi password is correctly filled. We recommend you check password to be visible when it is input. - If it displays the following reminder, please go to Advanced Setting to reset corresponding setting.

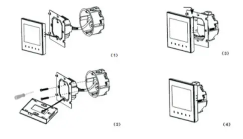
XI. Installation Instruction
This product is suitable for standard 80*80mm wall box and 60 mm European round box.

- Connect the line of power and valve into the terminals. Fix the wall plate into the wall box by a screwdriver.
- Connect the lines with the LCD board.
- Connect the LCD board into the wall plate. NOTICE: The installation wire should be 1.5-2.5mm2.
XII. ATT:
Thank you for buying this product!
Please read this manual for complete instructions on installing and operating your thermostat. If you require further assistance, please feel free to contact us.
In the box you will find:

Our Service:
We offer the warranty of 24 months from the sales day.
During the warranty, if it is belong to the quality issue, we will fix or replace them for you by free after test them.
If it is not quality problem or beyond the warranty time, we will charge for the after-sales service.



















