48380 Right-Mounted Passenger
Side Trailer Sway Control
Instruction Manual

MODEL #48380 – (Right-Hand Side)
#48378 – (Right-Hand Side)
#48381 – (Left Hand Side)
#48379 – (Left Hand Side)
WARNING: CAREFULLY READ THE FOLLOWING INSTALLATION INFORMATION.
Installation and Operating Instructions
WARNIN![]()
- SWAY CONTROL CAN NOT BE USED ON TRAILERS WITH SURGE BREAKS.
- Trailer loading: Proper trailer loading is your first-line defense against dangerous instability and sway. Heavy items should be placed on the floor in front of the axle. The load should be balanced side-to-side and secured to prevent shifting. Tongue weight should be about 10-15 percent of gross trailer weight for most trailers. Too low a percentage of tongue weight can cause sway. Load the trailer heavier in front.
- The On/Off handle is an on/off device only. The Tensioning Screw is for adjustment.
- When towing during slippery conditions such as wet, icy, or snow-covered roads or on loose gravel, turn the On/Off the handle counter-clockwise until all tension is removed from the unit. Failure to do so could prevent the tow vehicle and trailer from turning properly.
- Do not speed up if sway occurs. Sway increases with speed. Do not continue to operate a swaying vehicle. Check trailer loading, sway control adjustment, and all other equipment until the cause of sway has been determined and corrected.
- Never paint or lubricate the slide bar. CAMCO CAN NOT BE HELD RESPONSIBLE FOR ANY DAMAGES DUE TO IMPROPER USE OR INSTALLATION ON THIS PRODUCT.
Tools for Installation
- Tape Measure
- 3211 11/, Drill Bit
- Electric Drill
- Appropriate Safety Protection
- Arc Welder
- “C” Clamps
- Center Punch
- Torque Wrench
- Socket Set
NOTICE
If product components are missing or damaged do not return them to the dealer, contact the manufacturer. 1-800-334-2004 (ext. 237)
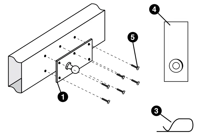
parts List

| No. | Description | Qty. | |
| 1 | 48388 | Trailer Tongue Ball Plate | 1 |
| 2 | 48391 | Slide Bar | 1 |
| 3 | 48028 | Spring Clip | 2 |
| 4 | 48390 | Sway Control Ball Plate | 1 |
| 5 | 48389 | Self Tapping Screw | 6 |
| 6 | 48404 | Ball, Lock Washer, Ball Nut | 1 |

Installation
CAUTION: Wear appropriate safety equipment during installation: eye protection, gloves, welding clothes, etc.
Step 1: Connect Trailer to Tow Vehicle Position the vehicle and trailer in a straight line on a level surface.
Step 2: Mount Sway Control Ball to Hitch* Mount sway control ball using nut and lock washer to hitch as shown in Figure 1 and torque to 100 ft-lbs. If necessary notch and weld sway control ball plate into position as shown. (Any welding should be done by qualified welding professional.)
* For a bolt-on solution for attaching the sway control ball, See Camco Item #48386 (Sold separately).

* Weld should be continuous the entire length of both sides of the Junction.
Step 3: Mount Ball Plate Assembly
- Measure and mark a point on the trailer tongue 24″ from the center of the trailer hitch ball to the right side of the trailer frame for #48380 or the left-hand side of the trailer frame for #48381 to determine the location of the Trailer Tongue Ball plate as shown in Figure 2.
- Align the center of the ball on the Trailer Tongue Ball Plate with the 24″ mark on the trailer tongue and center punch the six-hole locations.
- Drill the six holes using an 11 /32″ drill bit. (Before drilling makes sure the drill will not damage any electrical wires routed inside the frame.)
- Align the Trailer Tongue Ball with the holes on the trailer tongue as shown in Figure 3. Install screws.

Step 4: Hook-up Sway Control
- Apply a small amount of grease to both sway control balls, place the socket of the slide bar over the sway control ball, and secure with a clip.
- Turn the On/Off handle counter-clockwise until the slide bar can easily slide in the main body. Place the socket of the main body onto the trailer tongue ball.
Secure it in place with the other clip. - Turn the On/Off handle all the way clockwise. The threads should bottom out.
- On some installations, damage to the sway control may occur during extremely sharp turning maneuvers. This can be checked by slowly backing the vehicle in both directions into a jackknife position while someone is watching. Make sure that the sway control does not hit the bumper or trailer frame and that it does not become fully compressed or come apart. If any of these situations occur when jack-knifed, the sway control must be removed while backing up.

Step 5: Adjustment
- Road and weather conditions, loading and design of the trailer as well as power steering, wheel alignment, and the oscillation point of the tow vehicle and trailer all affect towing characteristics.
- Starting with the factory preset tension, road test the sway control. If this is not enough sway control, then adjust the brake tension screw ¼ turn clockwise. Road test again and repeat (if necessary) until proper sway control is achieved. Larger or heavier trailers or broad-side trailers may require the use of two sway controls.
- After a 1,000-mile break-in period, remove the slide bar and clean it using a wire brush or steel wool. The slide bar should then be cleaned every 10,000 miles.
WARNING
By towing a trailer, you can change the handling characteristics of the tow vehicle.
Short-wheel base vehicles may induce sway when towing a trailer.
Any welding should be done by qualified welding professional.




















