PROBRITE TV55-PC LED Flood Light
Questions? I Missing Parts? I Need Accessories?
Before returning to the store, call, text, or email PROBRITE Customer Care 9am-5pm EST Monday to Friday.
1-844-548-3776
Visit us online anytime or call us to get information on our product range, download detailed spec & photometric files, find product and mounting accessories, view installation tutorials and videos, and learn about our DLC® rebate eligible products.
SAFETY INFORMATION
IMPORTANT
THIS PRODUCT MUST BE INSTALLED IN ACCORDANCE WITH THE APPLICABLE NATIONAL ELECTRICAL CODE AND LOCAL BUILDING CODES BY A PERSON FAMILIAR WITH THE CONSTRUCTION AND OPERATION OF THE PRODUCT AND THE HAZARDS INVOLVED.
PRECAUTIONS
- Please read and understand this entire manual before attempting to assemble, install, or operate this light fixture.
- This light fixture requires a 120 Volt AC power source.
- Some codes require installation by a qualified electrician.
- This light fixture must be properly grounded.
- Make sure connections are secure using wire nuts, crimp-on lugs or other approved
| NOTE: Do not connect this fixture to a dimmer switch. |
![]() | WARNING: Any changes or modifications to this unit not expressly awoved by the party responsible for compliance could void the user’s authority to operate the equipment |
![]() | WARNING: Tum the power off at the circuit breaker or fuse. Place tape over the circuit breaker switch and verify power is off at the llght fixture. |
![]() | WARNING: Risk of ffre. Keep the fixture heads at least 3 In. (76 mm) from combustible materials. |
![]() | CAUTION: Burn hazard. Allow the light fixture to cool before touehing. |
![]() | This device complies with Part 15 of the FCC Rules. Operation is subject to the following two conditions: (1) This device may not cause harmful interference. (2) This device must accept any interference received, including interference that may cause undesired operation.NOTE: This equipment has been tested and found to comply with the limits for a Class B digital device, pursuant to Part 15 of the FCC Rules. These limits are designed to provide reasonable protection against harmful interference in a residential installation.This equipment generates uses and can radiate radio frequency energy and, if not installed and used in accordance with the instructions, may cause harmful interference to radio communications. However, there is no guarantee that interference will not occur in a particular installation. If this equipment does cause harmful interference to radio or television reception, which can be determined by turning the equipment off and on, the user is encouraged to try to correct the interference by one or more of the following measures:
|
PRE-INSTALLATION
PLANNING INSTALLATION
Before installing the light fixture, ensure that all parts are present. Compare parts with the Hardware Included and Package Contents sections. If any part is missing or damaged, do not attempt to assemble, install, or operate this light fixture.
SPECIFICATIONS
| Lumens (Light Output) | 5500 Lumens |
| Watts (Power Consumption) | 145 Watts LED |
| Replaces | 350 W Halogen Bulb |
| Lumens/Watts (Efficacy) | 130 Lumens per watt |
| Power Requirements (Input Voltage) | 1120v |
| Light Color (CCT) | 14000 Kelvin |
| Dimmable | Non-Dimming (Do not wire to dimming switch) |
| Operating Modes | Motion-Sensing: Automatically detects motion and turns the light fixture ON.Switch-Controlled: Flip switch to turn light fixture ON and OFF. Cover fixture’s light sensor to utilize this mode setting.. |
TOOLS REQUIRED

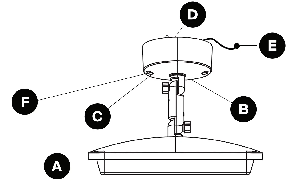
PACKAGE CONTENTS

| Part | Description | Quantity |
| A | Light fixture | 1 |
| B | Control sensor | 1 |
| C | Mounting plate set screw (pre-installed) | 2 |
| D | Mounting plate with gasket (pre-installed) | 1 |
| E | Hanger wire for hands-free installation (pre-installed) | 1 |
| F | Mounting screw cover plug | 2 |
HARDWARE KIT
![]() | NOTE: Hardware not shown to actual size. |

| Part | Description | Quantity |
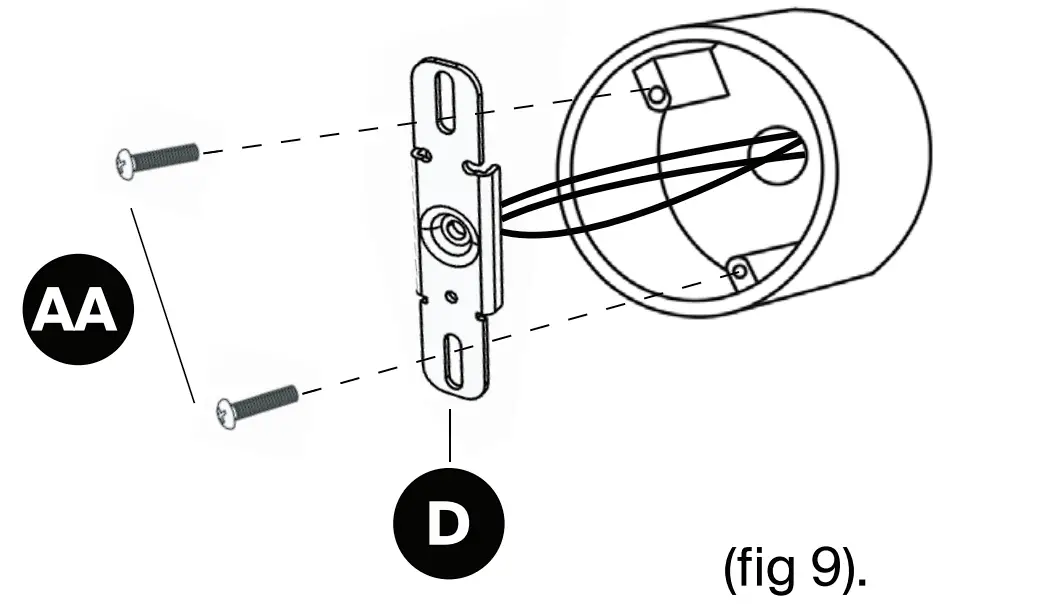
| AA | #8-32 x 3/4″ Philips head screw | 2 |
| BB | Wire nut | 3 |
INSTALLATION
FOR BEST RESULTS
- Install light 8-15 feet above the ground.
- Do not mount fixture close to reflective surfaces such as windows, white walls, white surfaces and water.
- Do NOT wire to dimming switch.
- When mounting fixture, make sure the control sensor orientation is at the bottom for wall mount (fig 1) and away from building for eave mount (fig 2).
- When mounting to a wall, make sure the fixture is 7 in. on center away from inside and 13 inches on center away from inside corner of the exterior wall (fig 3).



NOTE: Mounting plate (D) mounts to standard recessed junction boxes. Junction box must be at least 1-1/2 inch deep for proper surface mount Installation (fig 4).
SHUT ELECTRIC POWER OFF
- Verify wall switch is in OFF position (fig 5).
- At the main electrical panel, turn off the circuit breaker that supplies power to the junction box you are working on (fig 7).
- For screw-in type fuses, unscrew the fuse that supplies power to the junction box you are working on (fig 6).

REMOVE THE MOUNTING PLATE
![]() | NOTE: The mounting plate (D) come pre-assembled on the light fixture (A) for shipping. |
| NOTE: The mounting plate set screw © comes pre-installed on the light fixture. |
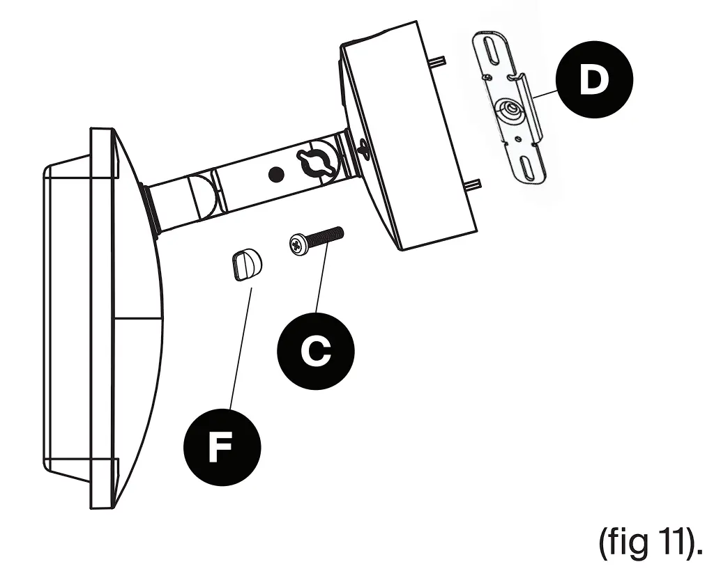
- Remove the mounting plate bracket (D) from the back of the fixture by removing the mounting screw cover plug (F) and then loosening the mounting screw (C) using a philips head screwdriver
| TIP: Only unscrew the tightening screw (C) far enough to remove the mounting plate bracket (D). Do not fully remove the set screw (C). |

INSTALL THE MOUNTING PLATE
- Route the junction box wires through the large center hole in the mounting plate bracket (D).
- Align the holes on the mounting plate bracket (D) with the holes of the junction box. Use two #8 screws (AA) to attach the mounting plate bracket (D) to the junction box

MAKE THE ELECTRICAL CONNECTIONS
- For wall mount, ensure the control sensor (B) is facing downwards when light fixture (A) is installed.
- For eave mount, ensure the control sensor (B) is facing away from the building when light fixture (A) is installed.
- If necessary, strip 3/8″ of insulation from junction box and lighting fixture wires (fig 10). Connect wires by twisting the exposed wires together and using the wire nuts (BB). Ensure no loose wires.
- Connect lighting fixture black wire to junction box black wire (line), lighting fixture white wire to junction box white wire (common), the junction box ground wire to the green lighting fixture ground wire, which is attached to the mounting plate.


| TIP: Hold stripped ends near each other and align any frayed strands (do not twist wires). Push the wires Into wire nut (BB) and use your fingers to twist the wire nut clockwise until tight. Check for tightness by pulling wires. |
MOUNT THE LIGHT FIXTURE
- Once wiring is complete, align the mounting screw hole in the center of the fixture with the screw hole in mounting plate bracket (D).
- Verify the fixture is flush with the wall and control sensor (B) is pointed downward for wall mount or away from building on eave mount.
- Insert the mounting plate set screw (C) back through the hole in the center of the fixture and tighten until fixture is firmly secured against the wall or eave.

AIM THE LAMP HEADS
- After fixture is securely mounted, loosen screws on the lamp head arms with a philips screwdriver.
- Aim each lamp head (A) toward desired direction.
- Use a philips screwdriver to tighten the lamp head arm screws, locking lamp heads in desired position.
- From the breaker and switch, turn power back ON to the light fixture to verify it illuminates. Make sure the control sensor (B) has no light entering it when testing.


CAUTION: Keep lamp heads 30° below horizontal to prevent water damage and electrical shock.
CAULK AROUND THE LIGHT FIXTURE
- Caulk around the light fixture and surface with silicone sealant (not included).


NOTE: Failure to properly caulk around the surface and light fixture could lead to water damage and is not covered under warranty. 
NOTE: When attaching this fixture to a surface mount junction box, caulk between the light fixture and junction box.
OPERATION
SELECT DUSK-TO-DAWN OR SWITCH-ACTIVATED CONTROL
OPTION 1: DUSK-TO-DAWN OPERATION
Dusk-to-dawn operation enables the light fixture to automatically turn ON when dark outside and turn OFF when the sun rises, thus saving you energy.
- To enable dusk-to-dawn operation, remove the black photocell tape installed on the fixture.
Note: Ensure the photocell is unobstructed. - Ensure the switch powering the light fixture/junction box is turned to the ON position and leave it ON at all times to enable automatic dusk-to-dawn operation.

![]() | TIP: To test II the light fixture and photocell work prope~y, run power to the fixture and cover the photocell to turn fixture ON. Shine a light Into the photocell to see II fixture turns OFF. |
| NOTE: II photocell ls located in an area under heavy shade, the photocell may not detect enough light and may turn the light fixture on. |
OPTION 2: SWITCH CONTROLLED
Switch controlled operation enables the light fixture to turn ON and OFF by flipping a switch that controls the electricity to the junction box powering the fixture. The light fixture will not turn ON and OFF automatically, but is manually controlled.
- To enable switch activated operation, leave the black cap on the photocell (already installed on the fixture) and remove the instructions label.

CARE AND CLEANING
- Shut off main power supply before cleaning the product. To prolong the original appearance, clean the light fixture with clear water and a soft, damp cloth only.
- Do not use abrasive cleaners or cleaners that contain alcohol. Do not apply paints, solvents, or any other chemicals on this light fixture. They could cause a premature deterioration of the finish and may void the warranty.
- Do not spray the light fixture with a hose or power washer.
TROUBLESHOOTING
Extreme hot or cold weather could affect the performance of the built-in sensors that detect body heat. Certain winter clothing can shield a person’s body heat from the sensor during extreme cold weather. During extreme hot weather, the sensor may not be able to distinguish the difference between normal body temperatures and the surrounding high temperatures.The sensor will begin working normally once weather conditions return to normal.
| PROBLEM | POSSIBLE CAUSE | CORRECTIVE ACTION |
| Light does not come on at night when motion is detected. |
|
|
| Security light comes on during the day. |
|
|
| Security light cycles ON and OFF continuously. |
|
|
| Security light comes on for no apparent reason at night. |
|
|
![]() | NOTE: Control sensor (B) may have a few minutes delay in D2D mode due to its sensitivity to sudden light changes. When testing, shine a light/cover the control sensor for a few minutes to check if fixture functions properly. |
5-Year Limited Warranty
This is a limited warranty offered by Probrite for a period of five years from the date of purchase to its customers. Probrite warrants to customers that the products will be free from defects in material and workmanship. The obligation of Probrite under this warranty is limited to the provision of replacement of products and is extended to the original purchaser of the product on presenting valid purchase receipt or other proof of date of original purchase acceptable to Probrite. The receipt is required for rendering the warranty performance. Any warranty claims without original proof of purchase would not be accepted.
It should be noted that the warranty does not apply to Probrite products that have been altered or repaired by unauthorized personnel, have been subjected to neglect, abuse, misuse or accident or damages caused during shipping. Any other products not manufactured by Probrite which have been supplied, installed and/or used in conjunction with Probrite products are not covered under this warranty. Any damages caused by replacements bulbs, LEDs or corrosion or discoloration of brass components are also not covered by this warranty.
Limitation of Liability:
In no event Probrite shall be liable for indirect, consequential, incidental or special damages, or lost profits. Probrite is not liable for any claims or damage arising out of or connected with the manufacture, sale, delivery, use, maintenance and repair or modification of Probrite products, or supply of any replacement parts that, exceed the purchase price of Probrite products giving rise to a claim. Labor charges to remove or install the fixtures will not be accepted.
To Claim:
Please contact PROBRITE customer service at or email [email protected] and include your name, address and contact number, along with a copy of the purchase receipt and a brief description of the problem.
Supplier’s Declaration of Conformity 47 CFR § 2.1077 Compliance Information Unique Identifier: (e.g., Trade Name, Model Number) Responsible Party – U.S. Contact Information FCC Compliance Statement (e.g., products subject to Part 15) This device complies with Part 15 of the FCC Rules. Operation is subject |

Questions?/ Missing Parts? / Need Accessories?
Before returning to the store, call or email our Lighting Specialists 9am-5pm EST Monday to Friday.
1-844-548-3776
[email protected]
www.probrite.com
RETAIN THIS MANUAL FOR FUTURE USE

































