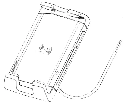
SCANSTRUT SC-CW-04F Active 10W Qi Wireless Charge Power Boat

ROKK Wireless – Active 1 OW (SC-CW-04F)
Technical information
- Input voltage range : 10-30V DC (12/24V system)
- Input current max: 2A
- Output power: 1 OW (9V, 1 .1 A)
- Standby current draw: <0.1W
- Waterproof rating: IPX6 front and back
- Certifications: Qi, CE, FCC, ROHS, UKCA UNECE R10 E24, C-Tick,
For latest tech info visit: www.scanstrut.com/rokk-wireless
READ IMPORTANT SAFETY INFORMATION LEAFLET BEFORE INSTALLING.
Parts list
- ROKK Wireless Active x1

- installation jlg x1

- No. 4 x 3/4″ (18mm) self-tapping screw x4

Tools required
- Pozi screwdriver

- 6mm (0.24″) drill bit

- Drill bit (for pilot hole)

Material No. 4 Screw Soft Material
E.g plywood2mm (5/64”) Hard Material
E.g Fiberglass acrylic, hardwood2.5mm (3/32”)

Installation instructions
- Retain installation jig to use in step 2.

- Insert the installation jig.

- Ensure there is sufficient clearance in chosen installation area.

- Ensure installation area is flat.

- Ensure ROKK Active is vertical.

- Ensure ROKK Active is vertical.
- Use drilling template to drill 06mm (0.24″) cable hole and x4 pilot holes
(see tools required table).
- Feed cable through the hole.
- Apply sealant to x4 screws.
- Screw product in place.
- Remove installation jig.

- Connect wires to 12/24V supply, ensuring a waterproof connection. Fuse according to input voltage and current.

USER GUIDE
Place device centrally within the ROKK Wireless Active jaws.
CARE: wash down carefully with fresh water.

Smart LED light guide:
- Solid red
- Product has power and ready to charge.
- Solid green
- Product charging.
Flashing red
- Foreign object detection:
metallic object placed on top that is not Qi compatible.
or - Thermal cutout:
internal temperature is too high/ low.
Wait for product to return to operating temperature.
Flashing green/red
Input current is too low.
This product is designed to securely mount phones under normal usage conditions.
The end-user is entirely responsible for conditions in which their device is used. See WARRANTY section for further details.
Scanstrut recommends installation is carried out by a qualified electrician.
No liability is accepted for damage and/or injury caused by incorrect installation.
WARNING:
This product is to be connected to a 12V DC or 24V DC battery power source only.
The power supply must be switched off before installation.
An appropriate fuse or circuit breaker must be used between the battery/ power source and this product.
Check for correct polarity of all wiring before switching the power on.
This product may contain high voltages. Do not tamper with the product.
This product is NOT approved for use in hazardous/flammable atmospheres.
Do NOT install in a hazardous/flammable atmosphere e.g. engine room.
Before drilling any holes, ensure the area behind the mounting location is clear of wires, fuel and all other hazardous objects.
Ensure any holes cut will not significantly weaken the structure of the mounting surface.
If the product needs to be mounted outside, it must be mounted in a location safely above the waterline, where it is not at risk of being submerged.
IN EXTREME USAGE ENVIRONMENTS PERFORMANCE MAY VARY.
CAUTION:
- The product is designed specifically for the charging of Qi compatible devices.
- The cable must be retained and not interfere with mechanical systems.
- This product contains no user serviceable components. Do NOT attempt to repair or alter the product in any way.
- This product will charge through non-metallic phone cases up to ~3mm thick. Phone cases may alter overall charge performance.
- When used in a very high/low ambient temperature/direct or prolonged sunlight the product may temporarily shut down, this is a safety feature of the electronics.
EMC INSTALLATION GUIDELINES
Scanstrut products conform to Electromagnetic Compatibility (EMC) regulations, to ensure that electromagnetic interference between equipment is minimized.
Correct installation is required to ensure that electromagnetic interference is kept to a minimum.
WIRING:
When extending the cable from battery/power source to the product, ensure there is consistently a minimum of 10V being provided to the product. A wire gauge of 18AWG (0.82mm2) is recommended for any length of cable extension.
The schematic in step 7 is to illustrate how the product should be connected to a 12V DC or 24V DC battery/power supply.
ENVIRONMENTAL PROTECTION:
- Waste electrical products should not be disposed of with household waste.
- Please recycle where facilities exist.
- Check with your Local Authority or retailer for recycling advice.
IMPORTANT:
Scanstrut Ltd. accepts no responsibility for any injuries or other damages arising from the use of their products in any circumstances.
WARRANTY
A 2 year, non-transferrable warranty covers this Scanstrut product only and not any devices that are mounted in it or on it. No warranty is given for users’ devices and users expose their devices to hazards, known or unknown, at their own risk.





























