ANGELES HOME
8CK-65HW716WH 41 Inch L White Rectangle Wood Lift Top Coffee Table
Instructions
Before You Start
Read each step carefully before starting. It is very important to ensure each step followed in correct order, otherwise assembly difficulties may occur.
Most of board parts are labeled or stamped on the raw edges. Have a check to make sure all parts are included.
Work in a spacious area, preferably on a carpet close to where the unit will be used.
Keep the handtools close at hand. Do not use power tools to assemble your furniture. They may scratch or damage the parts.
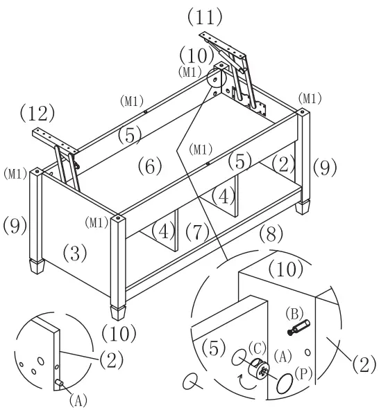
Board Identification
Not actual size

| STEP 1 Install 4 pcs dowels (A) and 4 pcs cam pins (B) to End panel (2) Part A x 4 Part B x 4 Part 2 x 1 | STEP 2 Install 4 pcs dowels (A) and 4 pcs cam pins (B) to End panel (3) Part A x 4 Part B x 4 Part 3 x 1 |
![]() | ![]() |
| STEP 3 Install 8 pcs dowels (A) to Between panel (4) Part A x 8 Part 4 x 2 | STEP 4 Install 4 pcs cam pins (B) to 2 Brace panels (5) Part B x 4 Part 5 x 2 |
![]() | ![]() |
| STEP 5 Install 8 pcs dowels (A) and 4 pcs cam pins (B) to Middle panel (6) Part A x 8 Part B x 4 Part 6 x 1 | STEP 6 Install 4 pcs dowels (A) and 4 pcs cam pins (B) to Bottom panel (7) Part A x 4 Part B x 4 Part 7 x 1 |
![]() | ![]() |
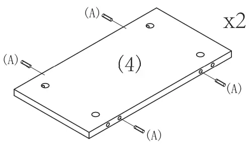
| STEP 7 Install 4 pcs dowels (A) to 2 Solid Panels (8) Part A x 4 Part 8 x 2 | STEP 8 Install 10 pcs cam pins (B) to 2 Legs (9) Part B x 10 Part 9 x 2 |
![]() | ![]() |
| STEP 9 Install 8 pcs cam pins (B) to 2 Legs (10) Part B x 10 Part 10 x 2 | STEP 10 Install one Front Leg (9) and one Rear Leg (10) to End panel (2) and lock with 4 pcs Cam locks (C) Part C x 4 |
![]() | ![]() |
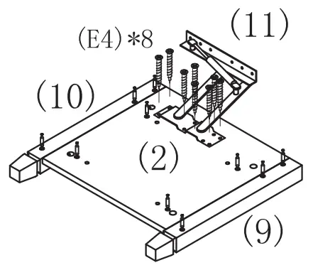
| STEP 11 Install one Front Leg (9) and one Rear Leg (10) to End panel (3) and lock with 4 pcs Cam locks (C) Part C x 4 | STEP 12 Install lever (11) to End panel (2) with 8 pcs Screws (E4) Part E4 x 8 Part 11 x 1 |
![]() | ![]() |
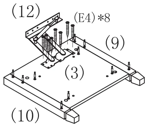
| STEP 13 Install lever (12) to End panel (3) with 8 pcs Screws (E4) Part E4 x 8 Part 1 2 x 1 | STEP 14 Attach 2 Brace panels (5) to Middle panel (6) and lock with 4 pcs Cam locks (C) Part C x 4 |
![]() | ![]() |
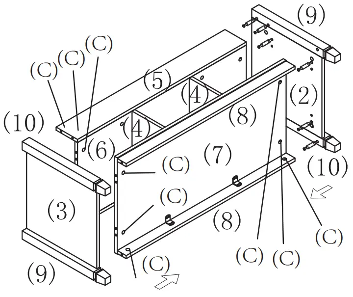
| STEP 15 Install 2 Support panels (8) to Bottom panel (7) with 16 pcs Screws (E4) and reinforce with 4 sets of Corner brackets (S1) (S1 has equipped with self-tapping screws with no drilling holes) Part E4 x 16 Part S1 x 4 | STEP 16 Install 2 Between panels (4) to the middle of Solid panel (6) and Solid panel (7), then lock with 8 pcs Cam locks (C) Part C x 8 |
![]() | ![]() |
| STEP 17 Integrate End panel (2), (3) and the table legs with the main body, then secure with 20 pcs Cam locks (C) Part C x 20 | STEP 18 Stick 40 pcs Cam covers (P) on Cam locks (C) and stick 6 pcs (M1) to the corresponding places shown in the figure. Part M1 x 6 Part P x 40 |
![]() | ![]() |
| STEP 19 Install the Top panel (1) to the lifters (11), (12) with 12 pcs Screws (E4) Part 1x 1 Part E4 x 12 | ![]() |
TIPS
Installation of cam pin and cam lock

Care and Maintenance
Use a soft, clean cloth that will not scratch the surface when dusting. Use of furniture polish is not necessary. Should you choose to use polish, test first in an inconspicuous area. Using solvents of any kind on your furniture may damage the finish. Never use water to clean your furniture as it may cause damage to the finish. Liquid spills should be removed immediately. Using a soft clean cloth, blot the spill gently. Avoid rubbing. Check bolts/screws periodically and tighten them if necessary.
Further advice about wood furniture care
It is best to keep your furniture in a climate-controlled environment. Extreme temperature and humidity changes can cause fading, warping, shrinking and splitting of wood. It is advised to keep furniture away from direct sunlight as sun may damage the finish. Proper care and cleaning at home will extend the life of your purchase. Following these important and helpful tips will enhance your furniture as it ages.






































