ASSEMBLY INSTRUCTION
MODEL NUMBER: 838A

02414ANNA-B Rectangle Wood Top Coffee Table
WARRANTY:
We stand behind our products & service with confidence! If parts damaged or mising please feel free to contact us for a FREE REPLACEMENT. We warranty this product to be free from defects in materials.This waranty covers one year from the date of orginial purchase.
NOTES:
- The item is only intended to be used indoors. The product must be assembled and used in accordance with the provisions of the manual.
- It is recommended that assembly is undertaken by about 2 adults. Please read assembly instructions before assembly and strictly adhere to each step outlined. Estimated assembly time is 30 minutes.
WARNING
- WARNING FOR YOUNG CHILDREN – This product contains small components, please ensure that they are kept away from small children while assembling.
PARTS LIST

IMPORTANT: Please check parts list before you start to assembly.lf parts damaged or missing.Contact your seller for a FREE REPLACEMENT.Please provide your order number,a brief message about the issue,and your shipping address. Thank you!
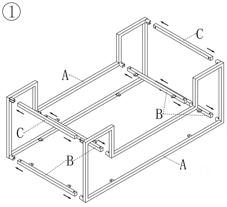
2 NOTE: PLEASE DO NOT TIGHTEN THE BOLTS UNTIL ALL FIXED
![]() | ![]() |
3 NOTE: PLEASE DO NOT TIGHTEN THE BOLTS UNTIL ALL FIXED
![]() | ![]() |
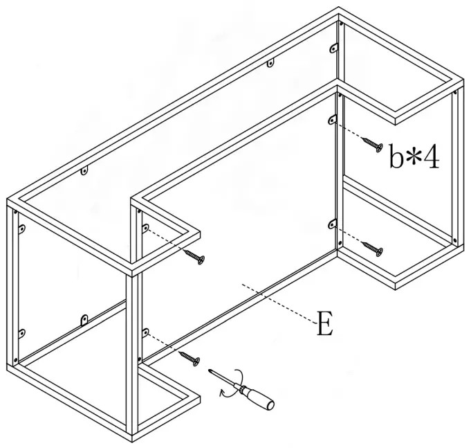
IMPORTANT:Please completely tighten all the bolts and nuts.
After-sales support email: [email protected]




















