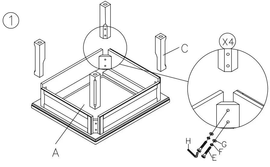
ASHLEY T6970 Porter Coffee Table With Lift Top Instruction Manual


⚠ NOTE: UNIT SHOULD BE ASSEMBLED BY TWO OR MORE PEOPEL. DO NOT LIGHTEN ANY BOLTS HAVE BEEN STARTED!




ASHLEY T6970 Porter Coffee Table With Lift Top Instruction Manual


⚠ NOTE: UNIT SHOULD BE ASSEMBLED BY TWO OR MORE PEOPEL. DO NOT LIGHTEN ANY BOLTS HAVE BEEN STARTED!




Download manual
Here you can download full pdf version of manual, it may contain additional safety instructions, warranty information, FCC rules, etc.