FUFU GAGA KF200019-01 Wood Lift Top Coffee Table
WARNING
Serious or fatal crushing injuries can occur from furniture tip-over.
To help prevent tip-over.
- Place heaviest items in the lowest drawers.
- Do not set TVs or other heavy objects on the top of this product.
- Never allow children to climb or hang on drawer, door, or shelves.
- Never open more than one drawer at a time.
- Use of tip-over restraints, only reducts, but does not eliminate, the risk of tip-over.
- Never open more than one drawer at a time.
MAINTENANCE TIPS
- Avoid liquid spraying and infiltration the product surface.
- Never use chemical cleaning products. They can damage the finish. For cleaning, use only a slightly damp cloth and wipe dry.
- To avoid dulling of finish, do not place furniture in direct sunlight
- Do not put plastic or rubber rings under appliances.
- Use cloth of felt protectors.
- To clean, use a soft or slightly damp cloth, the wipe with a clean, dry cloth.




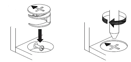
Quick fit head should be in the center of the cam lock when the two panels are joined.
Cam lock should be inset before quick fit.











Safety information
- Important information
- Please read closely and carefully ffi – Save this information
IMPORTANT. It is imperative that the furniture be installed according to instructions by someone properly qualified to complete the task. Installation of electrical or plumbing fixtures should only be performed by trained professionals.
The furniture must be anchored to the wall to prevent it from tipping over. Improper installation or failure to use wall fasteners can prevent the item from functioning properly and may cause damage and/or severe injury.
Wall fasteners are not included because of the large variety of walls and wall materials. Please ask a specialized dealer for wall fasteners appropriate to your specific needs. You are responsible
for anchoring the items to the wall and for the materials used for that purpose.
Please observe the maximum load capacity as specified in the assembly instructions. Keep the bag containing the fittings, the fittings themselves and other packaging material out of reach of babies and children. The small parts can be swallowed and therefore pose a choking hazard.
Failure to follow handling, operation or assembly instructions, exchanging components, making changes to the product or using materials which differ from the original parts will result in voiding all liability claims and warranties. GERMANIA accepts no liability for personal or material damage due to improper installation or failure to properly anchor the item to the wall. We assume no liability as manufacturer for excessive loads placed on a unit by individuals, playing children or other causes.


















