brightline ZELO-DTS-1 ZELo Desktop Studio Light

ZELo Packaging List

Specifications
Fixture Features
- Custom heat sink
- Internal glare control filter
- External soft light diffusion
- Focusing handle
- Articulating light cell
- Adjustable height 18- to 30-in (457- to 762-mm)
- Twist-locking grip
- Play back pre-set memory
- Safety base
Construction
The fixture and base are made of aluminum. The two diffusion plates are plastic.
Fixture Finish
Two tone paint, powder-coat black and silver with full color logo design.
LED Technology
1300 Lumen LEDs with 96+CRI (98 TLCI). Color temperature range from 2700° K to 6500° K, adjustable for seasonal affective disorder (SAD) therapy.
Power & Control
Control options included are:
- on/off switch with App sync
- 2 touch sliders for brightness control and color adjustment
- Voice-activated control through Alexa and Google Assistant
Fixture can playback stored presets. Includes power supply with multiple plug in connectors (parallel blade and ground, Schuko 2-pin connector). Fixtures are 120/230V.
Fixture Dimensions and Weight
- Base Plate: 13.25- x 8-in (336.6- x 203.2-mm)
- Fixture Height: 18- to 30-in (457- to 762-mm)
- Fixture Weight: 7-lbs (3.2-kg)
Certifications
cETL and CE
Assembly Instructions
Preparation
Before beginning assembly of ZELo make sure all parts are present. Compare carton contents to the ZELo Packaging List. If any parts are missing or damaged do not attempt to assemble the product.
Base Plate Assembly
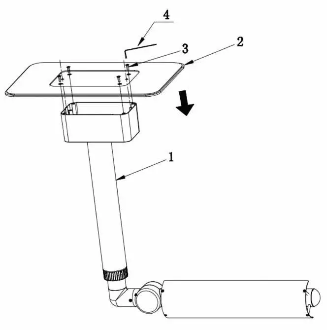
- Place the Main Body Housing (1) on a soft, flat surface.
- Lift the Main Body Housing (1) enough to locate and align the registration tabs on the Main Body Housing (1) with the center guide holes on Base Plate (2).
- Once Base Plate (2) is in position start at any hole location and install the Hex Screw (3) by turning clockwise – continue the process until all four Hex Screws are in place.
- Use Hex Wrench (4) <provided> to tighten and secure each Hex Screw (3).

Power Supply
- Select the corresponding Power Supply Plug Adapter (6) for your location.
- Insert the Power Supply Plug Adapter (6) into the pins located on the Power Supply (5) – follow the instructions on the Power Supply Plug Adapter (6) to secure correctly to the Power Supply (5).
- Plug the cord into the power adapter source located on the back of the ZELo Control Box.
- Plug the Power Supply (5) into the wall outlet.
- ZELo will now be ready to proceed to the Brightline APP startup guide or you can begin using ZELo in the manual control mode.

Adjustment Features
In addition to color temperature change and dimming, ZELo has a full set of adjustment features that allow you to further refine your fixture settings and light distribution.
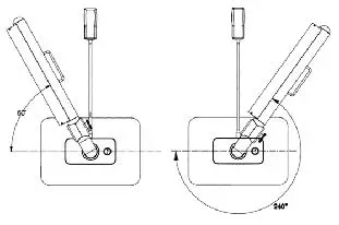
270° Rotating Light Bar – use the handle on the back of the Light Bar to rotate and adjust to the desired direction – TIP: in the downward direction ZELo doubles as a great task/desk light!
Center Pole Height Adjustment – loosen the center pole collar by turning counter-clockwise approximately ¼ turn. Raise and lower the fixture height between 18 and 30 inches by grabbing and adjusting the tube at or just below the elbow. Once the height is set, turn the center pole collar clockwise to tighten and secure. Do not attempt to raise or lower the center pole by grabbing anywhere on the Light Bar – doing so could damage the fixture.
300° Light Bar Swivel – loosen the center pole collar by turning counter-clockwise approximately ¼ turn. The Light Bar can be rotated a full 300° by grabbing the center pole at or just below the elbow and rotating the Light Bar in either direction . Once the angle of the Light Bar is set, turn the center pole collar clockwise to tighten and secure.
WARRANTY
Brightline guarantees all its manufactured LED products to be free from defects in materials and workmanship for a period of three (3) years from the date of shipment.
PROCEDURES
If any product is found to be unsatisfactory under this warranty, the buyer must notify Brightline immediately. Once a course of action has been determined, if it is necessary to return the product to Brightline a Return Authorization (RA) will be issued. Ship the product directly to Brightline, 580 Mayer Street, Building #7, Bridgeville, PA 15017. The RA number should be marked on the shipping carton. The unit will be replaced or put into proper operating condition, free of all charges. The correction of any defects through repair or replacement by Bright 1 ine shall constitute fulfillment of all obligations and liability of Brightline to the buyer under this warranty and the contract of sale.
DISCLAIMERS
Brightline is not responsible for damage to its products caused by improper installation, maintenance, or use; by improper electrical hookups; or by unauthorized repairs.
Failure to notify Brightline of unsatisfactory operation or any improper or unauthorized installation, maintenance, use, repairs, or adjustments shall terminate the warranty and Brigh tl ine shall have no further responsibility under the warranty. Brightline shall not be liable for special or consequential damages in any claim, action, suit, or proceeding arising under this warranty or contract of sale, nor shall Brightline be liable for claims for labor, loss of profits or goodwill, repairs, or other expenses incidental to replacement. Bright 1 ine makes no other warranty of any kind whatsoever, expressed or implied, and all implied warranties of merchantability and fitness for a particular purpose that exceed the obligation specifically described in this warranty are hereby disclaimed by Brightline and excluded from this agreement. All shipments, unless otherwise noted, are F.O.B. factory.
The customer is advised to inspect for shipping damage, apparent and/or hidden.
If detected, notify the transportation company and file your claim.
FCC STATMENT
This equipment has been tested and found to comply with the limits for a Class B digital device, pursuant to part 15 of the FCC Rules. These limits are designed to provide reasonable protection against harmful interference in a residential installation. This equipment generates, uses and can radiate radio frequency energy and, if not installed and used in accordance with the instructions, may cause harmful interference to radio communications. However, there is no guarantee that interference will not occur in a particular installation. If this equipment does cause harmful interference to radio or television reception, which can be determined by turning the equipment off and on, the user is encouraged to try to correct the interference by one or more of the following measures:
- Reorient or relocate the receiving antenna.
- Increase the separation between the equipment and receiver.
- Connect the equipment into an outlet on a circuit different from that to which the receiver is connected.
- Consult the dealer or an experienced radio/TV technician for help.
Changes or modifications not expressly approved by the party responsible for compliance could void the user’s authority to operate the equipment.
The distance between user and device should be no less than 20cm.
580 Mayer Street, Building #7, Bridgeville, PA 15017 • phone 412.206.0106 • fax 412.206.0146
www.brightlines.com
Phone: 1.412.206.0106























