VIDEOTEC GEKO IRH LED illuminator
About this manual
Read all the documentation supplied carefully before installing and using this product. Keep the manual in a convenient place for future reference.
Typographical conventions
DANGER!
Emission of visible light or infrared. Can be harmful for eyes. Pay attention to the provided indications.
DANGER!
High level hazard.
Risk of electric shock. Disconnect the power supply before proceeding with any operation, unless indicated otherwise.
DANGER!
Hot surface.
Avoid contact. Surfaces are hot and may cause personal injury if touched.
CAUTION!
Medium level hazard.
This operation is very important for the system to function properly. Please read the procedure described very carefully and carry it out as instructed.
INFO
Description of system specifications.
We recommend reading this part carefully in order to understand the subsequent stages.
Notes on copyright and information on trademarks
The mentioned names of products or companies are trademarks or registered trademarks.
Safety rules
Do not stare at the lamp when on. Can be harmful for eyes.
The infrared LED illuminator emits high-intensity visible light. In compliance
with standard EN62471/IEC62471, the photobiological safety assessment has classified the device in Risk Group 1, where it exceeds the values of the Exempt Group. The risk linked to the observer depends on how the product has been installed and is used. For installation, follow the instructions in this manual. Do not open the illuminator for whatever reason. Do not look directly at the illuminator using optical lenses. Exposure hazard values (EHV): 170.2s (for models IRH10H8A, IRH10L8A, IRH30H8A, IRH30L8A, IRH60H8A, IRH60L8A), 153.2s (for models IRH10H9A IRH30H9A IRH60H9A). Hazard distance
(HD): 200mm.
CAUTION! The white light LED illuminator emits high-intensity visible light. In compliance with standard EN62471/IEC62471, the photobiological safety assessment has classified the device in Risk Group 2, where it exceeds the values of the Exempt Group. The risk linked
to the observer depends on how the product has been installed and is used. For installation, follow the instructions in this manual. Do not open the illuminator for whatever reason. Do not look directly at the illuminator using optical lenses. Exposure hazard values (EHV): 24.3s. Hazard distance (HD): 200mm.
During normal operation, the surface of the illuminator can reach high temperatures. Do not allow direct contact and position the appliance where it is inaccessible to unauthorized persons. Before touching switch off the illuminator and allow to cool for a minimum period of 10 minutes.
CAUTION! Device installation and maintenance must be performed by specialist technical staff only.
- The manufacturer declines all responsibility for any damage caused by improper use of the appliances mentioned in this manual. Furthermore, the manufacturer reserves the right to modify its contents without any prior notice. The documentation contained in this manual has been collected and verified with great care. The manufacturer, however, cannot take any liability for its use. The same thing can be said for any person or company involved in the creation and production of this manual.
- Before starting any operation, make sure the power supply is disconnected.
- Be careful not to use cables that seem worn or old.
- Never, under any circumstances, make any changes or connections that are not shown in this handbook. Improper use of the appliance can cause serious hazards, risking the safety of personnel and of the installation.
- Use only original spare parts. Non-original spare parts could cause fire, electrical discharge or other hazards.
- Before proceeding with installation, check the supplied material to make sure it corresponds to the order specification by examining the identification labels (4.2 Product marking, page 5).
- This is a Class A product. In a domestic environment, this product may cause radio interference. In this case, the user may be required to take adequate measures.
Identification
Product description and type designation
- The GEKO lights the entire scene evenly, eliminating hotspots and underexposures, for unbeatable night-time images and secure surveillance of the area.
- The high efficiency heat sink body ensures maximum LED durability and protection against over-temperatures, whereas the front glass, made of special technopolymer, provides high infrared transmittance.
- The GEKO illuminators are protected against electrostatic discharges.
- The illuminators can be powered at 12Vdc to 24Vdc or at 24Vac.
- The power supply in a waterproof box, in 230Vac or 120Vac version, is available as an accessory for one or two GEKO illuminators.
- GEKO is supplied with a wall-mount bracket that rotates horizontally and vertically and can be assembled in a housing by means of the OSUPPIR bracket.
- The GEKO infrared illuminator guarantee is 5 years, while for GEKO with the white light is 2 years.
Product marking
See the label attached to the product.
Preparing the product for use
Any change that is not expressly approved by the manufacturer will invalidate the guarantee.
- Unpacking
When the product is delivered, make sure that the package is intact and that there are no signs that it has been dropped or scratched.
If there are obvious signs of damage, contact the supplier immediately.
When returning a faulty product we recommend using the original packaging for shipping.
Keep the packaging in case you need to send the product for repairs. - Contents
Check the contents to make sure they correspond with the list of materials as below:- Illuminator with bracket
- Wall-fastening bracket
- Instruction manual
- Safely disposing of packaging material
The packaging material can all be recycled. The installer technician will be responsible for separating the material for disposal, and in any case for compliance with the legislation in force where the device is to be used.
Assembly
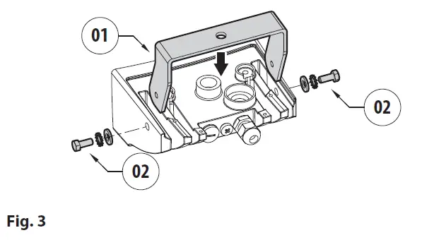
Fasten the top bracket (01) to the illuminator using the screws and washers (02) supplied. 
Installation
- Installation of wall-mounted illuminator
Note: The illuminator’s position can be decided at the time of installation.
Fasten the bracket as shown in the figure. Drive the wall screws in tight.
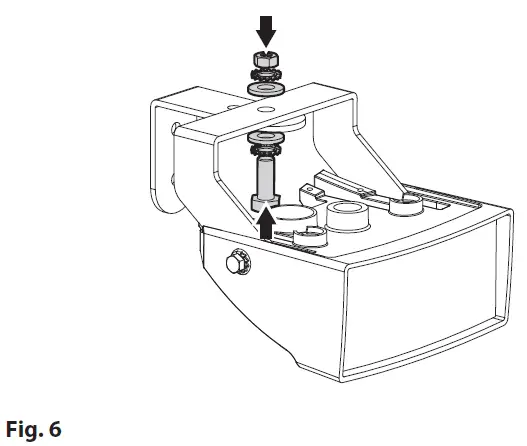
Fasten the illuminator, complete with its bracket, using the screw, the nut and the washer supplied.
Set the illuminator’s vertical and horizontal inclination by adjusting the two fastening screws.
Check the resulting illumination range on the screen. Tighten all the screws. - Installation of the housing-fitted illuminator (OSUPPIR kit)
Fasten the plate (01) between the bottom of the housing (02) and the bracket (03) using the screws supplied (04).
Fasten the illuminator (complete with its bracket) using the nut and the washer.
Set the vertical and horizontal inclination (Fig. 7, page 6).
Check the resulting illumination range on the screen. Tighten all the screws. - Connections

- Twilight sensor activation threshold adjustment
The illuminator has an integrated twilight sensor that allows its automatic activation and deactivation at predefined luminous conditions.
The twilight sensor is set in the factory at a predetermined luminous level, suitable for most installations (approximately 50lx). If you want to adjust in different ways the threshold, loosen the plug on the illuminator rear and proceed with the adjustment with a screwdriver.
By rotating the trimmer clockwise, the night mode changeover is anticipated (at a greater luminous value). By rotating the trimmer anti-clockwise,
the night mode changeover is delayed (at a lower luminous value).
Wait for appropriate brightness before switching on the illuminator. Rotate the trimmer slowly until the LED on the side of the trimmer switches on. Once the intervention threshold has been surpassed (LED on), rotate it slightly in the opposite direction.
Note: After making the adjustments make sure that the plug is closed tight to ensure perfect sealing.
When setting the illuminator to be switched on automatically by the embedded light-sensitive switch, make sure to insulate the remote control (telemetry) cables in the power cord (green and red colors). - Disabling the twilight sensor
To disable the lamp’s automatic switch-on set the brightness to a minimum (turn the potentiometer all the way anticlockwise). With this setting the lamp can only be switched on by closing the telemetry contact if the system is equipped with a central light-sensitive switch or a remote-controlled contact. - Power and control cable
The illuminator is supplied with a 2m (6.6ft) long power and control cord.
Power supply cables (white, black): The illuminator can be powered either by 24Vac/Vdc or 12Vdc. Provide power to the black and white cable pair
(white, black, the polarity is irrelevant). For proper operation please refer to the charts, taking into account the power supply and the type of illuminator installed (7.7 Cable technical specifications, page 8).
Note: To avoid product malfunctions connect 2 illuminators maximum for each power supply.
Remote control (telemetry) cables, green and red colors: The control cable (telemetry) lets you turn on the illuminator remotely by means of a dry contact applied between the ends of the green and red cables. For proper operation, make sure that the photocell is disabled (7.5 Disabling the twilight sensor, page 8). Close the contact to turn on the illuminator. Open the contact to turn it off. - CABLES SPECIFICATIONS (24VAC/VDC)Cable technical specifications
Depending on the type of illuminator (Low or High Power) and on the supply voltage, apply the following maximum lengths for the power cables (to be connected to the black and white wire pair).CABLES SPECIFICATIONS (12VDC) Cable section Maximum length Low Power illuminator High Power illuminator 0.5mm² (20AWG) 10m (32.8ft) 6m (19.7ft) 0.75mm² (18AWG) 16m (52ft) 9m (29.5ft) 1mm² (17AWG) 22m (72.2ft) 12m (39ft) 1.5mm² (16AWG) 32m (105ft) 18m (59.1ft)
CABLES SPECIFICATIONS (24VAC/VDC)
| CABLES SPECIFICATIONS (24VAC/VDC) | ||
| Cable section | Maximum length | |
| Low Power illuminator | High Power illuminator | |
| 0.34mm² (22AWG) | 25m (82ft) | 15m (49.2ft) |
| 0.5mm² (20AWG) | 40m (131ft) | 22m (72.2ft) |
| 0.75mm² (18AWG) | 60m (197ft) | 35m (114ft) |
| 1.5mm² (16AWG) | 120m (393ft) | 70m (229ft) |
| CABLES SPECIFICATIONS (24VAC/VDC) | ||
| Cable section | Maximum length | |
| Low Power illuminator | High Power illuminator | |
| 0.34mm² (22AWG) | 25m (82ft) | 15m (49.2ft) |
| 0.5mm² (20AWG) | 40m (131ft) | 22m (72.2ft) |
| 0.75mm² (18AWG) | 60m (197ft) | 35m (114ft) |
| 1.5mm² (16AWG) | 120m (393ft) | 70m (229ft) |
For the telemetry cable (green and red colors), use a conductor with a minimum cross-section of 0.34mm² (22AWG) and a maximum length of 200m (656ft).
Information on disposal and recycling
The European Directive 2012/19/EU on Waste Electrical and Electronic Equipment (WEEE) mandates that these devices should not be disposed of in the normal flow of municipal solid waste, but they should be collected separately in order to optimize the recovery stream and recycling of the materials that they contain and to reduce the impact on human health and the environment due to the presence of potentially hazardous substances.
The symbol of the crossed-out bin is marked on all products to remember this.
The waste may be delivered to appropriate collection centers or may be delivered free of charge to the distributor where you purchased the equipment at the time of purchase of a new equivalent or without obligation to a new purchase for equipment with size smaller than 25cm (9.8in).
For more information on the proper disposal of these devices, you can contact the responsible public service.
Troubleshooting
- Checking the power supply
Check that the unit is supplied with a voltage between 12-24Vdc or 24Vac +/- 10%. - Check operation of the twilight sensor
Check the operation of the twilight sensor by darkening it with black tape.
Leave the telemetry connection open.
Technical data
General
Die-cast aluminum body
Supplied complete with horizontal and vertical rotating support in painted galvanized steel Wavelengths: 850nm, 940nm, white light
Mechanical
Dimensions: 133x112x135mm (5.2×4.4×5.3in)
Unit weight: 0.9kg (2lb)
Electrical
Supply voltage/Current consumption:
- from 12Vdc up to 24Vdc:
1A max (high power 4 LED, 12Vdc), 0.5A max (high power 4 LED, 24Vdc) or 0.5A max (low power 2 LED, 12Vdc), 0.25A max (low power 2 LED, 24Vdc) - 24Vac:
0.5A max (high power, 4 LED) or 0.25A max (low power, 2 LED), 50/60Hz
State-of-the-art SMD LED
Adjustable built-in photocell for automatic activation and deactivation Input for activation by means of external dry contact Supplied with multipole cable: 4×0.34mm² (22AWG), L=2m
Illuminators
| GEKO IRH – BEAM PATTERN AND ACHIEVABLE DISTANCES FOR ONE ILLUMINATOR | ||||
| Horizon- tal and vertical beam patterns | Maximum distance | |||
| 850nm, low power | 850nm, high power | 940nm, high power | White light, high power | |
| 10˚ | 100m (328ft) | 140m (460ft) | 100m (328ft) | – |
| 30˚ | 60m (197ft) | 84m (276ft) | 60m (197ft) | 60m (197ft)1 |
| 60˚ | 40m (131ft) | 56m (184ft) | 40m (131ft) | 40m (131ft)1 |
The distances and the performance depend on the camera/lens used and on the environmental light conditions.
¹ Achievable distances with camera in Day mode (color image)
Environment
For indoors and outdoors installation
Operating temperature: from -40°C (-40°F) up to +60°C (140°F)
Relative humidity: from 5% up to 95%
Certifications
Electrical safety (CE): EN60950-1, IEC60950-1, EN62368-1, IEC62368-1
Electromagnetic compatibility (CE): EN50130-4, EN55032 (Class A), EN61000-6-4
Electromagnetic compatibility (North America): FCC part 15 (Class A), ICES-003 (Class A)
Outdoor installation (CE): EN60950-22, IEC60950-22
Photobiological safety (CE): EN62471, IEC62471
IP protection degree (EN60529): IP66, IP67
IK protection degree: IK10
UL certification (UL60950-1, CAN/CSA C22.2 No. 60950-1-07): cULus Listed
Level of protection Type (UL50E): 4X
EAC certification
Restriction of Hazardous Substances (RoHS), Directive 2011/65/EU
Waste Electrical and Electronic Equipment (WEEE), Directive 2012/19/EU
Technical drawings
The indicated measurements are expressed in millimeters. 
Headquarters Italy Videotec s.r.l.
Via Friuli, 6 – I-36015 Schio (VI) – Italy
Tel. +39 0445 697411 – Fax +39 0445 697414 Email: [email protected]
www.videotec.com

About this manual




Set the vertical and horizontal inclination (Fig. 7, page 6).




















