VIDEOTEC UEI LED Illuminator for ULISSE EVO
About this manual
Read all the documentation supplied carefully before installing and using this product. Keep the manual in a convenient place for future reference.
Typographical conventions
- DANGER!
Emission of visible light or infrared. Can be harmful for eyes. Pay attention to the provided indications. - DANGER!
High level hazard.
Risk of electric shock. Disconnect the power supply before proceeding with any operation, unless indicated otherwise. - DANGER!
Hot surface.
Avoid contact. Surfaces are hot and may cause personal injury if touched. - CAUTION!Medium level hazard.
This operation is very important for the system to function properly. Please read the procedure described very carefully and carry it out as instructed. - INFO
Description of system specifications.
We recommend reading this part carefully in order to understand the subsequent stages.
The mentioned names of products or companies are trademarks or registered trademarks.
Safety rules
- Do not stare at the lamp when on. Can be harmful for eyes.
- CAUTION! The infrared LED illuminator emits high intensity light. In compliance with standard EN62471/IEC62471, the photobiological safety assessment has classified the device in Risk Group 1 (models UEI8xx, UEI9xx) or in Risk Group 2 (models UEI8xxP), where it exceeds the values of the Exempt Group. The risk linked to the observer depends on how the product has been installed and is used. For installation, follow the instructions in this manual. Do not tamper with the illuminator for any reason. Do not look directly at the illuminator using optical lenses.
- Exposure hazard values (EHV) (models UEI 8xx): 152s (under normal conditions), 106s (in abnormal conditions).
- Exposure hazard values (EHV) (models UEI 9xx): 161s (under normal conditions), 121s (in abnormal conditions).
- Exposure hazard values (EHV) (models UEI8 xxP): 55s (under normal conditions), 35s (in abnormal conditions).
- See the safety label applied to the product.
- CAUTION! The white LED illuminator
emits high intensity light. In compliance with standard EN62471/IEC62471, the photobiological safety assessment has classified the device in Risk Group 2, where it exceeds the values of the Exempt Group. The risk linked to the observer depends on how the product has been installed and is used. For installation, follow the instructions in this manual. Do not tamper with the illuminator for any reason. Do not look directly at the illuminator using optical lenses. - Exposure hazard values (EHV) (models UEI Wxx): 25s (under normal conditions), 17s (in abnormal conditions).
- Exposure hazard values (EHV) (models UEI WxxP): 122s (under normal conditions), 89s (in abnormal conditions).
- See the safety label applied to the product.
- During normal operation the surface of the illuminator can reach high temperatures. Do not allow direct contact and position the appliance where it is inaccessible to unauthorised persons. Before touching switch off the illuminator and allow to cool for a minimum period of 10 minutes.
CAUTION! Device installation and maintaining must be performed by specialist technical staff only.
- The manufacturer declines all responsibility for any damage caused by an improper use of the appliances mentioned in this manual. Furthermore, the manufacturer reserves the right to modify its contents without any prior notice. The documentation contained in this manual has been collected and verified with great care. The manufacturer, however, cannot take any liability for its use. The same thing can be said for any person or company involved in the creation and production of this manual.
- Before starting any operation, make sure the power supply is disconnected.
- Never, under any circumstances, make any changes or connections that are not shown in this handbook. Improper use of the appliance can cause serious hazards, risking the safety of personnel and of the installation.
- Use only original spare parts. Non-original spare parts could cause fire, electrical discharge or other hazards.
Identification
Product description and type designation
LED illuminator for ULISSE EVO, wavelength available 850nm, 940nm and white light.
Preparing the product for use
Any change that is not expressly approved by the manufacturer will invalidate the guarantee.
Unpacking
- When the product is delivered, make sure that the package is intact and that there are no signs that it has been dropped or scratched.
- If there are obvious signs of damage, contact the supplier immediately.
- When returning a faulty product we recommend using the original packaging for shipping.
- Keep the packaging in case you need to send the product for repairs.
Contents
Check the contents to make sure they correspond with the list of materials as below:
- Illuminator
- Cabling for illuminator connection
- Instruction manual
Safely disposing of packaging material
The packaging material can all be recycled. The installer technician will be responsible for separating the material for disposal, and in any case for compliance with the legislation in force where the device is to be used.
Installation
- Before starting any operation, make sure the power supply is disconnected.
- This product can only be installed on the PTZ of the ULISSE EVO line. No calibration required for light beam alignment with the camera.
- Remove the cover on the upper part of the PTZ, unscrewing the relevant screws.

- Identify the 8-pin male connector for the illuminator connection.

- Fig. 2
Insert the cabling supplied in the connector for illuminator connection.
- Connect the illuminator.

- Fig. 4
Fasten the illuminator to the PTZ using the specific screws.
- Pay attention to the fixing. Tightening torque: 2.5Nm (±0.2Nm).
- Fig. 5
The PTZ automatically recognises the type of illuminator installed.
Switching on
- The illuminator is composed of two groups of LEDs called SPOT and WIDE.
- The operating parameters of the illuminator are set using the web interface of the PTZ unit.
- For the configuration of the web interface, please refer to the instruction manual relating to the installed firmware version, available on the product web page on www.videotec.com.
Information on disposal and recycling
The European Directive 2012/19/EU on Waste Electrical and Electronic Equipment (WEEE) mandates that these devices should not be disposed of in the normal flow of municipal solid waste, but they should be collected separately in order to optimize the recovery stream and recycling of the materials that they contain and to reduce the impact on human health and the environment due to the presence of potentially hazardous substances.
The symbol of the crossed out bin is marked on all products to remember this.
The waste may be delivered to appropriate collection centers, or may be delivered free of charge to the distributor where you purchased the equipment at the time of purchase of a new equivalent or without obligation to a new purchase for equipment with size smaller than 25cm (9.8in).
For more information on proper disposal of these devices, you can contact the responsible public service.
Technical data
General
Wavelength: 850nm, 940nm (UEIxxx only), white light UEIxxx
- Wide beam: 40° (horizontal), 16° (vertical)
- Spot beam: 14° (horizontal), 14° (vertical)
UEIxxxP
- Wide beam: 13° (horizontal), 13° (vertical)
- Spot beam: 13° (horizontal), 13° (vertical)
Wide beam activation: based on the scene brightness, from alarm input or manuallySpot beam activation (can be activated only when the wide beam is active): can be activated on preset, based on the zoom factor or with the wide beam Automatic and remote switching on No calibration required for light beam alignment with the camera The illuminator does not slow down the P&T’s rotation speed Automatic recognition of the type of illuminator installed
Mechanical
Die-cast aluminum body
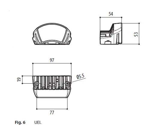
Dimensions (WxHxL): 97x53x54mm (3.8x2x2.1in)
Unit weight: 0.25kg (0.55lb)
Electrical
Power consumption: 13W
Technical drawings
The indicated measurements are expressed in millimetres. 
Headquarters Italy Videotec s.r.l.
Via Friuli, 6 – I-36015 Schio (VI) – Italy
Tel. +39 0445 697411 – Fax +39 0445 697414 Email: [email protected]
VIDEOTEC UEI LED Illuminator for ULISSE EVO
























