Godox UL60 Silent LED Video Light Instruction Manual
Foreword
Thank you for purchasing this Godox Product!
Silent LED Video Light UL60 is suitable for live recording, video shooting and photojournalistic shooting. UL60 is very convenient due to the separation design of main body and controller. UL series create stable light resource and even illumination for photography.
Main Features:
- With stable light source and adjustable light brightness
- Can be remote controlled by 2.4G, smartphone APP and DMX
- Support 8 light effects to achieve creative shooting
- Adapter and controller are separate from the main light body, which offers more convenient operation and better heat dissipation
- With U-type bracket to adjust different angles easily
- Lightweight, portable and suitable for multiple scenes
- Bowens-mount supports various of accessories
Warning
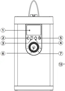
- Always keep this product dry. Do not use in rain or in damp conditions.
- Do not disassemble. Should repairs become necessary, this product must be sent to an authorized maintenance center.
- Keep out of reach of children.
- As this product do not have waterproof function, please take measures of waterproof in rainy or damp environment.
- As this product may heat up in working, please do not touch.
Name of Body



- Main Body
- Accessory Locking Button
- Direction Adjusting Bracket
- Reflector
- Lens
- Protection Cover
- Handle
- 8. Bracket Locking Screw
- Fixing Sheet
- Bracket Sleeve
- Sleeve Screw
- Thermovent
- Power Socket
- Standard Reflector
Controller
- Display
- Power Switch
- MENU Button
- FX Button
- DMX Button
- SET Button
- + – Select Dial

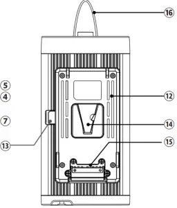
- DMX Output Port (male)
- DMX Output Port (female)
- Power Input

- Power Output

- Battery Clip
- Battery Release Button
- Battery Compartment
- Battery Base
- Steel Cable

Included Items
- Light Body *1

- Bowens-mount Reflector *1

- Protection Cover *1

- Controller *1

- Connect Cable *1

- Power Cable *1

- Instruction Manual *1

Optional Accessory
Purchase more accessories to achieve better shooting experience: e.g.
- RC-A6 Remote control

- power inverter

- softbox

- light stand

- honey comb

- beauty dish

- snoot

Power Supply
DC Power Supply
- Insert the two ends of power source connect cable into the controller’s power output port and light’s power input port until a “click” can be heard.
Pull out the connect cable: press down the PUSH button and pull out the cable simultaneously. - Insert the power cable’s output end into the controller’s input port. Then, rotate it rightwards to 15° until a “click” can be heard. Pull out the power cable: press the PUSH button on the output end of power cable and rotate it leftwards to 15°to pull out.
- Connect power cable into the power source.

V-port Battery Power Supply (Optional)
Install the V-port battery onto the controller’s battery compartment. Then, power the light on to operate.

Note: please use the standard V-port battery with 14.8V standard voltage. Do not supply power with the battery whose voltage is over 16.8V.
Operation
- Power switch:
Short press the power switch, and the LED light will be lighted on. Press the button again to turn off the light
- Brightness adjustment:
In the main interface, turn the select dial to adjust brightness from 0% to 100%.
- Light effects setting:
In normal status, short press the FX button once to enter the setting interface. Then, turn the select dial to choose light effects from OFF and 1 to 8.
Display FX1 FX2 FX3 FX4 FX5 FX6 FX7 FX8 Scene Flash 1 Flash 2 Flash 3 Storm 1 Storm 2 Storm 3 TV Broken bulb
Short press the FX button or SET button to back to the main interface after settings finished.
Note: If a light effect is selected from 1 to 8, the FX icon and light effects will be displayed on the main interface. And the brightness can be adjusted. The color temperature will not be displayed.
If choose OFF, the color temperature will be displayed instead of FX icon.
Control Mode Selection
2.4G Wireless Control
- With 2.4G wireless system, S60 focusing LED video light has remote grouping and control function. It is recommended to purchase RC-A6 remote control (optional) to achieve wireless control. LED lights with 16 groups can be controlled. 32 channels and 99 IDs are available with strong anti-interference capability.
Note:
- Please make LED light’s channel, group and ID to the same as remote control’s.
- The wireless signals can only be received in the situation that the LED light is powered on.
- CH Channel Adjustment/GR Group Adjustment/ID Value Adjustment

In main interface, short press MENU button once and turn the select dial to adjust channel, group and ID values. - In CH channel setting interface, short press SET button and the channel icon will blink. Then, turn the select dial to choose channel from 1 to 32. Press the SET button to confirm and the icon will stop blinking.

- In GR channel setting interface, short press SET button and the group icon will blink. Then, turn the select dial to choose group from A to F and 0 to 9. Press the SET button to confirm and the icon will stop blinking.

- In ID channel setting interface, short press SET button and the group icon will blink. Then, turn the select dial to choose group from OFF and 1 to 99. Press the SET button to confirm and the icon will stop blinking.

- After setting all these parameters, short press SET button to confirm and back to the main interface.
Note: the LED light will auto return to the main interface if there’s no operation after 10 seconds.
Bluetooth Control
- Bluetooth Code Display & RESET Function Check Bluetooth code: in main interface, short press MENU button. Then, press the select dial to switch the icons. The Bluetooth icon will be displayed after Bluetooth icon appeared.

- Bluetooth reset function: in the Bluetooth code interface, long press the SET button for 2 seconds and the Bluetooth icon will blink because of resetting. And the icon will stop blinking after successfully reset. Then, short press the MENU button to return to main interface.
Note: The LED light’s Bluetooth function should be turned on. The APP can be used directly on the firstly installed device (smartphone or iPad). When change to other mobile device(smartphone or iPad), the light shall be reset before the normal connection of APP. - Scan the QR code to download the “Godox Light” smartphone APP(can be used in Android and Apple).

For more smartphone APP operations, please open the “help” in APP to gain detailed guidance.
DMX Control Mode
In main interface, short press DMX button to enter the DMX interface and the icon will be blinking. Then, turn the select dial to set the DMX channel from 1 to 512. Adjustment in 10 values quickly or 1 value normally.
Short press SET or DMX button to back to the main interface after finished all settings.
DMX Parameters:
| Operation Mode/Code | CCT | FX | Note |
| n(Mode) | 0-51 | 52-255 | |
| n+1 | DMX*(100/255) Integer 0-100% Brightness | DMX*(100/255) Integer 0-100% Brightness | |
| n+2 | DMX*(total light effects/255) | For example: total light effects 8,DMX=160, light effects No.=160*8/255=5 |
Technical Data
Silent LED Video Light | UL60 | |
| Power Supply | AC Power Supply | 100~240V 50/60HZ 0.9A |
| V-port battery | Standard voltage: 14.8V (optional) | |
| Output Power | 60W | |
| Color Temperature | 5600K±300K | |
| 100% Illuminance(LUX) (1m,darkroom) (≈) | 31000 | |
| CRI | ≥96 | |
| TLCI | ≥97 | |
| Brightness Range | 0~100% | |
| Channel(CH) | 32 | |
| Group (GR) | 16 | |
| Working Environment Temperature | -10~40°C | |
| Control Method | Smartphone APP/2.4G wireless | |
| remote control/ DMX control | ||
| 2.4G Wireless Transmission Distance (≈) | 50m | |
| Dimension (≈) | Light body: 225*119*263mm (included U-type bracket and sleeve) | |
| Controller: 268*113*64mm | ||
| New weight(≈) | Light body: 2.38kg | |
| Controller: 0.94kg | ||
Maintenance
- This product, except consumables e.g. battery, power cable and connect cable, is supported with a one-year warranty.
- Avoid sudden impacts and the product should be dedusted regularly.
- Maintenance of the flash must be performed by our authorized maintenance department which can provide original accessories.
- Unauthorized service will void the warranty.
- If the product had failures or was wetted, do not use it until it is repaired by professionals.
- Changes made to the specifications or designs may not be reflected in this manual.
FCC Statement
This device complies with part 15 of the FCC Rules. Operation is subject to the following two conditions: (1) This device may not cause harmful interference, and (2) this device must accept any interference received, including interference that may cause undesired operation.
Any Changes or modifications not expressly approved by the party responsible for compliance could void the user’s authority to operate the equipment.
Note: This equipment has been tested and found to comply with the limits for a Class B digital device, pursuant to part 15 of the FCC Rules. These limits are designed to provide reasonable protection against harmful interference in a residential installation. This equipment generates uses and can radiate radio frequency energy and, if not installed and used in accordance with the instructions, may cause harmful interference to radio communications. However, there is no guarantee that interference will not occur in a particular installation. If this equipment does cause harmful interference to radio or television reception, which can be determined by turning the equipment off and on, the user is encouraged to try to correct the interference by one or more of the following measures:
- Reorient or relocate the receiving antenna.
- Increase the separation between the equipment and receiver.
- Connect the equipment into an outlet on a circuit different from that to which the receiver is connected.
- Consult the dealer or an experienced radio/TV technician for help.















































