
Bi-color LED Video Light


Instruction Manual
Foreword
Thank you for purchasing this Godox Product! This Bi-color LED Video Light ML60Bi is a light that is easy to fill. It has high brightness, wireless adjustable, and color temperature adjustable functions. Suitable for almost all shooting occasions e.g. live, camping, make-up, portrait shooting, make-up, video, wedding, children photography, etc. It’s portable and easy to be operated.
Features:
- Freely switch LED bi-color mode and 21 Light effects modes
- 0% to 100% Precisely adjust light brightness
- 16 Groups and 32 channels wireless remote control
- Switch silent mode to light without interference
- Compact and lightweight, easy to be held in the hand
- Freely adjust color temperature
- Combined control by smartphone APP/2.4G wireless
Warning
Always keep this product dry. Do not use in rain or in damp conditions.
Do not disassemble. Should repairs become necessary, this product must be sent to an authorized maintenance center.
Keep out of reach of children.
As this product does not have a waterproof function, please take measures of waterproof in rainy or damp environments.
Do not use the flash unit in the presence of flammable gases, chemicals, and other similar materials. In certain circumstances, these materials may be
sensitive to the strong light emitting from this flash unit, and fire or electromagnetic interference may result.
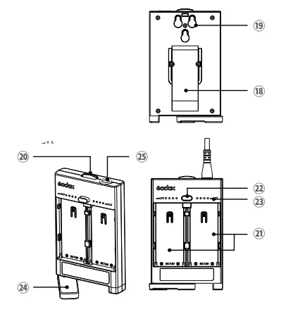
Parts
- Body
- Power Switch
- DC Power Socket
- Control Panel
- CCT/SET Select Dial
- DIM Select Dial
- Display
- Thermovent
- Fixing Socket for Handle
- Accessory Locking Ring
- LED Light Beads
- Radiator
• Handle - Handle Bracket
- Direction Adjusting Ring
- Fixing Screw for Light Head
- Fixing Screw for Light Stand
- Fixing Buckle for Battery Case
• Battery Case - Clip
- Fixing Hole for Battery Case
- Locking Ring for Battery Case
- Battery Compartment 1 and 2
- Battery Level Display Button/ Battery Locking Ring
- Battery Level Indicator
- Battery Case Leg
- Battery Power Output Port

What’s in the Box

Optional Accessory
RC-A6 remote control

Power Management
- Power Supply
Adapter power supply: input: 100-240V~50/60Hz 2A, output: 16.8V 4.2A. External battery power supply: install two NP-F970 batteries into the battery compartment. Then, use a DC power line to connect the battery case with the light body to achieve a power supply.The battery case can only offer battery discharging instead of charging. When powered by a battery box, two batteries shall be used simultaneously. Please do not use one battery individually.
Operation
- Power On
Press the power switch to control the on/off of the light, and the OLED display will show the current information.
- Mode Selection: Bi-color mode/FX Special Effects Mode
Color temperature mode: the main interface is the color temperature mode 2.1.1 Color temperature adjustment: Rotate the CCT/SET knob on the main
interface to adjust the color temperature (2800~6500K). Normally rotate 100 unit values, and quickly rotate 500 unit values. 2.1.2 Brightness Adjustment: Select the DIM dial to adjust brightness from 0% to 100%.
2.2 Light effect mode: There are seven types and 21 kinds of light effect modes.
| Special Effects | Display | Situation | Display I | Display II | Display III |
| Fxl | Flash | Flash | Press conference | Paparazzi | |
| FX2 | lightning | Discontinuous | Frequent | Continuous | |
| FX3 | Broken bulb | Discontinuous | Frequent | Continuous | |
| FX4 | TV | Slow speed | Medium speed | Quick speed | |
| FX5 | Candle | Intermittently | Frequent | Continuous | |
| FX6 | Fire | Woodfire | Bonfire | Fire | |
| FX7 | Fireworks | Short | Continuous | Performance | |
3. 2.4G Wireless setting
ML60Bi has 2.4G wireless receiving function, and the remote control RC-A6 can be purchased separately for wireless remote control. Using 2.4G wireless
technology function, it can control 16 Groups, 32 channels, and 99 wireless IDs at the same time, with strong anti-interference.
Note: Before use, please set the channel (CH), group (GR), and ID of the remote control and the LED light to be the same. The LED light can only receive wireless signals when it is turned on.
Turn on/off 2.4G wireless: press the CCT/SET button to enter the menu. Turn the CCT/SET select dial until the wireless icon is displayed. Then, turn the DIM select dial to turn on or off 2.4G wireless.

Channel CH Setting: press the CCT/SET button to enter the menu. Turn the CCT/SET select dial until the CH is displayed. Then, turn the DIM select dial to
choose a channel from 1 to 32.

Group GR Setting: press the CCT/SET button to enter the menu. Turn the CCT/SET select dial until the GR is displayed. Then, turn the DIM select dial to choose a group from A to E and 0 to 9.

ID setting: press CCT/SET button to enter the menu. Turn the CCT/SET select dial until the ID is displayed. Then, turn the DIM select dial to choose 99 IDs from 1 to 99.
4. Brightness adjustment: Rotate DIM to adjust brightness, normally rotate 1 unit value, and quickly rotate 10 unit value.
Note: Press the DIM select dial to turn off brightness, and then press dim to restore the brightness of the last time it was turned off.
5. Silent mode:
When is displayed, the silent mode is turned on. Turn on the silent mode: press CCT/SET button to enter the menu. Then, screw the DIM select dial to turn on or off the fan. Set it to on to enter non-silent mode while setting it off to enter silent mode. In silent mode, the brightness adjustment range is from 0% to 50%.

6. Install and detach battery case
6.1 Install battery case: Aim the handle’s fixing buckles into the battery case are fixing holes pull the batter case downwards until being tightened.

6.2 Detach battery case: push the battery case’ locking ring and push the battery case upwards to take it out.

6.3 Connect the battery case with a light head: Insert one end of the power cord into the battery box and the other end into the DC socket of the lamp cap.

6.4 Insert two FP970 batteries, and the LED light can be put into usage.

7. Low Battery Indication
When the battery is below one grid, the low battery indicator will pop out.

8. Locking Function
In the power-on state, long-press the CCT/SET button for 2 seconds, and the locking icon will appear on the display. Long press the button for 2 seconds again to unlock.
Note: The locking function only locks the control panel function, the 2.4G wireless remote control and Bluetooth control are not affected.
9. High-Temperature Alarm Function
9.1 When the LED Light bead temperature is too high, the display screen will display the high-temperature alarm symbol.![]()
9.2 When the LED Light temperature returns to normal, the lamp will automatically release the alarm. At this time, the DIM dial can be rotated to change the
brightness.
9.3 When the temperature sensor failure symbol
appears on the display, it means that the high-temperature alarm function of the machine has failed.
10. Bluetooth Control
10.1 Press the CCT/SET button to enter the menu, turn the CCT/SET knob to the Bluetooth symbol
, turn the DIM knob (OFF/Bluetooth MAC code/Reset cycle selection), select OFF when the Bluetooth is turned off; When the Bluetooth MAC code (For example CE8C) is selected, Bluetooth is turned on
and the Bluetooth symbol appears on the main interface; select Reset and then press the DIM button to perform the Bluetooth reset function.

Note: The first mobile device (mobile phone or tablet) can directly use the APP to control the light body. When replacing other mobile devices (mobile phones or tablets), the lamp body can be connected normally after Bluetooth reset.
10.2 Scan the QR code to download the “Godox Light” mobile app. (It can be used on both Android and Apple systems) (QR code diagram). For specific operations, please refer to the “Help” manual of the mobile APP, which contains detailed tutorials.

http://www.guteleben.com/html/dl_app/c_ble/GodoxLight/index.html
Technical Data
| LED Light | ML60Bi |
| Adapter | Output: 16.8V 4.2A |
| Power | Max. 60W |
| Channel | 32 |
| Group | 16(A B C D E F,0-9) |
| Brightness Adjusting Range | 0%-100% |
| 100% Illuminance(LUX)(=) | 10100 (testing distance is 1 meter) |
| CRIN | 96 |
| TLCIN | 97 |
| Color Temperature | 2800-6500K (without reflector) |
| Mode | Bi-color mode/scene mode |
| Lighting effects mode | A total of 7 categories and 21 types |
| Control method | Mobile APP/2.4G wireless control |
| 2.4G wireless transmission distance | 30 meters |
| Bluetooth transmission distance | 30 meters |
| Working Temperature | -10-40°C |
| Weight | 0.77Kg (not including handle and reflector) |
| Dimension | 145*88*88mm (not including handle and reflector) |
| BT Frequency Range | 2402.0-2480.0MHz |
| Max. Transmitting Power | 5dbm |
* Product design and specifications are subject to change without notice.
Maintenance
This product, except consumables e.g. charger and charger cable, is supported with a one-year warranty. Avoid sudden impacts and the product should be dedusted regularly. Maintenance of the flash must be performed by our authorized maintenance department which can provide original accessories. Unauthorized service will void the warranty. If the product had failures or was wetted, do not use it until it is repaired by professionals. Changes made to the specifications or designs may not be reflected in this manual.
FCC Statement
This device complies with part 15 of the FCC Rules. Operation is subject to the following two conditions: (1) This device may not cause harmful interference, and (2) this device must accept any interference received, including interference that may cause undesired operation. Any changes or modifications not expressly approved by the party responsible for compliance could void the user’s authority to operate the equipment.
Note: This equipment has been tested and found to comply with the limits for a Class B digital device, pursuant to part 15 of the FCC Rules. These limits are designed to provide reasonable protection against harmful interference in a residential installation. This equipment generates uses and can radiate radio frequency energy and, if not installed and used in accordance with the instructions, may cause harmful interference to radio communications. However, there is no guarantee that interference will not occur in a particular installation. If this equipment does cause harmful interference to radio or television reception, which can be determined by turning the equipment off and on, the user is encouraged to try to correct the interference by one or more of the following measures:
– Reorient or relocate the receiving antenna.
– Increase the separation between the equipment and receiver.
– Connect the equipment into an outlet on a circuit different from that to which the receiver is connected.
– Consult the dealer or an experienced radio/TV technician for help.
The device has been evaluated to meet general RF exposure requirements. The device can be used in portable exposure conditions without restriction.
Warranty
Dear customers, as this warranty card is an important certificate to apply for our maintenance service, please fill in the following form in coordination with the seller and safe-keep it. Thank you!
| Product Information | Model | Product Code Number |
| Customer Information | Name | Contact Number |
| Address | ||
| Seller Information | Name | |
| Contact Number | ||
| Address | ||
| Date of Sale | ||
| Note: | ||
Note: This form shall be sealed by the seller
Applicable Products
The document applies to the products listed on the Product Maintenance information (see below for further information). Other products or accessories (e.g. promotional items, giveaways, and additional accessories attached, etc.) are not included in this warranty scope.
Warranty Period
The warranty period of products and accessories is implemented according to the relevant Product Maintenance information. The warranty period is calculated from the day(purchase date) when the product is bought for the first time, And the purchase date is considered as the date registered on the warranty card when buying the product.
How to Get the Maintenance Service
If maintenance service is needed, you can directly contact the product distributor or authorized service institutions. You can also contact the Godox after-sale service call and we will offer you service. When applying for maintenance service, you should provide a valid warranty card. If you cannot provide a valid warranty card, we may offer you a maintenance service once confirmed that the product or accessory is involved in the maintenance scope, but that shall not be considered as our obligation.
Inapplicable Cases
The guarantee and service offered by this document are not applicable in the following cases: The product or accessory has expired its warranty period; Breakage or damage caused by inappropriate usage, maintenance, or preservation, such as improper packing, improper usage, improper plugging in/out external equipment, falling off or squeezing by an external force, contacting or exposing to the improper temperature, solvent, acid, base, flooding, and damp environments, etc; Breakage or damage caused by the non-authorized institution or staff in the process of installation, maintenance, alteration, addition, and detachment; The original identifying information of product or accessory is modified, alternated, or removed; No valid warranty card; Breakage or damage caused by using illegally authorized, nonstandard, or non-public released software; Breakage or damage caused by force majeure or accident; Breakage or damage that could not be attributed to the product itself. Once met these situations above, you should seek solutions from the related responsible parties and Godox assumes no responsibility. The damage caused by parts, accessories, and software beyond the warranty period or scope is not included in our maintenance scope. The normal discoloration, abrasion, and consumption are not the breakage within the maintenance scope.
Maintenance and Service Support Information
The warranty period and service types of products are implemented according to the following Product Maintenance Information:
| Product Type | Name | Maintenance Period(month) | Warranty Service Type |
| Parts | Circuit Board | 12 | Customer sends the product to the designated site |
| Battery | 3 | Customer sends the product to the designated site | |
| Electrical parts e.g.battery charger, power cord, sync cable, etc. | 12 | Customer sends the product to the designated site Without warranty | |
| Other Items | Flash tube, modeling lamp, lamp body, lamp cover, locking device, package, etc. | No |
Godox After-sale Service Call 0755-29609320-8062
705-ML60BY-00
QC PASS
GODOX Photo Equipment Co., Ltd.
Add: Building 2, Yaochuan Industrial Zone, Tangwei Community, Fuhai Street, Bao’an District,
Shenzhen, China Tel: +86-755-29609320(8062) Fax: +86-755-25723423 E-mail: [email protected]
godox.com
Made in China
![]()

• Battery Case




















