PORTABLE LED VIDEO LIGHT
Instruction Manual
Foreword
Thank you for purchasing this Godox Product!
ML30 LED light, a compact and portable LED light source, with Bluetooth wireless and on-board control, high CRIand TLCI scores to deliver vibrant natural light and reproduce accurate colors, Godox mount to compatible with all Godox-mount modifiers for various lighting possibilities, is suitable for live streaming, short video, product shooting, and other scenarios.
Features:
- Compact and portable, with 2 ways of power supply to meet the needs of outdoor shooting.
- Freely switch LED continuous light mode and 12 kinds of preset lighting effects modes.
- 0% to 100% Precisely adjust light brightness.
- Compact and lightweight, easy to be held in the hand.
- The quiet design allows it to keep at a negligible noise when working.
- Bluetooth wireless remote control, easy and convenient to operate.
Warning
Always keep this product dry. Do not use in rain or in damp conditions.
Do not disassemble. Should repairs become necessary, this product must be sent to an authorized maintenance center.
Keep out of reach of children.
As this product does not have waterproof function, please take measures of waterproof in a rainy or damp environment.
Do not use the light unit in the presence of flammable gases, chemicals, and other similar materials. In certain circumstances, these materials may be sensitive to the strong light emitting from this light unit, and fire or electromagnetic interference may result.
Always remove the protection cover prior to turning on the light. Always re-install the cover when packing it away.
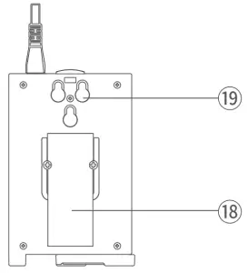
Parts

| 01. Body | 07. Display |
| 02. Power Switch | 08. Ventilation Hole |
| 03. DC Power Socket | 09. Screw Hole for Handle |
| 04. Control Panel | 10. Accessory Slide Lock |
| 05. SET Select Dial | 11. LED Light Beads |
| 06. DIM Select Dial | 12. Radiator |
Handle

| 13. Handle Bar | 16. Fixing Screw for Light Stand |
| 14. Direction Adjusting Knob | 17. Battery Case Mounting Screw |
| 15. Fixing Screw for Light Body | |
Battery Case
![]() | ![]() | ![]() |
| 18. Clip | 22. Battery Status Button / Battery Lock |
| 19. Handle Bar | 23. Battery Status Indicator |
| 20. Mounting Hole | 24. Leg |
| 21. Slide Lock | 25. Output Port |
What’s in the Box

Two Light Kit for ML30(Buy separately)

Optional Accessory

Power Management
Power Supply
Adapter power supply: input: AC100-240V/1.3A, output: 14V/3.4A/50-60HZ.
External battery power supply: install two NP-F970 batteries into the battery compartment. Then, use the power cable to connect the battery case with the light body to achieve a power supply.
Battery Power Indicator The green light indicates the remaining power, the four green lights indicate the remaining 100% power, the three green lights indicate the remaining 75% power, the two bright green lights indicate the remaining 50% power, and the one green light indicates the remaining 25% power. With less than 1 green light, the display will show a low power promptly.
The battery case can only offer battery discharging instead of charging. When powered by a battery box, two batteries shall be used simultaneously. Please do not use one battery individually.
Operation
- Power on
Press the power switch to control the ON/OFF of the light, and the OLED display will show the current information.
- Mode selection: continuous lightingmode/ FX lighting effects Mode
Press SET select dial to enter the menu. , Then the SET select dial to FX and turn the DIM select dial to switch the two modes: Continuous lighting mode: set FX mode to OFF to enter continuous lighting mode.
FX Lighting Mode: 12 kinds of preset lighting effects in 4 scenesNumber Display Scene Display 1 Display II Display Ill FX1 
Flash Flash Press conference Paparazzi FX2 
lightning Discontinuous Frequent Sustainable FX3 
Broken bulb Discontinuous Frequent Sustainable FX4 
TV Slow speed Medium speed Quick speed
Tips: Turn DIM select dial to select light efficiency type, and then short press DIM select dial to realize speed switching. - Brightness select dial:
turn the DIM select dial to adjust brightness. Press the DIM select dial once to turn off the brightness. Press the DIM select dial again to recover the former brightness.
- Silent mode:
when
is displayed, the silent mode is turned on.
Turn on the silent mode: press SET select dial to enter the menu. Then, turn the DIM select dial to turn on or off the silent mode. Set it on to enter non-silent mode while setting it off to enter silent mode. In silent mode, the brightness adjustment range is from 0% to 50%.
- Install and detach battery case
5.1 Install battery case: Aim the handle’s mounting screws into the battery case’s mounting holes pull the batter case downwards until being tightened.
5.2 Detach battery case: push the battery case’ locking ring and push the battery case upwards to take it out.
5.3 Connect the battery case with a light head: insert the one end with the clamping buckle of the power cable into the battery case while another end into the DC power socket of the light head.
5.4 Insert two NP-F970 batteries, and the LED light can be put into usage.
- Low Battery Indication
When the battery power is low, the low battery indicator will pop out.
- Locking Function
In the power-on state, long-press the SET select dial for 2 seconds, and the locking icon will appear on the display. Long press the button for 2 seconds again to unlock.
Note: The locking function only works in panel function, the 2.4G wireless remote control and Bluetooth control are not affected. - Bluetooth Settings:
8.1 Short press the SET select dial enter the menu, turn the SET select sial to Bluetooth, and then turn the DIM select dial to select OFF/Bluetooth MAC code /Reset; When OFF is selected, Bluetooth is turned off. When Bluetooth MAC code (e.g.: 5974) is selected, Bluetooth is turned on, and the Bluetooth icon appears on the main interface. When Reset is selected, short press theDIM select dial to perform Bluetooth reset.
8.2 Scan the QR code to download the “Godox Light” mobile app.(It can be used on both Android and Apple systems) (QR code diagram) . For specific operations, please refer to the “Help” manual of the mobile APP, which contains detailed tutorials.
Note: The first mobile device (mobile phone or tablet) can directly use the APP to control the light body. When replacing other mobile device (mobile phone or tablet), the light body can only be connected with the APP normally after the Bluetooth reset.
- High-Temperature Alarm Function
9.1When the LED Light bead temperature is too high, the display screen will display the high-temperature alarm symbol.
9.2 When the LED Light temperature returns to normal, the lamp will automatically release the alarm. At this time, the DIM dial can be rotated to change the brightness.
9.3 When the temperature sensor failure symbol appears on the display, it means that the high-temperature alarm function of the machine has failed.
Technical Data
| LED Light | ML30 |
| Adapter | Output: 14.0V 3.4A |
| Power | 37.6W |
| Brightness Adjusting Range | 0%∼100% |
| CRI(≈) | ≈96 |
| TLCI(≈) | ≈97 |
| Lighting effects mode | A total of 12 types in four categories |
| Bluetooth Transmission | Distance 5m |
| BT Frequency Range | 2402.0-2480.0MHz |
| Max. Transmitting Power | 5dbm |
| Color Temperature | 5600K |
| Working Temperature | -10∼40 C |
| Weight | 587g |
| Dimension | 120*88*88mm (not including handle and reflector) |
* Product design and specifications are subject to change without notice.
Illumination data
| Distance | Test Parameters | 0.5m | 1m | 2m |
| Bare Bulb | lux | 5880 | 1540 | 392 |
| fc | 546 | 143 | 36. | |
| With Standard Reflector | lux | 45700 | 8590 | 1740 |
| fc | 4250 | 798 | 161 |
Maintenance
This product, except consumables e.g. charger and charger cable, is supported with a one-year warranty. Avoid sudden impacts and the product should be deducted regularly. Maintenance of the light must be performed by our authorized maintenance department which can provide original accessories. Unauthorized service will void the warranty. If the product had failures or was wetted, do not use it until it is repaired by professionals. Changes made to the specifications or designs may not be reflected in this manual.
FCC Statement
This device complies with part 15 of the FCC Rules. Operation is subject to the following two conditions: (1) This device may not cause harmful interference, and (2) this device must accept any interference received, including interference that may cause undesired operation.
Any changes or modifications not expressly approved by the party responsible for compliance could void the user’s authority to operate the equipment.
Note: This equipment has been tested and found to comply with the limits for a Class B digital device, pursuant to part 15 of the FCC Rules. These limits are designed to provide reasonable protection against harmful interference in a residential installation. This equipment generates uses and can radiate radio frequency energy and, if not installed and used in accordance with the instructions, may cause harmful interference to radio communications. However, there is no guarantee that interference will not occur in a particular installation. If this equipment does cause harmful interference to radio or television reception, which can be determined by turning the equipment off and on, the user is encouraged to try to correct the interference by one or more of the following measures:
- Reorient or relocate the receiving antenna.
- Increase the separation between the equipment and receiver.
- Connect the equipment into an outlet on a circuit different from that to which the receiver is connected.
- Consult the dealer or an experienced radio/TV technician for help.
The device has been evaluated to meet general RF exposure requirements.
The device can be used in portable exposure conditions without restriction.
Declaration of Conformity :
GODOX Photo Equipment Co, Ltd. hereby declares that This equipment is in compliance with the essential requirements and other relevant provisions of EU Directive 2014/53/EU. They are allowed to be used in all EU member states. For more information on DoC, Please click this web link:http://www.godox.com/DOC/Godox_ML_Series_DOC.pdf.
Warranty
Dear customers, as this warranty card is an important certificate to apply for our maintenance service, please fill in the following form in coordination with the seller and safe- keep it. Thank you!
| Product Information | Model | Product Code Number |
| Customer Information | Name | Contact Number |
| Address | ||
| Seller Information | Name | |
| Contact Number | ||
| Address | ||
| Date of Sale | ||
| Note: | ||
Note: This form shall be sealed by the seller.
Applicable Products
The document applies to the products listed on the Product Maintenance information (see below for further information). Other products or accessories (e.g. promotional items, giveaways, and additional accessories attached, etc.) are not included in this warranty scope.
Warranty Period
The warranty period of products and accessories is implemented according to the relevant Product Maintenance information. The warranty period is calculated from the day(purchase date) when the product is bought for the first time, And the purchase date is considered as the date registered on the warranty card when buying the product.
How to Get the Maintenance Service
If maintenance service is needed, you can directly contact the product distributor or authorized service institutions. You can also contact the Godox after-sale service call and we will offer you service. When applying for maintenance service, you should provide a valid warranty card. If you cannot provide a valid warranty card, we may offer you maintenance service once confirmed that the product or accessory is involved in the maintenance scope, but that shall not be considered as our obligation.
Inapplicable Cases
The guarantee and service offered by this document are not applicable in the following cases: ①. The product or accessory has expired its warranty period; ②. Breakage or damage caused by inappropriate usage, maintenance, or preservation, such as improper packing, improper usage, improper plugging in/out external equipment, falling off or squeezing by an external force, contacting or exposing to the improper temperature, solvent, acid, base, flooding, and damp environments, etc; ③. Breakage or damage caused by the non-authorized institutions or staff in the process of installation, maintenance, alteration, addition, and detachment; ④. The original identifying information of product or accessory is modified, alternated, or removed; ⑤. No valid warranty card; ⑥. Breakage or damage caused by using illegally authorized, nonstandard, or non-public released software; ⑦. Breakage or damage caused by force majeure or accident; ⑧. Breakage or damage that could not be attributed to the product itself. Once met these situations above, you should seek solutions from the related responsible parties and Godox assumes no responsibility. The damage caused by parts, accessories, and software beyond the warranty period or scope is not included in our maintenance scope. The normal discoloration, abrasion, and consumption are not the breakages within the maintenance scope.
GODOX Photo Equipment Co., Ltd.
Add: Building 2, Yaochuan Industrial Zone, Tangwei Community, Fuhai Street, Baoan
District, Shenzhen, 518103 China Tel: +86-755-29609320(8062)
Fax: +86-755-25723423 Email: [email protected]
godox.com
Made in China![]()







5.2 Detach battery case: push the battery case’ locking ring and push the battery case upwards to take it out.
5.3 Connect the battery case with a light head: insert the one end with the clamping buckle of the power cable into the battery case while another end into the DC power socket of the light head.
5.4 Insert two NP-F970 batteries, and the LED light can be put into usage.

Note: The locking function only works in panel function, the 2.4G wireless remote control and Bluetooth control are not affected.



















