OWNER’S MANUAL

Thurlow
Please write the model number here for future reference: /

SAFETY TIPS
OBSERVE THE FOLLOWING: READ AND SAVE THESE INSTRUCTIONS
WARNING: TO REDUCE THE RISK OF FIRE, ELECTRIC SHOCK, OR PERSONAL INJURY, MOUNT TO OUTLET BOX MARKE ‘ACCEPTABLE FOR FAN SUPPORT OF 35 LBS (15.9 KG) OR LESS AND USE MOUNTING SCREWS PROVIDED WITH THE OUTLET BOX AND/OR SUPPORT DIRECTLY FROM BUILDING STRUCTURE. MOST OUTLET BOXES ARE COMMONLY USED FOR THE SUPPORT OF
LUMINARIES ARE NOT ACCEPTABLE FOR FAN SUPPORT AND MAY NEED TO BE REPLACED. CONSULT A QUALIFIED ELECTRICIAN IF IN DOUBT.
- Installation work and electrical wiring must be done by a qualified person(s) in accordance with all applicable codes and standards (ANSI/NFPA 70), including fire-rated construction.
- Use this unit only in the manner intended by the manufacturer. If you have any questions contact the manufacturer.
- After making the wire connections, gently push connections into the outlet box with wire nuts pointing up. The wires should be spread apart with the grounded conductor and the equipment-grounding conductor on one side of the outlet box and the ungrounded conductor on the other side of the outlet box.
- Before you begin installing the fan, switch power off at the service panel and lock service disconnecting means to prevent power from being switched on accidentally. When the service disconnecting means cannot be locked, securely fasten a prominent warning device, such as a tag, to the service panel.
- Be cautious! Read all instructions and safety information before installing your new fan. Review the accompanying assembly diagrams.
- When cutting or drilling into a wall or ceiling, do not damage electrical wiring and other hidden utilities.
- Make sure the installation site you choose allows the fan blades to rotate without any obstructions. Allow a minimum clearance of 7 feet from the floor to the trailing edge of the blade.
- To reduce the risk of fire, electric shock, or personal injury, this fan must be mounted to an outlet box marked suitable for fan support, and use the mounting screws provided with the outlet box. (Mounting must support at least 35 lbs.)
- WARNING! Do not bend blade holders during installation to the motor, balancing, or during cleaning. Do not insert a foreign objects between rotating blades.
- Attach the mounting bracket using only the hardware supplied with the outlet box. The fan is only to be mounted to an outlet box marked “Acceptable for Fan Support”.
- WARNING! To reduce the risk of fire or electric shock, do not use this fan with any solid-state fan speed control device, or variable speed control.
- If this unit is to be installed over a tub or shower, it must be marked as appropriate for the application.
- NEVER place a switch where it can be reached from a tub or shower.
- The combustion airflow needed for the safe operation of fuel-burning equipment may be affected by this unit’s operation. Follow the heating equipment manufacturer’s guideline safety standards such as those published by the National Fire Protection Association (NFPA), the American Society for Heating, Refrigeration and Air Conditioning Engineers (ASHRAE), and the local code authorities.
- Before servicing or cleaning the unit, switch power off at the service panel and lock service disconnecting means to prevent power from being switched on accidentally. When the service disconnecting means cannot be locked, securely fasten a prominent warning device, such as a tag, to the service panel.
- All set screws must be checked and re-tightened where necessary before installation.
- The appliance is not intended for use by young children or infirmed persons without supervision. Young children should be supervised to ensure that they do not play with the appliance.
FEATURES

Note: For sloped ceiling installation, please refer to westinghouselighting.com for specially designed canopy kit options.

COMBO-BLADE
Combo-Blades feature two high-quality finishes on one blade. Select the one that best complements your decor, or change the style with just a flip of the blade.
NOTE: Combo-Blade finishes vary, depending upon the model.
PREPARING FOR INSTALLATION

Unpack and inspect the fan carefully to be certain all contents are included. Turn off power at fuse box to avoid possible electrical shock.

Use metal outlet box suitable for fan support (must support 35 lbs).
Before attaching the fan to the outlet box, ensure the outlet box is securely fastened by at least two points to a structural ceiling member (a loose box will cause the fan to wobble).
MOUNTING BRACKET INSTALLATION

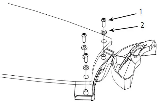
Remove the screws from the two mating holes (2) on the canopy. Loosen (do not remove) the screws in the mating slots (1) on the canopy. Rotate the mounting bracket and remove it from the canopy.

Install mounting bracket to an outlet box in-ceiling using the screws and washers provided with the outlet box.
Choose a MOUNTING OPTION
NORMAL DOWNROD OPTION
If installing downrod supplied with fan, proceed to page 12, step 9.
EXTENDED DOWNROD OPTION
If installing with a longer downrod than supplied with fan, proceed to page 9, step 6.
DOWNROD PREPARATION

Remove clamp pin (1) and cross pin (2) from downrod (3).
EXTENDED DOWNROD OPTION
Loosen the downrod ball (1) from the downrod (2) by removing the screw (3). Slide downrod ball (1) off of downrod and remove pin (4).

Re-install pin into downrod, and slide downrod ball up to the top of the downrod. Re-install the screw to secure the ball to the downrod. Note: Some extended downloads have a pre-drilled set-screw hole. If a pre-drilled hole is present in the extended downrod, tighten the set screw into the pre-drilled hole in the extended downrod. If no pre-drilled hole exists in the extended downrod, tighten the screw against the downrod to secure the downrod ball. PROCEED TO PAGE 12, STEP 9.

DOWNROD INSTALLATION

Insert motor wires through the selected downrod and insert the downrod into the downrod coupling. Make sure to align the hole in the downrod with the hole in the downrod coupling. Install cross pin (1) removed in step 6 through coupling and downrod. Insert clamp pin (2) into the cross pin until it snaps into place. Tighten set screws (3) in coupling. Slide coupling cover (4) down over the coupling and the canopy up the downrod towards the downrod ball.
MOUNTING

Carefully lift fan assembly onto mounting bracket. Rotate fan until the notch on downrod ball (1) engages the ridge on the mounting bracket (2). This will allow your hands to be free for wiring.

With bracket holding fan assembly, make electrical connections using the following step for wiring instructions.
WIRING INSTRUCTIONS

SECURE TO CEILING
For downrod fans, slide the canopy up to the mounting bracket.
Para ventiladores con varilla vertical, deslice el dosel hacia arriba hasta el soporte de montaje.

The canopy has two mating slots (1) and two mating holes (2). Position both slots on the canopy directly under and in line with two screws in the mounting bracket (3). Lift the canopy, allowing the two screws to slide into the mating slots. Rotate the canopy until both screws from the mounting bracket drop into the slot recesses. Tighten screws securely. Install two screwsinto the mating holes of the canopy and tighten them to secure the canopy to the mounting bracket.
BLADE INSTALLATION

Attach blade brackets to blades using the blade bracket screws (1), fabric washers (2).

Insert the blade assemblies through the slots on the side of the motor housing as shown. Using the access slot in the switch housing plate (shown in the diagram) to attach the blade brackets using the provided blade screws and spring washers. Tighten the screws securely.
SWITCH HOUSING CAP INSTALLATION

Attach the switch housing cap using three small screws provided.

Assemble decorative fob and extension chains from hardware bag to fan pull chains by inserting the end of the chain into chain coupling. Confirm chains are held by lightly pulling both chains in coupling.
OPERATION AND MAINTENANCE

Operation
Turn on the power and check the operation of the fan.
Speed settings for warm or cool weather depend on factors such as room size, ceiling height, number of fans, and so on.
The slide switch controls direction, forward or reverse.
Warm weather/down position – (Forward) Fan turns counterclockwise direction. A downward airflow creates a cooling effect as shown in illustration A.
This allows you to set your air conditioner on a higher temperature setting without affecting your comfort.
Cool-weather/up position – (Reverse) Fan turns clockwise direction. An upward airflow moves warm air off the ceiling area as shown in illustration B.
This allows you to set your heating unit on a lower setting without affecting your comfort.
NOTE: Turn off and wait for the fan to stop before changing the setting of the forward/reverse slide switch.
Maintenance
- Because of the fan’s natural movement, some connections may become loose. Check the support connections, brackets, and blade attachments twice a year. Make sure they are secure.
- Clean your fan periodically to help maintain its new appearance over the years. Do not use water when cleaning.
This could damage the motor, or the wood, or possibly cause electrical shock. - Use only a soft brush or lint-free cloth to avoid scratching the finish. The plating is sealed with a lacquer coating to minimize discoloration or tarnishing.
- There is no need to oil your fan. The motor has permanently lubricated bearings.
TROUBLESHOOTING GUIDE
If you have difficulty operating your new ceiling fan, it may be the result of incorrect assembly, installation, or wiring. In some cases, these installation errors may be mistaken for defects. If you experience any faults, please check this troubleshooting chart. If a problem cannot be remedied, please consult with your qualified electrician and do not attempt any electrical repairs yourself.
| TROUBLE | SUGGESTED REMEDY |
| 1. If the fan does not start: | 1. Check main and branch circuit fuses or circuit breakers. 2. Check wire connections as performed in step #12 or #13 of installation. CAUTION: Make sure the main power is turned off. 3. Make sure the forward/reverse switch is firmly in the up or down position. The fan will not operate when the switch is in the middle. 4. If the fan still will not start, contact a qualified electrician. Do not attempt to troubleshoot internal electrical connections yourself. |
| 2. If fan sounds noisy: | 1. Check to make sure all screws in motor housing are snug (not overtightened). 2. Check to make sure the screws which attach the fan blade holder to the motor are tight. 3. Some fan motors are sensitive to signals from Solid State variable speed controls. DO NOT USE a Solid State variable speed control. 4. Allow a “break-in” period of 24 hours. Most noises associated with a new fan will disappear after this period. |
| 3. If fan wobbles: | All blades are weighed and grouped by weight. Natural woods vary in density which could cause the fan to wobble even though all blades are weight-matched. The following procedures should eliminate most of the wobble. Check for wobble after each step. 1. Check that all blades are screwed firmly into blade holders. 2. Check that all blade holders are tightened securely to the motor. 3. Make sure that canopy and mounting bracket are tightened securely to a ceiling joist. 4. If blade wobble is still noticeable, interchanging two adjacent (side by side) blades can redistribute the weight and possibly result in a smoother operation. |
WARRANTY
This Westinghouse Lighting Fan offers a Limited Lifetime Warranty to the original owner against defects in material and workmanship.
This warranty is in lieu of all other warranties expressed or implied.
Westinghouse Lighting will repair or replace the parts needed, and/or, replace the ceiling fan if the defect is due to faulty materials or workmanship.
Years 1 & 2 – Westinghouse Lighting will repair or replace this ceiling fan.
After Year 2 – Warranty is limited to the motor.
This warranty does not cover acts of nature such as lightning damage, or corrosion and discoloration of components, nor does it cover damages caused through abuse, improper installation, surges in electric current, or acts of third parties. This warranty does not cover broken glass after installation. If this ceiling fan fails during the warranty period, return the defective product to the seller. Warranty terms and conditions of seller apply.
If the replacement product is not available through the seller, please contact www.westinghouselighting.com/contact-us.
PARTS LIST

#
Description
1 ………. Mounting Bracket (assembled with Canopy)
2 ………. Blade Bracket (qty. 3)
3 ………. Blade (Qty 3)
4 ………. Switch Housing Cap
5 ………. Capacitor
6 ………. Hardware pack
7 ………. Down Rod Assembly (includes down rod ball, cross pins, clamp pin)
8 ………. Motor Assembly
Westinghouse Lighting, Philadelphia, PA 19154-1029, U.S.A.
www.westinghouselighting.com and Westinghouse are trademarks of Westinghouse Electric Corporation.
Used under license by Westinghouse Lighting.
All Rights Reserved.
Made in China
















