iLIVING ILG8HVLS108 Industrial BLDC Ceiling Fan
GENERAL SAFETY INSTRUCTIONS
Read instructions carefully before assembling or installing your fan. It is important that you observe all safety information to help prevent personal injury and/or property damage.
- Installation work and electrical wiring should be done by qualified person only in accordance with all applicable codes and standards.
- All wiring and installation procedures must satisfy National Electrical Codes (ANSI/ NFPA 70) and Local Codes.
- Disconnect the fan from the power supply before any servicing.
- Use this fan only in the manner intended by the manufacturer. This fan is intended for permanent installation and to be used for circulation only.
- The secondary support cable included with the fan must be properly connected.
- To reduce the risk of personal injury, do not bend the blade mount when installing the mount onto the motor, installing the blades onto the mount, or cleaning the fan.
- Before servicing or cleaning unit, switch power off at service panel and lock service panel disconnecting means to prevent power from being switched on accidentally. When the service disconnecting means cannot be locked, securely fasten a warning device, such as a tag, to the service panel.
- Be careful of the fan and blades when cleaning, painting, or working near the fan. Always turn off the power to the ceiling fan before servicing.
- Do not insert foreign objects in between rotating fan blades.
- Ceiling fans without guards are to be installed at least 10 feet above the floor with adequate clearance between blades and adjacent walls, furnishings, etc.
- When mounted in cathedral ceiling, blade tips should be at least 1 foot from the angled roof line or air turbulence may cause the fan to sway.
- The supporting beam must be capable of holding at least 90 pounds (or the weight of the fan plus any accessories that might be added).
- Suitable for use with solid-state speed controls.
- For supply connections, if the conductor of a fan is identified as a grounded conductor, then it should be connected to a grounded conductor power supply. If the conductor of a fan is identified as an ungrounded conductor, then it should be connected to an ungrounded conductor power supply. If the conductor of a fan is identified for equipment grounding, then it should be connected to an equipment grounding conductor.
WARNING: TO REDUCE THE RISK OF SHOCK, THIS FAN MUST BE INSTALLED WITH A GENERAL USE ISOLATING WALL CONTROL/SWITCH. - To reduce the risk of fire or electric shock, do not use this fan with other types of solid-state speed control devices.
WARNING: To reduce the risk of personal injury, do not bend the blade bracket (flange or blade holder) when installing the brackets, balancing the blades, or cleaning the fan. Do Not Insert Foreign Objects In Between Rotating Fan Blades.
WARNING: Chemical Burn Hazard. Keep batteries away from children. This product contains a battery. If a new or used battery is swallowed or enters the body, it can cause severe internal burns and can lead to death in as little as 2 hours. Always completely secure the battery compartment. If the battery compartment does not close securely, stop using the product, remove the batteries, and keep it away from children. If you think batteries might have been swallowed or placed inside any part of the body, seek immediate medical attention. Suitable for Commercial or Industrial Use Only.
Specification
| Specification | ||||
| Model# | ILG8HVLS72 | ILG8HVLS88 | ILG8HVLS96 | ILG8HVLS108 |
| Size(inch) | 72″ | 88″ | 96″ | 108″ |
| Voltage(V) | 120 | 120 | 120 | 120 |
| Frequency(Hz) | 60 | 60 | 60 | 60 |
| Wattage(W) | 47.5 | 47.5 | 47.5 | 48 |
| RPM | 146 | 104 | 90 | 78 |
| AMPS | 0.68 | 0.68 | 0.68 | 0.7 |
| Downrod Dimensions(inch) | φ1-1/32×6” | φ1-1/32×6” | φ1-1/32×6” | φ1-1/32×6” |
| Blade Pitch | 4° | 4° | 4° | 4° |
| Speeds | 6 | 6 | 6 | 6 |
| Net Weight(lbs) | 21.5 | 23.5 | 24.5 | 26.4 |
| Certification | UL, cUL | UL, cUL | UL, cUL | UL, cUL |
| Airflow(CFM) | ||||
| ILG8HVLS72 | ILG8HVLS88 | ILG8HVLS96 | ILG8HVLS108 | |
| Speed 6 | 9,900 | 13,600 | 17,000 | 19,000 |
| Speed 5 | 8,100 | 10,700 | 12,600 | 14,500 |
| Speed 4 | 7,100 | 9,300 | 9,900 | 12,800 |
| Speed 3 | 4,700 | 7,500 | 8,100 | 10,100 |
| Speed 2 | 3,800 | 4,800 | 6,100 | 9,100 |
| Speed 1 | 1,200 | 3,300 | 5,000 | 7,800 |
PARTS OF THE CEILING FAN

Dimensions (inch)

| Model# | D | H |
| ILG8HVLS72 | 72 | 16-3/4 |
| ILG8HVLS88 | 88 | 16-3/4 |
| ILG8HVLS96 | 96 | 16-3/4 |
| ILG8HVLS108 | 108 | 14 |
INSTALLATION INSTRUCTIONS
WARNING
- To avoid possible electrical shock, be sure electricity is turned off at the main fuse box before hanging. (Figure 1) NOTE: If you are not sure if the outlet box is grounded, contact a licensed electrician for advice, as it must be grounded for safe operation.
- The fan must be hung with at least 10´ of clearance from floor to blades. (Figure 2)
- The outlet box must be securely anchored and capable of withstanding a load of at least 35 lbs. Hanger bracket must seat firmly against outlet box. If the outlet box is recessed, remove wallboard until bracket contacts box. If bracket and/or outlet box are not securely attached, the fan could wobble or fall. The fan is mounted to an outlet box and that the mounting screws provided with the outlet box shall be used.
WARNING
- To Reduce The Risk Of Fire, Electric Shock, Or Personal Injury, Mount To Outlet Box Marked ” Acceptable for Fan Support of 15.9 kg (35 lbs) or less” And Use Mounting Screws Provided With The Outlet Box.
- To Reduce The Risk Of Electric Shock, This Fan Must Be Installed With An Isolating Wall Control Switch.
- Before installation, check that the outlet box is securely installed in place and it is able to support at least the fan weight. Securely attach the mount bracket to ceiling outlet box acceptable for ceiling fan support.

Attention
Install the ceiling fan in a location such that the spacing from the tip of the blades to the nearest objects or walls is AT LEAST 12” (300mm). If the ceiling is angled, the fan mounting equipment is only designed for a maximum 11-degree incline or decline. - Install the fan blade holder to the motor assembly with (H8) Ф6 lock washers and (H7)1/4-20×3/8”long screws.

- Install the fan assembly to the mount bracket as shown below:

Remove the two set screws from the downrod and retain for reinstallation. Install the(H4) mounting pin by aligning the holes in the downrod support with holes in the downrod. Secure pin with (H6) cotter pin. Install and tighten the two set screws with nuts in the downrod support.
- Install the fan assembly to the mount bracket as shown below.

- Connect wires to supply/grounding wires using connectors as shown below. Attach the safety cable with (H3) 3/16 * 1-1/2 inch wood screw +Ф5.5xФ25xT1.5 lock washer to the ceiling . Conductor of a fan identified as grounded conductor to be connected to a grounded conductor of power supply, conductor of fan identified for equipment grounding to be connected to an equipment-grounding conductor. After making the wire connections, the wire should be spread apart with the grounded conductor (neutral Wire) and the equipment-grounding conductor (Ground Wire) on one side of the outlet box and the ungrounded conductor (Live Wire) on the other side of the outlet box. The splices after being made should be turned upward and pushed carefully up into the oulet box.

Warning- This appliance must be grounded.
- This product must be installed by a certified electrician in accordance with local codes.
- Check to see that all connections are tight, including ground, and that no bare wire is visible at the wire connectors. Do not operate fan until the blades are in place. Noise and motor damage could result.
- Remove the two screws from the mount bracket. Assemble the canopy by tightening the screws. Securely attach and tighten the canopy cover.

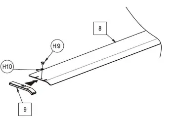
- Install the fan blade cap to the fan blade with (H9) M4x6mm long screw and (H10) Ф4 plain washer. Repeat this step for all 9 fan blades.

- Install the fan blade screw cover to the fan blade with (H12) M5x8mm long screw and (H11) Ф5 lock washer. Repeat this step for all 9 fan blades.

- Assemble the fan blade to the fan blade holder with (H5) M5x10mm long screw and (H11) Ф5 lock washer. Repeat this step for all 9 fan blades.

- Rotate the bottom cover to the fan assembly until tighten.

REMOTE CONTROL & OPERATION

HOW TO INSERT BATTERY
NOTE: Remove the batteries if the remote control is not to be used for a month or more. Batteries left in the unit may leak and cause damage.
REMOTE CONTROL OPERATION INSTRUCTIONS
- After the ceiling fan has been installed according to the assembly procedure and connected according to power supply specifications, perform the remote control and ceiling fan pairing procedure (refer to the remote control pairing method below).
- After the pairing has been completed, you can use the remote control to turn on/off the ceiling fan, and select speed.
OPERATING INSTRUCTIONS
Remote control pairing procedure:
- Pairing instructions
- Apply power to the fan, within 30 seconds after applying power press the (Power On/Off) button on the remote until response by a “Beep” Sound. Which means pairing is successful and remote will be able to control the fan.
Note: Pairing mode will not work after 30 seconds of applying supply power for . During the pairing process, pressing any buttons will have no effect. Normal operation resumes after the pairing process has been complete. - When the remote cannot control the fan, please check the battery switch touching normally or not, correction of the positive and negative, full or empty of the power.
- When the remote cannot control the fan, please check is there any existence of similar remote-controlled products nearby, then check whether they works, because remote-controlled product with the same frequency will disturb each other.
- Low voltage of battery will affect the sensitivity of the emitter and the signal reception accordingly (the indicated light will flash out its warning when the battery get low voltage), must replace if the battery is getting low voltage.
- Apply power to the fan, within 30 seconds after applying power press the (Power On/Off) button on the remote until response by a “Beep” Sound. Which means pairing is successful and remote will be able to control the fan.
- After successful pairing
The fan will operate normally and can be controlled with the remote control. For any setting on the remote, the fan will response by a “Beep” Sound. Remote controller can pair with multiple Fans as many as you wanted. But the Fans can memorize the last two remote controller paired with them only. - Memory function
This fan has a speed memory function in case of power outages. If the fan operates at maximum speed when it shuts off in a power outage, it will resume its operation at the maximum speed when the power comes back on. The memory function registers the last operating speed. - In case of blade replacement
Repeat steps from section 1 above (pairing procedure) after replacing the fan blades. - Direction control
Press the Direction Control can change the fan blade rotate direction. When the fan blade rotates clockwise (Summer Mode) and the air will blow down. A downward air flow creates a cooling effect.This allows you to set your air conditioner on a higher temperature setting without affecting your comfort. When the fan blade rotates counterclockwise (Winter Mode) and the air will blow up. An upward airflow moves warm air off the ceiling area. This allows you to set your heating unit on a lower setting without affecting your comfort. - Setting the Timer
Press the button to set the timer. When the time runs out, the heater will turn off automatically.
MAINTAINANCE
- Because of the fan’s natural movement, some connections and screws may become loose. Check the support connections, brackets, and blade attachments at least twice a year to make sure they are secure.
- Clean the fan periodically to help maintain the appearance. Do not use water when cleaning. This could damage the motor, or possibly cause electric shock.
- Use only a soft brush or lint-free cloth to avoid scratching the finish.
- There is no need to oil your fan. The motor has permanently lubricated bearings.
TROUBLESHOOTING
If you have difficulty operating your new ceiling fan, it may be the result of incorrect assembly, installation, or wiring. In some cases, these installation errors may be mistaken for defects. If you experience any problems, please check the following troubleshooting guide. If a solution to the problem cannot be found, please consult with a licensed electrician. Do not attempt any electrical repairs by yourself. For your own safety, turn off power at fuse box or circuit breaker before troubleshooting your fan.
| Trouble | Suggested Remedy |
|
Fan does not start | 1. Check main and branch circuit fuses or circuit breakers. 2. Check wire connections as performed in step #2 of installation. Caution: Make sure main power is turned off! 3. If the fan still will not start, contact a licensed electrician. Do not attempt to troubleshoot internal electrical connections by yourself. |
|
Fan sounds noisy | 1. Check to make sure all screws in the motor housing are snug (not over-tightened). 2. Check to make sure the screws which attach the fan blade mount to the motor are tight. 3. Some fan motors are sensitive to signals from Solid State Variable Speed Controls. 4. Allow a “break-in” period of 24 hours. Most noise associated with a new fan will disappear after this period. |
|
Fan wobbles | The following procedures should eliminate most of the wobble. Check for wobble after each step. 1. Check that all blades are screwed firmly into the blade mounts. 2. Check that the blades are screwed firmly into the blade mounts. 3. Check that all set screws attaching the motor to the downrod are tight. 4. Make sure that the mounting bracket is tightened securely to the ceiling. 5. If blade wobble is still noticeable, interchanging two adjacent (side by side) blades can redistribute the weight and possibly result in smoother operation. |
Warranty Information
This product comes with a 1-YEAR LIMITED COMPONENT WARRANTY. If your unit does not appear to be working properly, please contact our service center by calling 1-800-317-1688. Prior to your call, we encourage you to visit our service-related website www.ilivingusa.com for troubleshooting tips and service instructions if needed.































