Westinghouse Alloy Ceiling Fan

Please write model number here for future reference:
SAFETY TIPS
READ AND SAVE THESE INSTRUCTIONS
WARNING: TO REDUCE THE RISK OF FIRE, ELECTRIC SHOCK, OR INJURY TO PERSONS, OBSERVE THE FOLLOWING:
- Proceed with caution. Read all instructions before beginning the installation.
- WARNING! This fan may be operated only with a 2-pole switch with a 3mm contact opening each.
- Only an authorized electrician should execute the installation.
- The installation height, i.e. the distance between the blades and the floor, should be at least 2.3 m.
- Always maintain the distance between the lamp and inflammable materials (curtains, wall, etc.), as indicated on the pictogram.
- Make sure the fan is securely fastened at the ceiling.
- WARNING! Do not use a dimmer type switch to control the fan speed.
- WARNING! To prevent injuries, make sure the blades are not bent and that there are no objects with in the area of rotation.
- WARNING! Due to European safety regulations, if the flush mount option is elected, the fan must not be re-installed utilizing the downrod. If attempted, this may
cause a serious injury. When assembling the fan, please follow your local safety regulations. - WARNING: Do Not use this fan in the same room at the same time as a gas or fuel burning fire, unless the flue has been tested under these conditions of use by a competent person.
- This appliance can be used by children aged from 8 years and above and persons with reduced physical, sensory or mental capabilities or lack of experience and
knowledge if they have been given supervision or instruction concerning use of the appliance in a safe way and understand the hazards involved. Children shall not
play with the appliance. Cleaning and user maintenance shall not be made by children without supervision. - Suitable for use indoors.
- Before disassembling light kit, make sure the power supply is disconnected from the main supply. Power supply can be on only after installation is completed.
- The lampshade should not be removed from the light bulb when the power supply is on.
- Replacement of light bulb is only possible when the light kit has cooled down, and the power supply is disconnected from the main supply.
- Make sure the lampshade is in the fixed position when operating the product.
- Means for all poles disconnection having a contact separation that provide full disconnection under over voltage category III conditions must be incorporated in the
fixed wiring in accordance with national wiring rules. - IP20 The fan is designed for indoor use. It is not designed for installation in a bathroom or any damp area. Please ensure that the lamp does not come into contact
with water.
FEATURES

COMBO-BLADE
Combo-Blades feature two high quality finishes on one blade. Select the one that best complements your decor, or change the style with just a flip of the blade.
PREPARING FOR INSTALLATION


MOUNTING BRACKET INSTALLATION
- Unpack and inspect fan carefully to be certain all contents are included. Turn off power at fuse box to avoid possible electrical shock.
- Remove the screws from the two mating holes (1) on the canopy. Loosen (do not remove) the screws in the mating slots (2) on the canopy. Rotate the mounting bracket and remove from the canopy.
Note: This step is for Solid Wood construction ceiling installation, for concrete ceiling installation, skip to step 4.
Note: Proper care must be taken when mounting to concrete ceilings and add the expansion anchors installation step for mounting bracket.
- Drill two mounting holes in the ceiling joist and securely screw the mounting bracket to the ceiling using the washers and wood screws provided. The mounting plate should be able to hold a weight of at least 15.9kgs (35 lbs).
NOTE – Proper care must be taken when mounting to concrete ceilings. For safe mounting, these ceilings may require stronger screws and plastic plugs or anchors than supplied with the product. - Drill one hole on each side of the supply mains for the expansion anchors. Measure this distance using the oval slots in the mounting bracket (1) as a guide.

- Drive the expansion anchors (1) into the holes. (Note: do not detach hex nut (2), spring washer (3) and metal washer (4) for this step).

- Tighten hex nut until feel the metal expansion anchor is not working loose.

- Remove the hex nut, spring washer, metal washer, keep them for next step usage.
- Pull the supply mains (1) through the center of the ceiling, and align the two oval holes in the mounting bracket with the expansion anchors (1), re-install metal washer, spring washer and hex nut, tighten the hex nut until the mounting bracket is fix stably.

- Repeat for another one of the expansion anchors.
DOWNROD MOUNT
- Remove clamp pin (2) and cross pin (1) from downrod. Loosen setscrew in downrod ball (3) until ball moves easily up and down the downrod. Do not remove ground wire (4) from downrod. Slide downrod ball down, exposing cross pin (5). Do not remove ball completely. Remove cross pin and save for later use.
Wiring
DOWNROD MOUNT
- Insert the downrod through the canopy and coupling cover. Carefully thread lead wires and plug though the downrod and ball assembly.

- Re-install cross pin into downrod and slide downrod ball up until cross pin fits firmly into ball. Tighten set screw in ball.

- Loose (but do not remove) the set screws from the down rod coupling. Insert downrod (1) into downrod coupling (2). Make sure to align hole in downrod with the hole in downrod coupling. Install cross pin (3) through coupling and downrod. Insert clamp pin (4) into cross pin until it snaps into place. Tighten set screws (5) in coupling. Slide coupling cover (6) over the downrod coupling.

- Attach blade brackets to blades using the blade bracket screws (1), fabric washers (2), and decorative nuts (3).

- Attach blade assembly to motor using the screws and washers provided.

- Carefully lift fan assembly onto mounting bracket. Rotate fan until notch on downrod ball (1) engages the ridge (2) on the mounting bracket. This will allow for hands free wiring.

- After hanging fan onto the mounting bracket, make sure plug connectors from the ceiling fan and terminal block (1) are moved away from the space located above the downrod ball (2). Slide the remote receiver into the space above the downrod ball as shown.

- While fan is hanging on bracket, plug 4-pole connector from the mounting bracket into the 4-pole plug connector from the remote receiver (1). Plug the 4-pole plug connector from the remote receiver into the 4-pole plug connector from the fan (2). Attach the ground wire (3) from the downrod to the mounting bracket.

REMOTE SENSOR
- Be sure to place the sensor from the remote into the sensor hole on the inside of the canopy.
- Unscrew the red cap and remove it from the remote sensor.
- Place the remote sensor into the hole on the inside of the canopy
- Replace the red cap onto the remote sensor on the outside of the canopy, and finger-tighten it clockwise to secure it to the sensor.
SECURE TO CEILING
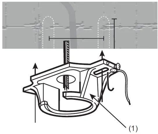
The canopy has two mating slots (1) and two mating holes (2). Position both slots on canopy directly under and in line with two screws in the mounting bracket (3). Lift the canopy, allowing the two screws to slide into the mating slots. Rotate the canopy until both screws from the mounting bracket drop into the slot recesses. Tighten screws securely. Install two screws into the mating holes of the canopy and tighten to secure the canopy to the mounting bracket.
LIGHT FIXTURE INSTALLATION
- Locate the indentations on the neck of the glass (2) and align with the protrusions from the light kit (1). Lift the glass up allowing the protrusions to engage the indentations on the glass, and twist the glass clockwise to lock into place.

REMOTE CONTROL

Remote Control Operation
- Turning fan On/Off – press and release. The remote control operates the fan speed as follows: 3 – high; 2 – medium; 1 – low; 0 – off.
- Light On – Press and release.
- Light Off – Press and release.
Note: Quickly turn Light ON/OFF, it will change Color Temperature.
BRACKET OF TRANSMITTER INSTALLATION

Note: Install two AA batteries by removing battery cover on back of transmitter, installing batteries, and replacing battery cover. If desired, install the transmitter holder onto the wall with included screws.
OPERATION & MAINTENANCE
Operation
Speed settings for warm or cool weather depend on factors such as room size, ceiling height, number of fans and so on. The slide switch controls direction, forward or reverse. Warm weather/down position – (Forward) Fan turns counterclockwise direction. A downward air flow creates a cooling effect as shown in illustration A. This allows you to set your air conditioner on a higher temperature setting without affecting your comfort. Cool weather/up position – (Reverse) Fan turns clockwise direction. An upward airflow moves warm air off the ceiling area as shown in illustration B. This allows you to set your heating unit on a lower setting without affecting your comfort.
NOTE: Turn off and wait for fan to stop before changing the setting of the forward/reverse slide switch.
Maintenance
- Because of the fan’s natural movement, some connections may become loose. Check the support connections, brackets, and blade
attachments twice a year. Make sure they are secure. - Clean your fan periodically to help maintain its new appearance over the years. Do not use water when cleaning. This could damage
the motor, or the wood, or possibly cause electrical shock. - Use only a soft brush or lint-free cloth to avoid scratching the finish. The plating is sealed with a lacquer coating to minimize
discoloration or tarnishing. - There is no need to oil your fan. The motor has permanently lubricated bearings.
If you have difficulty operating your new ceiling fan, it may be the result of incorrect assembly, installation, or wiring. In some cases, these installation errors may be mistaken for defects. If you experience any faults, please check this Trouble Shooting Chart. If a problem cannot be remedied, please consult with your authorized electrician and do not attempt any electrical repairs yourself.
TROUBLESHOOTING GUIDE
SUGGESTED REMEDY
- Check main and branch circuit fuses or circuit breakers.
- Check terminal block connections as performed in step #10 of installation.
CAUTION: Make sure main power is turned off. - Make sure forward/reverse switch is firmly in up or down position. Fan will not operate when switch is in the middle.
- If the fan still will not start, contact a qualified electrician. Do not attempt to troubleshoot internal electrical connections yourself.
- Check to make sure all screws in motor housing are snug (not over tightened).
- Check to make sure the screws which attach the fan blade holder to the motor are tight.
- Some fan motors are sensitive to signals from Solid State variable speed controls. DO NOT USE a Solid State variable speed control.
- Allow “break-in” period of 24 hours. Most noises associated with a new fan will disappear after this period. All blades are weighed and grouped by weight. Natural woods vary in density which could cause the fan to wobble even though all blades are weight-matched. The following procedures should eliminate most of the wobble. Check for wobble after each step.
- Check that all blade holders are tightened securely to motor.
Make sure that canopy and mounting bracket are tightened securely to ceiling joist. - If blade wobble is still noticeable, interchanging two adjacent (side by side) blades can redistribute the weight and possibly result in smoother operation.
- Check to see that molex connector in the switch housing is connected
- Check for faulty light bulbs.
- If light kit will still not operate, contact a qualified electrician for assistance.
Meaning of crossed-out wheeled dustbin:
Do not dispose of electrical appliances as unsorted municipal waste, use separate collection facilities. Contact you local government for information regarding the collection systems available. If electrical appliances are disposed of in landfills or dumps, hazardous substances can leak into the groundwater and get into the food chain, damaging your health and well-being. When replacing old appliances with new ones, the retailer is legally obligated to take back your old appliance for disposal at least free of charge.
Westinghouse Lighting, Philadelphia, PA 19154-1029, U.S.A. www.westinghouselighting.com and Westinghouse are trademarks of Westinghouse Electric Corporation. Used under license by Westinghouse Lighting. All Rights Reserved. Made in China







DOWNROD MOUNT



























