Westinghouse Magnolia Ceiling Fan
SAFETY TIPS
READ AND SAVE THESE INSTRUCTIONS
WARNING: TO REDUCE THE RISK OF FIRE, ELECTRIC SHOCK, OR INJURY TO PERSONS, OBSERVE THE FOLLOWING:
- Proceed with caution. Read all instructions before beginning the installation.
- WARNING! This fan may be operated only with a 2-pole switch with a 3mm contact opening each.
- Only an authorized electrician should execute the installation.
- The installation height, i.e. the distance between the blades and the floor, should be at least 2.3 m.
Always maintain the distance between the lamp and inflammable materials (curtains, wall, etc.), as indicated on the pictogram.- Make sure the fan is securely fastened at the ceiling.
- WARNING! Do not use a dimmer type switch to control the fan speed.
- WARNING! To prevent injuries, make sure the blades are not bent and that there are no objects with in the area of rotation.
- WARNING! Due to European safety regulations, if the flush mount option is elected, the fan must not be re-installed utilizing the downrod. If attempted, this may cause a serious injury. When assembling the fan, please follow your local safety regulations.
- WARNING: Do Not use this fan in the same room at the same time as a gas or fuel burning fire, unless the flue has been tested under these conditions of use by a competent person.
- This appliance can be used by children aged from 8 years and above and persons with reduced physical, sensory or mental capabilities or lack of experience and knowledge if they have been given supervision or instruction concerning use of the appliance in a safe way and understand the hazards involved. Children shall not play with the appliance. Cleaning and user maintenance shall not be made by children without supervision.
- Suitable for use indoors.
- Before disassembling light kit, make sure the power supply is disconnected from the main supply. Power supply can be on only after installation is completed.
- The lampshade should not be removed from the light bulb when the power supply is on.
- Replacement of light bulb is only possible when the light kit has cooled down, and the power supply is disconnected from the main supply.
- Make sure the lampshade is in the fixed position when operating the product.
- Means for all poles disconnection having a contact separation that provide full disconnection under over voltage category III conditions must be incorporated in the fixed wiring in accordance with national wiring rules.
- IP20 The fan is designed for indoor use. It is not designed for installation in a bathroom or any damp area. Please ensure that the lamp does not come into contact with water.
FEATURES
- DOWNLOAD INSTALLATION – For normal ceilings
PREPARING FOR INSTALLATION
- Unpack and inspect fan carefully to be certain all contents are included. Turn off power at fuse box to avoid possible electrical shock.
MOUNTING BRACKET INSTALLATION
- Loosen but don’t remove the screws at the bottom of the canopy; remove the mounting bracket from the canopy (if applicable).
- Note: This step is for Solid Wood construction ceiling installation, for concrete ceiling installation skip to step 4.

- Drill two mounting holes in the ceiling joist and securely screw the mounting bracket to the ceiling using the washers and wood screws provided. The mounting plate should be able to hold a weight of at least 15.9kgs (35 lbs).
- NOTE – Proper care must be taken when mounting concrete ceilings. For safe mounting, these ceilings may require stronger screws and plastic plugs or anchors than those supplied with the product.
- Note: Proper care must be taken when mounting to concrete ceilings and adding the expansion anchors installation step for the mounting brackets.

- Drive the expansion anchors (1) into the holes. (Note: do not detach hex nut (2), spring washer (3) and metal washer (4) for this step).

- Tighten hex nut until feel the metal expansion anchor is not working loose.

- Remove the hex nut, spring washer, metal washer, keep them for next step usage.

- Pull the supply mains (1) through the center of the ceiling, and align the two oval holes in the mounting bracket with the expansion anchors (1), re-install metal washer, spring washer and hex nut, tighten the hex nut until the mounting bracket is fix stably.

- Repeat for another one of the expansion anchors.

WIRING OPTIONS
Follow diagram above to make wiring connections to the termi-nal block on the mounting bracket.
BLADES INSTALLATION
Attach blade assembly to DC motor using the motor screws provided, tighten screws securely.
NOTE: the noise-dampening motor gaskets has been pre-installed on the DC motor.
DOWNLOAD MOUNT
Remove clamp pin (2) and cross pin (1) from down rod. Loosen set screw in down rod ball (3) until ball moves easily up and down the down rod. Slide down rod ball off the down rod, expos-ing cross pin (4). Remove cross pin and save for later use. 
Carefully thread lead wires and plug through the down rod assembly. Loosen set screws in down rod coupling (1). Insert down rod into down rod coupling. Make sure to align hole in down rod with the hole in coupling. Install yoke cross pin (2) through yoke and down rod. Insert clamp pin (3) into cross pin until it snaps into place. Tighten set screws (4) in coupling.
Note: Avoid for damage the wire and plug, and smooth assemble the lead wire, separately push the connector with light wire, motor wire and ground wire through the down rod for assembling.
Orderly attach the upper motor housing (1), canopy cover ring (2), canopy (3) and hang ball (4) cover to the down rod for assembling. Re-install cross pin into downrod and slide downrod ball up until cross pin fits firmly into ball. Tighten set screw in ball.
MOUNTING BRACKET INSTALLATION
Carefully lift fan assembly onto mounting bracket. Rotate fan until notch on downrod ball (1) engages the ridge (2) on the mounting bracket. This will allow for hands free wiring.
After hanging fan onto the mounting bracket, make sure plug connectors from the ceiling fan and terminal block (1) are moved away from the space located above the downrod ball (2). Slide the remote receiver into the space above the downrod ball as shown.
While fan is hanging on bracket, plug 3-pole & 2-pole male connector from the fan into the 3-pole & 2-pole female connector from the remote receiver (1). Plug the 3-pole female connector from the terminal block into the 3-pole male connector from the receiver (2). Attach the ground wire single pin (3) together from the down rod ball to the mounting bracket.
SECURE TO CEILING
Loosen the 2 screws on the bottom of mounting bracket. (Do not remove) Raise the canopy up and align the keyholes on the bottom of the canopy with the 2 screws on the bottom of mounting bracket. Rotate the canopy to engage the keyholes with the protruding screws. Tighten the screws to secure the canopy.
The inside canopy cover ring (1) has two keyhole slots that allow it to be mounted onto the screw heads on the two protruding screws from the mounting bracket. Slide the canopy cover ring up the downrod, and allow the two protruding screw heads to go into the keyhole slots. Once engaged, twist the canopy cover ring to lock it onto the screw heads.
LIGHT FIXTURE INSTALLATION
- Remove the 3 screws on the metal decorative shade (1). Find the wire plugs from the light kit and from the motor and slide them together.

- The light kit (1) has 3 closed holes, align the holes on the light kit to the screw holes from the metal decorative shade. Raise the light kit to the metal decorative shade and tighten three screws removed on last step to secure the light kit.

- Locate the indentations on the neck of the glass (2) and align with the protrusions from the light kit (1). Lift the glass up allowing the protrusions to engage the indenta-tions on the glass, and twist the glass clockwise to lock into place.

REMOTE CONTROL 
- Mount the transmitter holder onto the wall using screws provided. Place the transmitter into the holder.
HOW TO OPERATE YOUR CEILING FAN
Restore electrical power to the outlet box by turning the electricity on at the main fuse box. To make the fan operational, install 2 AAA 1.5V battery by removing battery cover on back of transmitter, installing battery, and replacing battery cover.
- Adopt RF wireless digit emission technique, biunique controlled, coincident code rate is less than one millionth.
- Receiver can be controlled by any angles of the transmitter in prescriptive space, unrestricted by direction with the memory function, the controller can save the status (light and direction) while the supply power OFF and resume to the original after re-load the power supply.
- The transmitter and receiver are matched at the factory. Please follow the point 5 for re-match when the match is failed.
- Matching process can be done by fan without the blades, the same transmitter can control another identical model ceiling fan.
- Learning code matching mode is used between transmitter and receiver. Turn‘ON’ the supply power within 30 seconds and press the transmitter’s fan switch button ‘ ‘ for 5 seconds, it can load normally after hearing a long sound ‘bee’, which means learning successfully and it can works normally.
- Learning mode is not accepted after turn ‘ON’ the supply power for 30 seconds.
- When the transmitter can’t control the receiver, please check the battery switch touching normally or not, correction of the positive and negative, full or empty of the power.
- When the transmitter can’t control the receiver, please check if any similar remote control is controlling the products nearly, then check whether they are working, because remote controlled product with the same frequency will disturb each other.
- Low voltage of battery will affect the sensitivity of the transmitter and the signal reception accordingly, (the indicated light will flash out its warning when the battery with the low voltage), must replace if the battery is getting low voltage.
- Please take out the battery from the transmitter when leaving unused for long time.
- The maximum load of lighting will be 140W. Please connect the ground wire correctly, otherwise, it may cause the light micro-light or flash.
- When installing the fan, the fan ceiling cover don’t press the antenna (or other wire), it is easy to breakdown the wire and short-circuited.
Remote Control Operation
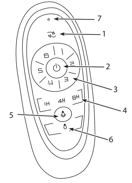
- Reversible switch- press and release the button controls direction, forward or reverse.
- Fan switch– press and release the button, the remote turns fan off.
- Speed switch-press and release the button. The remote operates the fan speed as follows: 1-lowest fan speed,2-Med low fan speed, 3-Low fan speed; 4-Med fan speed;
5-Med high fan speed; 6-Highest fan speed. - Timing control of the fan.
- Light switch-Short press and release the button, the remote turns light ON.
- Light switch-Short press and release the button, the remote turns light OFF.
Note: Quickly turn Light ON/OFF, it will change Color Temperature. - LED indicated light. Pressed the button, the LED lighting.
OPERATION & MAINTENANCE
Operation
Speed settings for warm or cool weather depend on factors such as room size, ceiling height, number of fans and so on. The slide switch controls direction, forward or reverse. Warm weather/down position – (Forward) Fan turns counterclockwise direction. A downward air flow creates a cooling effect as shown in illustration A. This allows you to set your air conditioner on a higher temperature setting without affecting your comfort. Cool weather/up position – (Reverse) Fan turns clockwise direction. An upward airflow moves warm air off the ceiling area as shown in illustration B. This allows you to set your heating unit on a lower setting without affecting your comfort.
NOTE: Turn off and wait for fan to stop before changing the setting of the forward/reverse slide switch.
Maintenance
- Because of the fan’s natural movement, some connections may become loose. Check the support connections, brackets, and blade attachments twice a year. Make sure they are secure.
- Clean your fan periodically to help maintain its new appearance over the years. Do not use water when cleaning. This could damage the motor, or the wood, or possibly cause electrical shock.
- Use only a soft brush or lint-free cloth to avoid scratching the finish. The plating is sealed with a lacquer coating to minimize discoloration or tarnishing.
- There is no need to oil your fan. The motor has permanently lubricated bearings.
TROUBLESHOOTING GUIDE
If you have difficulty operating your new ceiling fan, it may be the result of incorrect assembly, installation, or wiring. In some cases, these installation errors may be mistaken for defects. If you experience any faults, please check this Trouble Shooting Chart. If a problem cannot be remedied, please consult with your authorized electrician and do not attempt any electrical repairs yourself.
TROUBLE/SUGGESTED REMEDY
- If fan does not start:
- Check main and branch circuit fuses or circuit breakers.
- Check terminal block connections as performed in step #10 of installation.
CAUTION: Make sure main power is turned off. - Make sure forward/reverse switch is firmly in up or down position. Fan will not operate when switch is in the middle.
- If the fan still will not start, contact a qualified electrician. Do not attempt to troubleshoot internal electrical connections yourself.
- If fan sounds noisy
- Check to make sure all screws in motor housing are snug (not over tightened).
- Check to make sure the screws which attach the fan blade holder to the motor are tight.
- Some fan motors are sensitive to signals from Solid State variable speed controls. DO NOT USE a Solid State variable speed control.
- Allow “break-in” period of 24 hours. Most noises associated with a new fan will disappear after this period.
- If fan wobbles:
- All blades are weighed and grouped by weight. Natural woods vary in density which could cause the fan to wobble even though all blades are weight-matched. The following procedures should eliminate most of the wobble. Check for wobble after each step.
- Check that all blade holders are tightened securely to motor.
- Make sure that canopy and mounting bracket are tightened securely to ceiling joist.
- If blade wobble is still noticeable, interchanging two adjacent (side by side) blades can redistribute the weight and possibly result in smoother operation.
- If light does not work:
- Check to see that molex connector in the switch housing is connected
- Check for faulty light bulbs.
- If light kit will still not operate, contact a qualified electrician for assistance.
Meaning of crossed-out wheeled dustbin:
- Do not dispose of electrical appliances as unsorted municipal waste, use separate collection facilities.
- Contact you local government for information regarding the collection systems available.
- If electrical appliances are disposed of in landfills or dumps, hazardous substances can leak into the groundwater and get into the food chain, damaging your health and well-being.
- When replacing old appliances with new ones, the retailer is legally obligated to take back your old appliance for disposal at least free of charge.
- Westinghouse Lighting, Philadelphia, PA 19154-1029, U.S.A.
- www.westinghouselighting.com
- WESTINGHOUSE, and INNOVATION YOU CAN BE SURE OF are trademarks of Westinghouse Electric Corporation.
- Used under license by Westinghouse Lighting
- All rights reserved.
- Made in China









































