GM-434
BLUETOOTH
SONAR-XT
GAMING SPEAKERS WITH LED LIGHTS

Instruction Manual
Please read all instructions carefully and retain for future use
Getting started
- Remove the product from the box
- Please retain all packaging until after you’ve checked and counted all the parts and the contents against the Package Contents list.
Package Contents
- Set of 2 Gaming Speakers
- USB Power Cable (pre-attached to the speakers)
- 3.5mm Aux Cable (pre-attached to the speakers)
- Instruction Manual
Key Features
- Gaming just got louder
- Listen to your games come to life when you plug in these full-stereo sound gaming speakers
- Each speaker delivers up to 5 watts, total 10 watts of sound
- RGB lights
- Dual mode: Bluetooth and Aux connection – 3.5mm Jack
- Powered by USB
Safety Instructions
Keep the unit away from heat sources, direct sunlight, humidity, water and other liquids.
Do not operate the unit if it has been exposed to water, moisture or any other liquids to prevent against electric shock, explosion and or injury to yourself and damage to the unit.
Do not use the unit if it has been dropped or damaged in any way.
Repairs to electrical equipment should only be performed by a qualified electrician. Improper repairs may place the user at serious risk.
Do not use the unit with wet hands.
Do not put objects into any of the openings.
Keep the unit free from dust, lint etc.
Do not use the unit for anything other than its intended use.
Keep the unit out of reach of children.
This product is not a toy.
Do not use the handset at excessive volume levels, as damage to hearing may occur.
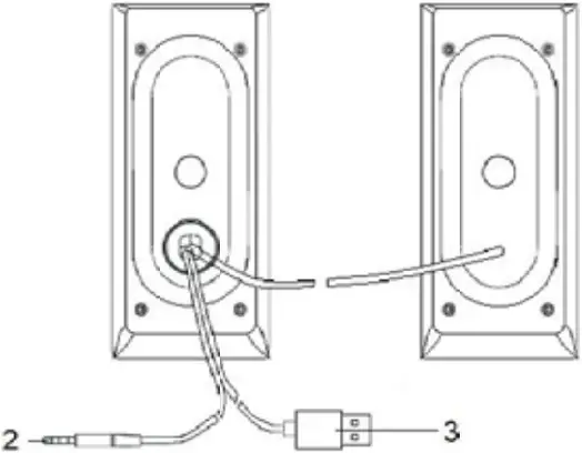
Description of parts:


| 1 | ON/OFF Switch |
| 2 | Auxiliary Jack |
| 3 | USB Power Cable (pre-attached to speakers) |
| 4 | RGB Lights |
Instructions for use
Connect the USB power cable to a suitable USB power outlet rated DC 5V 1A.
Turn the ON/OFF switch clockwise/counter-clockwise to turn on/off the speakers.
Connect using Bluetooth Technology
- Turn the ON/OFF switch clockwise to turn on the speakers and their multi-colored LED lights, you are now in Bluetooth Pairing Mode.
- Activate the Bluetooth function on your source device (Mobile Phone, Tablet etc). Please refer to manufacturer’s instructions for instructions on enabling Bluetooth on your device.
- Find and select “SL SONAR-XT” in available list of Bluetooth devices nearby.
- You might be prompted with “Pair with SL SONAR-XT?” message on your source device, with “Cancel” and “OK” options. Please click “OK”.
- If required, enter the password “0000” to pair with the device.
- Once paired successfully, you will hear an indication tone confirming your mobile device and Gaming speakers have paired successfully.
- You can now stream wireless music on your speaker through your source device.
Listening to Music Wirelessly
Please ensure that your device (iPhone, Tablet or Other Smart Phone) is paired with the Bluetooth Speaker to stream music wirelessly. Once it is paired, play music from your device.
| Function | Operation | Button |
| Increase Volume | Playing music | Turn the ON/OFF switch clockwise to increase the volume |
| Decrease Volume | Playing music | Turn the ON/OFF switch counter-clockwise to decrease the volume |
Play music through “Auxiliary” mode
- Turn ON the speaker.
- Without Bluetooth connecting to any device, insert the Auxiliary jack into the audio device (such as phone / MP3 Player / computer / tablet /…..etc.).
- Select your favourite song at the source device to play.
- Turn ON/OFF switch clockwise/counter-clockwise to increase/decrease the volume.
Note: Media such as play/pause and next/previous track can be controlled only through the source devices, while playing music in Auxiliary mode.
Specifications —
Bluetooth® Version: 5.0
Wireless Streaming Distance: 26-33 Feet
Input: DC 5V
Speaker Output: 2x5W
Size: 3.1″ L x 4.5″ D x 6.8″ H per speaker
Unit Weight: 25.5 oz/set of speakers
FCC Instructions
Caution: Changes or modifications not expressly approved by the party responsible for compliance could void the user’s authority to operate the product.
NOTE: This product has been tested and found to comply with the limits for a Class B digital device, pursuant to Part 15 of the FCC Rules. These limits are designed to provide reasonable protection against harmful interference in a residential installation. This product generates, uses and can radiate radio frequency energy and, if not installed and used in accordance with the instructions, may cause harmful interference to radio communications. However, there is no guarantee that interference will not occur in a particular installation. If the product does cause harmful interference to radio or television reception, which can be determined by turning the equipment off and on, the user is encouraged to try to correct the interference by one or more of the following measures :
– Reorient or relocate the receiving antenna.
– Increase the separation between the product and receiver.
– Connect the product into an outlet on a circuit different from that to which the receiver is connected.
– Consult the dealer or an experienced radio/TV technician for help.
This device complies with part 15 of the FCC Rules. Operation is subject to the following two conditions: (1) This device may not cause harmful interference, and (2) this device must accept any interference received, including interference that may cause undesired operation.
LIMITED WARRANTY
This manufacturer’s product warranty extends to the original consumer purchaser of the product. Neither the retailer nor any other company involved in the sale or promotion of this product is a co-warrantor of this manufacturer warranty.
WARRANTY DURATION: All materials and workmanship are warranted to the original consumer purchaser for a period of ninety (90) days from the original purchase date.
WARRANTY COVERAGE: This product is warranted against defective materials or workmanship. This warranty is void if the product has been damaged by accident, in shipment, unreasonable use, misuse, neglect, improper service, commercial use, repairs by unauthorized personnel or other causes not arising out of defects in materials or workmanship. This warranty doesn’t cover the following which may be supplied with this product, including but not limited to; LCD Screens, glass parts, lenses, bulbs etc. This warranty is effective only if the product is purchased and operated in USA and Canada, and does not extend to any units which have been used in violation of written instructions furnished by manufacturer or to units which have been altered or modified or, to damaged products or parts thereof which have had the serial number removed, altered, defaced or rendered illegible.
WARRANTY DISCLAIMERS: This warranty is in lieu of all warranties expressed or implied and no representative or person is authorized to assume for manufacturer any other liability in connection with the sale of our products. There shall be no claims for defects or failure under any theory of tort, contractor commercial law including but not limited to, negligence, gross negligence, strict liability, breach of warranty and breach of contract. Under no circumstances will Manufacturer’s / Distributor’s maximum liability exceed the retail value of the product.
WARRANTY PERFORMANCE: During the above 90 day warranty period, a product with a defect will be either repaired or replaced with a reconditioned comparable model (at manufacturer’s option). The repaired or replacement product will be in warranty for the balance of the 90 day warranty period and an additional one-month period. No charge will be applicable for such repair or replacement.
SERVICE AND REPAIR: If service is required for this product, you should first contact Midwest Trading Group Customer Service at [email protected] or by calling 1 (866) 815-4714, Monday to Friday 10am to 6pm EST.
NOTE: Manufacturer cannot assume responsibility for loss or damage during incoming shipment. As a precautionary measure, carefully package the product for shipment, and insure it with the carrier. Be sure to enclose the following details with the product: your full name, return address and daytime phone number, a note describing the problem you experienced, a copy of your sales receipt or other proof of purchase to determine warranty status. C.O.D. shipments cannot be accepted.

















