Hiland GS-F-PC Outdoor Gas Firepit

Precaution!
The Powder Coating paint process has become the most common widely used application in the outdoor furniture category. Unfortunately powder coating is extremely sensitive to Humidity and Moisture. A simple process to protect your furniture, especially flat surfaces is to apply a simple coat of good quality car wax prior to using. If this process is done every few months it will protect your furniture for years to come.
DANGER
If you smell gas:
- Shut off gas to the appliance.
- Extinguish any open flame.
- If odor continues, keep away from the appliance and immediately call you gas supplier or fire department.
WARNING
Do not store or use gasoline or other flammable vapors and liquids in the vicinity of this or any other appliance. An LP-cylinder not connected for use shall not be stored in the vicinity of this or any other appliance.
WARNING: For Outdoor Use Only
DANGER CARBON MONOXIDE HAZARD
This appliance can produce carbon monoxide which has no odor. Using it in an enclosed space can kill you. Never use this appliance in an enclosed space such as a camper, tent, car or home.
WARNING
Improper installation, adjustment, alteration, service or maintenance can cause injury or property damage. Read the installation, operating, and maintenance instructions thoroughly before installing or servicing this equipment.
HOW TO REMOVE OXIDATION
Rub the surface with automotive rubbing or polishing compound to abrade away oxidation.

- Apply a coat of automotive paste wax to the surface.
- Allow the wax to dry for a few minutes.
- Remove residue and polish surface with a clean cloth.
Oxidation can also be a problem on metal painted surfaces, since the outermost layers of paint are constantly exposed to air and water. If the outer finish is not protected by a wax coating or polyurethane,the oxygen molecules in the air will eventually start interacting with the paint.
As the oxygen burns up the free radicals contained in the paint, the finish becomes duller and duller. Restoration efforts may include removing a layer of affected paint and reapplying a new layer of protectant. This is why professional detailers recommend at least one layer of wax or other protectant be used every time the metal surface is washed.
The secret to preventing oxidation caused by oxygen is to provide a layer of protection between the exposed material and the air. This could mean a wax or polyurethane coating similar to a car, a layer of paint on metal objects or a quick spray of an anti-oxidant, like lemon juice, on exposed fruit.
Destructive oxidation cannot occur if the oxygen cannot penetrate a surface to reach the free radicals it craves.
The Powder Coating paint process has become the most common widely used application in the outdoor furniture category. Unfortunately powder coating is extremely sensitive to Humidity and Moisture. A simple process to protect your furniture, especially flat surfaces is to apply a simple coat of good quality car wax prior using. If this process is done every few months it will protect your furniture for years to come.
Powder coating is a type of coating that is applied as a free-flowing, dry powder. The main difference between a conventional liquid paint and a powder coating is that the powder coating does not require a solvent to keep the binder and filler parts in a liquid suspension form. The coating is typically applied electrostatically and is then cured under heat to allow it to flow and form a “skin”. The powder may be a thermoplastic or a thermoset polymer. It is usually used to create a hard finish that is tougher than conventional paint. Powder coating is mainly used for coating of metals, such as household appliances, aluminium extrusions, drum hardware, and automobile and bicycle parts.
PACKAGE CONTENTS

| PART | DESCRIPTION | QUANTITY |
| A | Lid | 1 |
| B | Burner Assembly | 1 |
| C | 1/4 Table | 4 |
| E | Door Bracket | 1 |
| F | Back Bracket Post (Left) | 1 |
| G | Front Bracket Post (Left) | 1 |
| H | Back Bracket Post (Right) | 1 |
| I | Front Bracket Post (Right) | 1 |
| J | Side Panel | 3 |
| K | Gas Cylinder Block Belt | 1 |
| L | Bottom plate | 1 |
| M | Door Panel (Left) | 1 |
| N | Door Handle | 2 |
| O | Door Panel (Right) | 1 |
HARDWARE CONTENTS

SAFETY INFORMATION
Please read and understand this entire manual before attempting to assemble, operate or install the product. If you have any questions regarding the product, please call customer service at 1-888-775-1330, 8 a.m. – 4 p.m., MST, Monday – Friday. This appliance has been tested to and complies with the ANS Z21.97-2014 • CSA 2.41-2014
Outdoor decorative gas appliances. The installation must conform to local codes or the absence of local codes to the National Fuel Gas Code. ANS Z223.1.This manual contains important information about the assembly, operation and maintenance of this fire pit. General safety information is presented in these first few pages and is also located throughout the manual. Keep this manual for future reference and to educate new users of this product. This manual should be read in conjunction with the labeling on the product. Safety precautions are essential when any mechanical or propane fueled equipment is involved. These precautions are necessary when using, storing, and servicing.
Using this equipment with the respect and caution demanded will reduce the possibilities of personal injury or property damage. The following symbols shown below are used extensively throughout this manual. Always heed these precautions, as they are essential when using any mechanical or fueled equipment.
Solid fuels shall not be burned in this appliance.
| DANGER |
| • EXPLOSION – FIRE HAZARD • Keep solid combustibles, such as building materials, paper or cardboard, a safe distance away from the fire pit as recommended by the instructions. • Provide adequate clearances around air openings into the combustion chamber. • Never use the fire pit in spaces which do or may contain volatile or airborne combustibles, or products such as gasoline, solvents, paint thinner, dust particles or unknown chemicals. • During operation, this product can be a source of ignition. Keep fire pit area clear and free from combustible materials, gasoline, paint thinner, cleaning solvents and other flammable vapors and liquids. Do not use fire pit in areas with high dust content. Minimum fire pit clearances from combustible materials: two (2) feet from the sides & two (2) feet from the rear. |
| DANGER |
| • CARBON MONOXIDE HAZARD • This fire pit is a combustion appliance. All combustion appliances produce carbon monoxide (CO) during the combustion process. This product is designed to produce extremely minute, non-hazardous amounts of CO if used and maintained in accordance with all warnings and instructions. Do not block air flow into or out of the fire pit. • Carbon Monoxide (CO) poisoning produces flu-like symptoms, watery eyes, headaches, dizziness, fatigue and possibly death. You can’t see it and you can’t smell it. It’s an invisible killer. If these symptoms are present during operation of this product get fresh air immediately! • For outdoor use only. • Never use inside house, or other unventilated or enclosed areas. • This fire pit consumes air (oxygen). Do not use in unventilated or enclosed areas to avoid endangering your life. |
| DANGER |
| • EXPLOSION – FIRE HAZARD • Never store propane near high heat, open flames, pilot lights, direct sunlight, other ignition sources or where temperatures exceed 120 degrees F (49°C). • Propane vapors are heavier than air and can accumulate in low places. If you smell gas, leave the area immediately. • Never install or remove propane cylinder while fire pit is lighted, near flame, pilot lights, other ignition sources or while fire pit is hot to touch. • This fire pit is red hot during use and can ignite flammables too close to the burner. Keep flammables at least 2 feet from sides & 2 feet from rear. Keep gasoline and other flammable liquids and vapors well away from fire pit. • Store the propane cylinder outdoors in a well ventilated space out of reach of children. Never store the propane cylinder in an enclosed area (house, garage, etc.). If fire pit is to be stored indoors, disconnect the propane cylinder for outdoor storage. |
| WARNING |
| WARNING indicates an imminently hazardous situation which, if not avoided, will result in death or serious injury. |
| WARNING |
| Do not store or use gasoline or other flammable vapors and liquids in the vicinity of this or any other appliance. An LP-cylinder not connected for use shall not be stored in the vicinity of this or any other appliance. |
| WARNING |
| Improper installation, adjustment, alteration, service or maintenance can cause property damage, injury or death. Read the installation, operation and maintenance instructions thoroughly before installing or servicing this equipment. |
WARNING
- This product is fueled by propane gas. Propane gas is invisible, odorless, and flammable. An odorant is normally added to help detect leaks and can be described as a “rotten egg” smell. The odorant can fade over time so leaking gas is not always detectable by smell alone.
- Propane gas is heavier than air and leaking propane will sink to the lowest level possible. It can ignite by ignition sources including matches, lighters, sparks or open flames of any kind many feet away from the original leak. Use only propane gas set up for vapor withdrawal.
- Store or use propane gas in compliance with local ordinances and codes or with ANS/NFPA 58. Turn off propane when not in use.
WARNING
- Alert children and adults to the hazards of high surface temperatures. Stay away from these surfaces to avoid burning skin or igniting clothing.
- Carefully supervise young children when in the vicinity of the fire pit.
- Do not hang clothing or any other flammable materials from the fire pit, or place on or near the fire pit.
- Replace any guard or protective device removed for servicing the appliance prior to placing back in service.
- Installation and repair should be done by a qualified service person. The fire pit should be inspected
before use and annually by a qualified service person. More frequent cleaning may be required as necessary. It is imperative that the control compartment, burners, and circulating air passageway of the appliance be kept clean.
WARNING
Do not use this appliance if any part has been under water. Immediately call a qualified service technician to inspect the appliance and to replace any part of the control system and any gas control that has been under water.
PREPARATION
Before beginning assembly of product, make sure all parts are present. Compare parts with package contents list and hardware contents above. If any part is missing or damaged, do not attempt to assemble the product. Contact customer service for replacement parts.
- Estimated Assembly Time: 60 minutes
- Tools Required for Assembly (not included):
- Phillips screwdriver w/ medium blade. Leak Detection Solution.
ASSEMBLY INSTRUCTIONS
- Attach a door handle (N) to one door panel (left) (M) with two M4 X 5 screws (BB).
Repeat procedure to complete the assembly of the other door panel (right) (O).

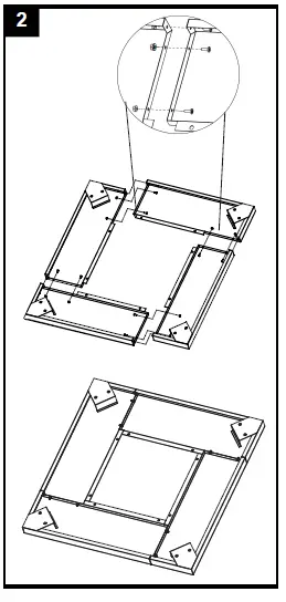
- Line up holes in 1/4 table with corresponding holes the 2 other 1/4 table, insert two M6 X 12 bolts (EE) through holes, finger tighten two M6 nuts (DD) . Be sure that line ① and line ② are on the same level and fully tighten bolts. Use another two M6 X 12 bolts to fasten the two 1/4 tables. Repeat procedure to complete the assembly of the rest of 1/4 tables.


- Attach propane tank strap (HH) to bottom plate (L) as 3 shown in figure 4.


- Bracket Post Installation.
4-1. Attach four bracket posts to the bottom plate with four M6 X 30 bolts (CC) as shown in figure 4-1.
4-2. Attach the gas cylinder block (K) to the bracket posts with two M6 X 12 bolts ,as shown in figure 4-2.

- Door Installation.
5-1. Attach two doors like figure 6-1 shows. Put door bracket (E) above two doors, fasten the door bracket with four M6 X 12 bolts.
5-2. Do not put door bracket too close to the door panels to ensure two door panels can open easily.
- Side panel (J) Installation.
6-1. Attach three side panels to the bracket posts with 12 M6 X 12 bolts..
6-2. Put door above front bracket post (left), fasten the door bracket with four M6 X 12 bolts.

- Table Installation
7-1.Line up holes in assembled table with corresponding holes in base assembly, insert eight M6 X 12 bolts through holes and tighten.
7-2. After assembly, the fire pit will look like figure 7-2.
- Burner Installation
8-1. Line up holes in the burner assembly (B) with corresponding holes in the table assembly, insert four M6X10 screws (FF) through holes and tighte

- 9-1 Screw the knob (P) on the lid (A) with M4 X 5 screws (BB). Put glass (one pack) (II) above the burner and put the lid above the burner assembly.

9-2. Assembly is complete.
- Connect hose and regulator to cylinder. The propane gas and cylinder are sold separately. Use a standard 20 lb. propane cylinder only. Use this heater only with a propane vapor withdrawal supply system. See chapter 5 of the standard for storage and handling of liquefied petroleum gas, ANS/NFPA 58. Your local library or fire department should have this book.
Storage of an appliance indoors is permissible only if the cylinder is disconnected and removed from the appliance. A cylinder must be stored outdoors in a well-ventilated area out of the reach of children. A disconnected cylinder must have dust caps tightly installed and must not be stored in a building, garage or any other enclosed area. The maximum outlet gas supply pressure: 250 psi, The minimum inlet gas supply pressure: 5 psi.
The minimum hourly rating of 10000 Btu is required for a heater for automatic operation at ratings less than full input rating.
The pressure regulator and hose assembly supplied with the appliance must be used.
The installation must conform with local codes, or in the absence of local codes,with national fuel gas code, ANS Z223.1/NFPA54, natural gas and propane Installation Code, CSA B149.1, or propane storage and handling code, B149.2.

- A dented, rusted or damaged propane cylinder may be hazardous and should be checked by your cylinder supplier. Never use a propane cylinder with a damaged valve connection.
- The propane cylinder must be constructed and marked in accordance with the specifications for LP gas cylinders of the U.S. Department of Transportation (DOT) or the standard for cylinders, spheres and tubes for transportation of dangerous goods and commission, CAN/CSA-B339.
- The cylinder must have a listed overfilling prevention device.
- The cylinder must have a connection device compatible with the connection for the appliance.
- The cylinder used must include a collar to protect the cylinder valve.
- Never connect an unregulated propane cylinder to the heater.
- Attach regulator to cylinder. Complete attachment.
- Fasten cylinder with strap, install cylinder.
- The appliance must be isolated from the gas supply piping system by closing its individual manual shutoff valve during any pressure testing of the gas supply piping system at test pressures equal to or less than 1/2psi (3.5kPa).
- Do not store a spare LP-gas cylinder under or near this appliance;
- Never fill the cylinder beyond 80 percent full;
- Place the dust cap on the cylinder valve outlet whenever the cylinder is not in use. Only install the type of dust cap on the cylinder valve that is provided with the cylinder valve. Other type of caps or plugs may result in leakage of propane.


ATTENTION: THIS PRODUCT IS NOT FOR COMMERCIAL USE INTENDED FOR RESIDENTIAL USE ONLY.
- Do not sit or stand on this table .
- Keep children away during assembly, This item contains small parts which can be swallowed by children.
- Do not use indoors and inside any enclosure.
- Retain the assembly instruction for future reference.
- Installer – Please leave these instruction with the owner.
- Please quote following FQC NO. when contacting service center.
OPERATION INSTRUCTIONS
Leak Check
WARNING
- Perform all leak tests outdoors.
- Extinguish all open flames.
- NEVER leak test when smoking.
- Do not use the fire pit until all connections have been leak tested and do not leak.

- Make 2-3 oz. of leak check solution (one part liquid dishwashing detergent and three parts water).
- Apply several drops of solution where hose attaches to regulator.
- Apply several drops of solution where regulator connects to cylinder.
- Make sure all fire pit and light valves are OFF.
- Turn cylinder valve ON.
If bubbles appear at any connection, there is a leak.
- Turn cylinder valve OFF.
- If leak is at hose/regulator connection: tighten connection and perform another leak test. If bubbles continue appearing, the hose should be returned to the place of purchase.
- If leak is at regulator/cylinder valve connection: disconnect, reconnect, and perform another leak check. If you continue to see bubbles after several attempts, cylinder valve is defective and should be returned to cylinder’s place of purchase.
If NO bubbles appear at any connection, the connections are secure.
NOTE: Whenever gas connections are loosened or removed, you must perform a complete leak test. Complete installation.
DANGER
- CARBON MONOXIDE HAZARD
- For outdoor use only. Never use inside house, or other unventilated or enclosed areas. This fire pit consumes air (oxygen). Do not use in unventilated or enclosed areas to avoid endangering your life.
Caution: Do not attempt to operate until you have read and understand all General Safety Information in this manual and all assembly is complete and leak checks have been performed.
Before Turning Gas Supply ON:
- Your fire pit was designed and approved for outdoor use only. Do NOT use it inside a building, garage, or any other enclosed area.
- Make sure surrounding areas are free of combustible materials, gasoline, and other flammable vapors or liquids.
- Ensure that there is no obstruction to air ventilation. Be sure all gas connections are tight and there are no leaks.
- Be sure the cylinder cover is clear of debris. Be sure any component removed during assembly or servicing is replaced and fastened prior to starting.
Before Lighting:
- Fire pit should be thoroughly inspected before each use, and by a qualified service person at least annually. If relighting a hot fire pit, always wait at least 5 minutes.
- Inspect the hose assembly for evidence of excessive abrasion, cuts, or wear. Suspected areas should be leak tested. If the hose leaks, it must be replaced prior to operation. Only use the replacement hose assembly specified by manufacturer.
- Inspect the burner at intervals recommended by the manufacturer. The burner must be replaced prior to the appliance being put into operation if it is evident that the burner is damaged. Only use the replacement burner shall be that specified by the manufacturer.
Lighting:
- Turn the control knob to the “OFF” position (Figure a).
- Fully open LP cylinder valve.
- Push in gas control knob and turn counterclockwise to “IGNITER” (Figure b) to light the fire pit. If needed, keep depressing and turning control knob counterclockwise until the heater lights (You should hear a clicking sound).
- After fire pit lights, release control knob. Push in and turn the control knob to the “HIGH”, then release control knob. If you want a lower temperature, push in the control knob and turn counterclockwise to the “LOW” (Figure c).
Note: If burner fails to remain lit, all valves should be closed and a waiting period of at least 5 minutes should pass before attempting to light.

WARNING
FOR YOUR SAFETY
Be careful when attempting to manually ignite this fire pit. Holding in the control knob for more than 10 seconds before igniting the gas will cause a ball of flame upon ignition.
When fire pit is ON:
Burner will display tongues of blue and yellow flame. These flames should not be yellow or produce thick black smoke, indicating an obstruction of airflow through the burners. The flame should be blue with straight yellow tops. If excessive yellow flame is detected, turn off heater and consult “Troubleshooting” on page 19.
Re-lighting:
- Turn control knob to OFF.
- Repeat the “Lighting” steps on prior page.
WARNING
FOR YOUR SAFETY
Fire pit will be hot after use. Handle with extreme care
Shut Down:
- To extinguish burner depress control knob and continue to turn it clockwise to OFF.
- Turn cylinder valve clockwise to OFF and disconnect regulator when heater is not in use.
Operation Checklist
For a safe and pleasurable heating experience, perform this check before each use.
Before Operating:
- I am familiar with entire owner’s manual and understand all precautions noted.
- All components are properly assembled, intact and operable.
- No alterations have been made.
- All gas connections are secure and do not leak.
- Wind velocity is below 10 mph.
- Unit will operate at reduced efficiency below 40°F.
- Fire pit is outdoors (outside any enclosure).
- There is adequate fresh air ventilation.
- Fire pit is away from gasoline or other flammable liquids or vapors.
- Fire pit is away from windows, air intake openings, sprinklers and other water sources.
- Fire pit is at least 24 in. on rear and at least 24 in. on sides from combustible materials.
- Fire pit is on a hard and level surface.
- There are no signs of spider or insect nests.
- All burner passages are clear.
- All air circulation passages are clear.
- Children and adults should be alerted to the hazards of high surface temperatures and should stay away to avoid burns or clothing ignition.
- Young children should be carefully supervised when they are in the area of the fire pit.
- Clothing or other protective material should not be hung from the fire pit, or placed on or near the fire pit.
- Any guard or other protective device removed for servicing the fire pit must be replaced prior to operating the fire pit.
- Installation and repair should be done by a qualified service person. The fire pit should be inspected before use and at least annually by a qualified service person.
- More frequent cleaning may be required as necessary. It is imperative that control compartment, burner and circulating air passageways of the fire pit be kept clean.
After Operation
- Gas control is in OFF position.
- Gas Tank valve is OFF.
- Disconnect Gas line.
CARE AND MAINTENANCE
To enjoy years of outstanding performance from your fire pit, make sure you perform the following maintenance activities on a regular basis: Keep exterior surfaces clean.
- Use warm soapy water for cleaning. Never use flammable or corrosive cleaning agents.
- While cleaning your unit, be sure to keep the area around the burner dry at all times. Do not submerge the control valve assembly. If the gas control is submerged in water, do NOT use it. It must be replaced.
a. Keep the appliance area clear and free from combustible materials, gasoline and other flammable vapors and liquids.
b. Do not obstruct the flow of combustion and ventilation air.
c. Keep the ventilation opening(s) of the cylinder enclosure free and clear from debris. - Air flow must be unobstructed. Keep controls, burner, and circulating air passageways clean. Signs of possible blockage include:
- Gas odor with extreme yellow tipping of flame.
- Fire pit does NOT reach the desired temperature.
- Fire pit glow is excessively uneven.
- Fire pit makes popping noises.
- Spiders and insects can nest in burner or orifices. This dangerous condition can damage fire pit and render it unsafe for use. Clean burner holes by using a heavy-duty pipe cleaner. Compressed air may help clear away smaller particles.
- Carbon deposits may create a fire hazard. Clean burner with warm soapy water if any carbon deposits develop.
Note: In a salt-air environment (such as near an ocean), corrosion occurs more quickly than normal. Frequently check for corroded areas and repair them promptly.
Storage
Between uses:
- Turn Control Knob OFF.
- Disconnect LP source.
- Store fire pit upright in an area sheltered from direct contact with inclement weather (such as rain, sleet, hail, snow, dust and debris).
- If desired, cover fire pit to protect exterior surfaces and to help prevent build-up in air passages.
Note: Wait until fire pit is cool before covering.
During periods of extended inactivity or when transporting:
- Turn Control Knob OFF.
- Disconnect LP source and move to a secure, well-ventilated location outdoors.
- Store fire pit upright in an area sheltered from direct contact with inclement weather (such as rain, sleet, hail, snow, dust and debris).
- If desired, cover fire pit to protect exterior surfaces and to help prevent build-up in air passages.
- Never leave LP cylinder exposed to direct sunlight or excessive heat.
Note: Wait until fire pit is cool before covering.
Service
Only a qualified service person should repair gas passages and associated components.
Caution: Always allow fire pit to cool before attempting service
TROUBLESHOOTING
If you have any questions regarding the product, please call customer service at 1-888-775-1330, 8 a.m. – 4 p.m. (MST), Monday – Friday.
| PROBLEM | POSSIBLE CAUSE | CORRECTIVE ACTION |
|
Burner won’t light | Propane cylinder is frosted over | Wait until the propane cylinder warms up and becomes unfrosted |
| Blockage in orifice | Clear blockage and striker cage of fire glass 1/4″ away on all sides | |
| Control knob is not in ON position | Turn control knob to ON | |
|
Burner flame is low | Gas pressure is low | Turn cylinder valve OFF and replace cylinder |
| Outdoor temperature is less than 40ºF and tank is less than 1/4 full | Use a full cylinder | |
| Control knob fully ON | Check burner and orifices for blockage | |
| Carbon build-up Thick black smoke | Dirt or film on burner | Clean burner |
| Blockage in burner | Remove blockage and clean burner inside and outside |
ONE-YEAR LIMITED WARRANTY
CUSTOMERS IN USA
For small parts please call 1-888-775-1330 for assistance. For damaged product, you may have to return to the retailer.
CUSTOMERS IN CANADA
Only return this product to the store if it was purchased within 90 days. If you have problems after 90 days of purchase, please CALL 1-888-775-1330. DATED PROOF OF PURCHASE REQUIRED FOR WARRANTY SERVICE. AZ Patio Heater, LLC (“Vendor”) warrants to the original retail purchaser of this heater to no other person, that if this heater is assembled and operated in accordance with the printed instructions accompanying it, then for a period of one year from the date of purchase, all parts in such heater shall be free from defects in manufacturing and workmanship.
Vendor may require reasonable proof of your date of purchase from an authorized retailer or distributor. Therefore, you should retain your sales slip or invoice. This limited Warranty shall be limited to the repair or replacement of parts, which prove defective under normal use and service and which the vendor shall determine in its reasonable discretion upon examination to be defective. Before returning any parts, you should contact Vendors customer service department using the contact information listed below. If Vendor confirms, after examination a defect covered by this limited warranty in any returned part, and if Vendor approves the claim, Vendor will replace such defective part without charge. If you return defective parts, Transportation charges must be prepaid by you. Vendor will return replacement parts to the original retail purchaser, Freight or postage prepaid.
The limited Warranty does not cover any failures or operating difficulties due to accident, abuse, misuse, alteration, misapplication, improper installation or improper maintenance or service by you or third party. The failure to perform normal and routine maintenance on the product, shipping, damage, abnormal adjustment to the burner, damage or repairs related to insects, birds, or animals of any kind, and damage due to weather conditions as set out in this owner’s manual. In addition, the Limited Warranty does not cover damage to the finish such as scratches, dents, discoloration, rust or weather damage, after purchase. Please protect your investment.
The limited Warranty is in lieu of all other warranties offered by any retail company. Vendor disclaims all warranties for products that are purchased from sellers other than authorized retailers or distributors. AFTER THE PERIOD OF THE 1 YEAR WARRANTY, VENDOR DISCLAIMS ANY AND IMPLIED WARRANTIES, INCLUDING WITHOUT LIMITATION THE IMPLIED WARRANTIES OF MERCHANTABILITY AND FITNESS FOR A PARTICULAR PURPOSE. FURTHER, VENDOR SHALL HAVE NO LIABILITY WHATSOEVER TO PURCHASER OR ANY THIRD PARYY FOR ANY SPECIAL, INDIRECT, PUNITIVE, INCIDENTAL, OR CONSEQUENTAL DAMAGES. Vendor assumes no responsibility for any defects caused by third parties.
This limited warranty gives the purchaser specific legal rights; a purchaser may have other rights depending upon where he or she lives. Some jurisdictions do not allow the exclusion or limitation of special, incidental or consequential damages, or limitations on how long a warranty lasts, so the above exclusion and limitations may not apply to you.
Vendor does not authorize any person or company to assume for it any other obligation or liability in connection with the sale, installation, use, removal, return, or replacement of its equipment, and no such representations are binding on vendor.
For warranty service, please contact [email protected] or call us toll free at 888-775-1330.
Distributed by:
AZ Patio Heaters, LLC
Toll Free Number 1-888-775-1330
Sales Service and Repair
REPLACEMENT PARTS LIST
For replacement parts, call our customer service department at 1-888-775-1330, 8 a.m. – 4 p.m., MST, Monday – Friday.

| PART | DESCRIPTION | QUANTITY |
| A | Lid | 1 |
| B | Burner Assembly | 1 |
| C | 1/4 Table | 4 |
| E | Door Bracket | 1 |
| F | Back Bracket Post (Left) | 1 |
| G | Front Bracket Post (Left) | 1 |
| H | Back Bracket Post (Right) | 1 |
| I | Front Bracket Post (Right) | 1 |
| J | Side Panel | 3 |
| K | Gas Cylinder Block Belt | 1 |
| L | Bottom plate | 1 |
| M | Door Panel (Left) | 1 |
| N | Door Handle | 2 |
| O | Door Panel (Right) | 1 |








4-2. Attach the gas cylinder block (K) to the bracket posts with two M6 X 12 bolts ,as shown in figure 4-2.


5-2. Do not put door bracket too close to the door panels to ensure two door panels can open easily.

6-2. Put door above front bracket post (left), fasten the door bracket with four M6 X 12 bolts.


7-2. After assembly, the fire pit will look like figure 7-2.



9-2. Assembly is complete.














