

OUTDOOR FIRE PIT MANUAL
MODELS:
ROUND FIRE PIT- FP2085LPT, FP2085NT
RECTANGULAR FIRE PIT- FP2785LPT, FP2785NT
-CERTIFIED FOR USA & CANADA- ANSI Z21.97-2017 • CSA 2.41-2017
OUTDOOR DECORATIVE GAS APPLIANCES

WARNING: DO NOT OPERATE THIS APPLIANCE WITHOUT LAVA ROCK ON BURNER
INSTALLER: Leave this manual with the appliance.
CONSUMER: Retain this manual for future reference.
| CARBON MONOXIDE HAZARD This appliance can produce carbon monoxide which has no odor. Using it in an enclosed space can kill you. Never use this appliance in an enclosed space such as a camper, tent, car or home. | |
![]() |
This appliance is designed as an “attended appliance”. Adults must be present when the unit is operating. DO NOT leave this unit burning when unattended. If this product is left burning unattended it may cause damage or serious injury.
| FIRE OR EXPLOSION HAZARD If you smell gas:
Failure to follow these instructions could result in fire or explosion, which could cause property damage, personal injury, or death. |
| Do not store or use gasoline or other flammable vapors and liquids in the vicinity of this or any other appliance. An LP-cylinder not connected for use shall not be stored in the vicinity of this or any other appliance. |
For Outdoor Use Only. Installation and service must be performed by a qualified installer, service agency, or the gas supplier. |
| If the information in this manual is not followed exactly, a fire or explosion may result causing property damage, personal injury, or loss of life. |
Kingsman Fireplaces 2340 Logan Ave., Winnipeg, Mb Canada Ph: 204-632-1962 Printed in Canada P/N 27FPT-MAN17 June 30, 2021
Pre-installation Questions and Answers
About curing of the paint
Your stove or fireplace has been painted with the highest quality silicone stove paint. This paint dries quickly in 15-20 minutes when first applied at the factory. However, due to the high temperature silicone components, the paint will cure when heat is applied to the appliance as it is first used. The following information applies to the curing process to get the paint fully hard and durable.
Fire the appliance four successive times for 10 minutes each firing and a 5 minute cool down between each.
- Babies, small children, pregnant women and pets should leave the area during the cure phase.
- Do not touch during curing.
-Operating Instructions-
- Be sure to read and understand all the instructions in this manual before operation of appliance.
- Ensure all wiring is correct and properly enclosed to prevent possible shock.
- Check for gas leaks.
- If the unit is turned off, you must wait a minimum of 60 seconds before relighting it.
Why does my fireplace or stove give off odor?
It is normal for your fireplace to give off some odor at first. This is due to the curing of the paint, adhesives, silicones and any undetected oil from the manufacturing process as well as the finishing materials used with the installations (e.g. marble, tile and the adhesives used to adhere this product to the walls can react with heat and cause odors).
These odors can last upward to 40 hours of burn time.
Noise coming from the fireplace?
Noise is caused by the expansion and contraction of metal as the appliance heats up and cools down. This is normal and is similar to the sounds produced by a furnace or heating duct. This noise does not affect the operation or longevity of your fireplace.
Note to the Installer:
Be sure appliance is working properly and its operation (including remote control operation, if included) is fully explained to and understood by the customer.
Important Information About Outdoor Fireplaces
Before you build in this appliance:
- Do not insulate around the appliance. Heat buildup could lead to component failure.
- Pay attention to all clearances to combustibles and specifications stated in this manual.
- Drainage- If this appliance is installed in a location where it will be exposed to water and moisture, drainage is an important consideration.
- Inadequate drainage will cause rust, which is not covered by the warranty.
Information about outdoor fireplaces
- Outdoor fire burning appliances may not function properly at all times regardless of the circumstances.
- Wind can greatly affect flame performance. If used in windy conditions a wind guard is recommended.
- Outdoor units require adequate ventilation in order to burn properly.
- Restricted access to air is not only dangerous for persons near the appliance, but the appliance also will not function correctly.
- This appliance consumes air, burns fuel, and emits heat and exhaust gases.
- Only approved media and accessories listed in this manual should be used with this appliance.
- This appliance is not intended for use in temperatures below freezing.
- The pilot burner (if equipped) should be OFF, and covered to protect it from the elements when not in use.
Warnings, Installations and Operations
WARNING
FOR SAFE INSTALLATION AND OPERATION OF YOUR GAS FIREPLACE PLEASE NOTE THE FOLLOWING:
- when an appliance is for connection to a fixed piping system, the installation must conform with local codes or, in the absence of local codes, with the National Fuel Gas Code, ANSI Z223.1 • NFPA 54; National Fuel Gas Code; Natural Gas and Propane Installation Code, CSA B149.1; or Propane Storage and Handling Code, CSA B149.2, as applicable.
- THIS UNIT IS NOT FOR USE WITH SOLID FUEL.
- Always keep the appliance clear and free from combustible materials, gasoline, and other flammable vapors and liquids.
- Inspect the fuel supply connection (including the hose for LP models) before each use of the appliance. See Lighting Instructions for removal of Access Panel.
- If it is evident there is excessive abrasion or wear, or the hose is damaged, it must be replaced prior to the appliance being put into operation. Locate the hose out of pathways where people may trip over it or in areas where the hose may be subject to accidental damage
- Locate the hose out of pathways where people may trip over it or in areas where the hose may be subject to accidental damage.
- Children and adults should be alerted to the hazards of the high surface temperatures of this appliance and should stay away to avoid burns or ignition of clothing.
- Young children should be carefully supervised when they are in the area of the appliance.
- Clothing or other flammable material should not be placed on or near the appliance. This appliance should not be used as a drying rack for clothing.
- Any safety screen or guard removed for servicing an appliance must be replaced prior to operating the appliance.
- Installation and repair should be done by a qualified service person. The appliance should be inspected before use and at least annually by a professional service person. More frequent cleaning may be required due to excessive lint from carpeting, et cetera. It is imperative that control compartments, burners and circulating air passageways of the appliance be kept clean.
- Do not use this appliance if any part has been under water. Immediately call a qualified service technician to inspect the unit and to replace any part of the control system and any gas control which has been underwater.
LP Cylinder Requirements
The LP gas supply cylinder used with LP models must be constructed and marked in accordance with the specifications for LP-gas cylinders of the U.S. Department of Transportation (DOT) Specifications for LP-Gas Cylinders, or the Standard for Cylinders, Spheres and Tubes for Transportation of Dangerous Goods and Commission, CAN/CSA-B339, as applicable.
- The LP gas supply cylinder used with LP models must be provided with a listed overfilling prevention device.
- The pressure regulator and hose assembly supplied with LP models (PN# 27FP-900FF) must be used.
- Replacement pressure regulators and hose assemblies must be those specified in this manual.
- Always check for gas leaks with a soap and water solution. DO NOT USE OPEN FLAME FOR LEAK TESTING.
- When an LP model is not in use, the LP-gas must be turned off at the supply cylinder.
- At altitudes above 4500ft appliances should be derated 4% every 1000ft. However, check with local gas supplier as fuel supply may already be adjusted.
- Refer to Assembly and Installation for leak testing procedures.
- Refer to Gas Specifications for gas inlet pressures.
- Refer to Gas Specifications for input rates.
- Refer to Lighting Instructions for normal sequence of the ignition system.
Locating Your Appliance
Note: Ventilation and air flow comes from openings in the walls and ceiling. Open floor space around the appliance must not be considered ventilation and air flow space.
- This unit requires combustion air and will produce exhaust gases. Install in an open-air situation with natural ventilation and without stagnant areas.
- Avoid installing in tight spaces and corners.
- Be aware of combustibles (i.e. furniture) near appliance.
- By definition, an outdoor space is not enclosed. Any area in which these appliances are used shall comply with the structures shown below.
Locating Your Appliance – Outdoor Spaces
This appliance may be installed within the following structures:
| 1.
Walls on all sides (Minimum area of 96 square feet), but with no overhead cover and at least one permanent opening (doorway) at ground level. | 2.
Within a partial enclosure that includes an overhead cover and no more than two side walls. |
| 3.
These side walls may be parallel, as in a breezeway, or at right angles to each other. | 4.
Within a partial enclosure that includes an overhead cover and three side walls, as long as 30 percent or more of the horizontal periphery of the enclosure is permanently open. |
All models can be installed safely in a screened porch area within the following guidelines:
Minimum porch area is 96sq. feet with two sides fully open.
A minimum of two (2) walls can be screened, but must be open to outside ventilation, with a minimum screen area of 64 sq. feet, and a minimum side wall height of 7 feet from the top of the fire pit.
WARNING -RISK OF FIRE-
ALL MINIMUM CLEARANCES MUST BE ADHERED TO – Refer to CLEARANCES FOR ROUND FIREPIT (FP2085T) and CLEARANCES FOR RECTANGLE FIREPIT (FP2785T)
Installation Clearances
CLEARANCES FOR ROUND FIREPIT (FP2085T)
- The round firepit (FP2085T) cannot be built into a combustible cabinet of any type. Only noncombustible materials may be placed around firepit. (eg., bricks, concrete, river rock, etc.)
- Clearance to combustible side wall is 24″ minimum. Non-combustible walls 14″ to side wall.
- Minimum clearance to any ceiling with no overhang is to be 7 feet from top of firepit.
- Clearance to a combustible floor is 0″.
CLEARANCES FOR RECTANGLE FIREPIT (FP2785T)
- The rectangle firepit (FP2785T) may be built into a combustible enclosure. You must maintain minimum enclosure dimensions of 32-1/2″ x 39-1/2″ I.D. The top of enclosure must be of a non-combustible material such as concrete board or wonder board.
- Clearance to combustible side wall is 24″ minimum. Non-combustible walls 14″ to side wall.
- Minimum clearance to any combustible ceiling with no overhang is to be 7 feet from top of firepit.
- Clearance to a combustible floor is 0″.
FP2785T in a combustible enclosure.

- Ceiling
- Do not install if ceiling has any overhang.
- Minimum 24″ to sidewall from edge of fire pit
- Minimum 7 feet to ceiling from top of fire pit
- Combustible materials may be used only on outer portion of cabinet.
- Minimum of [2] 1″ x 4″ Air Openings Required
- 7″ MAX on Control Panel Side
- Control Panel Cutout size is 8-1/2″ x 2-1/2″
- Non-combustible materials on top of enclosure
2785FPT – Installation in a Wooden Enclosure
- Minimum size of wood enclosure must be no less than 32.5″ I.D. x 39.5″ I.D.
- Non-combustible material (e.g., Wonder Board) for the top of enclosure must be used, along with metal gussets.
- Non-combustible materials such as tile or brick may be used to finish on top of Wonder Board. Do not use any combustible materials to finish top, e.g., wood or plastic products.
- You must have an opening in the enclosure to have access to the on/off valve.
- A minimum of [2] 1″ x 4″ air openings are required.
Minimum Size for FP2785T Combustible Enclosure

- Non-combustible material
- Minimum Opening
- Metal Gussets
- Combustible materials may be used only on outer portion of cabinet.
- 7″ MAX on Control Panel Side
- Control Panel Cutout size is 8-1/2″ x 2-1/2″
- Minimum of [2] 1″ x 4″ Air Openings Required
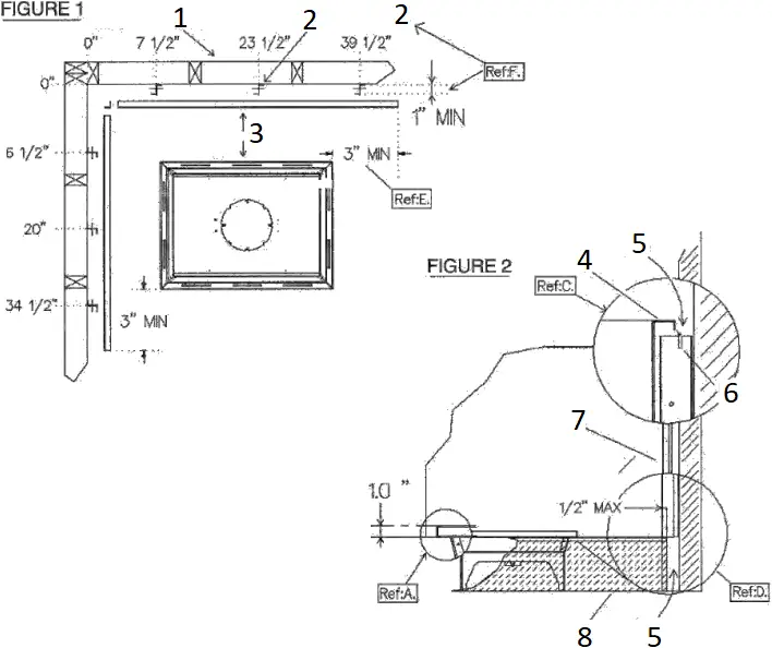
Installing Wall Clearance Shield
NON-COMBUSTIBLE CORNER CLEARANCE SHIELD
- Using a non-combustible material (eg. Wonder Board) cut two shields, [1] Large 44” x 30 min. and [1] Small 37” x 30” min.
- Mount six 1” non-combustible spacers to wall, this will maintain a 1” air space behind shields Fig:1, Ref: F. Non-combustible spacer (e.g., Metal Bracket, Wonder Board) should be no wider than 1” and 30” long.
- Screw non-combustible shield to spacer. Shield must be placed 1” below top of firepit Fig: 2, Ref:D. Inside corners of shields should not touch combustible wall. Shield must extend 3” past end of firepit Fig:1, Ref: E.
- Note: Firepit cabinet or other structures must NOT obstruct wall shield air space on ends, top or bottom. If a cabinet is built around firepit, the end face of cabinet must not extend past bottom face of clearance shield by more than 1/2” Fig:2, Ref: D.
SINGLE CLEARANCE SHIELD
- Side of unit must be more than 24″ from a combustible wall for a single shield to be used, and can have a distance of no less than 14″ to a wall shield.
- All specifications as in corner installation must be used, including shield must extend a minimum of 3″ past sides of firepit Fig:1, Ref: E.

- COMBUSTIBLE WALL
- Shield Hanger or Shield Spacer
- LONG SIDE OF SHIELD AND FIREPIT
- Shield
- Air Space
- Receiving Slot
- Wall Shield Face
- Cabinet
FP2085T & FP2785T – Assembly and Installation
The log set (LOGC85) and the burner assembly are shipped separately.
A. Remove the gas log set and burner assembly and check for damage. DO NOT install damaged components. The logs are fragile use care when handling.
B. Place the burner assembly on a flat, stable surface in an outdoor location such as a patio or a deck. This location must be adjacent to the gas supply line (natural gas) or LP-gas supply cylinder.
NOTE: Minimum clearances to combustible construction must be maintained. Remember, you must have easy access to the gas valve control knob AFTER the appliance is installed and connected to the gas supply.
THE ON/OFF GAS VALVE IS USED TO TURN THE BURNER ON AND OFF.
C. NATURAL GAS MODELS: Connect the incoming gas supply line to the on/off gas valve of the appliance (Figure 1). Make certain ALL gas connections are tight, turn the on/off valve at the unit slowly to the on position and use soap water to test for leaks. DO NOT USE AN OPEN FLAME.
LP-GAS MODELS:
1. Make sure tank valve is in its full off position. (Turn clockwise to stop).
2. Check tank valve features to ensure it has proper external mating threads (Tank Valve Marked: USE WITH TYPE 1).
Gas Specifications | ||
| FP2085NT | FP2085LPT | |
| FP2785NT | FP2785LPT | |
Fuel | Natural Gas | Propane |
Minimum Supply Pressure | 7” w.c. | 10” w.c. – Hose Regulator |
Maximum Supply Pressure | 7” w.c. | 10” w.c. – Hose Regulator |
Manifold Pressure Low | N/A | N/A |
Manifold Pressure High | N/A | N/A |
Btu’s | 13,000Lo 57,000Hi | 22,500Lo 64,000Hi |
Orifice | #15 | #38 |
Air Shutter Opening | 1/4” | Fully Open |
WARNING
TIPPING HAZARD
Tank must be secured

- PROPANE CYLINDER WITH TYPE 1 FITTING
- PROPANE REGULATOR ASSEMBLY
- 4.5 FT MINIMUM
- FIREPIT ASSEMBLY
- NATURAL GAS SUPPLY LINE
- SS FLEX CONNECTOR
3. Inspect hose shipped with the unit for damage. Never attempt to use damaged or plugged equipment. See your local LP Gas Dealer for repairs.
4. After inspecting the LP hose shipped with the unit, connect the end with the female fitting on the hose to the male fitting on the on/off gas valve at the end of the flex tube and make sure it is tight.
NOTE: Fuel Supply line must not come into contact with surfaces having temperatures in excess of 140°F. LP gas cylinder must be kept a minimum of 4.5 feet from the appliance. You must use an approved LP cylinder retention device (See Gas Specifications for an example).
5. When connecting regulator assembly to the tank valve, hand tighten nut clockwise to a positive stop. DO NOT use a wrench to tighten. Use of a wrench may damage quick closing coupling nut and result in a hazardous condition.
6. Locate the hose out of pathways where people may trip over it or in areas where the hose may be subject to accidental damage.
7. Open tank valve fully (counter-clockwise). Turn the on/off valve at the unit slowly to the on position and use a soapy water solution to check all connections for leaks before attempting to light the appliance. If a leak is found, turn tank valve off and do not use the appliance until repairs can be made by a local LP Gas Dealer. DO NOT attempt to make repairs yourself.
8. Never attempt to use this appliance or any components that have been damaged or exposed to an accidental fire.

The above photo shows an example of an approved LP cylinder retention device.
WARNING:
DO NOT LEAVE
FIRE PIT UNATTENDED
WHEN IN USE
Enclosures for LP (Propane) Gas Supply Systems

- 5″ MAX FROM TOP
- UPPER OPENINGS MUST BE 20 sq in. for 20lb and 30 sq in. for 30lb Cylinder
- TOP AND SIDE PARTITION TO ISOLATE TANK FROM FIREPLACE
- LOWER OPENINGS MUST BE 10 sq in. for 20lb and 15 sq in. for 30lb Cylinder
- 1″ MAX FROM FLOOR
- 2″ MIN CLEARANCE TO GROUND
- NON-LOCKING DOOR

- Combustible
- FP2085T
HOSE ROUTING: Hose must be reasonably straight and free of kinks. Hose must not be near sharp edges or run back into non-combustible area of the burner.
WARNING
TIPPING HAZARD
Tank must be secured
If you build an enclosure for an LP gas cylinder you must follow these specifications. You must also follow local codes.
An enclosure for an LP-gas cylinder shall be ventilated by openings at both the upper and lower levels of the enclosure. This shall be accompanied by one of the following:
a. One side of the enclosure shall be completely open; or
b. For an enclosure having four sides, a top, and a bottom:
- At least two ventilation openings shall be provided in the sidewalls of the enclosure, located within 5 in (217 mm) of the top of the enclosure, equally sized, spaced at a minimum of 90 degrees (1.57 rad), and unobstructed. The opening(s) shall have a total free area of not less than 1square inch per pound (14.2 cm2Ckg) of stored fuel capacity.
- Ventilation opening(s) shall be provided at floor level of the enclosure and shall have a total free area of not less than 1/2 square inches per pound (7.1 cm2Ckg) of stored fuel capacity. If ventilation openings at floor level are in a sidewall, there shall be at least two openings. The bottom of the openings shall be 1 in (25.4 mm) or less from the floor level and the upper edge no more than 5 in (127 mm) above the floor level. The openings shall be equally sized, spaced at a minimum of 90 degrees (1.57 rad), and unobstructed.
- Every opening shall have minimum dimensions so as to permit the entrance of a 1/8 in (3.2 mm) diameter rod.
- Ventilation openings in sidewalls shall not communicate directly with other enclosures of the appliance.
The cylinder valve shall be readily accessible for hand operation. A door on the enclosure to gain access to the cylinder valves is acceptable, provided it is non-locking and can be opened without the use of tools. Designs using a cover to gain access to the cylinder and cylinder valve shall be provided with handles or equivalent at a minimum of 180 degrees apart to facilitate lifting of the cover.
The enclosure for the LP-gas cylinder shall isolate the cylinder from the burner compartment to provide:
a. Shielding from radiation;
b. A flame barrier; and
c. Protection from foreign material.
There shall be a minimum clearance of 2 in (50.8 mm) between the floor of the non-disposable LP-gas cylinder enclosure and the ground.
The design of the fireplace shall be such that:
a. A non-disposable LP-gas cylinder can be connected, disconnected, and the connections inspected and tested outside the cylinder enclosure; and
b. Those connections which could be disturbed when installing the cylinder in the enclosure can be leak tested inside the enclosure.
Be certain to mount or set the LP-gas cylinder on a flat stable surface and retain it to prevent it from tipping. Purge the gas supply line of any trapped air prior to the first firing of the unit.
WARNING: During the initial purging and subsequent lightings, NEVER allow gas valve to remain in “OPEN” position without first placing a burning match on the top of the burner.
Test fire the unit after referring to the SAFETY INFORMATION and LIGHTING INSTRUCTIONS.
If LP-Gas outdoor fire pits are used continuously after a couple of hours, you could see the possibility of the flame decreasing in size. If this happens, turn off the control valve and the tank valve and wait a couple of hours before lighting again or switch propane tanks. The propane tank is freezing up due to the volume of gas being taken out of the tank.
Gas Conversion for FP2085T and FP2785T Fire Pits
NOTE: CONVERSION SHOULD BE COMPLETED BEFORE FIRE PIT IS INSTALLED.
Caution- the gas supply shall be shut off before proceeding with the conversion.
TO CONVERT PROPANE (MAP) SYSTEMS TO NATURAL GAS:
- Remove [2] screws from Orifice Retainer Bracket.
- Remove Burner Orifice from Air Shutter. Using a 1/2” wrench, disconnect Burner Orifice from brass fitting and replace with supplied #15 NG Burner Orifice.
- Set Air Shutter Adjustment to 1/4”.
- Re-insert new Burner Orifice into Air Shutter.
- Re-attach Orifice Retainer Bracket to Burner Tray.
- Disconnect LP Hose and Regulator from Valve Assembly.
TO CONVERT NATURAL GAS (MAN) SYSTEMS TO PROPANE:
- Remove [2] screws from Orifice Retainer Bracket.
- Remove Burner Orifice from Air Shutter. Using a 1/2” wrench, disconnect Burner Orifice from brass fitting and replace with supplied #38 LP Burner Orifice.
- Set Air Shutter Adjustment Fully Open.
- Re-insert new Burner Orifice into Air Shutter.
- Re-attach Orifice Retainer Bracket to Burner Tray.
- Connect LP Hose and Regulator to Valve Assembly.
Air Shutter Adjustment:
1/4” for Natural Gas
Fully Open for Propane
Burner Orifice:
#15 for Natural Gas
#38 for Propane

5ft LP Hose & Regulator
PN: 27FP-900FF


- Orifice Retainer Bracket
WARNING: Failure to position the parts in accordance with these diagrams or failure to use only parts specifically approved with this appliance may result in property damage or personal injury.
WARNING
This conversion kit shall be installed by a qualified service agency in accordance with the manufacturer’s instructions and all applicable codes and requirements of the Authority Having jurisdiction. If the information on in these instructions is not followed exactly, a fire, explosion or production of carbon monoxide may result causing property damage, personal injury or loss of life.
The qualified service agency is responsible for the proper installation of this kit. The installation is not proper and complete until the operation of the converted appliance is checked as specified in the manufacturer’s instructions supplied with the kit.
FP2085T Component List
WARNING:
Failure to position the parts in accordance with these diagrams or failure to use only parts specifically approved with this appliance may result in property damage or personal injury.
| #38 BRASS CAP ORIFICE | #15 BRASS CAP ORIFICE |
| PRIMARY AIR FULL OPEN | PRIMARY AIR 1/4” |
PROPANE | NATURAL GAS |

- Thermocouple
24OB-PHP1003 - Spacer Nut
608-161 - Electrode
24OB-107 - Burner Plate
27FP-106 - Valve
24OB-PBS190 - Knob
24OB-PHPD6 - AAA Battery
(Not Included) - Push-Button Igniter
24OB-P152 - Gasket
27FP-115 - Mixing Tube
4000-208 - Orifice
- 1/8″ x 3/8″ Flare Fitting
27FP-P904FF - Orifice Retainer Bracket
27FP-104 - 5ft LP Hose & Regulator
27FP-900FF - SS FLEX – PN# 42 MCV-P16FF
-QTY 1 FOR FP2085LPT
-QTY 2 FOR FP2085NT
FP2785T Component List
WARNING:
Failure to position the parts in accordance with these diagrams or failure to use only parts specifically approved with this appliance may result in property damage or personal injury.
| #38 BRASS CAP ORIFICE | #15 BRASS CAP ORIFICE |
| PRIMARY AIR FULL OPEN | PRIMARY AIR 1/4” |
PROPANE | NATURAL GAS |

- AAA Battery
(Not Included) - Push-Button Igniter
24OB-P152 - Control Panel
27FP-120A - SS Flex
42MCV-P16FF - Electrode
24OB-107 - Spacer Nut
608-161 - Burner Plate
27FP-106 - Thermocouple
24OB-PHP1003 - Gasket
27FP-115 - Mixing Tube
4000-208 - 1/8″ x 3/8″ Flare Fitting
27FP-P904FF - Orifice
- Valve 24OB-PBS190
- Orifice Retainer Bracket
27FP-104 - Knob 24OB-PHPD6
- 5ft LP Hose & Regulator
27FP-P900FF - SS FLEX – PN# 42ZCV-P3810
LOGC85 Placement Instructions
After setting up your model and hooking up the gas connection, make sure that logs are not broken. Identify the logs using the pictures below and place logs as indicated, lining up with mounting pegs in logs.
STEP 1

STEP 2

STEP 3

STEP 4

STEP 5

This picture depicts the typical flame pattern of this burner system.
Accessories For Your Fire Pit

Fire Pit Cover: 27FP-113A For FP2785T Rectangular Fire Pit

Fire Pit Cover: FP20COV For FP2085T Round Fire Pit

FP20SSRT: Stainless Steel Ring Align legs on FP20SSRT with legs on fire pit and place over outside of fire pit.
Non-Combustible Enclosures For Firepits
NOTE: Any non-combustible enclosure must have a minimum of [5] 1-1/2″ holes for drainage.
Fire Pit Bowl for FP2085T Round Fire Pit:


KINGSMAN OUTDOOR FIRE BOWLS FOR THE 2085T FIRE PIT:
Fire Bowl Includes:
- Valve / Igniter Mount Box
- 1/4 Lava Rock (10 Lbs)
- Leg Extension & Filler Strip Ring
- SS Flex Connector
- Fire Pit not included
FPB32SGT: Fire Bowl – 32” Diameter, Concrete, Smooth Grey – T Series
30FPB-KEYT: Key Way Valve Kit for New Thermocouple Fire Bowls (for use when using old FP2085N/LP Fire Pits)
FPB30SGT: Fire Bowl – Smooth Grey
FPB30TBT: Fire Bowl -Textured Black
FPB30COVB: Cover for Fire Bowl – Charcoal
Valve / Igniter Mount Box

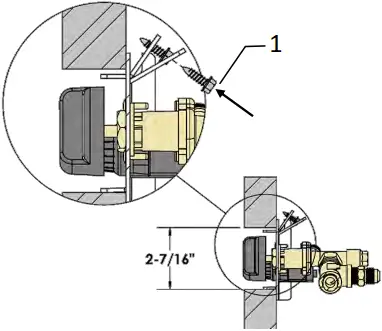
24OBT-MANCP – Control Panel for FP2085T Fire Pits in Custom Enclosures
| 24OBT-MANCP Assembly.
| The Control Panel must be located within 12” of the Burner Orifice.
|
| The Cutout Size for the Valve Control Panel is 2-7/16” tall x 7-1/2” wide.
BOTTOM VIEW | |
| The Control Panel is inserted from the inside of the enclosure and set in place by tightening the [2] screws on the back of the Control Panel Assembly.
RIGHT SIDE VIEW
| |
FP20SSRT Stainless Steel Ring Dimensions – Accessory for FP2085T Round Fire Pit

FPB30TRG Trim Ring Dimensions – Accessory for Fire Bowl

Product Maintenance For Your Canvas Fire Pit Cover
Caring for your Fire Pit Cover
The key to keeping your outdoor fabric looking great and extending its life is periodic cleaning followed by repellency treatment. Mildew can be a problem for any outdoor fabric. Mildew will not grow on a clean synthetic fabric. Combined with humidity, the dirt and debris, which accumulate on and in the fabric, create the ideal conditions for mildew propagation. Thus keeping outdoor fabric both clean and dry is essential to eliminate or minimize mildew growth.
* Brush surfaces with soft brush to remove soil.
* Soak with warm, soapy water (not to exceed 100 degrees Fahrenheit).
* Use a mild soap such as Ivory, or Dawn. Do not use detergents, abrasives or cleaners.
* Rinse fabric thoroughly after cleaning.
* Let fabric air dry after rinsing
* Do not machine dry.

Treating your Fabric
* Before “retreating” or “protecting” a fabric, the fabric must be thoroughly cleaned. Fabric protector products bond most effectively to perfectly clean fabric. Anything not removed from the fabric will interfere with the bonding and performance of the product. All dirt, body oils, sweat, soap residue will impede bonding and performance.
* Do not over spray. Saturation is not necessary. The surface needs to be slightly damp, but not soaked. Two lighter coats are better than one heavy coat. An even coating is more likely with two applications. Let the first coating dry to the touch before applying the second – generally an hour.
* The quicker you can get a fabric protector product to dry, the better bonding and performance you will achieve. It is best to treat the fabrics in warm weather, such as a hot day in full sun.
* Maintenance is essential. You can lightly mist the surface every 6 months to check the water repellency. Friction will wear away product more quickly leaving the fabric unprotected. If this is the case, such areas can be spot treated to renew repellency.
* Just a note – Silicone water repellents are not true “fabric protectors”. While they do develop good repellency, they often retain a tackiness that attracts dirt. Silicone treated fabrics soil much more rapidly than untreated fabrics, have no resistance to oil based stains, and can make fabrics more difficult to clean once soiled.
Fabric Guard
Recommended as the best fabric protectant 303® High Tech Fabric Guard™ is a premium patented formula that restores fabrics lost water and stain repellency. Yearly maintenance with 303 Products will add to the life of your fabrics
Stainless Steel Parts And Accessories
NOTE: The protective wrap on stainless steel parts is best removed at room temperature. A hair dryer may be helpful.
Cleaning Stainless Steel
Stainless steel tends to oxidize or stain in the presence of chlorides and sulfides, particularly in coastal areas and other harsh environments, such as the warm, highly humid atmosphere around pools and hot tubs. These stains could be perceived as rust, but can be easily removed or prevented. To provide stain prevention and removal, wash all stainless steel surfaces every 3-4 weeks or as often as required with fresh water and/or stainless steel cleaner.
Notes on Cleaning Stainless Steel Surfaces: Do not use abrasive cleaners or steel wool on any painted, or stainless steel parts. Doing so will scratch the finish. Exterior surfaces should be cleaned with warm soapy water. Use a stainless steel or a non-abrasive cleaner. Always wipe in the direction of the grain.
Over time, stainless steel parts discolor when heated, usually to a golden or brown hue. This discoloration is normal and does not affect the performance of the appliance.
Kingsman Outdoor Fire Pit Media Section
MEDIA REQUIREMENTS OPTIONS: (When not using LOGC85 Log Set)
20 LBS of Glass Required for Fire Pits, if using the Fire Bowl add an additional 10-15LBS of Glass.
One bag of MQSTONE may be used for the Fire Pit, if using the Fire Bowl an additional bag may be used.
One [10LB] bag of 1/4″ Lava Rock is required for the Fire Pit and an additional [10LB] bag for the Fire Bowl (2-10LB bags of 1/4″ Lava Rock are supplied with Fire Bowl) may be used to fill the entire Bowl with the same material.
REQUIRED AMOUNT OF MEDIA | |||
ACCESSORY ITEM | FP2785T Rectangular Fire Pit | FP2085T Round Fire Pit Only | FP2085T Round Fire Pit with Fire Bowl |
ROCKS | |||
| *MLR1410 – 1/4″ Lava Rock 10 LBS | 10 LBS (1 BAG) | 10 LBS (1 BAG) | 20 LBS *(2 BAGS) |
*Fire Bowl Includes: ¼” Lava Rock – 10LBS
-MQ DEALERS ONLY- | |||
| MQSTONE – Decorative Stones | 1 BAG | 1 BAG | 2 BAGS |
NOTE: The MQSTONE requires a Glass or Lava Rock Base. | |||
GLASS | |||
| MQG5W -1/2” White Glass 5LBS | 20LBS (4 BAGS) | 20LBS (4 BAGS) | 30-35LBS (6-7 BAGS) |
| MQG5C – 1/2”Bronze Glass 5LBS | 20LBS (4 BAGS) | 20LBS (4 BAGS) | 30-35LBS (6-7 BAGS) |
| MQG5A – 1/2”Cobalt Blue Glass 5LBS | 20LBS (4 BAGS) | 20LBS (4 BAGS) | 30-35LBS (6-7 BAGS) |
| MQG5B -1/2” Black Glass 5LBS | 20LBS (4 BAGS) | 20LBS (4 BAGS) | 30-35LBS (6-7 BAGS) |
| MQG10C – 1/4″ Reflective Bronze Glass 10 LBS | 20LBS (2 BAGS) | 20LBS (2 BAGS) | 30-35LBS (3-4 BAGS) |
| MQG10B – 1/4″ Black Glass 10 LB | 20LBS (2 BAGS) | 20LBS (2 BAGS) | 30-35LBS (3-4 BAGS) |
Media Examples Shown Below.

FP2085T Without Media

¼” Lava Rock (1 Bag – 10LBS)

¼” Lava Rock & ¾” Lava Rock (Supplied with Fire Pit).
(1/4” Lava Rock is used as Base.)

¼” Reflective Bronze Glass – (20LBS)

MQSTONE with ¼” Lava Rock Base – (10LBS)

MQSTONE with ¼” Bronze Glass Base – (20LBS)
NOTE: MQSTONE Requires a Glass or Lava Rock Base.
OPERATING INSTRUCTIONS
Upon completing the gas line connection, a small amount of air will be in the lines. When first lighting the burner, it will take a few minutes for the lines to purge themselves of this air. Once the purging is complete, the burner will light and operate as indicated in the instruction manual. Subsequent lighting of the appliance will not require such purging.
WARNING: Read and follow the Safety and Lighting Instructions page in this manual and on labels on the appliance. IF YOU DO NOT FOLLOW THESE INSTRUCTIONS PRECISELY, A FIRE OR EXPLOSION MAY RESULT AND YOU MAY BE SERIOUSLY INJURED!
MAINTENANCE INSTRUCTIONS
- The appliance should be inspected before initial use and inspected and cleaned at least annually by a qualified field service person.
- Tampering is DANGEROUS and voids all warranties. If the burner or any other component is found to be faulty, it must be replaced prior to operation of the appliance with an approved component. Replacement burner must be as specified in the manual.
- To obtain proper operation, it is imperative that the burner flame characteristics are steady, not lifting or floating. Check the burner flame patterns with Log Placement Instructions Section.
- Periodically remove the logs and examine the burner. If dirty, clean with a soft brush. Also examine the area around the burner air shutter. Any dirt or lint in this area should be removed. This will ensure long life and trouble free operation. Re-install the logs as shown in the log placement instructions. When the appliance is put back in service, check the burner flame patterns with Log Placement Instructions Section.
- Periodically check the hose connecting the LP-gas cylinder to ensure it is not damaged in any way.
HIGH ELEVATION INSTALLATION
U.L. Listed gas fireplaces are tested and approved for elevations from 0 to 4,500 feet in Canada and U.S.A.
When installing this fireplace at an elevation above 4,500 feet (in Canada), check with local authorities.
Consult your local gas utility for assistance in determining the proper orifice for your location.
CLEANING
It is recommended to annually inspect and clean the unit to prevent malfunction and / or sooting. This operation should be performed by your dealer or a qualified technician. Carefully remove media (log set, Rocks, Glass, etc.). Gloves are recommended.
Warning: Turn off Unit and allow to cool before cleaning. Only a qualified service technician should service and repair appliance.
- Do not use cleaning fluids to clean logs.
- Use a soft bristle brush or a vacuum with brush attachment.
- Vacuum loose particles and dust from burner and valve
- Inspect Burner Plate, Pilot, Valve, and Mixing Sleeve for spider webs or other blockages.
- Replace media. Refer to the appropriate page in this manual for proper placement of contents, such as logs.
Safety Information and Manual Lighting Instructions
FOR YOUR SAFETY READ BEFORE LIGHTING
WARNING: If you do not follow these instructions exactly, a fire or explosion may result causing property damage, personal injury or loss of life.
A. This appliance must be lit by hand. When lighting, follow these instructions exactly.
B. Before LIGHTING, smell all around the appliance area for gas. Be sure to smell next to the floor, because some gas is heavier than air and will settle on the floor.
C. Use only your hand to turn the gas control knob or valve. Never use tools. If the valve will not turn by hand, don’t try to repair it, call a qualified service technician. Force or attempted repair may result in a fire or explosion.
D. Do not use this appliance if any part has been underwater. Immediately call a qualified service technician to inspect the appliance, and to replace any part which has been underwater.
WHAT TO DO IF YOU SMELL GAS
• Do not try to light any appliance.
• Do not touch any electric switch; do not use any phone in your building.
•Immediately call your gas supplier from a neighbor’s phone. Follow the gas supplier’s instructions.
• If you cannot reach your gas supplier, call the fire department.
- STOP! Read the safety information above.
- Remove the top cover.
- Find the manual gas control valve and push button igniter.
- Turn ON gas supply.
- Push and hold the button on the igniter and ensure sparking is occurring at the probes inside the burner tray.
- Push in and turn the valve knob ON .
- Gas should ignite within 10 seconds or less. If the burner does not light turn the gas to off.
- Wait at least five (5) minutes to clear out any gas. Then smell for gas, including near the floor. If you smell gas, STOP!
- If you don’t smell gas, repeat step 4.
To Turn Off Gas Appliance
- Turn the on/off valve to the off position at the unit for natural gas unit. For LP unit, turn the on/off valve to the off position at the unit and then turn the valve on the LP tank to the off position clockwise.
- Replace the top cover.
FP2085T & FP2785T – Plumbing Parts

| Part | Description | |
| 1. | 24OB-PHPD6 | Valve Knob – Black |
| 2. | 24OB-PBS190 | Manual Valve |
| 3. | 27FP-P336C | 3/8” Tube OD x 3/8” Male Pipe |
| 4. | 27FP-P101C | Forged Tee 3/8” FPT |
| 5. | 1000-P202VE | Bushing 3/8” NPT x 1/8” FPT |
| 6. | 30FPB-P118A | Brass Manometer Plug, 1/8” NPT |
| 7. | 42MCV-P16FF 42ZCV-P3810 | 3/8” Stainless Steel Flex Connector -16” (Qty 2 for FP2085NT, Qty 1 for FP2085LPT) 3/8” Stainless Steel Flex Connector -10” (Qty 1 for FP2785LPT-FL) |
| 8. | 24OB-PHP1003 | Thermocouple |
| 9. | 4000-P963VE | 3/8 Tube OD x 3/8” Male Pipe |
| 10. | 27FP-P900FF | LP Reg & 5ft Hose (I4T60GRQC) Only supplied with FP2085LPT, FP2785LPT-FL |
| 11. | 24OB-102 | Orifice Retainer Bracket |
| 12. | 24OB-P152 | Push Button Igniter (AAA Battery not included) |
| 13. | 24OB-107A | Electrode Wire Assembly |
| 14. | 27FP-P904FF | 3/8” Tube OD x 1/8” MPT |
| 15. | 1000-255 | Brass Orifice, NG or LP (Specify size) |
FP2085T / FP2785T Parts List
KINGSMAN FIRE PITS:
Listed for Canada and USA
| NUMBER | DESCRIPTION |
| FP2085NT | Round 20” Diameter – 61,800 BTU – Natural Gas c/w 10LBS ¾” Lava Rock |
| FP2085LPT | Round 20” Diameter – 65,000 BTU – Propane c/w 10LBS ¾” Lava Rock |
| FP2785LPT-FL | Rectangular 27” x 20” – 65,000 BTU – Propane c/w Cover& 10LBS ¾” Lava Rock, Flat Lid |
| LOG SET | |
| LOGC85 | Log Set – Four-piece Cast oak |
| MEDIA OPTIONS | |
| MLR1410 | Media – 1/4″ Lava Rock 10 lbs |
| MEDIA OPTIONS – MQ DEALER ONLY | |
| MQSTONE | Decorative Stones |
| MQG5W | Decorative Glass 1/2” White |
| MQG5A | Decorative Ember Glass 1/2” Cobalt Blue |
| MQG5C | Decorative Ember Glass – 1/2” Bronze |
| MQG5B | Decorative Ember Glass – 1/2” Black |
| MQG10C | Media – 1/4″ Reflective Bronze Glass 10 lbs |
| MQG10B | Media – 1/4″ Black Glass 10 lbs |
| FIRE PIT ACCESSORIES OPTIONS | |
| 27FP-113A | Cover for Rectangular Fire Pit |
| FP20COV | Cover for Round Fire Pit |
| 27FP-307 | Flat Lid for FP2785T |
| FP20SSRT | Stainless Steel Ring (Fits FP2085NT, FP2085LPT) |
| 24OBT-MANCP | Control Panel for FP2085NT/FP2085LPT Round Fire Pits in custom enclosures |
| OUTDOOR FIRE BOWLS FOR THE 2085T FIRE PIT Fire Bowl Includes Valve / Igniter Mount Box, 1/4 Lava Rock (20 Lbs.), Leg Extension, Filler Strip Ring and SS Flex Connector. Fire Pit not included. | |
| FPB32SGT | Fire Bowl-32” Diameter, Concrete, Smooth Grey, T Series |
| FPB30TBT | Fire Bowl – Textured Black |
| FPB30SGT | Fire Bowl – Smooth Grey |
| FPB30COVB | Cover for Fire Bowl – Charcoal |
| 30FPB-KEYT | Key Way Valve Kit for FPB32SGT Fire Bowl when using old FP2085N/LP Fire Pits |
| FPB30TRG | Trim Ring – Charcoal |
| KINGSMAN FIRE PITS REPLACEMENT PARTS | |
| 24OB-PBS190 | Gas Valve |
| 24OB-PHPD6 | Valve Knob – Black |
| 24OB-PHP1003 | Thermocouple |
| 24OB-P152 | Push Button Igniter (AAA Battery Not Included) |
| 24OB-107A | Electrode c/w Wire Assembly |
| 27FP-900FF | LP Reg & 5ft Hose (I4T60GRQC) |
| 42 MCV-P16FF | SS Gas Connector 16” |
| 27FP-P904FF | Brass Connector 48-6A |
| 27FP-P486D | Connector 3/8 to ½ 48-6D |
| 1000-255 | Brass Orifice |
| 27FP-115 | Gasket |
LIMITED WARRANTY

Save this certificate. It gives you specific legal rights, and you may also have other rights which may vary from one province or state to another.
In the event your unit needs servicing contact your dealer or contractor who installed or services your unit. When requesting service, please have the model and serial number from each unit readily available. If your dealer needs assistance, the distributor is available for support and we, in turn support the distributor’s efforts. Fill in the installation date and model and serial numbers of the unit in the space provided below and retain this limited warranty for your files.
GENERAL TERMS
This limited warranty applies only while the unit remains at the site of the original installation and only if the unit is installed inside the continental United States, Alaska, Hawaii and Canada. The warranty applies only if the unit is installed and operated in accordance with the printed instructions and in compliance with applicable installation, building codes and good trade practices.
This limited warranty further does not cover any scratches, dents, painted finishes, corrosion or discoloring by heat, abrasive and chemical cleaners, nor chipping on powder coated parts.
During the first year after installation, we will provide a replacement for any component part of your unit found to be defective in materials or workmanship. The part to be replaced must be returned to our distributor in exchange for the replacement part.
In lieu of providing a replacement part, we may, at our option, provide the distributor’s component purchase price from us or a credit equal to the distributor’s component purchase price from us toward the purchase of any new unit which we distribute. If a credit is given in lieu of a replacement part, the rating plate from the unit being replace must be submitted on a warranty claim and the unit being replaced must be made available to our distributor for disposition.
In establishing the date of installation for any purpose including determination of the starting date for the term of this limited warranty, reasonable proof of the original installation date must be presented*, otherwise the effective date will be based upon the date of manufacture plus thirty (30) days.
Any labor, material, freight and/or handling charges associated with any repair or replacement pursuant to this limited warranty will be your responsibility. In this warranty the word “installation” means original installation.
We will not be responsible for and you the user will pay for: (a) damages caused by accident, abuse, negligence, misuse, riot, fire, flood, or Acts of God (b) damages caused by operating the unit where there is a corrosive atmosphere containing chlorine, fluorine, or any other damaging chemicals (other than in a normal residential environment) (c) damages caused by any unauthorized alteration or repair of the unit affecting its stability or performance (d) damages caused by improper matching or application of the unit or the unit’s components (e) damages caused by failing to provide proper maintenance and service to the unit (f) any expenses incurred for erecting disconnecting or dismantling the unit (g) parts or supplies used in connection with service or maintenance (h) damage repairs, inoperation or inefficiency resulting from faulty installation or application (i) electricity or fuel costs or any increase in electricity or fuel cost whatsoever including additional or unusual use of supplemental electric heat.
We shall not be liable for any incidental, consequential, or special damages or expenses in connection with any use or failure of this unit. We have not made and do not make any representation or warranty of fitness for a particular use or purpose and there is no implied condition of fitness for a particular use or purpose. We make no express warranties except as stated in this limited warranty. No one is authorized to change this limited warranty or to create for us any other obligation or liability in connections with this unit. Any implied warranties shall last for one year after the original installation. Some states and provinces do not allow the exclusion or limitation of incidental or consequential damages or do not allow limitations on how long an implied Warranty or condition lasts so the above limitations or exclusions may not apply to you. The provisions of this limited warranty are in additions to and not a modification of or subtraction from any statutory warranties and other rights and remedies provided by law.
Model No.:____________________ Serial No.:_________________
Date Installed: __________________
*You must retain the original records that can establish the installation date of your unit.




























