TRUPER SCI-14E Band Saw

Product Information
The product is a Band Saw with a power of 1 Hp. It is identified by the model code SCI-14E and the code number 16458. The cutting band has a size of 93 1/2 x 3/8 (4 tpi-teeth per inch). The band saw operates on a voltage of either 127 V or 220 V with a frequency of 60 Hz. The current consumption is 8.8 A for 127 V and 4.7 A for 220 V. The band saw
has a power of 1 HP and operates at two different band speeds: 1440 ft/min and 2953 ft/min. The work cycle is 120 minutes of work per 30 minutes of rest, with a daily maximum of 6 hours. The band saw falls under Class I insulation.
Product Usage Instructions
- Before using the tool, read the manual thoroughly to understand the safety warnings and instructions.
- Ensure that the power requirements are met. The band saw operates on either 127 V or 220 V, depending on the power source available.
- To prevent electric shock, ensure that the tool is properly grounded. If the outlet is not properly grounded, use a temporary adapter and connect the ground conductor as shown in example B.
- When using an extension cable, check that the gauge is sufficient for the power required by the tool. Refer to the table provided in the manual to determine the appropriate gauge based on the cable length and ampere capacity.
- When using the band saw outdoors, use a grounded extension cable labeled for outdoor use to reduce the risk of electric shock.
- Keep the work area clean and well-lit to avoid accidents.
- Follow the assembly instructions provided in the manual before using the tool.
- Make necessary adjustments to the band saw before starting it up.
- Regular maintenance of the band saw is important to ensure its optimal performance and longevity. Refer to the maintenance section in the manual for detailed instructions.
- In case of any issues or troubleshooting needs, refer to the troubleshooting section in the manual for guidance.
- Keep the manual for future reference and contact authorized service centers for any warranty-related queries or repairs.
CAUTION
To gain the best performance of the tool, prolong the duty life, make the Warranty valid if necessary, and to avoid hazards of fatal injuries please read and understand this Manual before using the tool.
Keep this manual for future references.
The illustrations in this manual are for reference only. They might be different from the real tool.
Technical Data

WARNING Avoid the risk of electric shock or severe injury. When the power cable gets damaged it should only be replaced by the manufacturer or at a Authorized Service Center. The build quality of the electric insulation is altered if spills or liquid gets into the tool while in use. Do not expose to rain, liquids and/or dampness.
WARNING Before gaining access to the terminals all power sources should be disconnected.
Power Requirements

WARNING To prevent electric shock, the tool shall be grounded while in use.
- Connect the plug into a correctly grounded outlet as shown in example A. Not all the outlets are properly grounded. If in doubt, verify with a qualified electrician.
- If the outlet where you will connect the tool has two poles (2 orifices). UNDER ANY CIRCUMSTANCE, DO NOT REMOVE OR B ALTER THE PLUG’S GROUND CONNECTOR. Use a temporary adaptor as shown in example B and always connect the ground conductor lug as shown.
CAUTION
When using an extension cable, verify the gauge is enough for the power that the tool needs. A lower gauge cable will cause voltage drop in the line, resulting in power loss and the motor will overheat. The following table shows the right size to use depending on cable’s length and the ampere capability shown in the tool’s nameplate. When in doubt use the next higher gauge.

WARNING When using power tools outdoors use a grounded extension cable labeled “Outdoors Use”. These extension cables are specially manufactured for outdoors use and reduce the risk of electric shock.
Safety warnings for electric tools
WARNING! Read carefully all safety warnings and instructions listed below. Failure to comply with any of these warnings may result in electric shock, fire and / or severe damage. Save all warnings and instructions for future references.
Work area
- Keep your work area clean, and well lit.
- Cluttered and dark areas may cause accidents.
- Never use the tool in explosive atmospheres, such as in the presence of flammable liquids, gases or dust.
- Sparks generated by power tools may ignite the flammable material.
- Keep children and bystanders at a safe distance while operating the tool.
- Distractions may cause loosing control.
Electrical Safety
- The tool plug must match the power outlet. Never modify the plug in any way. Do not use any adapter plugs with grounded power tools.
- Modified plugs and different power outlets increase the risk of electric shock.
- Avoid body contact with grounded surfaces, such as pipes, radiators, electric ranges and refrigerators.
- The risk of electric shock increases if your body is grounded.
- Do not expose the tool to rain or wet conditions.
- Water entering into the tool increases the risk of electric shock.
- Do not force the cord. Never use the cord to carry, lift or unplug the tool. Keep the cord away from heat, oil, sharp edges or moving parts.
- Damaged or entangled cords increase the risk of electric shock.
- When operating a tool outdoors, use an extension cord suitable for outdoor use.
- Using an adequate outdoor extension cord reduces the risk of electric shock.
- If operating the tool in a damp location cannot be avoided, use a ground fault circuit interrupter (GFCI) protected supply.
- Using a GFCI reduces the risk of electric shock.
Personal safety
- Stay alert, watch what you are doing and use common sense when operating a tool. Do not use a power tool while you are tired or under the influence of drugs, alcohol or medication.
- A moment of distraction while operating the tool may result in personal injury.
- Use personal protective equipment. Always wear eye protection.
- Protective equipment such as safety glasses, anti-dust mask, non-skid shoes, hard hats and hearing protection used in the right conditions significantly reduce personal injury.

- Prevent unintentional starting up. Ensure the switch is in the “OFF” position before connecting into the power source and / or battery as well as when carrying the tool.
- Transporting power tools with the finger on the switch or connecting power tools with the switch in the “ON” position may cause accidents.
- Remove any wrench or vice before turning the power tool on.
- Wrenches or vices left attached to rotating parts of the tool may result in personal injury.
- Do not overreach. Keep proper footing and balance at all times.
- This enables a better control on the tool during unexpected situations.
- Dress properly. Do not wear loose clothing or jewelry. Keep hair, clothes and gloves away from the moving parts.
- Loose clothes or long hair may get caught in moving parts.
- If you have dust extraction and recollection devices connected onto the tool, inspect their connections and use them correctly.
- Using these devices reduce dust-related risks.
Power Tools Use and Care
- Do not force the tool. Use the adequate tool for your application.
- The correct tool delivers a better and safer job at the rate for which it was designed.
- Do not use the tool if the switch is not working properly.
- Any power tool that cannot be turned ON or OFF is dangerous and should be repaired before operating.
- Disconnect the tool from the power source and / or battery before making any adjustments, changing accessories or storing.
- These measures reduce the risk of accidentally starting the tool.
- Store tools out of the reach of children. Do not allow persons that are not familiar with the tool or its instructions to operate the tool.
- Power tools are dangerous in the hands of untrained users.
- Service the tool. Check the mobile parts are not misaligned or stuck. There should not be broken parts or other conditions that may affect its operation. Repair any damage before using the tool.
- Most accidents are caused due to poor maintenance to the tools.
- Use the tool, components and accessories in accordance with these instructions and the projected way to use it for the type of tool when in adequate working conditions.
- Using the tool for applications different from those it was designed for, could result in a hazardous situation.
Service
- Repair the tool in a Authorized Service Center using only identical spare parts.
- This will ensure that the safety of the power tool is maintained.
Children or people with reduced physical, sensory or mental capabilities shall not operate the tool, neither inexperienced people or without knowledge in the use of the tool, unless supervised by a person responsible of their safety or if receiving previous instructions about the tool operation.
Children shall be kept under supervision to double-check they will not play with the tool. Tight supervision shall be used with children or disabled persons to prevent from using or being close to any household tool.
This tool is in compliance with the Official Mexican Standard (NOM – Norma Oficial Mexicana).
Safety Warnings for Band Saws
Before operating the saw
- Get training from a qualified person familiar with the equipment and its functioning.
- In the event of having trouble to carry out any operation do not use the equipment. Contact the supervisor, instructor or service center immediately.
- Before unplugging and plugging in the equipment, set the power switch in the OFF position (see page 11, section Start Up).
- Before plugging in the equipment verify the cutting band is correctly mounted.
- Double check the band is honed, in good repair, with the right tension and alignment, free of oxide and tar.
- Before turning ON the equipment verify the cutting band is not making contact with the work piece.
- Close and secure both flywheel cabinets.
- All the parts shall be correctly installed.
- Adjust the upper cutting guide height to be set 0.15” over the work piece.
While operating the saw
- Keep your hands always away from the cutting band.
- Do not carry out any operation free-handedly. Use the support fence and the miter gauge as indicated in this Instructions Manual. To gain control over small pieces use push sticks and / or push blocks with the specifications shown in figure A.
- The work piece feeding direction shall always be against the band teeth and shall be carried out in a moderate and constant speed.
- Work pieces must have flat faces. Never work with warped or bent pieces nor having a rounded shape.
- Avoid positions or movements that could make your body or hands move towards the moving band.
- Turn OFF the machine and wait for the cutting band to stop completely before removing the remaining scrap pieces from the table.
- When a work piece requires more than one cut, turn OFF the equipment and wait until the cutting band comes to a complete stop before setting the work piece for further cuts.
- When cutting in an angle, with the help of the miter gauge remove the support fence out of the work piece trajectory.
- When cutting long curves, make support cuts previous to the final cut.

Kickback
- Prevent a kickback (when the work piece is thrown against the operator). Keep the band sharp, tight and properly aligned; the support fence parallel to the band and the cutting guide adjusted to 0.15” from the work piece. Do not let go the piece until it goes over the cutting band.
- Do not cut through the vein with warped or dished wood; or work piece not having a straight edge which prevents it from being guided along the guide.
- Double check you are not cutting wood with nails or screws.
Additional precautions
- When adjusting, replacing or manipulating the cutting band wear safety gloves to prevent injuries.
- The equipment shall only be operated by people with experience it the use of the machine or people duly trained.
- Wear a dust mask with the right flow of air adequate for the extraction of dangerous dusts.
- Wear hearing protection.
- The equipment may throw debris to your eyes while being operated causing severe or permanent damage. Always wear safety eyeglasses complying with ANSI Z87.1 Standard.
- Do not try to remove chips while the band is moving, and the equipment is ON.
- Do not try to stop the cutting band while the saw is running.
- Never stand up on the equipment.
WARNING
- DNG O NOT ASSEMBLE the equipment until being sure it is not connect and the power switch is OFF (see page 11, Start Up Section).
- DO NOT CONNECT the equipment to the power supply until fully assembled and after reading and understanding this Manual in full.
- When working with large work pieces that overhang out of the work table area, use adequate support to prevent losing control over the work piece.
- To be able to carry out good maintenance on the machine there shall be enough space around the machine.
- Work in a well-ventilated area and remove the saw dust frequently.
- Release the band tension when the saw is not going to be used for a long period of time.
Unpacking
Remove the packing material from the machine and fix it to the base before operating.
CAUTION
- Keep a free area of about 32” around the machine to give ample space to the work. When working long materials, there shall be enough space in the front and rear of the machine to be able to put in and remove the material with ease.
Parts

Assembly
Base
- Assemble the base parts tightening by hand the 24 sets of bolts and nuts as indicated in graphs 1 and 2.
- Once assembled tighten all the bolts using a wrench and set the door (3).
- Set the equipment onto the base and fix it with 4 sets of screws, washers and bolts as indicated in graph 4.

Work Table

- Use a 1/2” wrench to mount.
- Fix the trunnion joint (A) to the rear side of the saw using four sets of screws and washers.
NOTE o facilitate the next mounting steps we recommend setting the work table upside down. - Insert the screw (B) through the trunnion slot (C) and secure it temporarily with the butterfly nut (D).
- Fix the trunnion to the table (E) using four sets of screws and washers. Double check the scale ( of the table.
- Set the screw and stopper nut (F) in the lower side of the table.
- Turn the table upwards.
- Remove the butterfly nut (D1) from the screw (B1) and with the help of another person set the trunnion over the joint passing the screw trough the joint orifice (G).
- Secure the joint trunnion tightening the screw (B1) with the butterfly nut (D1).
- Lastly, set the insert (H) in the center of the table with the bevel facing down.
Band tension crank

- Use a 3/8” wrench and a flat screwdriver to mount.
- Set the handle ( I ) in the crank ( J ) securing it with two hex nuts as indicated in the graph.
Cutting Band

- The equipment is factory set with a general use band. In the event the job to carry out requires a different band, or the band is worn or damaged you will need to replace it.
CAUTION
- Double check the machine is OFF and disconnected from the power supply.
- Wear gloves to prevent injuries.
- Loosen the band tension knob (Q) counter clockwise.
- Open the two cabinets (R) to gain access to the cutting bands flywheel.
- Set the band passing it through the work table slot (S) and through the slot in the saw column (T). Make sure the band teeth passing through the table slot are pointing downwards and to the front.
- Set the band so that it runs through the center of both flywheels (U) and make it tight by slightly tightening the knob (Q).
- To verify where the band is passing through, turn the upper flywheel manually. To rectify the band pass through, turn the upper flywheel depth knob (V) in the rear side of the upper cabinet (see page 9).
- Close both cabinets.
WARNING
- Once the band is set and tense, it shall not touch any of the edges in the table slot or its insert. Otherwise, you need to adjust the table. With a 1/2” wrench loosen the 4 screws fixing the joint (A) in the lower cabinet. Move the table until the cutting band goes through the middle of the insert slot.
- With the help of a set square (B) verify the work table is 90° with regards to the cutting band. Adjust the stopper screw (C) to make contact with the cabinet by keeping the table 90°. Check the angle indicated by the pointer (D) is 0°. Otherwise, loosen the pointer screw and adjust to 0°.

Guide rail and support fence

- Once the cutting band has been mounted, the guide rail can be set (D) in the front edge of the work table using the four sets of butterfly screws and washers.
- Engage the brake (E) in the rail passing the screw elongated washer F through the rail chute. Pass the screw through the brake orifice and secure with the butterfly washer (G).
- Set the defense (H) in the brake (E) by means of both knobs ( I ).
- Lastly, set the blocking knob ( J ) in the brake.
- To adjust the rail scale, loosen the four butterfly screws and travel the rail as indicated in graph K. Once the zero in the scale is matching the cutting band trajectory, tighten the four screws again.
Miter guide

- Mount the miter guide (L) in the work place, sliding its lower bar in any of the two slots in the table.
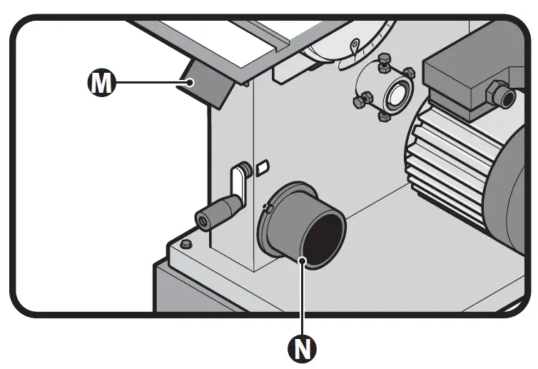
Dust expellers

CAUTION
Working with the saw may generate dangerous dust. Also, sawdust and chips combined with an ignition source could catch fire or generate explosions, injuries or allergy.
- The equipment has two dust extraction ports. One is 4” (M) and the other is 25” (N). When the equipment is in use, it is recommended to have the equipment connected to an adequate dust collector.
Adjustments
Tension knob
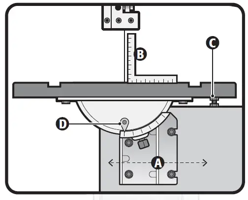
- The tension knob (A) lowers and lifts the upper flywheel to control tension in the cutting band. To loosen the band tension turn the knob in a counter clockwise direction and the tension indicator (B) will go down. To tighten the band tension, turn the knob in a clockwise direction and the tension indicator will go up.

Depth knob
- The depth knob (C) pushes and pulls the upper flywheel to perfectly center the cutting band.
- Once the band is set and tense, with your hand turn the upper flywheel in a clockwise direction to verify the band runs in the center of the flywheel.
- If the band is not centered in the flywheel loosen the butterfly nut (C1) and turn the knob (C) until the band is centered.
- Once the band is centered, secure the depth knob with the butterfly nut.
Cutting guide height
- Loosen the knob (D) to adjust the cutting guide height (E). The guide shall be set in 0.15” distance from the work piece.
- Tighten the knob to fix the cutting guide height.
Speed change

- The equipment can work in two speeds: 1440 ft / min for hard wood, some plastics and some non-ferrous metals and 2953 ft / min for the rest of woods.
- Turn OFF and disconnect the equipment before changing speeds.
- To change speeds, first loosen the tension screw (F) by means of the crank (G). This loosens the band (H) to be set it in the adequate position in the flywheel pulleys ( I ) and those in the motor ( J ).
- Remove the lower flywheel and set up the band.
- For high speed (2953 ft / min), the band shall be set in the rear pulleys both in the motor and the flywheel.
- For low speed (1440 ft / min), the band shall be set in the front pulleys, both in the motor and the flywheel.
Cutting angle adjustment

- To make bevel cuts, modify the work table angle loosening the cutting angle blocking knob (F).
- Tilt the work table to get into the desired angle, signaled with the pointer (G).
- Tighten firmly the cutting angle blocking knob.
- CAUTION
Make sure the knob is firmly tightened before making miter cuts
Band Guides

- To assure clean cuts and optimal performance of the saw, the cutting band shall run through the cutting guides (upper and lower).
- These guides are made with a bearing system that keep the cutting band in place while making the cut. The bearings are set on the sides and in the rear of the cutting band.
- The bearings (A) are secured with an Allen screw (B) that can be loosened to adjust each bearing position.
- Both guides (upper and lower) have a hexagonal head screw (C) to bring over or move away the band bearings system from the cutting band depending of the band size.
- It is important that the bearings are set 1/16” behind the cutting teeth as indicated in graph (D) to prevent vibration or wear in the cutting band. Otherwise, to adjust, loosen the hexagonal screws (C) to make the guides travel to the right distance. Then, tighten the screws to secure.
- After this adjustment, verify all the bearings (in rear and in the sides) are separated 1/32” away from the band. Otherwise, adjust by loosening the bearing Allen screw. Make it travel to the right distance in the band and tighten the Allen screw to secure the position.

CAUTION
- Prevent the band travel is making contact with the bearings. The friction generated would be counterproductive for the band and the cutting bands.
- Once all the adjustments are carried out, the separation distance between the saw and the slot edge shall be 1/2”. There has to be no contact or friction between the saw and the slot profile.

Miter guide

- The miter guide can be adjusted to ±60° depending on the job to be carried out.
- Loosen the miter guide knob (A) to adjust the angle.
- Tighten the knob firmly once the miter guide is set in the angle you need, signaled with the pointer (B).
Support Fence
- Depending of the job to carry out, the support fence can travel to get closer or far away from the cutting band.
- To release the defense, loosen the butterfly nut (C) and set the defense into the desired position. Tighten the nut to secure the defense in place

Start Up
Motor wiring
- Before connecting the saw into the power supply, verify the connection according to the voltage supply (127 V~/ 220 V~). The saw has four motor wires connected to operate with 127 V~ as shown in graph (A). To operate the saw with 220 V~ change the cables set up as shown in graph (B).

Turning ON
- The saw is built with a locking switch to prevent unauthorized use. If the machine will be idle for a long period of time and third parties especially children could try use it, set a pin or lock.
- Lift the STOP lever and then press the button ( I ) to turn ON the saw.
- Lower the STOP lever to turn OFF the saw.


Operation
- Keep in mind the band cuts in a continuous descendent run.
- Using both hands, hold the work piece firmly on the table and slowly feed it towards the band. Keep your hands away from the band.
- For better results the band shall be honed. A dull band will not cut correctly, especially straight cuts and will exercise pressure in the rear guide bearings.
- Select the right band suitable for the job, depending on the wood thickness and type of cut to work with. The thinner and hard the wood is, the band teeth shall be finer. Use a fine teeth band for sharp curve cuts.
- The machine is especially designed to make curved or straight cuts.
- When cutting, follow the design marked and only pushing and rotating the work piece in a uniform manner.
- Do not try to turn the work piece by pushing it. The work piece will get stuck or the band will bend.
- To make straight cuts use the support fence to slowly feed the work piece towards the band in contact with the fence.
Cutting band replacement
- Use 6 teeth per inch (tpi*) for wood or soft materials. Use 14 teeth per inch (tpi*) for harder materials. Remember, 14 teeth per inch (tpi*) cuts slower because the teeth are finer and the cutting operation is slower. *teeth per inch.
Maintenance
Cleansing and Lubrication
- Turn OFF and disconnect the saw.
- Remove all the dust using a hard-brittle brush and a vacuum cleaner. Pay attention to the mechanisms and the motor air vents.
- Apply dry graphite lubricant or silicon in the mechanism.
CAUTION
Do not use oil or grease because it would accumulate saw dust and can hinder the function of the mechanism.
- The motor bearings are factory sealed and lubricated. Do not require additional lubrication.
Service
Servicing the saw can only be carried out by Authorized Service Center staff. Service and maintenance carried out by non-qualified personnel may be dangerous and could cause personal injuries and makes Warranty void.
Troubleshooting
Problem: Cause: Solution
- The machine is not functioning when turned ON.
- No power supply.
- The power cable is defective.
- Check and look for any tear in the cable.
- Go to a Authorized Service Center to repair.
- The band is not moving when the motor is running.
- The band tension knob is not tight.
- The tape got loose from one of the flywheels.
- The saw band is broken.
- The direction band is broken.
- Turn OFF the motor and tighten the band tension knob.
- Open the cabinets and check the band setup.
- Replace the saw band.
- Replace the direction band.
- The band is not cutting in a straight line.
- The support defense is not being used.
- The feeding rhythm is too fast.
- The band teeth are dull or damaged.
- The band guides are not properly adjusted.
- Use the support defense.
- Feed the work piece slowly and using moderate and constant pressure to prevent the band from bending.
- Replace the band with a new one.
- Adjust the band guides (see page 10).
- The band is not cutting, or it cuts too slowly.
- The teeth are dull.
- The band is mounted backwards.
- Replace the band (see page 7).
- Set the band correctly.
- Dust accumulates inside the machine.
- This is due to normal use.
- Clean the machine regularly. Open the cabinets and remove dust with a vacuum cleaner and a brush.
- This is due to normal use.
- Dust inside the motor cover.
- This is due to normal use.
- Clean the motor vent using a vacuum cleaner.
- Remove dust constantly to prevent dust entering inside the cover.
- This is due to normal use.
- The machine is not cutting 45° or 90° angles.
- The table is not set in the right angles with regards to the band.
- The band is dull or there was too much pressure on the work piece.
- Adjust the table (see page 8).
- Replace the band or exercise less pressure on the work piece.
- The band cannot be set in the right manner in the flywheels.
- The flywheels are crooked.
- The flywheel alignment knob has not been adjusted right.
- The band is defective.
- Go to a Authorized Service Center to repair.
- Adjust the knob (see page 9).
- Replace with a new band.
In the event of any problem contacting a Truper Authorized Service Center, please see our webpage www.truper.com to get an updated list, or call our toll-free numbers 800 690-6990 or 800 018-7873 to get information about the nearest Service Center.
AGUASCALIENTES
DE TODO PARA LA CONSTRUCCIÓN
GRAL. BARRAGÁN #1201, COL. GREMIAL, C.P. 20030, AGUASCALIENTES, AGS. TEL.: 449 994 0537
BAJA CALIFORNIA
SUCURSAL TIJUANA
AV. LA ENCANTADA, LOTE #5, PARQUE INDUSTRIAL EL FLORIDO II, C.P 22244, TIJUANA, B.C.
TEL.: 664 969 5100
BAJA CALIFORNIA SUR
FIX FERRETERÍAS
FELIPE ÁNGELES ESQ. RUIZ CORTÍNEZ S/N, COL. PUEBLO NUEVO, C.P. 23670, CD. CONSTITUCIÓN, B.C.S.
TEL.: 613 132 1115
CAMPECHE
TORNILLERÍA Y FERRETERÍA AAA
AV. ÁLVARO OBREGÓN #324, COL. ESPERANZA
C.P. 24080 CAMPECHE, CAMP. TEL.: 981 815 2808
CHIAPAS
FIX FERRETERÍAS
AV. CENTRAL SUR #27, COL. CENTRO, C.P. 30700, TAPACHULA, CHIS. TEL.: 962 118 4083
CHIHUAHUA
SUCURSAL CHIHUAHUA
AV. SILVESTRE TERRAZAS #128-11, PARQUE INDUSTRIAL BAFAR, CARRETERA MÉXICO CUAUHTÉMOC, C.P. 31415, CHIHUAHUA, CHIH. TEL. 614 434 0052
CIUDAD DE MÉXICO
FIX FERRETERÍAS
EL MONSTRUO DE CORREGIDORA, CORREGIDORA # 35, COL. CENTRO, C.P. 06060, CUAUHTÉMOC, CDMX.
TEL: 55 5522 5031 / 5522 4861
COAHUILA
SUCURSAL TORREÓN
CALLE METAL MECÁNICA #280, PARQUE INDUSTRIAL ORIENTE, C.P. 27278, TORREÓN, COAH.
TEL.: 871 209 68 23
COLIMA
BOMBAS Y MOTORES BYMTESA DE MANZANILLO BLVD. MIGUEL DE LA MADRID #190, COL. 16 DE SEPTIEMBRE, C.P. 28239, MANZANILLO, COL.
TEL.: 314 332 1986 / 332 8013
DURANGO
TORNILLOS ÁGUILA, S.A. DE C.V.
MAZURIO #200, COL. LUIS ECHEVERRÍA, DURANGO, DGO.TEL.: 618 817 1946 / 618 818 2844
ESTADO DE
MÉXICOSUCURSAL CENTRO JILOTEPEC
PARQUE INDUSTRIAL # 1, COL. PARQUE INDUSTRIAL JILOTEPEC, JILOTEPEC, EDO. DE MÉX. C.P. 54257
TEL: 761 782 9101 EXT. 5728 Y 5102
GUANAJUATO
CÍA. FERRETERA NUEVO MUNDO S.A. DE C.V.
AV. MÉXICO – JAPÓN #225, CD. INDUSTRIAL, C.P. 38010, CELAYA, GTO. TEL.: 461 617 7578 / 79 / 80 / 88
GUERRERO
CENTRO DE SERVICIO ECLIPSE
CALLE PRINCIPAL MZ.1 LT. 1, COL. SANTA FE, C.P. 39010, CHILPANCINGO, GRO. TEL.: 747 478 5793
HIDALGO
FERREPRECIOS S.A. DE C.V.
LIBERTAD ORIENTE #304 LOCAL 30, INTERIOR DE PASAJE ROBLEDO, COL. CENTRO, C.P. 43600, TULANCINGO, HGO. TEL.: 775 753 6615 / 775 753 6616
JALISCO
SUCURSAL GUADALAJARA
AV. ADOLFO B. HORN # 6800, COL: SANTA CRUZ DEL VALLE, C.P.: 45655, TLAJOMULCO DE ZUÑIGA, JAL.
TEL.: 33 3606 5285 AL 90
MICHOACÁN
FIX FERRETERÍAS
AV. PASEO DE LA REPÚBLICA #3140-A, COL.
EX-HACIENDA DE LA HUERTA, C.P. 58050, MORELIA, MICH. TEL.: 443 334 6858
MORELOS
FIX FERRETERÍAS
CAPITÁN ANZURES #95, ESQ. JOSÉ PERDIZ, COL. CENTRO, C.P. 62740, CUAUTLA, MOR.
TEL.: 735 352 8931
NAYARIT
HERRAMIENTAS DE TEPIC
MAZATLAN #117, COL. CENTRO, C.P. 63000, TEPIC, NAY. TEL.: 311 258 0540
NUEVO LEÓN
SUCURSAL MONTERREY
CARRETERA LAREDO #300, 1B MONTERREY PARKS, COLONIA PUERTA DE ANÁHUAC, C.P. 66052, ESCOBEDO, NUEVO LEÓN, TEL.: 81 8352 8791 / 81 8352 8790
OAXACA
FIX FERRETERÍAS
AV. 20 DE NOVIEMBRE #910, COL. CENTRO, C.P. 68300, TUXTEPEC, OAX. TEL.: 287 106 3092
PUEBLA
SUCURSAL PUEBLA
AV PERIFÉRICO #2-A, SAN LORENZO ALMECATLA,
C.P. 72710, CUAUTLACINGO, PUE.
TEL.: 222 282 8282 / 84 / 85 / 86
QUERÉTARO
ARU HERRAMIENTAS S.A DE C.V.
AV. PUERTO DE VERACRUZ #110, COL. RANCHO DE ENMEDIO, C.P. 76842, SAN JUAN DEL RÍO, QRO.
TEL.: 427 268 4544
QUINTANA ROO
FIX FERRETERÍAS
CARRETERA FEDERAL MZ. 46 LT. 3 LOCAL 2, COL EJIDAL, C.P. 77710 PLAYA DEL CARMEN, Q.R.
TEL.: 984 267 3140
SAN LUIS
FIX FERRETERÍAS
AV. UNIVERSIDAD #1850, COL. EL PASEO, C.P. 78320, SAN LUIS POTOSÍ, S.L.P. TEL.: 444 822 4341
SINALOA
SUCURSAL CULIACÁN
AV. JESÚS KUMATE SUR #4301, COL. HACIENDA DE LA MORA, C.P. 80143, CULIACÁN, SIN.
TEL.: 667 173 9139 / 173 8400
SONORA
FIX FERRETERÍAS
CALLE 5 DE FEBRERO #517, SUR LT. 25 MZ. 10, COL. CENTRO, C.P. 85000, CD. OBREGÓN, SON.
TEL.: 644 413 2392
TABASCO
SUCURSAL VILLAHERMOSA
CALLE HELIO LOTES 1, 2 Y 3 MZ. #1, COL. INDUSTRIAL, 2A ETAPA, C.P. 86010, VILLAHERMOSA, TAB.
TEL.: 993 353 7244
TAMAULIPAS
VM ORINGS Y REFACCIONES
CALLE ROSITA #527 ENTRE 20 DE NOVIEMBRE Y GRAL. RODRÍGUEZ, FRACC. REYNOSA, C.P. 88780, REYNOSA, TAMS. TEL.: 899 926 7552
TLAXCALA
SERVICIOS Y HERRAMIENTAS INDUSTRIALES PABLO SIDAR #132, COL . BARRIO DE SAN BARTOLOMÉ, C.P. 90970, SAN PABLO DEL MONTE, TLAX.
TEL.: 222 271 7502
VERACRUZ
LA CASA DISTRIBUIDORA TRUPER
BLVD. PRIMAVERA. ESQ. HORTENSIA S/N, COL. PRIMAVERA C.P. 93308, POZA RICA, VER.
TEL.: 782 823 8100 / 826 8484
YUCATÁN
SUCURSAL MÉRIDA
CALLE 33 #600 Y 602, LOCALIDAD ITZINCAB Y MULSAY, MPIO. UMÁN, C.P. 97390, MÉRIDA, YUC.
TEL.: 999 912 2451
Warranty policy
Code : Model
- 16458 SCI-14E
Warranty. Duration: 5 year. Coverage: parts, components and workmanship against manufacturing or operating defects, except if used under conditions other than normal; when it was not operated in accordance with the instructive; was altered or repaired by personnel not authorized by Truper®. To make the warranty valid, only present the product in the establishment where you bought it or in Corregidora 35, Centro, Cuauhtémoc, CDMX, 06060, where you can also purchase parts, components, consumables and accessories. The costs of transportation of the product that derive from its fulfillment of its service network are included. Truper will not require any proof of purchase to make the warranty effective. Phone number 800-018-7873. Made in China. Imported by Truper, S.A. de C.V. Parque Industrial 1, Parque Industrial Jilotepec, Jilotepec, Edo. de Méx.
C.P. 54257, Phone number 761 782 9100.
Stamp of the business. Delivery date:


















