![]()
Induction Cooktops
Instruction Book – GLINDPS and GLINDBG
Glem Gas After Sales Service 1 300 307 917
A NOTE FROM GLEM GAS
Thank you for the purchase of one of our induction cooktops.
We have tried to include everything you need to know about the operation and installation of your induction cooktop in this book. It is important that all installation requirements are met. For example the cut out must be precise and the electrical connection correct because we do not offer warranty for installations where these requirements are not met.
If you are in any doubt about anything call After Sales Service on 1 300 307 917.
Glem Gas endorses a safe kitchen
At Glem Gas we are very safety conscious and we have developed our cooktops with your safety as the most important consideration. Please take time to read through this manual and always take care when using an electrical appliance. Keep these instructions handy for future reference.
Remove all packaging and dispose of properly.
SAFETY WARNINGS
Installation
Model GLINDPS has the advantage of a simple plug in connection but it still needs installation by a qualified installer and electrician. Your home must have the power capacity to power the induction cooktop. An electrician will be able to determine if the cooktop installation is appropriate. Warranty will be void should this not be determined during installation of the GLINDPS
Model GLINDBG must be connected by a qualified electrician, and you will need to retain proof for future service or warranty requirements.
Installation – Electrical shock hazard
- Disconnect the appliance from the main electricity supply before carrying out work or maintenance.
- Connection to a good earth wiring system is essential and mandatory.
- Alterations to the domestic wiring system must only be made by a qualified electrician.
- Failure to follow this advice may result in electrical shock or death.
Cut Hazard
- Take care – panel edges are sharp.
- Failure to use caution could result in injury or cuts.
Important Safeguards
- Read these instructions carefully before installing or using this appliance.
- No combustible material or products should be placed on this appliance at any time.
- Please make this information available to the person responsible for installing the appliance as it could reduce your installation costs.
- In order to avoid a hazard, this appliance must be installed according to these instructions for installation.
- This appliance must be properly installed and earthed by a suitably qualified person.
- This appliance should be connected to a circuit which incorporates an isolating switch providing full disconnection from the power supply.
- Failure to install the appliance correctly could invalidate any warranty or liability claims.
Operation and Maintenance
Electrical Shock Hazard
- Do not cook on a broken or cracked hob. If the hob surface is broken or cracked, switch the appliance off immediately at the mains power supply (wall switch) and contact a qualified technician.
- Switch the hob off at the wall before cleaning or maintenance.
- Failure to follow this advice may result in electrical shock or death.
Health Hazard
- This appliance complies with electromagnetic safety standards.
Hot Surface Hazard
- During use, accessible parts of this appliance will become hot enough to cause burns.
- Do not let your body, clothing or any item other than suitable cookware contact the ceramic glass until the surface is cool.
- Metallic objects such as knives, forks, spoons and lids should not be placed on the hob surface since they can get extremely hot.
Keep children away.
- Handles of saucepans may be hot to touch. Check that saucepan handles do not overhang other cooking zones that are on. Keep handles out of reach of children.
- Failure to follow this advice could result in burns and scalds.
Cut Hazard
- The razor-sharp blade of a cooktop scraper is exposed when the safety cover is retracted. Use with extreme care and always store safely and out of reach of children.
- Failure to use caution may result in injury..
Important safety instructions
- Never leave the appliance unattended when in use. Boilover causes smoking and greasy spillovers that may ignite.
- Danger of fire -Do not store items on the cooking surface.
- Never leave objects or utensils on the appliance.
- Never use your appliance for warming or heating the room.
- After use, always turn off the cooking zones and cooktop as described in this manual.
- Do not allow children to play with the appliance or sit, stand, or climb on it.
- Do not store items of interest to children in cabinets above the appliance. Children climbing on the hob could be seriously injured.
- Do not leave children alone or unattended in the area where the appliance is in use.
- The appliance is not intended for use by persons (including children) with reduced physical, sensory or mental capabilities, or lack of experience or knowledge, unless they have been given supervised or instruction concerning use of the appliance by a responsible person for their safety.
- Do not repair or replace any part of the appliance unless specifically recommended in the manual. All other servicing should be done by a qualified technician.
- Do not use a steam cleaner to clean.
- Do not place or drop heavy objects on cooktop.
- Do not stand on the cooktop.
- Do not use pans with jagged edges or drag pans across the glass surface as this can scratch the glass.
- Do not use scourers or any other harsh abrasive cleaning agents to clean your cooktop, as these can scratch the ceramic glass.
- If the supply cord is damaged, it must be replaced by the manufacturer, its service agent or similarly qualified persons in order to avoid a hazard.
- The appliance is not intended to be operated by means of external timer or seperate remote control system.
This appliance is intended to be used in a domestic household environment only! Commercial use of any kind is not covered under the manufacturer’s warranty!
WARNING: The appliance and its accessible parts become hot during use.
Care should be taken to avoid touching the heating elements. Children under 8 years of age should be kept away unless constantly supervised.
Children shall not play with the appliance. Cleaning and user maintenance should not be made by children without supervision.
CAUTION – The cooking process has to be supervised. A short term cooking process has to be supervised continuously.
WARNING: Unattended cooking on a hob with fat or oil can be dangerous and may result in fire.
NEVER try to extinguish a fire with water, but switch off the appliance and then cover flame e.g. with a lid or a fire blanket.
WARNING: Danger of fire: do not store items on the cooking surfaces.
WARNING: If the surface is cracked, switch off the appliance to avoid the possibility of electric shock
- A steam cleaner is not to be used to clean the cooktop.
- The appliance is not intended to be operated by means of an external timer or separate remote-control system.
EXPLANATION ON THE FUNCTIONS OF AN INDUCTION COOKTOP
Cooktop Preparation
Remove and discard any protective film or labels that may be attached to the surface of your cooktop. Wipe the cooktop down with a damp cloth to remove any builder’s debris or marks.
What is induction cooking?
Induction cooking is a safe, advanced, and efficient cooking technology. It works by electromagnetic vibrations generating heat directly into the pan, rather than indirectly through heating the glass surface. The glass becomes hot only because the pan eventually warms it up.
It is fast and responsive to turn dhown. On the lower power settings the cooktop cycles on and off to control the heat making it very good for simmering.

Diagram of induction heating
A – Magnetic conductive cooking vessel
B – Ceramic cooktop surface provides insulation and the cooking surface.
C – Magnetic coil
D – Coil
E – Vortex. Relying on an electromagnetic eddy current the internal molecules of the pot are vigorously rubbed together creating heat.
MODEL GLINDBG
Full boost 60cm induction cooktop
This is a high powered (7200W) induction cooktop with boost function on all 4 cooking zones. The cooking zones have different power levels to provide flexibility in heat rates and cooking styles.
Heat Zones

Model | GLINDBG |
| Power of zone – 1 | 1800 / 2200W |
Power of zone – 2 | 1200 / 1500W |
| Power of zone – 3 | 1800 / 2200W |
Power of zone – 4 | 1200 / 1500W |
| Total Power | 7200W |
Control Panel Explained Model GLINDBG

| SYMBOL | FUNCTION | SYMBOL | FUNCTION |
| ON/OFF | TIMER | ||
| MINUS | ZONE SELECTION | ||
| PLUS | CHILD LOCK | ||
| PAUSE | BOOST |
MODEL GLINDPS
“Plug and Play” 2200W 60cm induction cooktop
This is a new concept in induction cooktops where for the first time a Glem Gas induction cooktop can be plugged into a standard power outlet. The power is shared between the 3 cooking zones providing cooking performance similar to a gas cooktop.
The induction cooktop GLINDPS has been designed with a power limiter. This is to ensure the cooktop does not exceed 2200W, allowing it to be plugged into a 10amp power socket where the maximum supply is 2400W.
When more zones are turned on the power level will change for each zone. The power is shared when more than one zone is used at a time.
Power Sharing – Model GLINDPS
- Use any one zone at full power (level 9)
- Use any two zones in conjunction at max power level 7 for both zones (eg. zone 1 & 2, Zone 1 & 3 etc.)
- Use any three zones in conjunction and the max power level will be as follows:
Zone 1 – power level 3
Zone 2 – power level 4
Zone 3 – power level 5

Model | GLINDPS |
| Power of zone – 1 | 1800W |
Power of zone – 2 | 1200W |
| Power of zone – 3 | 2000W |
Total Power | 2200W |
Control Panel Explained – GLINDPS

| SYMBOL | FUNCTION | SYMBOL | FUNCTION |
| ON/OFF | TIMER | ||
| MINUS | ZONE SELECTION | ||
| PLUS | CHILD LOCK |
BEFORE FIRST USE
Remove and discard all labelling and packaging.
Ensure you have removed all parts and accessories before disposing of the packaging.
Read this manual and please take note of the SAFETY WARNINGS section. You will only have to read it once and it is well worth doing. The thing to remember about induction cooktops is that they rely on magnetism to work so if something magnetic is left on a zone it could get really hot.
Using touch controls
The controls respond to touch, so you don’t need to apply any pressure but you have to use it properly so it activates. Use the ball of your finger, not its tip.

The cooktop will beep each time a touch is registered.
NOTE:
Make sure the control panel is always clean, dry, and that there is no object (e.g., a utensil or a cloth) covering them. Even a thin film of water may make the controls difficult to operate.
If you think that the cooktop is switching on and off when it shouldn’t then for sure there will be water or some moisture over the control area.
Choosing the correct cookware
Only use cookware with a base suitable for induction cooking. Look for the induction symbol on the packaging or on the bottom of the pan. You can check if it is okay by using a magnet to find if the cookware is magnetic. If it is, then it is suitable.
Cookware made from aluminium, ceramic, pure stainless steel or copper without a magnetic base, glass or earthenware will not be suitable. One way to check if a vessel is suitable:
- Put some water in the pan you want to check.
- Follow the steps under ‘To start cooking’.
- If
does not flash in the display and the water is heating, the pan is suitable.
Use pans that are wide enough to completely cover the cooking area. If it is slightly wider then the energy will be used at its maximum efficiency. There are some minimum diameter requirements and cookware diameters smaller than shown in the table will probably not work.
Size of zone mm | Min pot diameter mm |
| 160 | 120 |
180 | 140 |
| 210 | 160 |
280 | 220 |
The cooktop is ceramic glass, so any sharp metal edge has the potential to damage the surface. Do not use cookware with jagged edges or a base that is not flat.

Make sure that the base of your pan is smooth, sits flat against the glass, and is the same size as the cooking zone. Always centre your pan on the cooking zone.

To further protect the glass always lift the pans on and off the cooktop, don’t slide them or they may scratch the glass.

USING YOUR NEW INDUCTION COOKTOP
Switching the hob on and off – Switch the hob on and off by using the main power switch.
1. Touch the ON/OFF symbol. All the indicators show “- “.
![]()
2. Place a suitable pan on the cooking zone that you wish to use. Make sure the bottom of the pan and the surface of the glass are clean and dry.

3. Press the zone selection symbol and an indicator next to the key will flash.
![]()
4. Select power level by touching the MINUS or PLUS symbol to increase or decrease power.
Maximum power is ![]()

NOTE:
- The power can be increased or decreased at any time.
- If you don’t choose a heat setting within 1 minute, the hob will automatically switch off. You will need to start again from step 1.
When you have finished cooking
1. Select the heating zone you wish to switch off.
![]()
2. Turn the zone off by touching the MINUS key until it the power reads
.
3. To turn the whole cooktop off press the ON/OFF symbol
![]()
Warning – Beware of hot surfaces
When
is displayed the cooking zone is hot to touch. It will disappear once the zone cools down to a safer temperature.
Using a Boost function – Model GLINDBG
This gives the selected zone a boost of extra energy
Activating the Boost function
1. Select the heating zone you wish to use.
![]()
2. Touch the boost symbol P.

3. The power Indicator will show P.
4. The Boost function will operate for 5 minutes and then go to level ![]()
Cancelling the Boost function
1. Select the zone under Boost mode.
![]()
2. Touch the minus symbol to power down and then select the power you want.

CHILD LOCK FUNCTION
You can lock the controls to prevent unintended use (for example children accidentally turning the cooking zones on). When the controls are locked, all the controls except the ON/OFF are disabled.
To lock the controls
Touch the lock symbol
until the indicator shows
(locked)
To unlock the controls
1. Make sure the cooktop is turned on.
2. Touch and hold the lock symbol
for 5 seconds.
3. You can now use the cooktop.
When the cooktop is in Child lock mode all the controls are disabled except the main ON/OFF.
NOTE:
You can always switch the cooktop off with the ON/ OFF key in an emergency, but you will need to unlock the cooktop for the next time you use it.
Residual heat warning
When the cooktop has been operating for some time there will be some residual heat. The power indicator of a hot zone will appear as
to warn you to keep away from it until it cools down.
Auto Shutdown
Another safety feature of the cooktop is the auto shut down. This occurs when you forget to switch off a cooking zone. The default shutdown times are shown in the table below:
Power level | 1 | 2 | 3 | 4 | 5 | 6 | 7 | 8 | 9 |
| Default working time (hour) | 8 | 8 | 8 | 4 | 4 | 4 | 2 | 2 | 2 |
USING THE TIMER
There are two ways to use the timer. You can use it as a minute minder where the timer does not switch off any cooking zone when the time is up. You can use it as a cut off timer to turn one or more cooking zones off when the time is up.
Using the timer as a minute minder
1. Make sure the hob is turned on, and no cooking zone has been activated. NOTE: you can set the minute minder while the cooking zone is on as long as the power level indicator is not flashing.
2. Touch timer symbol ![]()
3.
will show in the timer display and single digit
flashes.
4. Set the desired minutes by touching
or ![]()
5. Touch timer key again and the number to
represent tens will flash.
6. Set the desired minutes by touching
or ![]()
7. When the time is set, it will begin to count down and the display will show the remaining time.
8. A signal sound will beep for 10 seconds, and the timer indicator shows when the set time is finished.
Setting timer to turn one or more cooking zones off
If the timer is set on one zone:
1. Select the heating zone where you want to set a timer.
![]()
2. Touch timer the digits
will show in the timer display and single digit flashes ![]()
3. Set the desired minutes by touching
or ![]()
4. Touch timer key again, then the number to
represent tens will flash.
5. set the desired dozens of minutes by touching
or ![]()
6. When the time is set, it will begin to count down immediately. The display will show the remaining time.
NOTE: The red dot next to power level indicator illuminates indicating that zone is in timer mode.
7. When cooking timer expires, the corresponding cooking zone will be switch off automatically.
NOTE: Other cooking zones will keep operating if they are turned on previously.
If the timer is set on more than one zone:
- When you set the time for several cooking zones simultaneously, decimal dots of the relevant cooking zones are displayed. The minute display shows the remaining time and the dot of the corresponding zone flashes.
- Once the countdown timer expires, the corresponding zone will switch off. Then it will show the remaining time for another zone and the dot of corresponding zone will flash.
- To check the remaining time set on a particular zone, touch the zone and the corresponding timer will be shown in the timer indicator.
Cancel the timer
- Select the zone where you want to cancel the timer.
- Touch the timer symbol and the indicator will flash
- Set the timer to
and the timer is cancelled.
PAUSE FUNCTION GLINDBG model only
The pause function stops all heating but retains all the settings you set. You can revert all settings easily with this function.
To use Pause function
Touch the pause function and all the heating zones stop working and indicate ![]()
![]()
To cancel Pause function
Touch the pause function again, all the heating zones will revert to its original setting.
NOTE: The function is available when either one or multiple heating zones are working.
NOTE: If you don’t cancel the Pause mode within 30 minutes, the cooktop will automatically switch off.
COOKING GUIDELINES
Take care when frying as oils and fats heat up rapidly, particularly if you’re using the Power Boost function. At extremely high temperatures oil and fat can ignite spontaneously and present a fire risk.
Cooking Tips
- When food comes to the boil, reduce the power setting.
- Using a lid will reduce cooking times and save energy by retaining the heat.
- Minimise the amount of liquid or fat used to reduce cooking times.
- Start cooking on a high power and reduce it when the food has been well heated.
CARE AND CLEANING
| What? | How? |
| Dirty stuff on glass (fingerprints, marks, residual stains, or non-sugary spill overs onto the glass). |
|
| Boil overs, melts, and hot sugary spills on the glass | Remove these immediately with a razor blade scraper suitable for ceramic glass cooktops but beware of hot cooking zone surfaces. Sugar can etch the glass.
|
| Spill overs onto the touch controls |
|
Important!
- When the cooktop is switched off, there will be no ‘hot surface’ indication, but the cooking zone may still be hot! Take extreme care!
- Heavy-duty scourers, some nylon scourers and harsh/abrasive cleaning agents may scratch the glass. Always read the label to check that your cleaner or scourer is suitable, if you are in doubt don’t use it.
- Never leave cleaning residue on the cooktop: the glass may become stained.
- Remove stains left by melts and sugary food or spill overs as soon as possible. If left to cool on the glass, they may be difficult to remove or even permanently damage the glass surface.
- Cut hazard: when the safety cover is retracted, the blade in a scraper is razor-sharp. Use with extreme care and always store safely and out of reach of children.
- The cooktop may beep and turn itself off, and the touch controls may not function while there is liquid on them. Make sure you wipe the touch control area dry before turning the cooktop back on.
QUESTIONS AND QUICK REFERENCE CHECK
Problem | Possible causes and What to do |
| The cooktop wont turn on. | No power.
|
| The touch controls are unresponsive. | The control panel is locked by Child lock function. Unlock the controls. See section ‘Using your cooktop’ for instructions. |
| The touch controls are difficult to operate. | There may be a slight film of water over the controls, or you may be using the tip of your finger when touching the controls. Make sure the touch control area is dry and use the ball of your finger when touching the controls. |
| The glass is being scratched. | Rough-edged cookware. Unsuitable, abrasive scourer or cleaning products being used. Use cookware with flat and smooth bases. See ‘Choosing the right cookware’. See ‘Care and cleaning’. |
| Some pans make crackling or clicking noises. | This may be caused by the material of your cookware (layers of different metals vibrating differently). This is normal for cookware and does not indicate a fault. |
| The induction hob makes a low humming noise at some certain power setting. | This is caused by the technology of induction cooking. This is normal, but the noise may quiet down or disappear completely when you change the power level setting. |
| Fan noise coming from the induction hob. | A cooling fan is built in your induction hob which prevent the electronics from overheating. It may continue to run even after you’ve turned the induction hob off. This is normal and needs no action. Do not switch the power to the induction hob off at the wall while the fan is running. |
| Pans do not become hot and appears | The induction hob cannot detect the pan. Check the pan base size, if it is too small for the cooking zone or not properly centred. Use cookware suitable for induction cooking. See section ‘Choosing the right cookware’. Centre the pan and make sure that its base matches the size of the cooking zone. |
| The cooktop or a zone turns itself off unexpectedly. A tone sounds and error code is displayed. | Technical fault. Please note down the error code (typically alternating with one or two digits in the cooking timer display)., switch the power to the cooktop off at the wall, and contact a qualified technician. Glem Gas After Sales Service 1 300 307 917 |
ERROR CODES
If an abnormality comes up, the hob will automatically enter a protective state and display corresponding protective codes:
AFTER SALES SERVICE 1300 307 917
| Problem | Possible causes | What to do |
| E1 | Signal lost (PCB failure) | Please contact after sales service |
| E2/E3 | Abnormal High/Low input voltage | Stop cooking and wait until input voltage back to normal. If not, please contact after sales service. |
| E4/E5/E6 | Thermistor failure. | Please contact after sales service to repair. |
| E7 | Abnormal high temperature (dry burning) | Cut off power, wait for 30min and switch on. If still not working, please contact after sales service. |
| E8/E9 | Failure of IGBT sensor | Please contact after sales service to repair. |
| E0 | IGBT Overheat | Check if the fan is still working. If not, please contact after sales service. |
| EE | Display PCB failure. | Please contact after sales service. |
The above are the judgment and inspection of common failures.
ATTENTION! To avoid danger, please do not disassemble the unit by yourself!
INSTALLATION
Preparation of the kitchen bench
- Be sure the thickness of the kitchen bench is at least 30mm.
- A suitable heat-resistant kitchen bench material must be used to avoid deformation caused by the heat radiation from the cooktop.
- When installing a minimum clearance of 50mm must be preserved around the hole in the bench.
- Cut out the work surface according to the sizes shown in the drawing. Be accurate!!

| Model | L(mm) | W(mm) | H(mm) | D(mm) | A(mm) | B(mm) | X(mm) |
| GLINDBG | 590 | 520 | 62 | 58 | 560 | 490 | 50 mini. |
| GLINDPS | 590 | 520 | 62 | 58 | 560 | 490 | 50 mini. |
ATTENTION: Ensure that the cooktop is well ventilated underneath, and the air inlet and outlet are not blocked. Ensure that the cooktop works well. It is the installer’s responsibility to ensure that that the cooktop is adequately sealed. No warranty claims will be accepted for benches damaged because of moisture leaking through the seal or insufficient ventilation.
The distance between the cooktop surface and the cupboards above should not be less than 760mm – refer to diagram on the next page.
Clearance requirements above cooktop and ventilation that must be provided underneath

| A (mm) | 550 minimum* |
| B (mm) | 50 minimum |
| C (mm) | 20 minimum |
| D | Air intake |
| E | Air exit 5mm |
*prevously shown as 750mm min
Under bench clearance requirements

| Under bench clearance requirements | |
| X(mm) | 100 minimum |
| Y(mm) | 50 minimum |
Before you install the cooktop, make sure that
- The kitchen bench is square and level, and no structural members interfere with space requirements.
- The kitchen bench is made of a heat-resistant material.
- If the cooktop is installed above an oven, that the oven has a built-in cooling fan.
- The installation will comply with all clearance requirements and applicable standards and regulations.
- A suitable isolating switch providing full disconnection from the mains power supply is incorporated in the permanent wiring, mounted, and positioned to comply with the local wiring rules and regulations.
- The isolating switch must be of an approved type and provide a 3mm air gap contact separation in all poles (or in all active [phase] conductors if the local wiring rules allow for this variation of the requirements). The isolating switch will be easily accessible to the customer with the hob installed.
- You consult local building authorities and by-laws if in doubt regarding installation.
- You use heat-resistant and easy-to-clean finishes (such as ceramic tiles) for the wall surfaces surrounding the hob.
Before fitting the fixing brackets
The cooktop should be placed on a stable, smooth surface (use the packaging).

Stretch out and stick the supplied tape [02] along the underside edge of the hob, ensure the ends overlap. Trim off any excess tape and dispose of it. When installing the cooktop ensure that the tape is providing a moisture resistant seal.
Installing the fixing brackets
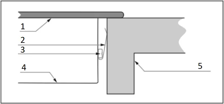
Fix the cooktop brackets by securing the two brackets on the bottom of cooktop (see picture).

Then install the hob into the cut-out of the kitchen bench. Apply gentle downwards pressure onto the cooktop to push it into the bench.

- Glass
- Retaining bracket
- Screw ST 3.5*8
- Bottom
- Worktop
When you have installed the hob, make sure that
- the power supply cable is not accessible through cupboard doors or drawers.
- there is adequate flow of air from outside the cabinetry to the base of the cooktop.
- if the cooktop is installed above a drawer or cupboard space, a thermal protection barrier is installed below the base of the cooktop.
- the isolating switch is easily accessible by the customer.
Caution – FAILURE TO MEET THESE FOLLOWING REQUIREMENTS WILL VOID WARRANTY
- The hob MUST be installed by qualified personnel or technician.
- The hob shall not be mounted to cooling equipment, dishwashers, and rotary dryers.
- The hob shall be installed such that better heat radiation can be ensured to enhance its reliability.
- The wall and induced heating zone above the work surface shall withstand heat.
- To avoid any damage, the sandwich layer and adhesive must be resistant to heat.
- If the electrical supply is restricted, means of all pole disconnection must be accessible and incorporated in the fixed wiring in accordance with the wiring rules
Connecting the cooktop the mains power supply
This cooktop must be connected to the mains power supply only by a suitably qualified person. Before connecting the cooktop to the mains power supply, check that:
- The domestic wiring system is suitable for the power drawn by the hob.
- The voltage corresponds to the value given in the rating plate
- The power supply cable sections can withstand the load specified on the rating plate.
To connect the cooktop to the mains power supply, do not use adapters, reducers, or branching devices, as they can cause overheating and fire.
The power supply cable must not touch any hot parts and must be positioned so that its temperature will not exceed 75°C at any point.
Check with an electrician whether the domestic wiring system is suitable without alterations. Any alterations must only be made by a qualified electrician.
If connecting the cable directly to the mains, install a suitable isolating switch with a minimum contact opening of 3mm between the appliance and the mains. The isolating switch should be sized according to the load on the cooktop rating label and should comply with current regulations. (the earth wire should not be interrupted by the circuit breaker)
Connection to the electricity supply must be made by an authorised person in accordance with the wiring rules AS/NZS3000. Ensure the supply power cable cannot contact any hot surfaces.
Immediately after installation, carry out a thorough inspection and test of the cooktop. If the cooktop fails to operate correctly, after checking that you have followed the user instructions correctly, disconnect the cooktop and contact the Glem Gas service department. Never attempt to repair the cooktop.

NOTE
- If the cable is damaged or needs replacing, this should be done by an after-sales technician using the proper tools, to avoid any accidents.
- The installer must ensure that the correct electrical connection has been made and that it complies with safety regulations.
- The cable must not be bent or compressed.
- The cable must be checked regularly and only replaced by a proper qualified person.
Model GLINDPS
| ![]() L-N:220-240V~ |
Model GLINDBG
| ![]() L-N:220-240V~ |
![]() DISPOSAL: Do not dispose this product as unsorted municipal waste. Collection of such waste separately for special treatment is necessary. | This appliance is labelled in compliance with European directive 2002/96/EC for Waste Electrical and Electronic Equipment (WEEE). By ensuring that this appliance is disposed of correctly, you will help prevent any possible damage to the environment and to human health, which might otherwise be caused if it were disposed of in the wrong way. The symbol on the product indicates that it may not be treated as normal household waste. It should be taken to a collection point for the recycling of electrical and electronic goods. This appliance requires specialist waste disposal. For further information regarding the treatment, recovery and recycling of this product please contact your local council, your household waste disposal service, or the shop where you purchased it. For more detailed information about treatment, recovery, and recycling of this product, please contact your local city office, your household waste disposal service or the shop where you purchased the product. |
AFTER SALES SERVICE 1300 307 917





















