GAGGENAU VG415315SG Gas Cooktop

WHAT IN THE BOX

Installation instructions

Important notes
Read these instructions carefuly and keep them in a safe place.
Safety during use can only be ensured if the appliance is fitted correctly according to these installation instructions. The installed is responsible for ensuring that the appliance operates perfectly a the point of installation.
Risk of injury!
Parts that are accessible during installation may have sharp edges. Wear protective gloves.
The appliance must be connected to the mains only by a licensed and trained technician.
Before carrying out any type of work, turn off the electricity and gas supply.
For installation, currently applicable building regulations and the regulations of local electricity and gas suppliers must be observed.
For conversion to another type of gas, please call the after-sales service.
Risk of gas escape!
After connecting the appliance to the gas supply, always check the connection for leak tightness. The manufacturer accepts no responsibility for the escape of gas from a gas connection which has been previously tampered with.
Ensure sufficient air exchange in the room where the appliance is installed. Up to 11 kW total output:
- Minimum volume of the room where appliance is installed: 20 m3
- A door leading to the open air or a window which can be opened.
Up to 18 kW total output: - Minimum volume of the room where appliance is installed: 2 m3 per kW total output.
- A door leading to the open air or a window which can be opened.
- An extraction hood into the open air. Minimum displacement Volume of extraction hood: 15 m/h per kW total output.
Caution!
This appliance is not connected to a flue. It must be connected and put into operation in accordance with the installation conditions. Do not connect the appliance to a flue gas outlet. All ventilation regulations must be observed.
The installation system must incorporate an all-pin Isolating switch with a contact opening of at least 3 mm, or the appliance should be connected to the mains via a safety plug. The plug must remain accessible after installation is complete.
Specifications on the rating plate showing voltage, type of gas and gas pressure must agree with the local mains connection Conditions.
Do not kink or trap the mains connection cable.
This appliance corresponds to appliance class 3 (for installation in a kitchen unit). It must be fitted according to the installation drawing. The wall behind the appliance must be made of non-flammable material.
This appliance is not intended for operation with an external timer or an external remote control.
Do not install this appliance on boats or in vehicles.
Installation accessories
- VA420004 Connection strip for combination with other Vario 400 appliances for flush installation
- VA420010 Connection strip for combination with other Vario 400 appliances for surface installation
- VA440010 Stainless steel appliance cover
Preparing the units (Fig. 1a)
The kitchen unit must be heat-resistant to at least 90°C (about 190° F). The stability of the unit must be maintained after producing the cut-out.
Produce the cut-out in the worktop for one or more Vario appliances as shown in the installation sketch. The angle between the cut surface and the worktop must be 90°.
The cut edges at the sides must be flat to ensure a good fit of the retaining springs on the appliance. In laminated worktops, it may be necessary to fit strips at the sides of the cut-out.
Remove shavings after cutting. Seal cut surtaces for resistance to heat and so they are watertight.

Pay attention to a minimum gap of 10 mm from the underside of the appliance to kitchen units.
Use suitable base constructions to ensure load-carrying capacity and stability, especially in the case of thin worktops. Pay attention to the weight of the appliance, including any payload.
Reinforcement material used must be resistant to heat and moisture.
Note: Wait until the appliance has been installed in the installation opening before checking that it is level.
To improve flame stability, we recommend installing an intermediate floor underneath the appliance in the installation cabinet.
Installation flush with surrounding surfaces (Fig. 1b)
It is possible to fit the appliance into a worktop such that it is flush with the worktop surtace.
The appliance can be installed in the following temperature- and water-resistant worktops:

- Granite worktops
- Plastic worktops (e.g. Corian®)
- Solid wood worktops: Only on agreement with the worktop manufacturer (seal the cut-Out edges)
- For other worktop materials, contact the worktop manufacturer about their use.
The appliance cannot be installed in compressed-wood worktops.
Note: AIl Cut-outs in the worktop are to be carried out in a specialist workshop in accordance with the installation diagram.Each cut-out must be neat and precise as the cut edge is visible on the surface. Clean and degrease the cut-out edges with a suitablę cleaning agent (follow the instructions from the silicone manutacturer).
Combining multiple Vario appliances (Fig. 1c)

The connecting strip VA420004/010 is required in order to combine multiple Vario appliances. This can be ordered separately as an optional accessory. When making the cut-out, allow extra space for the connecting strip between the appliances (see installation instructions VA420004/010).
Appliances can also be fitted in their own individual cut-outs as long as at least 50 mm of material is left between the cut-outs.
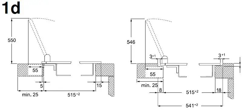
Combination with appliance cover (Fig. 1d)

The appliance cover VA440010 is available separately as an optional accessory. Take the additional space required by the appliance cover into consideration when making the cut-out.
Hole for the control knob
Possible installation types:
- At the front of the floor cabinet
- In the worktop next to the appliance
- In the worktop in front of the appliance
Note: Follow the installation instructions provided for the control knobs.
Fitting the control knobs (Fig. 2)

- Depending on the distance between the control knobs, it may be necessary to break off the retaining plate at the perforation. Hold the retaining plate in place against the rear of the control panel/ underside of the worktop or secure it in place with the screws provided.
- When fitting an individual control knob or if the retaining plate has been broken off at the perforation, use two screws to hold each retaining plate in place and prevent it from rotating.
For stone worktops, use temperature-resistant two-component adhesive (for metal to stone) to adhere the retaining plate. - Remove the protective film on the back of the illuminated ring.
- Push the control knob into the hole, and use the installation tool provided to tighten the nut at the rear.
- Use the short cables provided to connect all the control knobs.
The male connectors must snap into place in the female connectors.
Note: The two female cable connectors on the control knob are identical. - Attach the long cable to one of the control knobs to connect it to the appliance. The male connector must snap into place in the female connector.
Note: The appliance can be connected to any control knob. - After fitting, check that all plug-in connections are seated correctly.
After fitting all the cables, secure them to the retaining plate by turning the tab down.
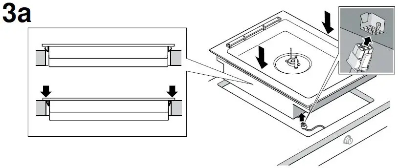
Installing the appliance (Fig. 3a)

- Insert the end of the connection cable for the control knob into the female connector on the underside of the appliance. The male connector must snap into place.
- Insert the appliance evenly into the cut-out. Push it down firmly into the cut-out.
Note: The appliance must sit fast in the cut-out and must not be able to move around (e.g. during cleaning). If the width of the cut- out is at the upper tolerance limit, secure batten to the sides of the cut-out if necessary. - Connect the appliance to the power and gas supply and test for correct functioning. There might be an air pocket in the gas supply line if the appliance switches off. Turn control knobs off and switch on again. Repeat until burner ignites.
Only for installation flush with surrounding surfaces (Fig. 3b)

Note: Make sure that everything is working correctly before grouting.
Grout the surrounding gap with a suitable temperature-resistant silicone adhesive (e.g. OTTOSEAL® S 70). Smooth the seal joint with a smoother recommended by the manufacturer. Follow the instructions for the silicone adhesive. Do not use the appliance until the silicone adhesive is completely dry (at least 24 hours, depending on the room temperature).
Caution!
Using unsuitable silicone adhesive on natural stone work surfaces may cause permanent discolouration.

Gas connection (Fig. 4)
The gas connection must be arranged in such a way that the shut-off valve is accessible.
The appliance comes with two connection elbows (appliance-side
G”). Select the suitable version depending on the country:
- ISO 228 G 1/2 cylindrical
- EN 10226 R 1/2 conical
Use one of the supplied connection elbows and the corresponding seal to connect the appliance to a fixed connecting cable or a gas safety hose.
If the gas safety hose is not made of metal or is only partially made of metal, the ambient temperature must not exceed 90 °C. If the gas safety hose is made of metal, the permissible ambient temperature is 115 °C.
Route the gas safety hose in such a way that it does not come into contact with the moving parts of the fitted units (e.g. drawer).
Electrical connection
Check that the appliance has the same voltage and frequency as the electrical installation system.
The hob is delivered with a mains cable, with or without plug, depending on model.
Only connect the appliance to sockets which have been fitted and earthed according to regulations.
The appliance corresponds to type Y: the mains connection cable must only be replaced by the after-sales service. Check the cable type and minimum cross section.
Technical data
- Total connected load VG 415 315 SG: 5.4 kW (Town Gas)/5.0 kW (LPG)
- Total consumption: 1.23 m/h (Town Gas) / 364 g/h (LPG)
- Electric 25.0 W
Conversion to another type of gas (Fig. 5)

The gas hob belongs to the categories stated on the type plate.
Changing the injection nozzles enables the appliance to be used with all the types of gas listed there. Conversion kits can be obtained from our after-sales service. Some models come delivered with a conversion kit.
The appliance must only be converted to a different type of gas by a licensed expert. vitch off the electricity and gas supplies before changing the injection nozzles.
Replacing the main nozzles (Fig. 6)

- Remove the pan supports and all burner parts.
- Undo the cooktop fastening screws on the burner and carefully lift the cooktop off.
- Remove the securing clips from the burner pipes. Pull out the burner pipes. Unscrew the screw in the air regulating sleeve.
Remove the nozzle retaining head. - Pull off the nozzle and O-ring for the inner burner ring by hand.
Unscrew the nozzle for the outer burner ring (WAF 10). - Check that the O-ring is seated correctly in the new main nozzler the burner innering. Fit the nozzle to the burner pipe. Screw the new main nozzle for the outer burner ring as far as it will go into the nozzle retaining head.
- Fit the nozzle retaining head and burner pipes. Fit the securing clips.
- Loosen the screw and adjust the air regulating sleeve to the correct setting (see nozzle table). Retighten the screw.
- Put the cooktop in place and tighten the screws evenly. Put the burner parts and pan supports in place and make sure they are positioned correctly.
Setting the gas type (Fig. 7)

Use any control knob to set the gas type:
- Turn the control knob to 0. Disconnect the appliance from the power supply. Wait at least 30 seconds.
- Reconnect the appliance.The illuminated ring around the control knob will be lit green for a few seconds and then yellow. Wait until the illuminated ring goes out.
- Turn the control knob anti-clockwise to position 12.
- Turn the control knob clockwise to position 1.
- Turn the control knob anti-clockwise to position 0. Wait until the illuminated ring is lit yellow.
- Turn the control knob to set the gas type; the position currently set will be lit green:

- Leave the control knob at the required setting for at least 5 seconds. The illuminated ring around the control knob will be lit green.
- To save the setting, always exit the menu as follows: Turn the Control knob to 0. Then turn the control knob anti-clockwise to position 12. Turn the control knob clockwise to position 1. Turn the control knob anti-clockwise to position 0. Wait until the illuminated ring goes out.
The setting will be saved. The illuminated ring around the control knob will be lit yellow for a few seconds. Wait until the illuminated ring goes out.
Checking functions after the conversion:
The flames are adjusted correctly if no yellow tips are visible and if they do not go out when switching over swiftly from the high to the low setting.
Note: stick the adhesive label included with the nozzle set over the rating plate of the appliance to document the changeover to a different gas type.
Removing the appliance
Disconnect the appliance from the power and the gas supply. For flush-mounted appliances, remove the silicone joint. Push out the appliance from below.
Caution!
Damage to appliance! Do not lever out the appliance from above



















