GAGGENAU VG425211 Vario Gas Cooktop

- Color Variants
VG425211 - Stainless steel
Width 38 cm
Installation Accessories
- VA420004
Connection strip for combination with other Vario appliances of the 400 series for flush mounting - VA420010
Connection strip for combination with other Vario appliances of the 400 series for surface mounting - VA440010
Stainless steel appliance cover with mounting strip - Multi-ring burner with up to 4 kW
- Full electronic power level regulation on 12 levels
- Precise and reproducible flame size Automatic fast ignition, electronic flame monitoring with automatic re-ignition Simmer function for cooking on a very low output level
- Solid stainless steel control knob Precision crafted 3 mm stainless steel For surface mounting with a visible edge or for flush mounting Can be combined perfectly with other Vario appliances of the 400 series
Cooking zones
1 two-ring high output burner (165 W –4000 W), suitable for pots up to max. ø 28 cm.
1 two-ring standard output burner (165 W – 2000 W), suitable for pots up to max. ø 24 cm.
Handling
Control knobs with illuminatedring, cooking zone and output level markings.
One-handed operation. Full electronic control in 12 output levels for exact power level regulation plus simmer function. Automatic fast ignition.
Features
Simmer function.
Cast iron pan support with flat, continuous pot surface.
Brass burner rings.
Safety
Electronic flame monitoring with automatic re-ignition.
Residual heat indication.
Safety shut-off.
Planning notes
Depending on the type of installation (surface-mounted or flush-mounted, with or without an appliance cover), the specific location of the cut-out and the knob positions may vary.
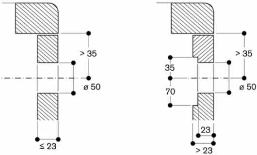
- The drawing “Installation of the control knob” must be observed if the panel is more than 23 mm thick (there must be a recess at the rear).
- If combining several Vario appliances of the 400 series, a connection strip VA 420 must be placed between the appliances. Depending on the type
of installation, the corresponding connection strip must be provided. The bearing capacity and stability,
in the case of thinner worktops in particular, must be supported using suitable substructures. Take into account the appliance weight and additional loads.
Additional instructions for flush mounting: - Installation is possible in worktops made of stone, synthetics or solid wood. Heat resistance and watertight sealing of the cut edges must
be observed. Concerning other materials please consult the worktop manufacturer. - The groove must be continuous and even, so that uniform placing of the appliance on the gasket is ensured. Do not use discontinuous lining.
- The joint width may vary due to size tolerances of the combinations and of the worktop cut-out.
Characteristics
- Product name/family
Vario/Domino gas hob - Built-in / Free-standing
Built-in - Energy input
Gas - Total number of positions that can be used at the same time
2 - Required niche size for installation
(HxWxD)
134 x 360 x 492 - Width of the appliance
380 - Dimensions
158 x 380 x 520 - Dimensions of the packed product
(HxWxD)
300 x 500 x 600 - Net weight
14.1 - Gross weight
16.1 - Residual heat indicator
Separate - Location of control panel
External control - Basic surface material
brushed stainless steel - Color of surface
Stainless steel, Stainless steel
Approval certificates
CE, Eurasian, Ukraine, VDE - Length electrical supply cord
140 - Connection rating
15 - Gas connection rating
6000
Fuse protection
2 - Voltage
220-240 - Frequency
60; 50
Consumption and connection features
- If installing several appliances in individual cut-outs allow for a division bar of minimum 50 mm between the individual cut-outs.
- Special nozzles can be ordered as spare parts.
- Plan for an electrical connection (the appliance is not operable without power supply).
- Air intake from above.
- No intermediate shelf required.
- Rear panel and wall trims must be heat-resistant and consist of a non-flammable material.
- A minimum clearance of at least 150 mm from adjacent heat-sensitive furniture or contact surfaces must be observed or thermal insulation fitted. If operated next to the downdraft ventilation VL 414, the ventilation moulding AA 414 is recommended to ensure maximum performance of the cooktop.
- With a total connected load of more than 11 kW local regulations concerning room ventilation, room size and combination of extraction or recirculation hoods must be observed. The minimum distance between the cooktop surface and a cabinet above, out of combustible material, needs to be 70 cm.
- The minimum distance to a ventilation above is shown at the planning hints for the individual ventilation product. Appliance can be snapped into the worktop from above.
- Appliance weight: approx. 14 kg.
Connection
Total connected load gas 6.0 KW. Total connected load electric 15 W. Connecting cable 1.4 m with plug.
INSTALLATION
VG425211
Vario gas cooktop 400 series
Stainless steel
Width 38 cm
Natural gas 20 mbar
2022-05-25
- Installation of the control knob; flush installation

- Installation of the control knob; surface mounting

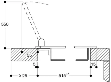
- Installation with appliance cover, surface mounting

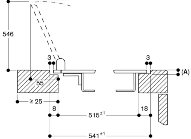
- Installation with appliance cover, flush mounting

- A: When installing with appliance cover, take the deeper cut-out into consideration (observe separate planning notes)

- When installing with appliance cover, take the deeper cut.out into consideration (observe separate planning notes)
combinations with frameless induction hobs
- Longitudinal section

- View from above

- When installing with appliance cover, take the deeper cut-out into consideration (observe separate planning notes)
- Cross-section

- Installation with appliance cover, surface mounting

- Installation with appliance cover, flush mounting





























