GAGGENAU VG425315SG Gas Cooktop

Important notes
- Read these instructions carefully and keep them in a safe place. Safety during use can only be ensured if the appliance is fitted correctly according to these installation instructions. The installer is responsible for ensuring that the appliance operates pertectly at the point of installation.
Attention!
According to the Gas Safety Regulations of Hong Kong, any gas installation works including the installation of appliances and connection tubing, must be undertaken by registered gaS installers who are registered for that appropriate classes and be employed by registered gas contractors. Use approved gas tubing bearing EMSD approval marking (example: IEt EMSD APPROVAL GTXXXX) for connection to appliances, or other appropriate methods accepted by EMSD. - Appliance must not be converted to another type of gas.
- Before carrying out any type of work, turn off the electricity and gas supply
- For installation, currently applicable building regulations and the regulations of local electricity and gas suppliers must be observed.
- The operating pressure of this gas hob is 15 mbar. Therefore no gas governor is required.
- Risk of gas escape!
After connecting the appliance to the gas supply, always check the connection for leak tightness. The manufacturer accepts no responsibility for the escape of gas from a gas connection which has been previously tampered with. - Ensure sufficient air exchange in the room where the appliance is installed. Up to 11 kW total output:
- Minimum volume of the room where appliance is installed: 20 m3
- A door leading to the open air or a window which can be opened.
- Up to 18 kW total output:
- Minimum volume of the room where appliance is installed: 2 m3 per kW total output.
- A door leading to the open air or a window which can be opened.
- An extraction hood into the open air. Minimum displacement volume of extraction hood: 15 m/h per kW total output.
- The installation system must incorporate an all-pin isolating switch with a contact opening of at least 3 mm, or the appliance should be connected to the mains via a safety plug. The plug must remain accessible after installation is complete.
- Specifications on the rating plate showing voltage, type of gas and gas pressure must agree with the local mains connection conditions.
- Do not kink or trap the mains connection cable.
- This appliance corresponds to appliance class 3 (for installation in a kitchen unit). It must be fitted according to the installation drawing. The wall behind the appliance must be made of non- flammable material.
- This appliance is not intended for operation with an external timer or an external remote control.
- Do not install this appliance on boats or in vehicles.
Preparing the units

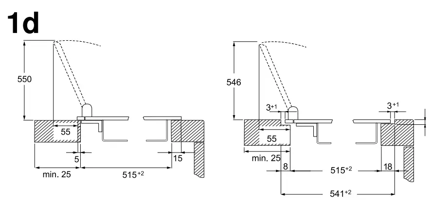
- The kitchen unit must be heat-resistant to at least 90°C (about 190°F). The stability of the unit must be maintained after producing the cut-out.
- Produce the cut-out in the worktop for one or more Vario appliances as shown in the installation sketch. The angle between the cut surface and the worktop must be 90°.
- The cut edges at the sides must be flat to ensure a good fit of the retaining springs on the appliance. In laminated worktops, it may be necessary to fit strips at the sides of the cut-out.
- Remove shavings after cutting. Seal cut surfaces for resistance to heat and so they are watertight.
- Pay attention to a minimum gap of 10 mm from the underside of the appliance to kitchen units.
- Use suitable base constructions to ensure load-carrying capacity and stability, especially in the case of thin worktops. Pay attention to the weight of the appliance, including any payload.
- Reinforcement material used must be resistant to heat and moisture.
Note: Wait until the appliance has been installed in the installation opening before checking that it is level.
Installation flush with surrounding surfaces

- It is possible to fit the appliance into a worktop such that it is flush with the worktop surface.
- The appliance can be installed in the following temperature- and water-resistant worktops:
- Granite worktops
- Plastic worktops (e.g. Corian)
- Solid wood worktops: Only on agreement with the worktop manufacturer (seal the cut-out edges)
- For other worktop materials, contact the worktop manufacturer about their use.
- The appliance cannot be installed in compressed-wood worktops.
Note: All Cut-outs in the worktop are to be carried Out in a specialist workshop in accordance with the installation diagram.Each cut-out must be neat and precise as the cut edge is visible on the surface. Clean and degrease the cut-out edges with a suitable cleaning agent (follow the instructions from the silicone manuiacturer).
Combining multiple Vario appliances

The connecting strip VA420004/010 is required in order to combine multiple Vario appliances. This can be ordered separately as an optional accessory. When making the cut-out, allow extra space for the connecting strip between the appliances (see installation instructions VA420004/010). Appliances can also be fitted in their own individual cut-outs as long as at least 50 mm of material is left between the cut-outs.
Combination with appliance cover

The appliance cover VA440010 is available separately as an optignal accessory. Take the additional spaçe required by the appliance cover into consideration when making the cut-óut.
Hole for the control knob
Possible installation types:
- At the front of the floor cabinet
- In the worktop next to the appliance
- In the worktop in front of the appliance
Note: Follow the installation instructions provided for the control knobs.
Fitting the control knobs

- Depending on the distance between the control knobs, it may be necessary to break off the retaining plate at the perforation. Hold the retaining plate in place against the rear of the control panel/ underside of the worktop or secure it in place with the screws provided.
- When fitting an individual control knob or if the retaining plate has been broken off at the perforation, use two screws to hold each retaining plate in place and prevent it from rotating. For stone worktops, use temperature-resistant two-component adhesive (for metal to stone) to adhere the retaining plate.
- Remove the protective film on the back of the illuminated ring.
- Push the control knob into the hole, and use the installation tool provided to tighten the nut at the rear.
- Use the short cables provided to connect all the control knobs. The male connectors must snap into place in the female connectors.
Note: The two female cable connectors on the control knob are identical. - Attach the long cable to one of the control knobs to connect it to the appliance. The male connector must snap into place in the female connector.
Note: The appliance can be connected to any control knob. - After fitting, check that all plug-in connections are seated correctly.
- After fitting all the cables, secure them to the retaining plate by turning the tab down.
Installing the appliance 
- Insert the end of the connection cable for the control knob into the female connector on the underside of the appliance. The male connector must snap into place.
- Insert the appliance evenly into the cut-out. Push it down firmly into the cut-out.
Note: The appliance must sit fast in the cut-out and must not be able to move around (e.g. during cleaning). If the width of the cut Out is at the upper tolerance limit, secure batten to the sides of the cut-out if necessary. - Connect the appliance to the power and gas supply and test for correct functioning. There might be an air pocket in the gas supply line if the appliance switches off. Turn control knobs off and switch on again. Repeat until burner ignites.
Only for installation flush with surrounding surfaces

Note: Make sure that everything is working correctly before grouting.
Grout the surrounding gap with a suitable temperature-resistant silicone adhesive (e.g. OTTOSEAL® S 70). Smooth the seal joint with a smoother recommended by the manufacturer. Follow the instructions for the silicone adhesive. Do not use the appliance until the silicone adhesive is completely dry (at least 24 hours, depending on the room temperature)
Caution!
Using unsuitable silicone adhesive on natural stone work surfaces may cause permanent discolouration.
Gas connection
- The gas connection must be located in a position where the stop tap is accessible.
- Using one of the R” (for appliance side) connection elbows provided, connect the appliance with the associated gasket to a fixed connection pipe or a gas safety hose. If the gas safety hose is not (or only partly) made of metal, the ambient temperature must not exceed 70°K. In the case of a gas safety hose made entirely of metal, the permissible ambient temperature is 115°K. The gas safety hose must be routed so that it does not come into contact with moving parts of the kitchen unit (e.g. drawers).
Electrical connection
- Check that the appliance has the same voltage and frequency as the electrical installation system.
- The hob is delivered with a mains cable, with or without plug, depending on model.
- Only connect the appliance to sockets which have been fitted and earihed according to regulations.
- The appliance corresponds to type Y: the mains connection cable must only be replaced by the after-sales service. Check the cable type and minimum cross section.
Technical data
- Gas type: Hong Kong Town Gas (15 mbar)
- Total connected load VG425315SG: 6.7 kN
- Total consumption: 1.5 m/h
- Voltage and frequency: 220-240 V, 50/60 Hz
- Electrical nominal power: 25 W
Removing the appliance
Disconnect the appliance from the power and the gas supply. For flush-mounted appliances, remove the silicone joint. Push out the appliance from below.
Caution!
Damage to appliance! Do not lever out the appliance from above.



















